Полезная модель относится к автономным осветительным устройствам, в частности встраиваемым в защитные каски, оснащенные приемопередающими модулями связи. Целью заявляемой полезной модели является достижение следующего технического результата - обеспечение информативности шахтера о приближении внутришахтного транспорта и повышение надежности. Поставленная цель достигается следующим образом: светильник шахтный головной, состоящий из закрепляемого на каске осветительного агрегата, размещенного в корпусе, соединенного гибким многожильным соединительным кабелем с блоком питания в корпусе, в котором также размещены аккумуляторная батарея, приемник аварийного оповещения и персонального вызова, маяк системы поиска в завалах, метка зонального позиционирования, метка точного позиционирования, блок определения своего местоположения относительно внутришахтных подвижных объектов, причем в осветительном агрегате размещены: источник света и сигнальный светодиод, соединенный с блоком определения своего местоположения, характеризующийся тем, что сигнальный светодиод жестко закреплен в сквозном отверстии герметичного корпуса осветительного агрегата, причем отверстие плотно загерметизировано.
1. Светильник шахтный головной, состоящий из закрепляемого на каске осветительного агрегата, размещенного в корпусе, соединенного гибким многожильным соединительным кабелем с блоком питания в корпусе, в котором также размещена метка точного позиционирования, причем в осветительном агрегате размещены: источник света и сигнальный светодиод, соединенный с блоком определения своего местоположения, отличающийся тем, что сигнальный светодиод жестко закреплен в сквозном отверстии герметичного корпуса осветительного агрегата, причем отверстие плотно загерметизировано, а сигнальный светодиод расположен в цепи проверки работоспособности метки точного позиционирования. 2. Светильник по п. 1, отличающийся тем, что сигнальный светодиод закреплен в нижней части корпуса осветительного агрегата. 3. Светильник по п. 1, отличающийся тем, что сигнальный светодиод загерметизирован в отверстии герметичного корпуса осветительного агрегата с помощью клеевого соединения. 4. Светильник по п. 1, отличающийся тем, что содержит ряд сигнальных светодиодов. 5. Светильник по п. 4, отличающийся тем, что сигнальные светодиоды различаются диапазоном светового излучения. 6. Светильник по п. 1, отличающийся тем, что свечение сигнального светодиода является настраиваемым по количеству, длительности и интенсивности свечения.
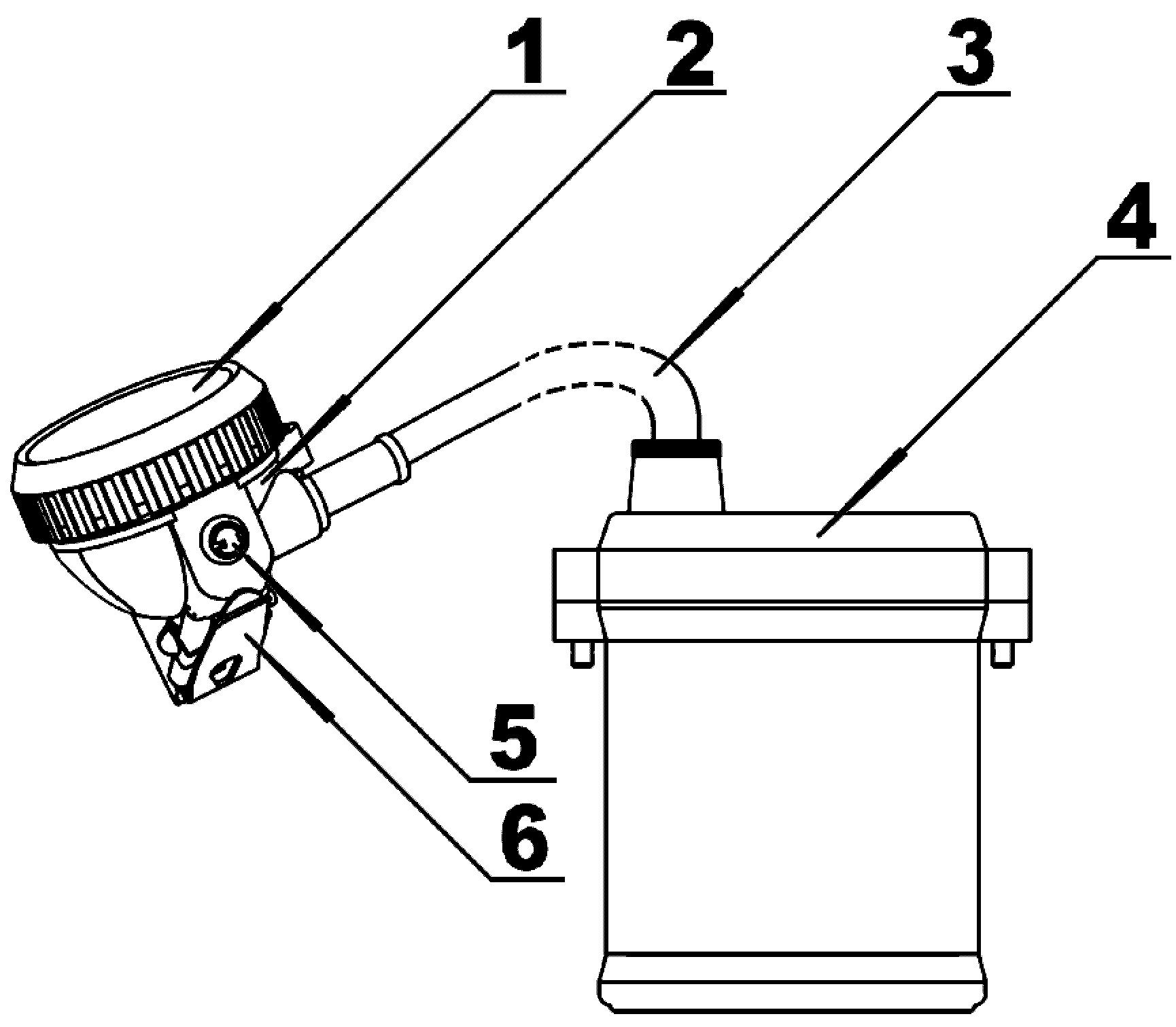
Заявляемая полезная модель относится к автономным осветительным устройствам, в частности встраиваемым в защитные каски, оснащенные приемопередающими модулями связи. Известен светильник шахтный головной с информационно-измерительными функциями безопасности (патент РФ №87495, опубликован 10.10.2009), состоящий из закрепляемого на каске осветительного блока, в герметичном корпусе которого размещены светодиоды основного и вспомогательного освещения с драйверами и контроллером драйверов, гибкого многожильного соединительного кабеля и блока питания, состоящего из крышки и батарейного отсека, в котором размещена аккумуляторная батарея, индивидуальный драйвер заряда с контроллером и устройством защиты от разряда ниже допустимого напряжения, а на одной или двух внешних поверхностях батарейного отсека имеются контактные площадки, соединенные с индивидуальным драйвером заряда аккумуляторной батареи, при этом контроллер драйверов светодиодов основного и вспомогательного освещения соединен с контроллером индивидуального драйвера заряда аккумуляторной батареи внутренней цифровой шиной - линией цифровой передачи данных. Недостатком известной конструкции является низкая информативность и надежность. Наиболее близким из известных является светильник шахтный головной с информационно-измерительными функциями безопасности (патент РФ №175083, опубликован 20.11.2017), состоящий из закрепляемого на каске осветительного агрегата в герметичном корпусе с гибким многожильным соединительным кабелем и блоком питания, состоящим из крышки и батарейного отсека, в котором размещена аккумуляторная батарея с блоком искрозащиты; причем в осветительном агрегате размещены: источник света с блоком связи Wi-Fi. Осветительный агрегат дополнительно содержит блок определения своего местоположения относительно внутришахтных источников базовых сигналов с блоком экстренного оповещения головного офиса с тревожной сигнальной кнопкой. Тем не менее, недостатком известной конструкции также является низкая информативность и надежность. Целью заявляемой полезной модели является устранение выявленного недостатка для достижения следующего технического результата - обеспечение информативности шахтера о приближении внутришахтного транспорта и повышение надежности. Поставленная цель достигается следующим образом: светильник шахтный головной, состоящий из закрепляемого на каске осветительного агрегата, размещенного в корпусе, соединенного гибким многожильным соединительным кабелем с блоком питания в корпусе, в котором также размещены аккумуляторная батарея, приемник аварийного оповещения и персонального вызова, маяк системы поиска в завалах, метка зонального позиционирования, метка точного позиционирования, блок определения своего местоположения относительно внутришахтных подвижных объектов, причем в осветительном агрегате размещены: источник света и сигнальный светодиод, соединенный с блоком определения своего местоположения, характеризующийся тем, что сигнальный светодиод жестко закреплен в сквозном отверстии герметичного корпуса осветительного агрегата, причем отверстие плотно загерметизировано. Светильник, в частности, может характеризоваться тем, что сигнальный светодиод закреплен в нижней части корпуса осветительного агрегата. Светильник, в частности, может характеризоваться тем, что сигнальный светодиод загерметизирован в отверстии герметичного корпуса осветительного агрегата с помощью клеевого соединения. Светильник, в частности, может характеризоваться тем, что содержит ряд сигнальных светодиодов, при этом сигнальные светодиоды могут различаться диапазоном светового излучения. Светильник, в частности, может характеризоваться тем, что сигнальный светодиод расположен в цепи проверки работоспособности метки точного позиционирования. Светильник, в частности, может характеризоваться тем, что блок определения местоположения выполнен настраиваемым по количеству, длительности и интенсивности свечения. На Фигуре схематично представлен светильник шахтный головной, где цифрами обозначено: 1. Осветительный агрегат; 2. Корпус осветительного агрегата; 3. Соединительный кабель; 4. Корпус блока питания; 5. Сигнальный светодиод; 6. Крепеж. Представленный светильник шахтный головной устроен следующим образом. Светильник представляет собой осветительный агрегат (1), который при помощи крепежа (6) закрепляется на каске. Осветительный агрегат размещается в корпусе (2). Питание электрической части схемы осуществляется при помощи соединительного кабеля (3), подключаемого к блоку питания, размещенному в искрозащитном корпусе (4). В осветительном агрегате размещаются источник света и сигнальный светодиод (5), соединенный с блоком определения своего местоположения. Представленный светильник шахтный головной действует следующим образом. Светильник шахтный головной может применяться в качестве осветительного агрегата на подземных рудниках и угольных шахтах, на стройках и других подобных объектах. Помимо осветительной функции внутри головного шахтного светильника располагаются приемо-передающие блоки, блоки определения местоположения, выполняющие функцию позиционирования и связи с оператором для передачи данных о местоположении шахтера, или для связи с диспетчером. Несомненно, что для обеспечения безопасности рабочего персонала каска со встроенным светильником должны обладать высокой степенью информативности и надежности. Надежность заявляемого устройства обусловлена наличием блока определения своего местоположения как внутри корпуса блока питания, так и внутри осветительного агрегата. При выходе из строя одного из блоков определения местоположения, сигнал передается с другого блока, что значительно повышает надежность конструкции. Кроме того, внутри корпуса блока питания располагаются приемник аварийного оповещения и персонального вызова, маяк системы поиска в завалах, метка зонального позиционирования, метка точного позиционирования. Данные блоки обеспечивают точность и надежность оповещения, поиска и позиционирования горняка, даже внутри шахт. Для повышения надежности конструкции сигнальный светодиод жестко закрепляется в сквозном отверстии герметичного корпуса осветительного агрегата, причем отверстие плотно загерметизировано. Расположение сигнального светодиода внутри корпуса обеспечивает ему дополнительную защиту от различных внешних факторов (например, удары), а плотная герметизация отверстия исключает попадание внутрь корпуса воды. Герметизация позволяет избежать вредного окислительного влияния агрессивной внутришахтной среды на элементы конструкции, что повышает долговечность и надежность. Также, внутри взрывоопасных объектов, к которым относятся подземные шахты, предъявляются особые требования к искробезопасности. Герметизация осветительных элементов повышает надежность и обеспечивает безопасность использования конструкции. При этом герметизация может осуществляться, например, при помощи клеевого соединения. Клеевое соединение обладает высокой адгезией и надежно защищает от влаги. Таким образом, применение клеевого соединения дополнительно увеличивает надежность конструкции. Для повышения информативности сигнальный светодиод закреплен в нижней части корпуса осветительного агрегата, с направлением свечения светодиода вниз, на козырек каски шахтера. При этом рассеивание свечения от козырька каски шахтера обеспечивает дополнительное удобство использования, так как всегда находится в поле зрения. Такое расположение светодиода обеспечивает его целостность (а значит, и надежность информирования), например, при попадании сверху твердых горных пород. Светодиод защищается корпусом осветительного агрегата, за счет чего обеспечивается его целостность при ударах сверху, на долю которых приходится основная часть деструктивного воздействия. С целью повышения надежности, конструкция может содержать ряд сигнальных светодиодов, которые могут различаться диапазоном светового излучения. Ряд сигнальных светодиодов обеспечивают повышение надежности, так как в случае выхода одного светодиода из строя, конструкция продолжит функционировать. Несомненно, что одним из параметров надежности заявляемого шахтного головного светильника, является его свойство сохранять работоспособность (безотказность). Для этого блок определения местоположения может включать контроль проверки работоспособности метки точного позиционирования. При этом сигнальный светодиод может быть расположен в цепи проверки работоспособности метки точного позиционирования. При нарушении работоспособности метки точного позиционирования, подается определенный световой сигнал, свидетельствующий о необходимости диагностики и ремонта блока. Таким образом, обеспечивается надежность работы (вышедший из строя блок сразу сигнализирует о необходимости замены). Дополнительно, блок определения местоположения может быть выполнен настраиваемым по количеству, длительности и интенсивности свечения сигнального светодиода. Гибкость настраиваемых параметров влияет на удобство восприятия сигналов и повышение информативности. Например, слишком интенсивное свечение может быть неприятным для глаз и вызывать дискомфорт, а слишком слабое свечение может быть трудно заметно. Также, длительность свечения может использоваться для передачи определенной информации, что расширяет арсенал технических средств конструкции, например, при помощи мигания светодиода определенной длительности можно передавать пользователю сообщения, или мигание светодиода может означать ошибку в работе схемы и так далее. Таким образом, применение в конструкции светильника шахтного головного, сигнального светодиода в нижней части корпуса осветительного агрегата, жестко закрепленного в сквозном отверстии герметичного корпуса, с направлением свечения светодиода вниз, на козырек каски шахтера, с герметизацией отверстия, позволяет достигать заявленного технического результата, а именно - повышение информативности и надежности.