Полезная модель относится к элементам пневматической системы тормозного оборудования подвижного железнодорожного транспорта, в частности к гибким соединительным обводным рукавам тормозной магистрали подвижного состава. Задачей предлагаемого технического решения является повышение безопасности работы обслуживающего персонала при установке соединительного обводного рукава в пневматическую сеть тормозной магистрали подвижного состава. Технический результат, получаемый при осуществлении предлагаемой полезной модели, заключается в повышении надежности работы соединительного плоско сворачиваемого обводного рукава. Технический результат достигается соединительным обводным рукавом, характеризующегося тем, что состоит из плоско сворачиваемого полимерного трубопровода и соединительных головок, имеющих головную соединительную часть и хвостовую соединительную часть, при этом хвостовая соединительную часть выполнена в виде трубы из металла длиной не более 350 мм, обеспечивающей жесткую фиксацию трубопровода на наружной поверхности, по крайней мере, не менее чем двумя хомутами.
1. Соединительный обводной рукав, характеризующийся тем, что состоит из плоско сворачиваемого полимерного с текстильным плетеным нитяным каркасом трубопровода и соединительных головок, имеющих головную соединительную часть и хвостовую соединительную часть, отличающийся тем, что хвостовая соединительная часть выполнена в виде трубы из металла длиной не более 350 мм, обеспечивающей жесткую фиксацию трубопровода на наружной поверхности, по крайней мере, не менее чем двумя хомутами, при этом соединение плоско сворачиваемого полимерного трубопровода выполнено клеевым по наружной цилиндрической поверхности хвостовой части, хвостовая соединительная часть соединительной головки на наружной поверхности имеет выступы и канавки. 2. Соединительный обводной рукав по п.1, отличающийся тем, что хвостовая соединительная часть выполнена из стали. 3. Соединительный обводной рукав по п.1, отличающийся тем, что головная соединительная часть и хвостовая соединительная часть, выполненные в виде трубы, в месте соединения имеют конусное соединение. 4. Соединительный обводной рукав по п.3, отличающийся тем, что хвостовая соединительная часть и головная соединительная часть имеют неразъемное сварное соединение.
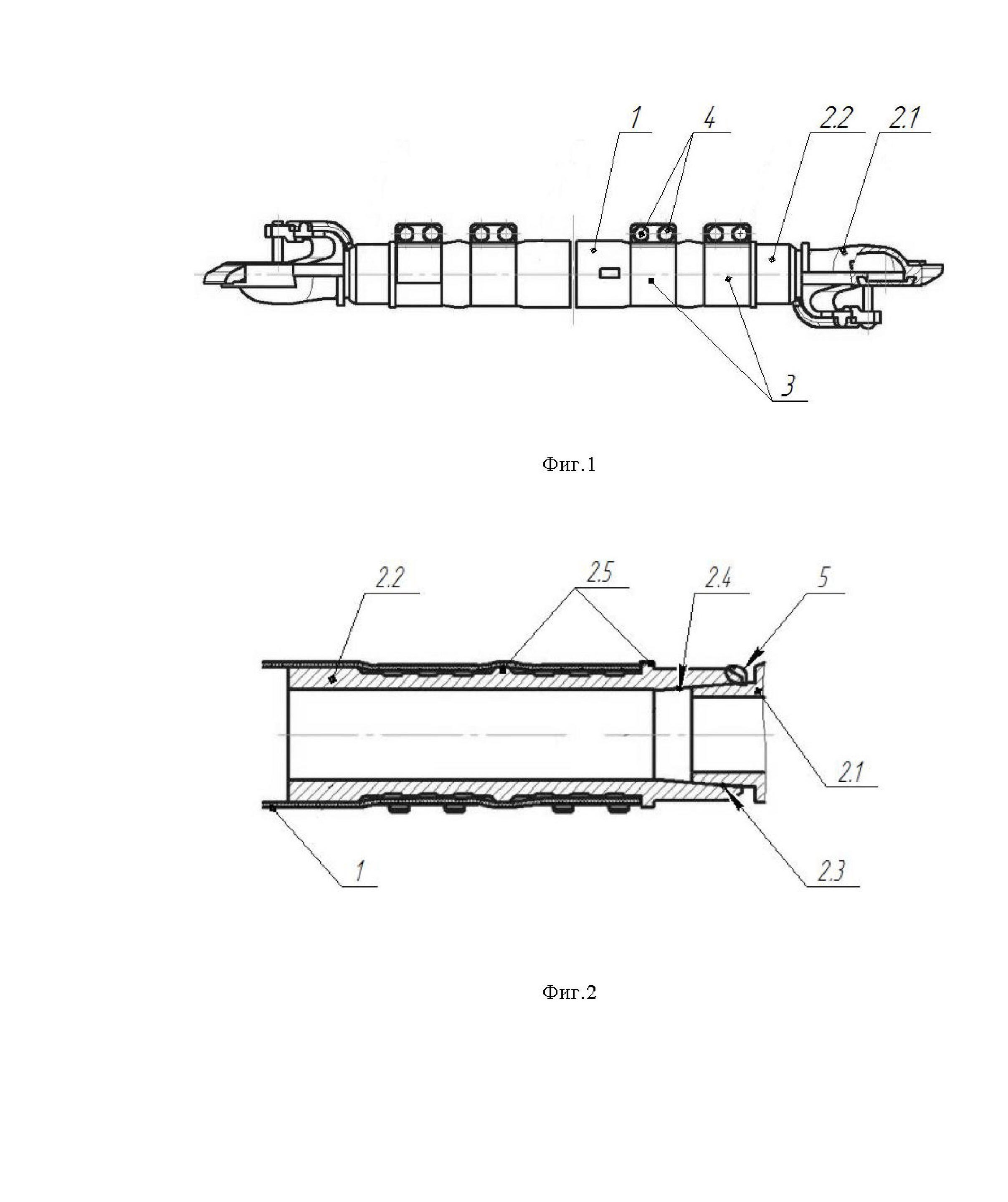
Полезная модель относится к элементам пневматической системы тормозного оборудования подвижного железнодорожного транспорта, в частности к гибким соединительным обводным рукавам тормозной магистрали подвижного состава. Известен соединительный рукав железнодорожного подвижного состава, содержащий резинотекстильный шланг, размещенный в оболочке в виде оплетки с высокой плотностью плетения, и закрепленные на каждом его конце посредством хомута присоединительные элементы с образованием радиального обжатия резинотекстильного шланга в оплетке на цилиндрической поверхности хвостовика присоединительного элемента, а на концах шланга размещена термоусадочная пленка, выполненная с образованием на концах шланга герметичного слоя, фиксирующего края оплетки (пат. RU 159131, B06T 17/00, 10.02.2016г.). Недостаток данного технического решения заключается в использовании термоусадочной пленки, для герметизации на концах шланга герметичного слоя, фиксирующего края оплетки который постепенно разрушается, высвобождая острые концы стальных нитей оплетки, которые, распускаясь, могут травмировать обслуживающий персонал в момент присоединения воздушных магистралей, например, при формировании подвижного состава. Выполнение соединительного обводного рукава из резинотекстильного шланга весящего более 27 кг затрудняет его установку в магистраль пневматической системы подвижного состава. К недостаткам следует отнести отсутствие соединения рукавов устройства блокировки соединительных головок между собой, предотвращающих возможность разъединения их при наличии внутреннего давления сжатого воздуха. Наличие данного устройства повышает безопасность работы обслуживающего персонала работающего с соединительным обводным рукавом. Известен соединительный обводной рукав, на концах которого установлены соединительные головки, закрепленные при помощи хомутиков крепящими элементами, соединительная головка содержит в своих пазах уплотнительное резиновое кольцо, при этом соединительный обводной рукав выполнен из плоскосворачиваемого полимерного с текстильным плетеным нитяным каркасом трубопровода, номинальный внутренний диаметр трубопровода на 4-12 мм больше наружного диаметра хвостовика крепления соединительной головки, крепление плоскосворачиваемого трубопровода на хвостовике крепления соединительной головки содержит промежуточную упругую втулку, установленную на хвостовой части соединительной головки, номинальный наружный диаметр упругой втулки равен внутреннему диаметру плоскосворачиваемого трубопровода, а номинальный внутренний диаметр равен наружному диаметру хвостовика крепления соединительной головки. Обводной рукав отличается высокой масло-, бензо-, химо-, абразивостойкостью, не подвержен воздействию ультрафиолетовому излучению, обладает высокой прочностью, износостойкостью и высокой эластичностью в широком диапазоне температур. Развертывание соединительного обводного рукав трубопровода на любой местности не требует предварительной подготовки трассы, предлагаемый рукав огибает препятствия, отличается компактностью при хранении и транспортировке (пат. RU 223773, B60T 17/04, 26.09.2023). Недостатком данного технического соединения является узел крепления плоско сворачиваемого трубопровода на хвостовике соединительной головки содержащий промежуточную упругую втулку, установленную на хвостовой части соединительной головки, номинальный наружный диаметр которой равен внутреннему диаметру плоско сворачиваемого трубопровода, а номинальный внутренний диаметр равен наружному диаметру хвостовика крепления соединительной головки. Промежуточная втулка имеет большую толщину, превышающую высоту кругового буртика на хвостовике соединительной головки, что делает соединение трубопровода закрепленного при помощи хомутиков крепящими элементами малонадежным в условиях низких температур. Задачей предлагаемого технического решения является повышение безопасности работы обслуживающего персонала при установке соединительного обводного рукава в пневматическую сеть тормозной магистрали подвижного состава. Технический результат, получаемый при осуществлении предлагаемой полезной модели, заключается в повышении надежности работы соединительного плоско сворачиваемого обводного рукава. Технический результат достигается соединительным обводным рукавом, характеризующегося тем, что состоит из плоско сворачиваемого полимерного с текстильным плетеным нитяным каркасом трубопровода и соединительных головок, имеющих головную соединительную часть и хвостовую соединительную часть, при этом хвостовая соединительная часть выполнена в виде трубы из металла длиной не более 350 мм, обеспечивающей жесткую фиксацию трубопровода на наружной поверхности, по крайней мере, не менее чем двумя хомутами. Хвостовая соединительная часть выполнена из стали. Головная соединительная часть и хвостовая соединительную часть, выполненная в виде трубы, в месте соединения имеют конусное соединение. Хвостовая соединительная часть и головная соединительная часть имеют неразъемное сварное соединение. Соединение плоско сворачиваемого полимерного трубопровода выполнено клеевым по наружной цилиндрической поверхности хвостовой части с закреплением трубопровода при помощи хомутов крепящими элементами. Хвостовая соединительная часть соединительной головки на наружной поверхности имеет выступы и канавки для повышения надежности крепления трубопровода. Повышение безопасности эксплуатации соединительного рукава достигается за счет свойств полимерного с текстильным плетеным нитяным каркасом трубопровода, из которого изготовлен соединительный обводной рукав. При наличии давления в тормозной магистрали пневматической системы подвижного состава, при сцепке соединенных вместе головок, полимерный обводной рукав имеет жесткую цилиндрическую форму, которая показывает, что обводной рукав находится под давлением. В таком состоянии нельзя проводить отсоединение обводного рукава от тормозной магистрали пневматической системы подвижного состава. При отсутствии давления в тормозной магистрали пневматической системы подвижного состава соединительный обводной рукав становится мягким, теряет цилиндрическую форму, которая показывает, что в обводном рукаве отсутствует давление. В таком состоянии обводного рукава возможно отсоединение его от тормозной магистрали пневматической системы подвижного состава, что повышает безопасность работы обслуживающего персонала. Соединительный обводной рукав отличается высокой масло-, бензо-, химо-, абразивостойкостью, не подвержен воздействию ультрафиолетовому излучению, обладает высокой прочностью, износостойкостью, и высокой эластичностью в широком диапазоне температур. Развертывание соединительного обводного рукав трубопровода на любой местности не требует предварительной подготовки трассы, предлагаемый рукав огибает препятствия, отличается компактностью при хранении и транспортировке. Повышение надежности работы соединительного плоско сворачиваемого обводного рукава достигается за счет исключения в соединении полимерного трубопровода с хвостовиком соединительной головки промежуточной втулки имеющей большую толщину, превышающую высоту кругового буртика на хвостовике соединительной головки. Повышение надежности работы соединительного плоско сворачиваемого обводного рукава достигается за счет выполнения хвостовой соединительной части в виде трубы длиной не более 350 мм, обеспечивающей жесткую фиксацию трубопровода на наружной поверхности, по крайней мере, не менее чем, двумя хомутами и выполнения на наружной поверхности выступов и канавок для усиления крепления трубопровода и клеевого соединения по наружной поверхности хвостовика. Сущность предлагаемой полезной модели поясняется чертежами, где: на фиг. 1 показан общий вид соединительного обводного рукава, на фиг. 2 показано сечение хвостовой части имеющей неразъемное конусной соединение с соединительной часть головки и клеевое соединением по наружной хвостовой части с закреплением при помощи хомутиков крепящими элементами плоско сворачиваемого трубопровода. Предлагаемый соединительный обводной рукав, для тормозов подвижного состава, показан на чертеже (фиг. 1). Позиции указаны для одной части рукава. Соединительный обводной рукав состоит из плоско сворачиваемого полимерного трубопровода 1, на конце которого закреплена соединительная головка, имеющая головную 2.1 и хвостовую 2.2 части. Соединительная головка зафиксирована жестко в рукаве 1 на хвостовой 2.2 части, имеющей неразъемное соединение с головной 2.1 частью. Соединение рукава 1 на хвостовой 2.2 части клеевое по наружной поверхности хвостовой 2.2 части, имеет дополнительное закрепление при помощи стяжных крепящих хомутиков 3 крепящими элементами 4. Неразъемное соединение головной 2.1 и хвостовой 2.2 части, для крепления полимерного трубопровода, показано на фиг. 2. Хвостовая 2.2 часть имеет внутренний конус 2.3, в который входит конусная часть 2.4 головной 2.1 части соединительной головки. Неразъемное соединение головной 2.1 и хвостовой 2.2 части проведено сваркой 5. Наружная поверхность хвостовой 2.2 части имеет круговые буртики 2.5 и канавки (на фиг. не обозначены) для усиления крепления полимерного трубопровода 1 на цилиндрической поверхности. На предлагаемое техническое решение разработана техническая документация и изготовлена партия соединительных обводных рукавов для проведения испытаний. Изготовлена опытная партия из конструкционной стали 45 ГОСТ 1050-88, проводятся испытания. Реализация предложенного технического решения с учетом всех вышеперечисленных преимуществ значительно повысит надежность и безопасность работы подвижного состава железных дорог.