Изобретение может быть использовано в нефтяной и газовой промышленности для измерения расхода газа, транспортируемого по трубопроводам. Сужающее устройство
содержит корпус с отверстиями для отбора давления газа и центральным отверстием. Корпус имеет паз, верхняя часть которого выполнена закрытой. Открытая часть паза расположена в нижней части корпуса. В
пазу установлен держатель, несущий диафрагму с калиброванным отверстием, закрепленную в держателе посредством уплотнения П-образной формы, которое надето на диафрагму. В нижней части корпус закрыт
крышкой, зажатой планкой. Извлечение держателя с диафрагмой осуществляется посредством съемного механизма, установленного в нижней части корпуса. Изобретение обеспечивает повышенную точность измерения
расхода газа, имеет уменьшенную металлоемкость при одновременно увеличении прочности. 3 ил.
Сужающее устройство для измерения расхода газа, содержащее закрытый крышкой корпус с отверстиями для отбора давления газа и центральным отверстием для транспортировки газа,
установленные в пазу корпуса держатель с диафрагмой, механизм для извлечения из корпуса держателя с диафрагмой и уплотнения, отличающееся тем, что паз под держатель с диафрагмой в верхней части
выполнен закрытым, а открытая часть паза под держатель с диафрагмой, крышка и механизм для извлечения из корпуса держателя с диафрагмой расположены в нижней части корпуса.
Изобретение относится к области измерительной техники, а точнее к устройствам
диафрагменного типа для измерения расхода газа, транспортируемого по магистральным и технологическим трубопроводам в нефтяной и газовой промышленности. Известно сужающее устройство для
измерения расхода газа (см. а. с. СССР №951075, кл. G 01 F 1/34, 1976 г.). Известное устройство содержит корпус с камерами отбора давлений, разделенными между собой съемной измерительной диафрагмой и
поперечным щелевидным окном для извлечения диафрагмы, герметизирующую крышку, уплотнительные элементы и накладку. Недостатком данного устройства является то, что в процессе эксплуатации
сужающего устройства во входном патрубке около диафрагмы происходит накапливание различных веществ, содержащихся в природном газе (в том числе и смолообразующих), мусора, остающегося после ремонта
трубопровода. Это приводит к уменьшению поперечного сечения трубопровода, смещению оси газового потока, увеличению скорости потока газа в трубе, увеличению шероховатости трубы, а следовательно, к
снижению точности замера проходимого газа. Поэтому для восстановления первоначальной точности сужающего устройства требуется его регулярная чистка, что, во-первых, в данной конструкции трудно
осуществить и, во-вторых, на период чистки необходимо останавливать работу газопровода. Из известных сужающих устройств для измерения расхода газа наиболее близким по технической
сущности является устройство, описанное в патенте РФ №2129701, кл. G 01 F 1/42, 1997 г. Это сужающее устройство для измерения расхода газа содержит корпус с отверстиями для отбора
давления газа и центральным отверстием для транспортировки газа, выполненный со сквозным пазом, в котором установлен держатель, несущий диафрагму с калиброванным отверстием. Сверху и снизу корпус
закрыт крышками. Сверху крышку прижимает планка. В нижней части корпуса выполнены сливные отверстия. Извлечение держателя с диафрагмой осуществляется посредством зубчато-реечной передачи. Диафрагма
установлена в держателе через кольцевое уплотнение П-образного сечения. Недостатком данного устройства является то, что паз для держателя с диафрагмой выполнен сквозным. Верхнее окно
паза предназначено для извлечения диафрагмодержателя, а нижнее для очистки трубопровода от твердых отложений. Наличие дополнительного окна в нижней части устройства требует наличия дополнительной
крышки с уплотнением, а это в свою очередь приводит к тому, что, во-первых, устройство становится менее надежным при эксплуатации и более опасным, так как через дополнительную крышку возможны утечки
газа, во-вторых, производительность трубопровода уменьшается, так как на обслуживание устройства требуется дополнительное время, потому что нижнюю крышку при каждом обслуживании требуется снимать, а
потом устанавливать и уплотнять, в-третьих, устройство становится более металлоемким, так как корпус со сквозным пазом менее жесткий и прочный при работе с давлением. Задача настоящего
изобретения состоит в создании сужающего устройства, позволяющего повысить точность измерения расхода газа, уменьшить время на обслуживание устройства. Поставленная задача достигается
тем, что в сужающем устройстве для измерения расхода газа, содержащем закрытый крышкой корпус с отверстиями для отбора давления газа и центральным отверстием для транспортировки газа, установленные в
пазу корпуса держатель с диафрагмой, механизм для извлечения из корпуса держателя с диафрагмой и уплотнения, согласно изобретению паз под держатель с диафрагмой в верхней части выполнен закрытым, а
открытая часть паза под держатель с диафрагмой, крышка и механизм для извлечения из корпуса держателя с диафрагмой расположены в нижней части корпуса. Такое конструктивное выполнение
сужающего устройства для измерения расхода газа позволит увеличить точность отбора давления и последующего измерения расхода газа за счет уменьшения дополнительного возмущения газового потока на входе
диафрагмы от механических отложений. Выполнение паза под держатель с диафрагмой в верхней части закрытым позволит сделать корпус более жестким, прочным и менее металлоемким, а выполнение открытой
части паза в нижней части корпуса позволит облегчить обслуживание и уменьшить время на обслуживание, так как возможно, сняв крышку снизу, произвести одновременно и ревизию диафрагмы и очистить
устройство от накопившихся твердых отложений, которые при значительном накоплении смещают ось газового потока относительно оси диафрагмы, что снижает точность измерения расхода газа и требует частого
дополнительного центрирования держателя с диафрагмой. Для пояснения изобретения ниже приводится конкретный пример выполнения изобретения со ссылкой на прилагаемые чертежи, на
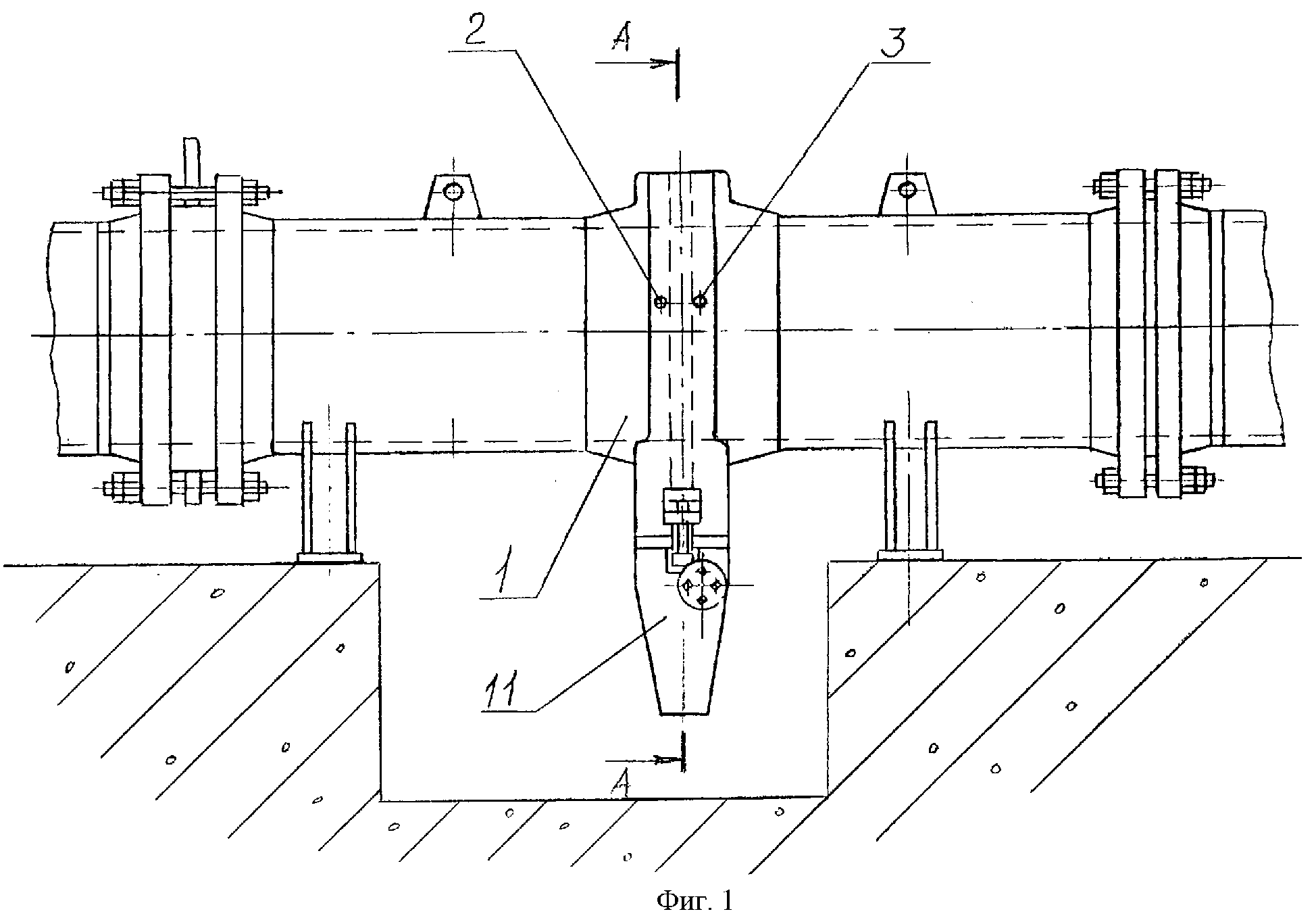
которых: на фиг.1 изображено сужающее устройство для измерения расхода газа (общий вид); на фиг.2 - поперечный разрез А-А на фиг.1; на фиг.3 - продольный
разрез на фиг.1. Сужающее устройство для измерения расхода газа содержит корпус 1 с отверстиями 2, 3 для отбора давления газа и центральным отверстием 4 для транспортировки газа. Корпус
1 имеет паз 5, верхняя часть которого выполнена закрытой, а открытая часть этого паза расположена в нижней части корпуса 1. Кроме того, паз 5 расположен в вертикальной плоскости относительно
горизонтальной оси трубопровода и может быть выполнен или соосно относительно вертикальной оси этого трубопровода, или развернут по отношению к ней. В пазу 5 установлен держатель 6, несущий диафрагму
7 с калиброванным отверстием 8. В нижней части корпус 1 закрыт крышкой 9, которая зажата планкой 10. Извлечение держателя 6 с диафрагмой 7 осуществляется посредством съемного механизма 11 для
извлечения, установленного в нижней части корпуса 1. Диафрагма 7 закреплена в держателе 6 посредством уплотнения 12 П-образной формы, которое надето на диафрагму 7. Устройство работает
следующим образом. Через сужающее устройство, вмонтированное в измерительный участок трубопровода и являющееся частью этого трубопровода, под давлением транспортируется газ. Проходя
через калиброванное отверстие 8 диафрагмы 7, поток газа получает возмущения, которые приводят к перепаду давления газа перед диафрагмой и после нее. Давление газа отбирается через
отверстие 2 перед диафрагмой и отверстие 3, расположенное после диафрагмы, и передается на дифманометры и вычислители расхода газоизмерительной станции, регистрирующие расход транспортируемого
газа. При необходимости проведения периодической ревизии или замены уплотнения 12 и диафрагмы 7 они извлекаются из корпуса 1 вместе с держателем 6 с помощью механизма 11 для извлечения.
Для этого снимают крышку 9, планку 10 и механизмом 11 выдвигают держатель 6 с диафрагмой 7 и уплотнением 12 из паза 5 вниз под сужающее устройство, где можно осмотреть диафрагму и уплотнение 12 и при
необходимости осуществить замену. При этом после снятия крышки 9, планки 10 и выдвижения держателя 6 паз 5 внизу открывается и грязь, скопившаяся в трубопроводе около диафрагмы, высыпается наружу. То
есть при ревизии диафрагмы происходит одновременно и чистка трубопровода от накоплений. Установка держателя 6 с диафрагмой 7 в рабочее положение производится в обратном порядке.
Предложенное сужающее устройство для измерения расхода газа по сравнению с известными позволяет повысить точность измерения расхода газа за счет уменьшения смещения оси диафрагмы относительно оси
газового потока, увеличить производительность трубопровода за счет уменьшения времени на его обслуживание и уменьшить металлоемкость сужающего устройства.