патент
№ RU 2282411
МПК A61B17/56

СПОСОБ ЛЕЧЕНИЯ ПЕРЕЛОМА МАЛОБЕРЦОВОЙ КОСТИ В НИЖНЕЙ ТРЕТИ ДИАФИЗА С ПОВРЕЖДЕНИЕМ МЕЖБЕРЦОВОГО СИНДЕСМОЗА ГОЛЕНИ

Авторы:
Микусев Глеб Иванович
Номер заявки
2004117503/14
Дата подачи заявки
02.06.2004
Опубликовано
27.08.2006
Страна
RU
Как управлять
интеллектуальной собственностью
Чертежи 
3
Реферат

[18]

Изобретение относится к медицине, а именно к травматологии и ортопедии, и может быть применимо для лечения перелома малоберцовой кости в нижней трети диафиза с повреждением межберцового синдесмоза голени. Монтируют аппарат из двух кольцевых и одной полукольцевой опоры, соединенных резьбовыми штангами. Вводят в дистальный отломок малоберцовой кости два стержня выше и ниже уровня синдесмоза. Фиксируют стержни в двух однодырчатых кронштейнах, соединенных своими основаниями на пластинке и образующих совместно с двумя резьбовыми штангами, прикрепленными к проксимальной кольцевой опоре аппарата, репозиционный узел. Осуществляют с помощью репозиционного узла репозицию костного отломка путем перемещения гайками репозиционного узла в трех плоскостях. Фиксируют репозиционный узел по достижении репозиции. Способ позволяет созхранить пропорции в межберцовом синдесмозе, уменьшить риск воспалительных осложнений. 4 ил.

Формула изобретения

Способ лечения перелома малоберцовой кости в нижней трети диафиза с повреждением межберцового синдесмоза голени, включающий монтаж аппарата из двух кольцевых и одной полукольцевой опоры, соединенных резьбовыми штангами, отличающийся тем, что в дистальный отломок малоберцовой кости вводят два стержня выше и ниже уровня синдесмоза, фиксируют стержни в двух однодырчатых кронштейнах, соединенных своими основаниями на пластинке и образующих совместно с двумя резьбовыми штангами, прикрепленными к проксимальной кольцевой опоре аппарата, репозиционный узел, с помощью которого осуществляют репозицию костного отломка путем перемещения гайками репозиционного узла в трех плоскостях, по достижении репозиции фиксируют репозиционный узел.

Описание

[1]

Изобретение относится к медицине, в частности к травматологии.

[2]

Известны способы лечения перелома нижней трети малоберцовой кости с повреждением межберцового синдесмоза голени и смещением стопы кнаружи путем закрытой ручной репозиции и фиксации гипсовой повязкой [1]. Недостатками этого способа является невозможность точного сопоставления отломков малоберцовой кости, сближения берцовых костей на уровне синдесмоза, полного устранения смещения стопы. Кроме того, вследствие сдавления гипсом могут образовываться эпидермальные пузыри с последующим присоединением инфекции. Все это может привести к неправильному сращению малоберцовой кости, нестабильности в голеностопном суставе и выраженному нарушению функции с болевым синдромом.

[3]

Известен способ лечения данного повреждения путем открытой репозиции с фиксацией малоберцовой кости спицей и стягиванием берцовых костей на уровне синдесмоза болтом-стяжкой [2]. Но при данном способе закрытый перелом переводится в открытый, что также может привести к воспалительному процессу с развитием остеомиелита, а излишне перетянутый болт-стяжка, проведенный через синдесмоз, может привести к образованию синостоза между берцовыми костями с выраженным ограничением движений в голеностопном суставе и последующим развитием деформирующего артроза.

[4]

За прототип выбран способ чрескостного остеосинтеза аппаратом Илизарова как наиболее близкий по своему техническому решению к заявляемому [3]. Данный способ состоит в том, что монтируют аппарат из двух кольцевых и одной полукольцевой опоры, соединенных резьбовыми штангами и полукольцевой опорой подвижного репозиционного узла. Через среднюю треть большеберцовой кости проводится спица с оливой с наружной стороны и укрепляется в проксимальной кольцевой опоре. На 6-8 см выше надтаранного сустава проводится вторая спица с оливой с внутренней стороны большеберцовой кости и укрепляется в дистальной кольцевой опоре. Через пяточную кость проводится спица с оливой с наружной стороны и укрепляется в полукольцевой опоре. Натяжением этой спицы осуществляется восстановление конгруэнтности в надтаранном суставе. Через дистальный отломок малоберцовой кости на уровне синдесмоза проводится спица с оливой сзади наперед (в сагиттальной плоскости) и укрепляется в полукольцевой опоре подвижного репозиционного узла. Недостатком этого способа является то, что при восстановлении синдесмоза спица, проведенная через дистальный отломок малоберцовой кости в сагиттальной плоскости, изогнувшись дугообразно, давит на мягкие ткани, чем вызывает пролежни с возможным присоединением инфекции. Это может также привести к развитию остеомиелита. Данный вид фиксации дистального отломка не позволяет устранить угловые смещения малоберцовой кости в сагиттальной и фронтальной плоскостях. Это приводит к нарушению пропорций в межберцовом синдесмозе, развитию артроза с болевым синдромом и нарушением функции в голеностопном суставе.

[5]

Сущность изобретения заключается в совокупности существенных признаков, достаточных для достижения искомого технического результата, а именно: облегчение репозиции дистального отломка малоберцовой кости и улучшение исходов лечения. Эта сущность заключается в том, что в дистальный отломок малоберцовой кости вводят два стержня выше и ниже уровня синдесмоза, фиксируют стержни в двух однодырчатых кронштейнах, соединенных своими основаниями на пластинке и образующих совместно с двумя резьбовыми штангами, прикрепленными к проксимальной кольцевой опоре аппарата, репозиционный узел, с помощью которого осуществляют репозицию костного отломка путем перемещения гайками репозиционного узла в трех плоскостях, по достижении репозиции фиксируют репозиционный узел.

[6]

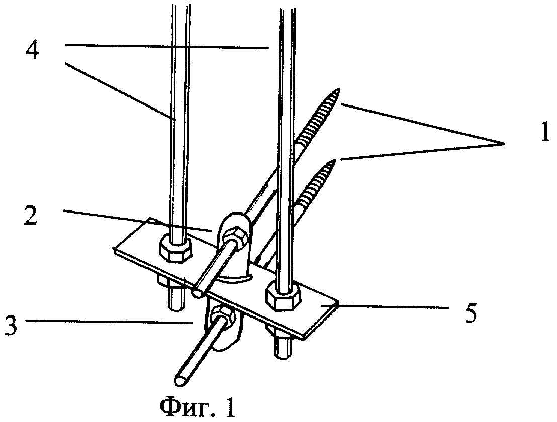
Репозиционный узел и выполнение этапов репозиции показаны на фиг.1-4.

[7]

Фиг.1. Репозиционный узел содержит стержни 1, два кронштейна: один - с отверстием в основании 2, второй - с резьбовым выступом 3, резьбовые штанги 4, закрепленные гайками на пластине 5. Узел крепится на резьбовых штангах 4 к проксимальной кольцевой опоре аппарата.

[8]

Фиг.2. Показано устранение смещения отломка по длине конечности во фронтальной плоскости путем перемещения репозиционного узла по обеим резьбовым штангам в дистальном направлении.

[9]

Фиг.3. Показано устранение углового смещения в сагиттальной плоскости изменением угла наклона репозиционного узла путем увеличения расстояния от проксимальной кольцевой опоры аппарата по одной резьбовой штанге и уменьшения по другой.

[10]

Фиг.4. Показано устранение смещения в горизонтальной плоскости и восстановление синдесмоза путем перемещения стержней репозиционного узла в горизонтальной плоскости.

[11]

Способ осуществляют следующим образом.

[12]

Монтируют аппарат из двух кольцевых и одной полукольцевой опоры, соединенных резьбовыми штангами. Через среднюю треть большеберцовой кости проводят спицу с оливой с наружной стороны и укрепляют в проксимальной кольцевой опоре. На 6-8 см выше надтаранного сустава проводят вторую спицу с оливой с внутренней стороны большеберцовой кости и укрепляют ее в дистальной кольцевой опоре. Через пяточную кость проводят спицу с оливой с наружной стороны, которую укрепляют в полукольцевой опоре. Натягивают эту спицу, чем осуществляют восстановление конгруэнтности в надтаранном суставе. В дистальный отломок малоберцовой кости выше и ниже уровня синдесмоза вводят два стержня, которые фиксируют в двух однодырчатых кронштейнах, соединенных своими основаниями на пластинке, прикрепленной двумя резьбовыми штангами к проксимальной кольцевой опоре аппарата, и образующих репозиционный узел. Устранение смещения отломка по длине конечности во фронтальной плоскости осуществляют путем перемещения репозиционного узла по обеим резьбовым штангам в дистальном направлении (фиг.2). Угловое смещение в сагиттальной плоскости устраняют изменением угла наклона репозиционного узла путем увеличения расстояния от проксимальной кольцевой опоры аппарата по одной резьбовой штанге и уменьшения по другой (фиг.3). Устранение смещения в горизонтальной плоскости и сближение берцовых костей на уровне синдесмоза осуществляют перемещением стержней репозиционного узла в горизонтальной плоскости (фиг.4).

[13]

Клинический пример: Б-я Ш-ва С.Ф., 27 лет. Ист. б-ни №5000. Поступила в НИЦТ "ВТО" 29.12.2000 г. диагноз: закрытый перелом внутренней лодыжки, нижней трети малоберцовой кости со смещением, повреждение межберцового синдесмоза правой голени. При поступлении под наркозом смонтирован аппарат из двух кольцевых и одной полукольцевой опоры соединенных резьбовыми штангами. Через среднюю треть большеберцовой кости проведена спица с оливой с наружной стороны и укреплена в проксимальной кольцевой опоре. На 7 см выше надтаранного сустава проведена вторая спица с оливой с внутренней стороны большеберцовой кости и укреплена в дистальной кольцевой опоре. Через пяточную кость проведена спица с оливой с наружной стороны и укреплена в полукольцевой опоре. Натяжением этой спицы осуществлено восстановление конгруэнтности в надтаранном суставе. Внутренняя лодыжка отрепонирована и фиксирована спицей с оливой. В дистальный отломок малоберцовой кости выше и ниже уровня синдесмоза введены два стержня, которые зафиксированы в двух однодырчатых кронштейнах, соединенных своими основаниями на пластинке, которую прикрепили двумя резьбовыми штангами к проксимальной кольцевой опоре аппарата. Произведено сопоставление отломков малоберцовой кости и восстановление синдесмоза при помощи репозиционного узла. Стабилизация на 8 недель. После демонтажа аппарата назначена реабилитационная терапия. Больная осмотрена через 12 месяцев, жалоб не предъявляет, функция голеностопного сустава полная.

[14]

Источники информации

[15]

1. Руководство по ортопедии и травматологии под редакцией Н.П.Новаченко Том 3, глава XXV. М.: Медицина, 1968, стр.722.

[16]

2. Г.С.Юмашев, В.А.Епифанов Оперативная травматология и реабилитация больных с повреждением опорно-двигательного аппарата. М.: Медицина, 1983, стр.255.

[17]

3. Чрескостный остеосинтез аппаратом Илизарова при переломах дистального суставного конца голени. Методические рекомендации. МЗ РФ; КГМА; Казань, 1999, 27 с., с.10-13.

Как компенсировать расходы
на инновационную разработку
Похожие патенты