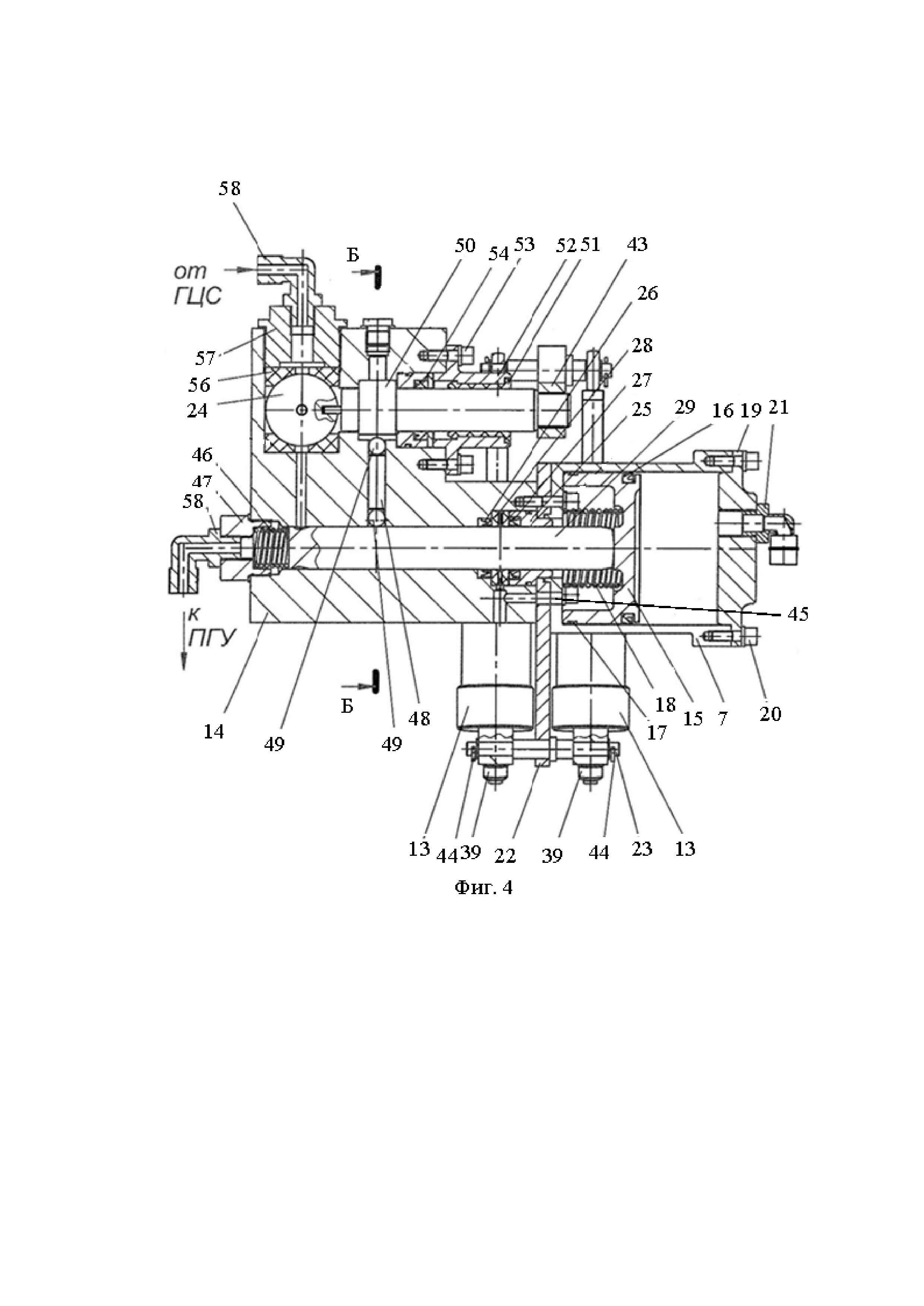
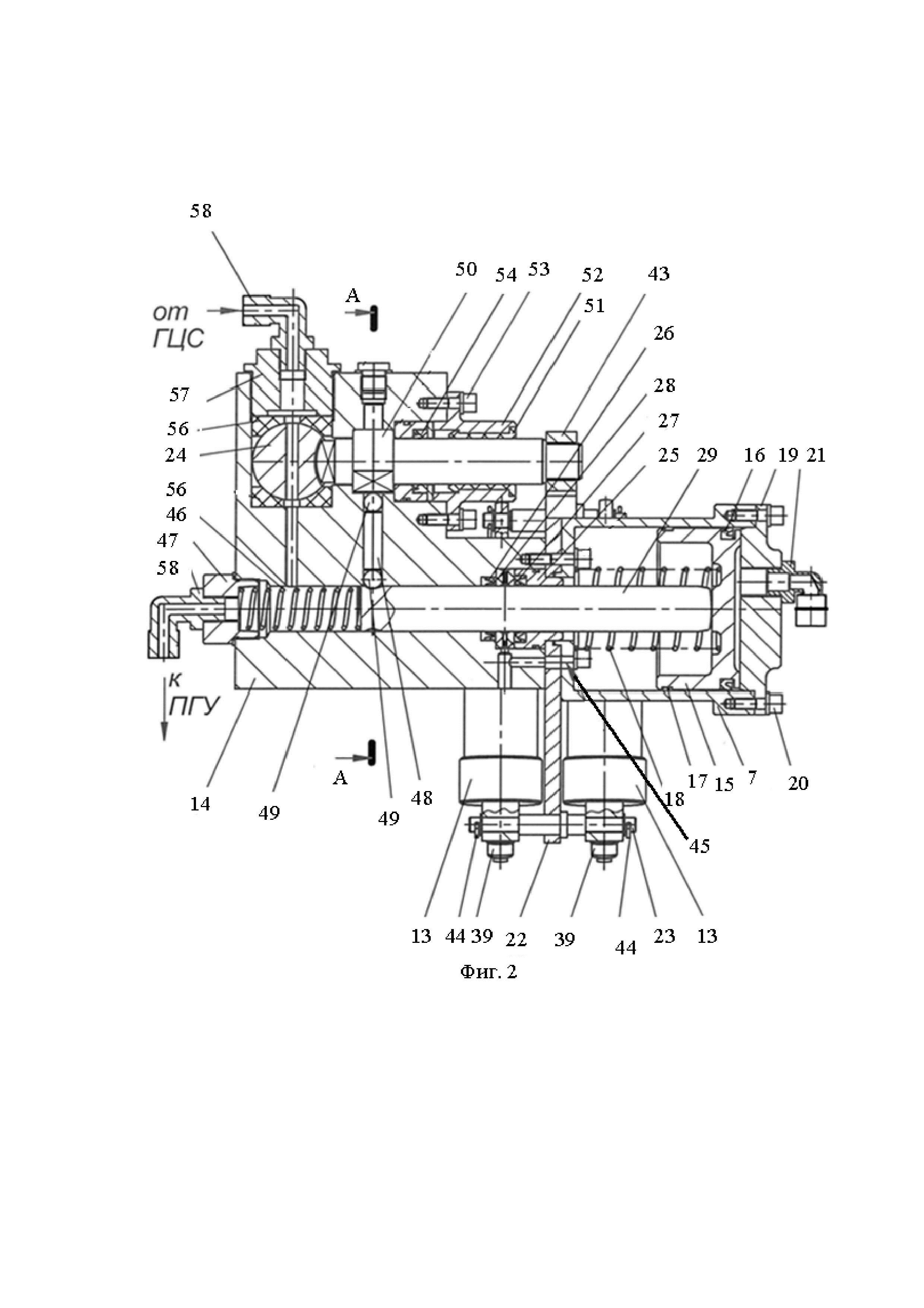
Полезная модель относится к области машиностроения, а именно к приводам управления сцеплением транспортных средств, и предназначена для трансмиссий транспортных средств, а именно для обеспечения дистанционного дублирования управления сцеплением за счет воздействия на штатную гидравлическую систему путем «врезки» гидроблока в данную систему привода управления сцеплением. Устройство гидравлического привода управления сцеплением с возможностью его дублирования содержит элементы штатного управления и механизм дублированного управления, кран переключения, выполненный в виде гидроблока (1). Штатное управление включает в себя педаль (2) выключения сцепления, главный цилиндр (3) выключения сцепления, соединенных посредством штока (4), который одним концом шарнирно закреплен на педали (2) выключения сцепления, а другим упирается в поршень (5) цилиндра (3), при этом главный цилиндр (3) выключения сцепления соединен с гидроблоком (1) через шланг (6) гидравлического привода. Механизм дублированного управления сцеплением пневматический и включает в себя пневмоцилиндр (7), ресивер (8), электромагнитные клапаны (9) и (10), электронный блок управления (11), кнопку (12) включения дублированного включения или выключения сцепления. При этом гидроблок (1) оснащен механизмом предотвращения двойного срабатывания, выполненным в виде шарового крана с приводом от пневмоцилиндров (13) и механической блокировкой. Кроме того, гидроблок (1) состоит из корпуса (14), в котором размещен пневмоцилиндр (7) с пневмопоршнем (15), уплотнениями (16) и (17), пружиной (18), имеется крышка (19), закрепленная с пневмоцилиндром винтами (20), где для подвода сжатого воздуха в крышке (19) установлен штуцер (21). Была решена задача, которая позволила обеспечить блокировку двойного включения привода. 5 ил.
Устройство гидравлического привода управления сцеплением с возможностью его дублирования, содержащее элементы штатного управления, включающие в себя педаль выключения сцепления и главный цилиндр выключения сцепления с поршнем, соединенные посредством штока, механизм дублированного управления и кран переключения, отличающееся тем, что кран переключения выполнен в виде гидроблока, оснащенного механизмом предотвращения двойного срабатывания, выполненным в виде шарового крана с приводом от пневмоцилиндров и механической блокировкой, при этом главный цилиндр выключения сцепления по шлангам через гидроблок соединен с пневмогидравлическим усилителем привода сцепления, причем механизм дублированного управления сцеплением выполнен пневматическим и включает в себя пневмоцилиндры, ресивер, электромагнитные клапаны, электронный блок управления и кнопку включения дублированного включения или выключения сцепления.
Полезная модель относится к области машиностроения, а именно к приводам управления сцеплением транспортных средств, и предназначена для трансмиссий транспортных средств, а именно для обеспечения дистанционного дублирования управления сцеплением за счет воздействия на штатную гидравлическую систему путем «врезки» гидроблока в данную систему привода управления сцеплением. Известен механизм дублированного управления, содержащий рычаги непосредственного и дистанционного ручного управления, выполненные с возможностью поворота в двух плоскостях, связывающие их приводные тяги и соединительный элемент, связывающий рычаг непосредственного управления с приводными тягами, при этом соединительный элемент выполнен в виде управляющего валика, шарнирно соединенного с рычагом непосредственного управления через вспомогательный рычаг, при этом один из концов управляющего валика снабжен фиксатором (см. авт.свидет. SU№745726, МПК 2В60К20/04, опубликовано 07.07.80). Известно устройство для дублированного управления, содержащее педаль, командный гидроцилиндр с поршнем, имеющим привод от упомянутой педали, исполнительный гидроцилиндр, в котором расположены поршень и шток, толкатель для воздействия на педаль транспортного средства, держатель толкателя, соединенный со штоком исполнительного гидроцилиндра (см. патент RU№34784, МПК G09В9/042, В60К26/00, опубликовано 10.12.2003). Известен механизм дублированного управления управляемым механизмом транспортного средства, включающий органы прямого и дублированного управления, например, в виде педалей или рычагов, воздействующих на управляющий элемент сервоусилителя, который соединен с управляемым механизмом, где органы прямого и дублированного управления снабжены главными цилиндрами гидроприводов управления, которые соединены гидромагистралями с краном переключения, в свою очередь соединенного гидромагистралью с исполнительным гидроцилиндром гидроприводов управления, воздействующего на управляющий элемент сервоусилителя (см. патент RU№35289, МПК В60К23/02, опубликовано 10.01.2004). Известен механизм дублированного управления управляемым механизмом транспортного средства, включающий органы прямого и дублированного управления, например, в виде педалей или рычагов, снабженных главными цилиндрами гидроприводов управления, которые соединены гидромагистралями с краном переключения, в свою очередь соединенного гидромагистралью с исполнительным гидроцилиндром гидроприводов управления, воздействующим на управляющий элемент сервоусилителя, кран переключения состоит из корпуса, во внутренней полости которого установлен перемещаемый рабочей жидкостью из одного крайнего положения в другое поршень, делящий внутреннюю полость на две независимые части, каждая из которых, в зависимости от положения поршня, посредством отверстий выполненных на его торцах и, по крайней мере, одного отверстия в средней части корпуса, гидравлически соединяется с исполнительным гидроцилиндром гидроприводов управления (см. патент RU№46978, МПК В60К23/02, опубликовано 10.08.2005). Известен механизм дублированного управления сцеплением автомобиля, содержащий педаль, кронштейн, вспомогательный пневмоцилиндр, поршневая полость которого сообщена через клапан с источником сжатого воздуха, рычаг выключения сцепления, связанный с педалью и штоком вспомогательного пневмоцилиндра, причем вспомогательный пневмоцилиндр и рычаг выключения сцепления закреплены на кронштейне педали каждый посредством оси, при этом оба имеют возможность поворота вокруг своей оси, рычаг имеет в плане Г-образную форму и контактирует с педалью посредством ролика, а клапан выполнен электромагнитным и связан с панелью управления, кроме того, педаль снабжена датчиком перемещения, также связанным с панелью управления, кроме того ось рычага выполнена с резьбой и имеет внутри антифрикционную втулку, поршневая полость вспомогательного пневмоцилиндра соединена с электромагнитным клапаном посредством угольника и пневматической трубки (см. патент RU№173941, МПК В60К23/02, опубликовано 21.09.2017). Прототипом к заявляемому техническому решению по совокупности существенных признаков и достигаемому техническому результату является механизм дублированного управления управляемый механизмом транспортного средства, включающий органы прямого и дублированного управления, например, в виде педалей или рычагов, снабженных главными цилиндрами гидроприводов управления, которые соединены гидромагистралями с краном переключения, в свою очередь соединенного гидромагистралью с исполнительным гидроцилиндром гидроприводов управления, причем кран переключения состоит из корпуса, во внутренней полости которого установлен, перемещаемый рабочей жидкостью из одного крайнего положения в другое, поршень, делящий внутреннюю полость на две независимые части, каждая из которых, в зависимости от положения поршня, посредством отверстий, выполненных на его торцах и, по крайней мере, одного отверстия в средней части корпуса, гидравлически соединяется с исполнительным гидроцилиндром гидроприводов управления, причем в средней части внутренней полости корпуса выполнена кольцевая канавка, сообщающаяся посредством отверстия с исполнительным гидроцилиндром гидроприводов управления, по обе стороны которой, примерно на равных расстояниях, установлены уплотнения поршня, а в каждой независимой части внутренней полости корпуса установлен клапан удаления воздуха из гидропривода управления (см. патент RU№56280, МПК В60К23/02, опубликовано 10.09.2006). Известные решения в большинстве случаев не обеспечивают надежности в работе, кроме того отсутствует блокировка двойного включения и возможность компенсации изменения объёма жидкости посредством связи с атмосферой, нет компенсации изменения положения рычага отводки муфты сцепления при естественном износе сцепления, кроме того при нажатии на левую педаль из прототипа, то при перемещении поршня вправо какое то время жидкость пойдет в полость исполнительно гидроцилиндра, но за тем радиальные сверления справа выйдут из кольцевой канавки, а слева еще не войдут в кольцевую канавку в результате если хватит усилия ноги, то жидкость создаст избыточное давление, которое при достижении кольцевой проточки ударит во внутреннюю полость крана переключения и правую педаль. Задачей данной полезной модели является обеспечение блокировки двойного включения гидравлического привода. Поставленная задача достигается тем, что устройство гидравлического привода управления сцеплением с возможностью его дублирования, содержащее элементы штатного управления, включающие в себя педаль выключения сцепления и главный цилиндр выключения сцепления с поршнем, соединенные посредством штока, механизм дублированного управления и кран переключения, кран переключения выполнен в виде гидроблока, оснащенного механизмом предотвращения двойного срабатывания, выполненным в виде шарового крана с приводом от пневмоцилиндров и механической блокировкой, при этом главный цилиндр выключения сцепления по шлангам через гидроблок соединен с пневмогидравлическим усилителем привода сцепления, причем механизм дублированного управления сцеплением выполнен пневматическим и включает в себя пневмоцилиндры, ресивер, электромагнитные клапаны, электронный блок управления и кнопку включения дублированного включения или выключения сцепления. Совокупность отличительных признаков, заключающаяся в том, что кран переключения в устройстве гидравлического привода управления сцеплением выполнен в виде гидроблока, оснащенного механизмом предотвращения двойного срабатывания, выполненным в виде шарового крана с приводом от пневмоцилиндров и механической блокировкой, при этом главный цилиндр выключения сцепления по шлангам через гидроблок соединен с пневмогидравлическим усилителем привода сцепления, причем механизм дублированного управления сцеплением выполнен пневматическим и включает в себя пневмоцилиндры, ресивер, электромагнитные клапаны, электронный блок управления и кнопку включения дублированного включения или выключения сцепления, позволяет обеспечить блокировку двойного включения. Полезная модель поясняется следующими чертежами: фиг.1 – Устройство гидравлического привода управления сцеплением с возможностью его дублирования, общий вид; фиг.2- гидроблок устройства гидравлического привода в исходном неактивном положении, вид сбоку; фиг.3- то же, разрез А-А фиг.2; фиг.4- гидроблок устройства гидравлического привода в положении включения дублирования, вид сбоку; фиг.5- то же, разрез Б-Б фиг.4. Устройство гидравлического привода управления сцеплением с возможностью его дублирования содержит элементы штатного управления и механизм дублированного управления, кран переключения, выполненный в виде гидроблока 1. Штатное управление включает в себя педаль 2 выключения сцепления, главный цилиндр 3 выключения сцепления, соединенных посредством штока 4, который одним концом шарнирно закреплен на педали 2 выключения сцепления, а другим упирается в поршень 5 цилиндра 3, при этом главный цилиндр 3 выключения сцепления соединен с гидроблоком 1 через шланг 6 гидравлического привода. Механизм дублированного управления сцеплением пневматический и включает в себя пневмоцилиндр 7, ресивер 8, электромагнитные клапаны 9 и 10, электронный блок управления 11, кнопку 12 включения дублированного включения или выключения сцепления. При этом гидроблок 1 оснащен механизмом предотвращения двойного срабатывания, выполненным в виде шарового крана с приводом от пневмоцилиндров 13 и механической блокировкой. Кроме того, гидроблок 1 состоит из корпуса 14, в котором размещен пневмоцилиндр 7 с пневмопоршнем 15, уплотнениями 16 и 17, пружиной 18, имеется крышка 19, закреплнная с пневмоцилиндром винтами 20, где для подвода сжатого воздуха в крышке 19 установлен штуцер 21. Между корпусом 14 и пневмоцилиндром 7 установлен кронштейн 22 с двуплечей осью 23 для крепления пневмоцилиндров 13 привода шара 24 запорного крана. В корпусе 14 имеется узел уплотнения гидравлической и пневматической частей, где к пневматической части относится пневмоцилиндр 7, пневмопоршень 15, крышка 19, уплотнения 16, а гидравлическая часть, состоит из корпуса 25, манжет 26 и 27, кольца сброса конденсата 28, штока 29 гидроцилиндра, причем корпус 25 служит для центрирования кронштейна 22 и пневмоцилиндра 7, которые фиксируются винтами. В свою очередь, пневмоцилиндры 13 состоят из корпуса 30, поршня 31 с установленным на нем уплотнением 32. Поршень 31 смонтирован на штоке 33 и фиксируется на нем гайкой 34. Пружина 35 установленная между поршнем 31 и заглушкой 36 обеспечивает возврат и удержание поршня 31 в исходном положении, постоянно прижимая его к крышке 37. Заглушка 36 удерживается стопорным кольцом 38. В пневмоцилиндры ввернут штуцер 39 для подвода сжатого воздуха от электромагнитных клапанов. С противоположной стороны поршня 31 в резьбу штока 33 ввернута поворотная головка 40, застопоренная гайкой 41. Пневмоцилиндры 13 в количестве двух штук смонтированы шарнирно с одной стороны на двуплечей оси 23, с другой стороны посредством поворотной головки 40 на двуплечей оси 42 рычага 43. Для фиксации в осевом направлении служат шплинты 44. Для сброса воздуха в пневмоцилиндре 7 имеется отверстие 45 соосное с отверстием в кронштейне 22, которое соосно с отверстием в корпусе 14 и связано с отверстиями в кольце сброса конденсата 28. В корпусе 14 имеется шток 29 гидроцилиндра, пружина 46, установленная между гайкой 47 и штоком 29, которая служит для возврата и удержания его в исходном положении. Штифт 48 блокировки установлен в корпусе 14 перпендикулярном оси штока гидроцилиндра. Посредством шариков 49 штифт 48 одним торцом входит в кольцевую проточку на штоке 29 гидроцилиндра, а другим торцом в кулачок вала 50 привода шара 24 запорного крана. При этом, вал 50 привода шарового крана выполнен заодно с кулачком блокиратора и установлен во втулке 51, которая размещена в опоре 52. Опора 52 крепится винтами 53 и служит для центрирования вала 50 привода шарового крана и установки манжеты 54. На один конец вала 50 привода шарового крана посредством шлицевого соединения установлен рычаг 43 блокировки, с противоположной стороны на валу 50 привода шарового крана выполнена поверхность, которая входит в прорезь шара 24 запорного крана, так, что при повороте вала 50 привода шарового крана вокруг своей оси под воздействием рычага 43 шар 24 запорного крана поворачивается и перекрывает гидравлическую магистраль от главного цилиндра 3 выключения сцепления к пневмогидравлическому усилителю 55 в обоих направлениях. Шар 24 запорного крана установлен между двумя фторопластовыми вставками 56 в корпусе 14 и сжимается в один пакет с ними посредством гайки 57, а размещенные штуцеры 58 предназначены для подключения к гидравлической магистрали. Устройство работает следующим образом. Пневмогидравлический усилитель своим штоком упирается в рычаг 59, установленный на одной оси с вилкой 60 выключения сцепления и упирается в муфту 61, установленной соосно с нажимным диском 62 сцепления и ведомым диском 63 сцепления. Муфта 61 имеет возможность перемещения вдоль оси под воздействием вилки 60 и за счет того, что, она связана с диафрагмой нажимного диска 62, воздействует на него при активации привода. Для управления гидроблоком необходимы задействовать: ресивер 8 со сжатым воздухом, клапаны электромагнитные 9 и 10, электронный блок 11 управления, кнопку 12 включения дистанционного дублирующего выключения/включения сцепления транспортного средства, пневматические трубопроводы 64. В штатном режиме при нажатии педали 2 выключения сцепления посредством штока 4, поршень 5 перемещается вниз, при этом объём тормозной жидкости перемещается по шлангам 65 через гидроблок 1, что приводит к активации пневмогидравлического усилителя 55. При активации пневмогидравлического усилителя 55 он своим штоком воздействует на рычаг 59, который поворачивает вилку 60, тем самым перемещая муфту 61 и отводя нажимной диск 62, освобождает ведомый диск 63, что приводит к выключению сцепления. При отпускании педали 2 процесс происходит в обратном порядке. Для обеспечения дистанционного дублирующего управления сцеплением оператор нажимает и удерживает кнопку 12 включения дублированного включения или выключения сцепления транспортного средства. При этом электронный блок 11 управления подает сигнал на открытие электромагнитного клапана 10, который подает сжатый воздух из ресивера 8 в пневмоцилиндры 13 и благодаря чему поршень 31 перемещается вверх преодолевая усилие сжатия пружины 35, воздействуя штоком 33 посредством поворотной головки 40 на двуплечую ось 42, тем самым поворачивая рычаг 43 и связанный с ним вал 50 привода занимает горизонтальное положение, указанное на фиг. 5, что дает возможность шарикам 49 и штифту 48 блокировки перемещаться вверх. Кроме того, поскольку лыска выполненная на валу 50 привода и фрезеровка на нем, входящая в шар 24, выполнены жестко на валу, то это влечет за собой поворот шара 24 запорного крана согласно фигуре 4. При этом шар 24 занимает положение, изображенное на фигуре 4. В этом положении гидравлическая магистраль от главного цилиндра 3 выключения сцепления к пневмогидравлическому усилителю перекрывается шаровым запорным краном поскольку отверстие в шаре 24 не совпадает с каналами в корпусе 14 и гайке 57, кроме того шар 24 своей шаровой поверхностью перекрывает гидравлические каналы во фторопластовых вставках 56. Далее, если оператор продолжает удерживать кнопку, то электронный блок управления через определенное время 0,5…1 сек, которые необходимы для гарантированного срабатывания блокиратора открывается электромагнитный клапан 9, который подает сжатый воздух по трубопроводам через штуцер 21 установленный в крышке 19 в пневмоцилиндр 7. В результате пневмопоршень 7 на фигуре 4 перемещается влево, воздействуя при этом на шток 29, преодолевая усилия пружин 18 и 46, перемещает объем гидравлической жидкости по трубопроводам в пневмогидравлический усилитель 55. В момент начала перемещения штока 29 гидроцилиндра влево кольцевая канавка, выполненная на нем, перемещает шарики 49 и штифт 48 вверх, т.к. лыска кулачка блокиратора находится в горизонтальном положении и не препятствует вышеуказанным деталям согласно фигурам 4 и 5. Таким образом предотвращается какое-либо воздействие на систему штатной педалью, воздействие давлением жидкости от штока 29 гидроцилиндра на главный цилиндр 3 выключения сцепления, что предотвращает его поломку, а возврат рычага 43 в исходное положение за счет удерживания его штоком 29 гидроцилиндра посредством шариков 49 и штифта 48 до тех пор пока шток 29 гидроцилиндра не вернется в исходное положение вправо, а также благодаря этому не вернется в исходное положение вся система штатного гидропривода. Таким образом осуществляется блокировка двойного включения, дублирующее и дистанционное управление выключение/включение сцепления. При отпускании оператором кнопки 12 включения дублированного включения или выключения сцепления, электронный блок 11 управления подает сигнал на сброс давления сначала на электромагнитный клапан 9, а затем с небольшой задержкой на электромагнитный клапан 10 благодаря чему происходит следующее. При сбросе давления через электромагнитный клапан 9 поршень 15, шток 29 гидроцилиндра согласно фигуре 2 под воздействием пружин 18 и 46 перемещается вправо из положения, изображенного на фигуре 4 в свое начальное положение, изображенное на фигуре 2. Благодаря этому кольцевая проточка на штоке 29 гидроцилиндра совпадает со сверлением в корпусе 14 в котором установлены шарики 49 и штифт 48. В свою очередь благодаря этому шарики 49 и штифт 48 получают возможность вернутся в свое исходное положение, изображенное на фигурах 2 и 3, т.е. войти в кольцевую проточку штока 29. Только после этого, если открыт сброс давления из пневмоцилиндров 13 через электромагнитный клапан 9 возможен возврат за счет поворота вокруг своей оси в исходное положение вала 50 привода, и как следствие рычага 43, пневмопоршня 31 согласно фигуре 3. При этом участок поверхности вала 50 привода на котором нет лыски препятствует перемещению вверх шариков 49 и штифта 48, тем самым механически надежно блокируя несанкционированную случайную дистанционную активацию пневмогидравлического усилителя через гидроблок 1 и выключение сцепления согласно фигуре 3, при этом шар 24, связанный механически с валом 50 привода посредством проточки открывает гидравлическую магистраль для штатного управления приводом выключения сцепления согласно фигуре 2. Таким образом, заявляемая конструкция позволяет за счет «врезки» в штатную гидросистему привода управления сцеплением сделать возможным дублирование управлением приводом выключения сцепления за счет воздействия на рабочую гидравлическую жидкость, а также реализовать дублирующий привод выключения сцепления не зависимо от конструкции педального узла в любом транспортном средстве с гидравлическим приводом управления сцеплением с любыми исполнительными гидроцилиндрами. Заявленная совокупность отличительных признаков позволяет обеспечить блокировку двойного включения привода. Заявляемая полезная модель соответствует требованию промышленной применимости, его реализация возможна на стандартном технологическом оборудовании с применением ранее освоенных технологий.