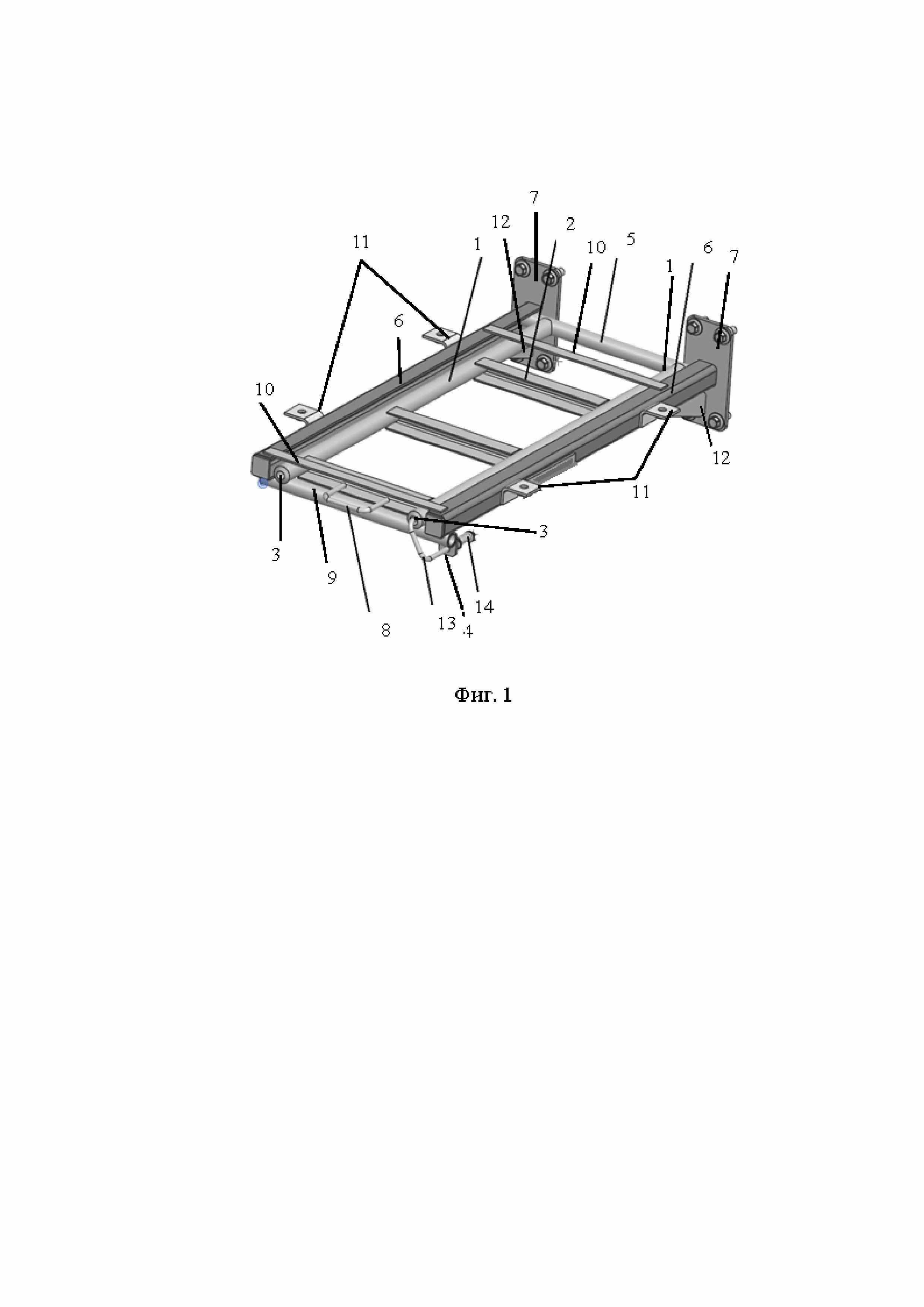
Полезная модель относится к машиностроению, а именно к вспомогательным выдвижным конструкциям, предназначенным для подъема и спуска с транспортного средства. Выдвижная лестница содержит подвижные трубные стойки (1) со ступеньками (2) и отверстиями (3) на концах, одно из которых предназначено для закрепления фиксатора (4) с запорным механизмом для удержания лестницы в собранном состоянии. В верхней части выдвижной лестницы имеется удлиненная труба (5), а подвижные трубные стойки (1) размещены в проеме профилей (6), где профили выполняют роль опоры лестницы и при этом жестко соединены с опорными кронштейнами (7), предназначенными для соединения с рамой транспортного средства. Причем концы трубы (5) выдвижной лестницы также размещены в профилях (6), благодаря чему лестница имеет возможность перемещаться в проемах профилей (6). А на нижней ступеньке лестницы имеется П-образная ручка (8) для движения лестницы в упомянутых профилях. При этом в передней части профилей установлена поворотная труба (9), сверху на профилях имеются горизонтальные пластины (10), а с наружной части с двух сторон профилей закреплены Г-образные кронштейны (11), предназначенные для закрепления в них настила. Под профилями (6) в задней их части имеются уголки (12), соединенные с опорными кронштейнами (7) и предназначенные для придания жесткости конструкции. Кроме того, в заявляемой конструкции фиксатор (4) с запорным механизмом закреплен на трубе (9) и состоит из скобы (13), двух шайб и пружины (14). Таким образом, была решена задача, которая позволила обеспечить эксплуатационную надежность на транспортном средстве заявляемой конструкции. 2 ил. 
Выдвижная лестница, содержащая подвижные стойки со ступеньками, опорные кронштейны, предназначенные для соединения с рамой транспортного средства, фиксатор с запорным элементом для удержания лестницы, отличающаяся тем, что подвижные стойки размещены в двух профилях, которые жестко соединены с опорными кронштейнами, при этом в передней части профилей установлена поворотная труба, в верхней части профилей имеются пластины, а с наружной части с двух сторон профилей закреплены Г-образные кронштейны, предназначенные для закрепления настила, кроме того, лестница имеет в верхней части удлиненную трубу, концы которой размещены в профилях, а в нижней части на стойках имеются отверстия, одно из которых предназначено для закрепления в нем фиксатора, при этом фиксатор с запорным элементом состоит из скобы, двух шайб, пружины.
Полезная модель относится к машиностроению, а именно к вспомогательным выдвижным конструкциям, предназначенным для подъема и спуска с транспортного средства. Известна подножка транспортного средства, содержащая ступени с нескользящими поверхностями и средство блокировки, причем верхняя ступень неподвижно закреплена на транспортном средстве, а каждая из нижерасположенных ступеней крепится к опорным элементам вышерасположенных ступеней при помощи шарнирно закрепленных поворотных рычагов, при этом нижняя ступень выполнена с возможностью поворота относительно промежуточной ступени в верхнее горизонтальное или нижнее горизонтальное положение, а промежуточная и нижняя ступени выполнены с возможностью поворота относительно верхней ступени в верхнее горизонтальное или нижнее горизонтальное положение, средство блокировки представляет собой замковое устройство, расположенное на тыльной стороне промежуточной ступени и выполненное с возможностью автоматической фиксации подножки в транспортном положении (патент RU187504, МПК B60R3/02, B62D25/22, опубликовано 11.03.2019). Известна откидная подножка универсальная для водных транспортных средств, содержащая цилиндрическую базовую трубу, трубчатые боковины и ножную опору, где цилиндрическая базовая труба соединена с закреплёнными на ней трубчатыми боковинами, концы которых соединены с ножной опорой, цилиндрическая базовая труба шарнирно закреплена на внутренней оси, трубчатые боковины с ножной опорой являются единым элементом, выполненным из общей трубы, а сама ножная опора сформирована изгибом трубчатых боковин, представляя собой опорную ступень (патент RU217866, МПК B60R3/02, Е06С5/02, опубликовано 21.04.2023). Известна подножка транспортного средства, содержащая ступеньку, закрепленную на концах двух поворотных рычагов, установленную с возможностью поворота относительно стационарной подножки в верхнее горизонтальное положение или нижнее положение с расположением ниже стационарной подножки, причем стационарная подножка снабжена ограничителем нижнего положения ступеньки, боковые стенки стационарной подножки снабжены кронштейнами, в которых поворотно установлены свободные концы поворотных рычагов, при этом вертикальные стойки поворотных рычагов соединены между собой усилителем с размещенными на нем упругими элементами, взаимодействующими с ограничителем нижнего положения ступеньки, установленным на нижней наружной части стационарной подножки, наружные поверхности горизонтальных стоек рычагов снабжены упругими элементами, взаимодействующими с верхней частью стационарной подножки при верхнем положении ступеньки подвижной подножки (патент RU75998, МПК B60R3/02, опубликовано 10.09.2008). Известна лестница транспортного средства, включающая шарнирно прикрепленную к площадке транспортного средства верхнюю секцию, соединенную с ней с возможностью складывания нижней секции и привода, при этом нижняя секция соединена с площадкой транспортного средства при помощи шарнирно прикрепленного к ней рычага, а верхняя секция снабжена противовесом и соединена с приводом гибкой тягой (авт.свидет. SU477871, МПК В60R3/02, В60С5/04, опубликовано 25.07.75). Известна выдвижная лестница, содержащая штанги, выполненные из предварительно напряженной пружинной ленты, смотанной в рулон на валу механизма наматывания, при этом к концам перекладины жестко прикреплены кольца, связанные между собой фиксирующими тросами и, имеющие возможность перемещаться по штанге (см. авт. свидет. SU1280103, МПК4Е06С1/58, опубликовано 30.12.86). Известна поворотно-выдвижная лестница, содержащая шарнирно-закрепленный на направляющей площадке трап с роликами, снабжена подвижной рамкой, установленной на направляющей площадке, шарнирно связанной с трапом, причем ограничения выдвижения рамки обеспечивается упорами (см. авт. свидет. SU645881, МПК2В61D23/00, опубликовано 05.02.79). Известна лестница для транспортного средства, содержащая две шарнирно соединенные секции, одна из которых шарнирно закреплена на транспортном средстве, ограничитель относительного вращения секций, где шарнир соединения секции и указанный ограничитель расположены по одну сторону от линии, соединяющей внешние концы секций, причем секции, зафиксированные упором, расположены под тупым углом (см. патент RU914355, МПК B60R3/02, опубликовано 23.03.1982). Известна поворотно-выдвижная лестница грузового изотермического вагона, содержащая две боковины, соединенные между собой ступеньками, ограничитель вертикального перемещения лестницы, закрепленный на раме, упорные элементы с валиками, установленными с возможностью взаимодействия с упорными элементами на лестнице, боковины выполнены с изломом из двух плеч, расположенных относительно друг друга под углом, при этом ограничитель вертикального перемещения лестницы в транспортном положении взаимодействует с ее боковинами, а в качестве упорных элементов использованы нижняя ступенька и соединяющая обе боковины перемычка, установленная в верхней части лестницы (см. патент RU183862, МПК B61D23/00, опубликовано 05.10.2018). Известна убирающаяся лестница транспортного средства, содержащая две штанги, соединенные между собой перемычками и смонтированные на направляющих, расположенных под днищем кузова с возможностью перемещения по ним, и под острым углом к самому днищу кузова, и упорные элементы верхних концов штанг для фиксации рабочего положения лестницы, выполненных в виде трапециевидных пластин, кроме того направляющие снабжены поперечиной для взаимодействия с пластинами (см. авт.свидет. SU1154129, МПК 4В60R3/02, опубликовано 07.05.85). Данные технические решения не обеспечивают безопасного подъема людей на транспортное средство, кроме того сложны в своем изготовлении. Также известна лестница транспортного средства, содержащая опорный элемент, закрепленный на площадке транспортного средства и подвижный лестничный марш, при этом лестница снабжена двумя шарнирно соединенными секциями, причем опорный элемент выполнен с горизонтальной полкой и оснащен параллелограмным механизмом, позволяющим выдвигать секции лестницы за габариты кузова транспортного средства, имеет подпружиненный элемент, обеспечивающий возможность фиксации лестницы в транспортном положении, при этом последняя секция лестницы складывается вверх и крепится к предыдущей секции при помощи собственных поворотных фиксаторов (см. патент RU206869, МПК В60R3/02, опубликовано 30.09.2021).м Недостатком рассмотренного решения является то, что фиксирующий элемент раскладной лестницы не обеспечивает эксплуатационной надежности и безопасности при использовании его на транспортном средстве, он только поддерживает последнюю ступень сложенной лестницы. Прототипом к заявляемому техническому решению по совокупности существенных признаков и достигаемому техническому результату является выдвижная подножка транспортного средства, содержащая подвижные стойки со ступеньками, несущий опорный кронштейн, расположенный на раме транспортного средства с размещенной на нем горизонтальной опорой-поперечиной, и ограничитель для фиксации в рабочем положении выдвижной подножки, верхние части стоек снабжены упорными элементами для взаимодействия с ограничителем, при этом подножка дополнительно содержит фиксатор с запорным механизмом для удержания стоек в транспортном положении, включающий L-образные опорные балки, выполненные с изгибом для размещения в нем ступеньки в транспортном положении, жестко соединенные одним концом с рамой, а другим концом - с горизонтальной опорой-поперечиной, затвор с приводной рукояткой, направляющие затвора, жестко соединенные с L-образными опорными балками, и запорный элемент, взаимодействующий с затвором, жестко закрепленный на L-образных опорных балках, при этом горизонтальная опора-поперечина размещена на несущем кронштейне с внешней стороны рамы транспортного средств (см. патент RU178817, МПК B61D23/02, опубликовано 19.04.2018). Данное техническое решение не обеспечивает эксплуатационной надежности и безопасности при использовании его на транспортном средстве, так как имеющийся ограничитель и фиксатор не удерживают подножку в собранном виде. Задачей, на решение которой направлено заявляемое техническое решение, является обеспечение эксплуатационной надежности на транспортном средстве. Поставленная задача решается тем, что выдвижная лестница, содержащая подвижные стойки со ступеньками, опорные кронштейны, предназначенные для соединения с рамой транспортного средства, фиксатор с запорным элементом для удержания лестницы, подвижные стойки размещены в двух профилях, которые жестко соединены с опорными кронштейнами, при этом в передней части профилей установлена поворотная труба, в верхней части профилей имеются пластины, а с наружной части с двух сторон профилей закреплены Г-образные кронштейны, предназначенные для закрепления настила, кроме того, лестница имеет в верхней части удлиненную трубу, концы которой размещены в профилях, а в нижней части на стойках имеются отверстия, одно из которых предназначено для закрепления в нем фиксатора, при этом фиксатор с запорным элементом состоит из скобы, двух шайб, пружины. Совокупность отличительных признаков, заключающаяся в том, что подвижные стойки выдвижной лестницы размещены в двух профилях, которые жестко соединены с опорными кронштейнами, при этом в передней части профилей установлена поворотная труба, в верхней части профилей имеются пластины, а с наружной части с двух сторон профилей закреплены Г-образные кронштейны, предназначенные для закрепления настила, кроме того, лестница имеет в верхней части удлиненную трубу, концы которой размещены в профилях, а в нижней части на стойках имеются отверстия, одно из которых предназначено для закрепления в нем фиксатора, при этом фиксатор с запорным элементом состоит из скобы, двух шайб, пружины, позволяет обеспечить эксплуатационной надежности на транспортном средстве, позволяет обеспечить эксплуатационную надежность на транспортном средстве. Полезная модель поясняется следующими чертежами: фиг.1 – Выдвижная лестница, общий вид в сложенном состоянии (повернуто в изометрии на 3/4); фиг.2 – то же, общий вид в разложенном состоянии (в изометрии). Выдвижная лестница содержит подвижные трубные стойки 1 со ступеньками 2 и отверстиями 3 на концах, одно из которых предназначено для закрепления фиксатора 4 с запорным механизмом для удержания лестницы в собранном состоянии. В верхней части выдвижной лестницы имеется удлиненная труба 5, а подвижные трубные стойки 1 размещены в проеме профилей 6, где профили выполняют роль опоры лестницы и при этом жестко соединены с опорными кронштейнами 7, предназначенными для соединения с рамой транспортного средства. Причем концы трубы 5 выдвижной лестницы также размещены в профилях 6, благодаря чему лестница имеет возможность перемещаться в проемах профилей 6. А на нижней ступеньке лестницы имеется П-образная ручка 8 для движения лестницы в упомянутых профилях. При этом в передней части профилей установлена поворотная труба 9, сверху на профилях имеются горизонтальные пластины 10, а с наружной части с двух сторон профилей закреплены Г-образные кронштейны 11, предназначенные для закрепления в них настила. Под профилями 6 в задней их части имеются уголки 12, соединенные с опорными кронштейнами 7 и предназначенные для придания жесткости конструкции. Кроме того, в заявляемой конструкции фиксатор 4 с запорным механизмом закреплен на трубе 9 и состоит из скобы 13, двух шайб, и пружины 14. В собранном состоянии лестница находится в проемах профилей 6, а скоба 13 с пружиной 14 фиксируют ее через отверстие 3 в стойке 1. Для опускания лестницы необходимо отжать скобу 13, за ручку 8 потянуть на себя лестницу, когда она выдвинется, по поворотной трубе 9 повернуть вниз и опустить лестницу вниз до упора. Для установки лестницы в собранное положение на транспортном средстве, необходимо все проделать в обратном порядке, то есть поднять лестницу, повернуть через поворотную трубу 9 в горизонтальное положение, задвинуть ее по профилям и зафиксировать при помощи фиксатора 4. Таким образом, конструкция выдвижной лестницы позволила обеспечить эксплуатационную надежность на транспортном средстве. Заявляемое техническое решение соответствует требованию промышленной применимости и возможно для реализации на стандартном технологическом оборудовании с применением ранее освоенных технологий.