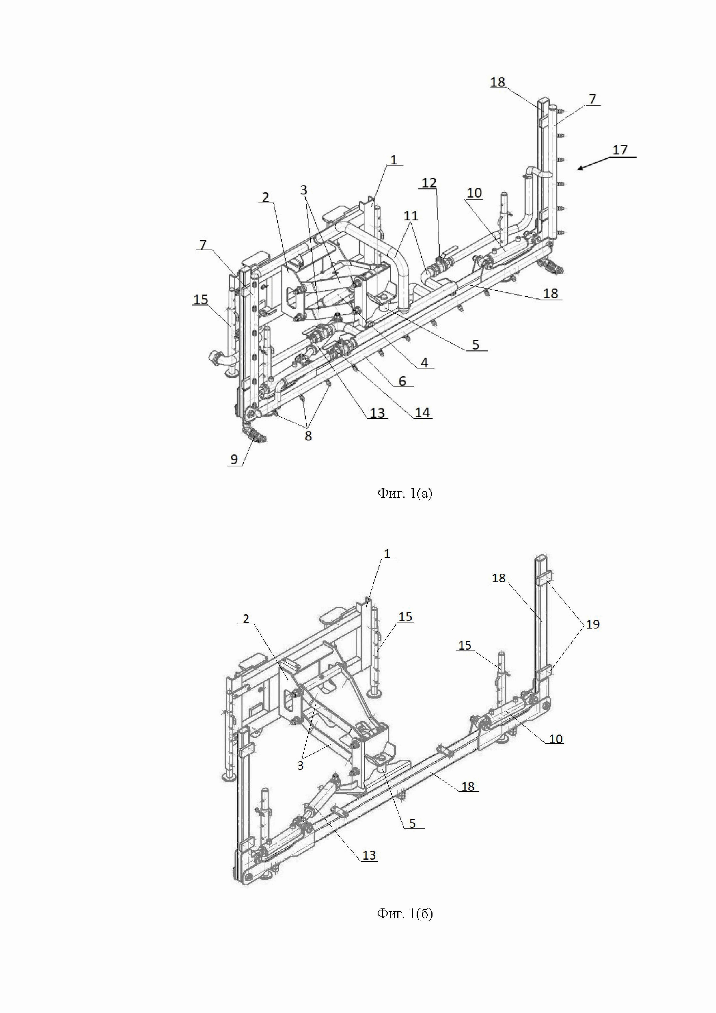
Полезная модель относится к очистке дорог, улиц, а именно к устройствам для полива и мойки дорожных и подобных покрытий, например, для борьбы с пылью, в частности, к моечному навесному оборудованию. Моечное навесное оборудование (17) содержит кронштейн (2) крепления, выполненный с возможностью установки на транспортном средстве (16), шарнирно установленный на нем каркас (18) для установки распределительных труб (6, 7), горизонтальную и боковые распределительные трубы (6, 7), а также водные магистрали (11), обеспечивающие подачу жидкости от транспортного средства (16) к распределительным трубам (6, 7), при этом распределительные трубы (6, 7) содержат форсунки (8). Каркас (18) содержит горизонтальную секцию для установки горизонтальной распределительной трубы (6) и поворотные боковые секции для установки боковых распределительных труб (7), шарнирно установленные по бокам горизонтальной секции с возможностью поворота в вертикальной плоскости, при этом моечное навесное оборудование (17) содержит: гидроцилиндр (4) подъема и опускания горизонтальной секции каркаса (18); гидроцилиндр (13) поворота горизонтальной секции каркаса (18) в горизонтальной плоскости; гидроцилиндры (10) поворота и фиксации положения поворотных боковых секций каркаса (18) в вертикальной плоскости. Технический результат заключается в том, что повышена прочность конструкции универсального моечного навесного оборудования для обеспечения возможности мойки дорожного покрытия и прилегающей дорожной инфраструктуры.
1. Моечное навесное оборудование (17), содержащее кронштейн (2) крепления, выполненный с возможностью установки на транспортном средстве (16), шарнирно установленный на нем каркас (18) для установки распределительных труб (6, 7), горизонтальную и боковые распределительные трубы (6, 7), а также водные магистрали (11), обеспечивающие подачу жидкости от транспортного средства (16) к распределительным трубам (6, 7), при этом распределительные трубы (6, 7) содержат форсунки (8), отличающееся тем, что каркас (18) содержит горизонтальную секцию для установки горизонтальной распределительной трубы (6) и поворотные боковые секции для установки боковых распределительных труб (7), шарнирно установленные по бокам горизонтальной секции с возможностью поворота в вертикальной плоскости, при этом моечное навесное оборудование (17) содержит: гидроцилиндр (4) подъема и опускания горизонтальной секции каркаса (18); гидроцилиндр (13) поворота горизонтальной секции каркаса (18) в горизонтальной плоскости; гидроцилиндры (10) поворота и фиксации положения поворотных боковых секций каркаса (18) в вертикальной плоскости. 2. Моечное навесное оборудование (17) по п. 1, отличающееся тем, что горизонтальная и боковые секции каркаса (18) выполнены из профилей прямоугольного сечения. 3. Моечное навесное оборудование (17) по п. 1, отличающееся тем, что по краям горизонтальной секции каркаса (18), а также на одном из концов соответствующих боковых секций каркаса (18) установлены пластины с отверстиями для установки оси шарнирного соединения. 4. Моечное навесное оборудование (17) по п. 3, отличающееся тем, что пластины содержат дополнительные отверстия для шарнирной установки концов гидроцилиндров (10) поворота и фиксации положения поворотных боковых секций каркаса (18) в вертикальной плоскости. 5. Моечное навесное оборудование (17) по п. 1, отличающееся тем, что кронштейн (2) крепления содержит элемент крепления к транспортному средству, элемент крепления горизонтальной секции каркаса (18), а также шарнирно соединенные с ними рычаги (3) подъема/опускания и гидроцилиндр (4) подъема и опускания горизонтальной секции каркаса (18). 6. Моечное навесное оборудование (17) по п. 5, отличающееся тем, что гидроцилиндр (13) поворота горизонтальной секции каркаса (18) в горизонтальной плоскости одним своим концом соединен с элементом крепления горизонтальной секции каркаса (18), а вторым концом - с горизонтальной распределительной трубой (6). 7. Моечное навесное оборудование (17) по п. 1, отличающееся тем, что кронштейн (2) крепления содержит поворотную ось (5), при этом горизонтальная секция каркаса (18) шарнирно установлена на поворотной оси (5) с возможностью вращения в горизонтальной плоскости, причем гидроцилиндр (13) поворота горизонтальной секции каркаса (18) в горизонтальной плоскости одним своим концом соединен с кронштейном (2) крепления, а вторым концом - с горизонтальной секцией каркаса (18). 8. Моечное навесное оборудование (17) по п. 1, отличающееся тем, что содержит монтажную раму (1), обеспечивающую соединение кронштейна (2) крепления с шасси транспортного средства (16). 9. Моечное навесное оборудование (17) по п. 1, отличающееся тем, что боковые секции каркаса (18) содержат крепления (19) для установки боковых распределительных труб (7) на боковых секциях каркаса (18). 10. Моечное навесное оборудование (17) по п. 1, отличающееся тем, что водные магистрали (11) содержат краны (12, 14) блокировки подачи жидкости, при этом каждая распределительная труба (6, 7) перекрывается отдельным краном (12, 14). 11. Моечное навесное оборудование (17) по п. 1, отличающееся тем, что секции каркаса (18) выполнены из стали, распределительные трубы (6, 7) выполнены из нержавеющей стали, а водные магистрали (11) состоят из металлических трубопроводов и гибких соединительных шлангов, выполненных из высокопрочного, армированного силикона. 12. Моечное навесное оборудование (17) по п. 1, отличающееся тем, что форсунки (8) выполнены в виде форсунок высокого давления с регулировкой напора. 13. Моечное навесное оборудование (17) по п. 1, отличающееся тем, что по краям горизонтальной секции каркаса (18) установлены два крана (9) с регулировкой напора и направления подачи жидкости, выполненные с возможностью подачи жидкости на дорожное полотно.
Область техники, к которой относится полезная модель Полезная модель относится к устройствам для очистки дорог, улиц, а именно к устройствам для полива и мойки дорожных и подобных покрытий, например, для борьбы с пылью, в частности, к моечному навесному оборудованию. Уровень техники Из уровня техники известны различные конструкции моечного навесного оборудования (RU 31584 U1, опубл. 20.08.2003, CN 207597328 U, опубл. 10.07.2018, JP 2022012841 A, опубл. 17.01.2022), характеризующиеся наличием: неподвижной части, включающей соединительную раму и подвижную раму; распылительную штангу, включающую главную распылительную штангу и две вторичные распылительные штанги; и приводной механизм для регулировки рабочей зоны распылительной штанги, причем главная распылительная штанга закреплена на подвижной раме. Недостатком таких решений является то, что распылительные штанги являются самонесущими, и, соответственно, часто выходят из строя из-за перегрузок во время движения транспортного средства по дорогам. Наиболее близким аналогом является моечное навесное оборудование (CN 204163038 U, опубл. 18.02.2015), характеризующееся наличием рамы, на которой установлена основная распылительная штанга и телескопический механизм распылительной штанги, установленный на каждом конце рамы, при этом телескопический механизм распылительной штанги включает в себя распылительную штангу, неподвижную раму, подвижное крепление, приводной цилиндр, направляющую скольжения и направляющую перепада высоты. Распылительная штанга закреплена на неподвижной раме, неподвижная рама соединена с подвижным креплением, направляющая скольжения и направляющая перепада высоты установлены на раме. Недостатком такого решения является отсутствие возможности регулировки дополнительных секций навесного оборудования, например, не предусмотрена возможность мойки вертикальных поверхностей под разным углом. Также недостатком такого решения будет являться массивная рама, которая утяжеляет конструкцию навесного оборудования, и, соответственно, приводит к его частым поломкам в узле соединения с транспортным средством. Техническая проблема заключается в том, что известные конструкции универсального моечного навесного оборудования недостаточно надежны для обеспечения мойки дорожного покрытия и прилегающей дорожной инфраструктуры, поскольку быстро ломаются либо из-за конструкции с несущей распылительной штангой, либо из-за конструкции с тяжелой рамой. Универсальное моечное навесное оборудование содержит боковые секции распределительных труб, обеспечивающие возможность мойки дорожного покрытия и прилегающей дорожной инфраструктуры, которые сильно утяжеляют конструкцию моечного навесного оборудования. Раскрытие сущности полезной модели Задачей настоящей полезной модели является создание надежной конструкции универсального моечного навесного оборудования для обеспечения мойки дорожного покрытия и прилегающей дорожной инфраструктуры. Технический результат заключается в том, что повышена прочность конструкции универсального моечного навесного оборудования для обеспечения возможности мойки дорожного покрытия и прилегающей дорожной инфраструктуры. Вышеуказанный технический результат достигается за счет того, что моечное навесное оборудование содержит кронштейн крепления, выполненный с возможностью установки на транспортном средстве, шарнирно установленный на нем каркас для установки распределительных труб, горизонтальную и боковые распределительные трубы, а также водные магистрали, обеспечивающие подачу жидкости от транспортного средства к распределительным трубам, при этом распределительные трубы содержат моечные форсунки. Каркас содержит горизонтальную секцию для установки горизонтальной распределительной трубы и поворотные боковые секции для установки боковых распределительных труб, шарнирно установленные по бокам горизонтальной секции с возможностью поворота в вертикальной плоскости, при этом моечное навесное оборудование содержит: гидроцилиндр подъема и опускания горизонтальной секции каркаса; гидроцилиндр поворота горизонтальной секции каркаса в горизонтальной плоскости; гидроцилиндры поворота и фиксации положения поворотных боковых секций каркаса в вертикальной плоскости. Горизонтальная и боковые секции каркаса могут быть выполнены из профилей прямоугольного сечения. По краям горизонтальной секции каркаса, а также на одном из концов соответствующих боковых секций каркаса могут быть установлены пластины с отверстиями для установки оси шарнирного соединения. Пластины могут содержать дополнительные отверстия для шарнирной установки концов гидроцилиндров поворота и фиксации положения поворотных боковых секций каркаса в вертикальной плоскости. Кронштейн крепления может содержать элемент крепления к транспортному средству, элемент крепления горизонтальной секции каркаса, а также шарнирно соединенные с ними рычаги подъема/опускания и гидроцилиндр подъема и опускания горизонтальной секции каркаса. Гидроцилиндр поворота горизонтальной секции каркаса в горизонтальной плоскости одним своим концом может быть соединен с элементом крепления горизонтальной секции каркаса, а вторым концом с горизонтальной распределительной трубой. Кронштейн крепления может содержать поворотную ось, при этом горизонтальная секция каркаса шарнирно установлена на поворотной оси с возможностью вращения в горизонтальной плоскости, причем гидроцилиндр поворота горизонтальной секции каркаса в горизонтальной плоскости одним своим концом соединен с кронштейном крепления, а вторым концом с горизонтальной секцией каркаса. Моечное навесное оборудование может содержать монтажную раму, обеспечивающую соединение кронштейна крепления с шасси транспортного средства. Боковые секции каркаса содержат крепления для установки боковых распределительных труб на боковых секциях каркаса. Водные магистрали могут содержать краны блокировки подачи жидкости, при этом каждая распределительная труба может перекрываться отдельным краном. Секции каркаса могут быть выполнены из стали, распределительные трубы могут быть выполнены из нержавеющей стали, а водные магистрали могут состоять из металлических трубопроводов и гибких соединительных шлангов, выполненных из высокопрочного, армированного силикона. Моечные форсунки могут быть выполнены в виде форсунок высокого давления с регулировкой напора. По краям горизонтальной секции каркаса могут быть установлены два крана с регулировкой напора и направления подачи жидкости, выполненные с возможностью подачи жидкости на дорожное полотно. Краткое описание чертежей Конструктивные особенности полезной модели поясняются чертежами, на которых: фиг.1 (а) - общий вид моечного навесного оборудования; фиг. 1 (б) общий вид моечного навесного оборудования без распределительных труб; фиг. 2 (а) вид спереди моечного навесного оборудования со сложенными боковыми распределительными трубами; фиг. 2 (б) вид спереди моечного навесного оборудования со сложенными боковыми секциями без распределительных труб; фиг. 3 вид сбоку моечного навесного оборудования со сложенными боковыми распределительными трубами; фиг. 4 вид сверху повернутого в горизонтальной плоскости моечного навесного оборудования с разложенными боковыми распределительными трубами; фиг. 5 (а) - общий вид транспортного средства с установленным моечным навесным оборудованием со сложенными боковыми распределительными трубами; фиг. 5 (б) - общий вид транспортного средства с установленным моечным навесным оборудованием, повернутым в горизонтальной плоскости, и с разложенными боковыми распределительными трубами. Осуществление полезной модели Транспортные средства для зимнего и летнего содержания дорог делятся на два типа: с установкой стационарного оборудования, включая, например, моечное навесное оборудование, и с установкой съемного оборудования (в основном съемное оборудование устанавливается в кузов самосвала). На шасси транспортного средства для зимнего и летнего содержания дорог со стационарным оборудованием устанавливается специальная платформа с цистернами под жидкость, в частности, воду или жидкий реагент (зимнее содержание). На платформе также находится ящик с водяным оборудованием (насосы, фильтры, распределители давления, заборные горловины и т.д.). На транспортном средстве, обычно на левой стороне ближе к кабине водителя, устанавливается гидравлический шкаф, в котором расположены элементы гидравлической системы оборудования (гидрораспределители, клапана давления), отвечающие за работу всего навесного оборудования в целом (щетка, моющие гребенки и т.п.). Моечное навесное оборудование (17) используется для мойки автомобильных дорог и дорожной инфраструктуры, включая, например, барьерные ограждения и/или бордюры, и устанавливается на транспортное средство (16), предпочтительно на переднюю его часть, на специальный монтажный бампер. Моечное навесное оборудование (17) содержит кронштейн (2) крепления, каркас (18) для установки распределительных труб (6, 7), горизонтальную и боковые распределительные трубы (6, 7), водные магистрали (11) и гидроцилиндры (4, 10, 13), обеспечивающие точное позиционирование элементов моечного навесного оборудования. Каркас (18) устанавливается на кронштейн (2) крепления и предназначен для установки остальных элементов моечного навесного оборудования (17), таких как горизонтальную и боковые распределительные трубы (6, 7), водные магистрали (11) и гидроцилиндры, обеспечивающие точное позиционирование элементов моечного навесного оборудования. Каркас (18) содержит горизонтальную секцию для установки горизонтальной распределительной трубы (6) и поворотные боковые секции для установки боковых распределительных труб (7), при этом горизонтальная секция устанавливается на кронштейн (2) крепления. Поворотные боковые секции для установки боковых распределительных труб (7) шарнирно установлены по бокам горизонтальной секции с возможностью поворота в вертикальной плоскости. По одному из вариантов исполнения горизонтальная и боковые секции каркаса (18) выполнены из профилей прямоугольного сечения. Такое исполнение дополнительно повышает прочность конструкции универсального моечного навесного оборудования. По наиболее предпочтительному варианту исполнения по краям горизонтальной секции каркаса (18), а также на одном из концов соответствующих боковых секций каркаса (18) установлены пластины с отверстиями для установки оси шарнирного соединения. В таком исполнении шарнирное соединение между секциями каркаса (18) образовано пластинами с отверстиями для установки оси шарнирного соединения. Такое исполнение дополнительно повышает прочность конструкции универсального моечного навесного оборудования. По одному из вариантов исполнения боковые секции каркаса (18) содержат крепления (19), обеспечивающие установку боковых распределительных труб (7) на боковых секциях каркаса (18), и быстрое снятие. Пластины, установленные как на горизонтальной, так и на боковых секциях каркаса (18) по одному из вариантов исполнения содержат дополнительные отверстия для установки осей, обеспечивающих шарнирную установку концов гидроцилиндров (10) поворота и фиксации положения поворотных боковых секций каркаса (18) в вертикальной плоскости. Кронштейн (2) крепления обеспечивает крепление моечного навесного оборудования (17) на транспортном средстве (16). Гидроцилиндр (4) подъема и опускания горизонтальной секции каркаса (18) обеспечивает возможность подъема и опускания горизонтальной распределительной трубы (6), установленной на горизонтальной секции каркаса (18), в 400 мм диапазоне. Такое исполнение позволяет расширить диапазон точного позиционирования элементов моечного навесного оборудования. При этом при установке на транспортное средство (16) в нижнем положении горизонтальная распределительная труба (6) будет находиться на расстоянии около 200 мм от поверхности дорожного полотна, а в поднятом положении распределительная труба (6) будет находиться на расстоянии около 600 мм от поверхности дорожного полотна. По наиболее предпочтительному варианту исполнения кронштейн (2) крепления выполнен составным и содержит элемент крепления к транспортному средству, элемент крепления горизонтальной секции каркаса (18), а также рычаги (3) подъема/опускания. В таком исполнении рычаги (3) подъема/опускания шарнирно установлены между элементами крепления к транспортному средству и крепления горизонтальной секции каркаса (18). Гидроцилиндр (4) подъема и опускания горизонтальной секции каркаса (18) в таком исполнении также шарнирно установлен между элементами крепления к транспортному средству и крепления горизонтальной секции каркаса (18) и обеспечивает подъем и опускание горизонтальной распределительной трубы (6), установленной на горизонтальной секции каркаса (18), которая, в свою очередь, установлена на элементе крепления горизонтальной секции каркаса (18). Такое исполнение позволяет дополнительно повысить прочность конструкции элементов универсального моечного навесного оборудования. По одному из вариантов исполнения кронштейн (2) крепления содержит монтажную раму (1), обеспечивающую соединение с шасси транспортного средства (16). Горизонтальная секция каркаса (18) шарнирно установлена на кронштейне (2) крепления с возможностью поворота в горизонтальной плоскости, а горизонтальная распределительная труба (6), установленная на горизонтальной секции каркаса (18), обеспечивает распределение жидкости, полученной из водных магистралей (11), а также ее подачу на дорожное полотно через установленные на ней моечные форсунки (8). Гидроцилиндр (13) поворота горизонтальной секции каркаса (18) в горизонтальной плоскости одним своим концом шарнирно соединен с горизонтальной распределительной трубой (6), а вторым своим концом шарнирно соединен с кронштейном (2) крепления и обеспечивает возможность поворота горизонтальной секции каркаса (18) в горизонтальной плоскости в диапазоне от -40 до 40 градусов относительно продольной оси транспортного средства (16). По одному из вариантов исполнения гидроцилиндр (13) поворота горизонтальной секции каркаса (18) вторым своим концом шарнирно соединен с элементом крепления горизонтальной секции каркаса (18) кронштейна (2) крепления. Такое исполнение позволяет повысить прочность, и соответственно, долговечность моечного навесного оборудования, обеспечивающих точное позиционирование. По наиболее предпочтительному варианту исполнения кронштейн (2) крепления содержит поворотную ось (5), обеспечивающую шарнирную установку горизонтальной секции каркаса (18) на кронштейне (2) крепления с возможностью вращения в горизонтальной плоскости. Такое исполнение позволяет повысить прочность, и соответственно, долговечность моечного навесного оборудования, обеспечивающих точное позиционирование. По краям горизонтальной распределительной трубы (6) на боковых секциях каркаса (18) установлены две поворотные боковые распределительные трубы (7), обеспечивающие распределение жидкости, полученной из водных магистралей (11), и ее подачу на дорожное полотно и/или дорожную инфраструктуру через установленные на ней моечные форсунки (8). Гидроцилиндры (10) поворота и фиксации положения поворотных боковых секций каркаса (18) в вертикальной плоскости позволяют поднимать и опускать боковые распределительные трубы (7), установленные на поворотных боковых секциях каркаса (18), из горизонтального в вертикальное положение и фиксировать их положение в любом положении в диапазоне от 0 до 90 градусов. По наиболее предпочтительному варианту исполнения секции каркаса (18) выполнены из стали, а распределительные трубы (6, 7) выполнены из нержавеющей стали. Такое исполнение позволяет повысить прочность, и соответственно, долговечность моечного навесного оборудования, обеспечивающих точное позиционирование. По одному из вариантов исполнения по краям горизонтальной секции каркаса (18) установлены два крана (9) с регулировкой напора и направления подачи жидкости, выполненные с возможностью подачи жидкости на дорожное полотно. Такое исполнение позволяет повысить точность позиционирования элементов моечного навесного оборудования для обеспечения возможности мойки дорожного покрытия и прилегающей дорожной инфраструктуры. Форсунки (8) по наиболее предпочтительному варианту исполнения выполнены в виде моечных форсунок высокого давления с регулировкой напора и направления струи. Такое исполнение позволяет повысить точность позиционирования элементов моечного навесного оборудования для обеспечения возможности мойки дорожного покрытия и прилегающей дорожной инфраструктуры. Водные магистрали (11) обеспечивают подачу жидкости из транспортного средства к распределительным трубам (6, 7) с форсунками (8), при этом по одному из вариантов исполнения водные магистрали (11) содержат краны (12, 14) блокировки подачи жидкости. В таком исполнении каждая распределительная труба (6, 7) перекрывается отдельным краном (12, 14). Такое исполнение позволяет повысить точность позиционирования элементов моечного навесного оборудования для обеспечения возможности мойки дорожного покрытия и прилегающей дорожной инфраструктуры. Основные водяные трубопроводы водных магистралей (11) выполнены из железа, а все соединительные шланги выполняются из силиконовых высокопрочных, армированных шлангов. Моечное навесное оборудование работает следующим образом. На переднюю часть транспортного средства (16), на специальный монтажный бампер устанавливается моечное навесное оборудование (17). Оборудование (17) подключается к гидравлической системе транспортного средства (16) при помощи рукавов высокого давления (РВД) и быстросъемных соединений. После этого к моечной магистрали (11) оборудования (17) подключается водная магистраль транспортного средства (16). Управление оборудованием (17) производится из кабины водителя при помощи автоматической системы управления. В кабине водителя установлен пульт (кнопочный или сенсорный) управления, позволяющий водителю/оператору подбирать подходящий режим работы оборудования (17) в зависимости от поставленной задачи. Перед выездом на маршрут водитель наполняет цистерны необходимой жидкостью (вода, реагент). Перед началом работы водитель выставляет моечное навесное оборудование (17) в режим, который ему необходим, и приступает к работе. Из-за особенностей управления боковыми распределительными трубами (7) отдельно можно одновременно осуществлять мойку дорожного полотна и мойку дорожной инфраструктуры. При использовании оборудования в зимний период для обработки дорожного полотна антигололедными реагентами раскладываемые боковые распределительные трубы (7) позволяют охватить наибольшую площадь обрабатываемой поверхности (данный способ очень удобен на магистралях, с числом полос от 3-х и выше), что существенно сокращает время работы и соответственно снижает риск дорожно-транспортных происшествий. При работе с навесным моечным оборудованием (17) можно работать боковыми и горизонтальными распределительными трубами (6, 7) как в отдельности, так и в комплексе. Угол наклона боковых распределительных труб (7) можно отрегулировать в диапазоне от 0 до 90 градусов, в зависимости от поставленной задачи (такая регулировка позволяет даже осуществлять работы по очистке дорожно полотна и прилегающей к нему инфраструктуры с левой и правой стороны по ходу движения транспортного средства). Перед началом работы гидроцилиндр (4) опускает горизонтальную секцию каркаса (18) до необходимого рабочего положения горизонтальной распределительной трубы (6), гидроцилиндр (13) поворачивает горизонтальную секцию каркаса (18) на требуемый рабочий угол горизонтальной распределительной трубы (6), а гидроцилиндры (10) устанавливают требуемый рабочий угол боковых распределительных труб (7), установленных на боковых секциях каркаса (18). В процессе работ положение распределительных труб (6, 7) может дополнительно настраиваться. После завершения работы гидроцилиндры (4, 10, 13) перемещают секции каркаса (18) в транспортное положение. Краны (9), установленные по краям горизонтальной распределительной трубы (6), включаются оператором для смывания с поверхности дорожного полотна крупных загрязнений. Для межсезонного хранения моечное навесное оборудование (17) устанавливается на домкраты (15), позволяющие ставить оборудование (17) на поверхность и хранить как в закрытом помещении, так и на улице.