Полезная модель предназначена для подвода воды в смеситель автоматической формовочной линии в литейном производстве, обеспечивающее водяное орошение для увлажнения формовочной смеси при её перемешивании с подачей воды в полость перемешивания снизу миксера через центральную колонну. Повышение ремонтопригодности поворотного соединения для подачи рабочей жидкости или газа во вращающиеся детали достигается за счет того, что разработана конструкция подвижного поворотного соединения для подачи рабочей жидкости или газа во вращающиеся детали, включающего крышку, корпус, опорный подшипник и стопорное кольцо, отличающееся тем, что внутри корпуса на патрубке, выполненном с возможностью вращения при подводе жидкости через угольник, установлены подшипники, зафиксированные посредством уплотнительного, стопорного и войлочного колец, а также шевронного уплотнения, для поджатия которого использованы винты, стягивающие крышку с полостью для подачи масла через пресс-маслёнку, с последующей передачей усилия на подшипники, нажимную шайбу и шевронное уплотнение. 1 ил.
Подвижное поворотное соединение для подачи рабочей жидкости или газа во вращающиеся детали, включающее крышку, корпус, опорный подшипник и стопорное кольцо, отличающееся тем, что внутри корпуса на патрубке, выполненном с возможностью вращения при подводе жидкости через угольник, установлены подшипники, зафиксированные посредством уплотнительного, стопорного и войлочного колец, а также шевронного уплотнения, для поджатия которого использованы винты, стягивающие крышку с полостью для подачи масла через пресс-маслёнку, с последующей передачей усилия на подшипники, нажимную шайбу и шевронное уплотнение.
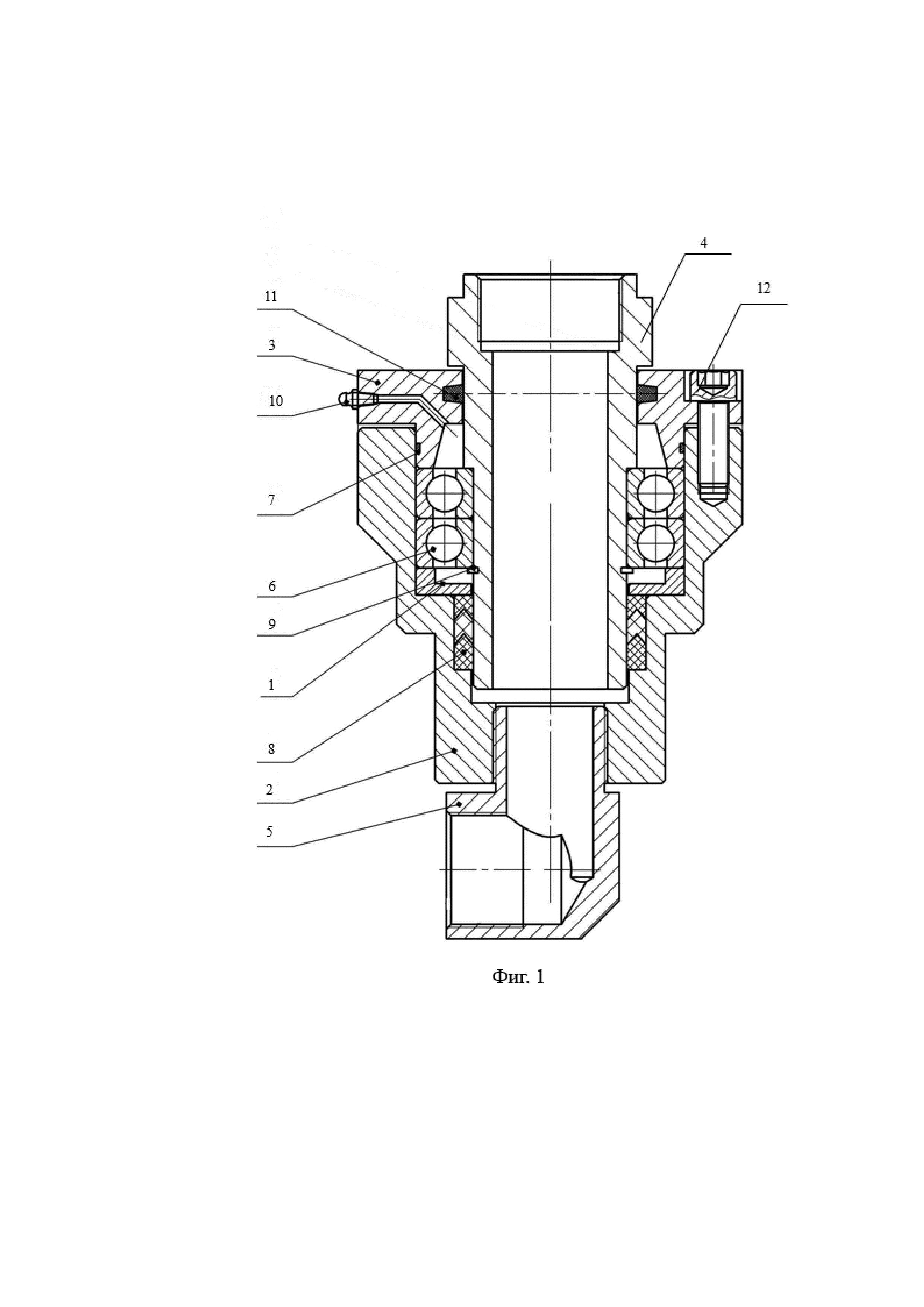
Полезная модель относится к литейному производству, в частности к узлам для подвода гидравлической жидкости в машинах литья под давлением. Техническое решение по полезной модели предназначено для подвода воды в смеситель автоматической формовочной линии в литейном производстве, обеспечивающее водяное орошения для увлажнения формовочной смеси при ее перемешивании с подачей воды в полость перемешивания снизу миксера через центральную колонну. Из области техники известно устройство поворотного соединения трубопроводов по патенту на полезную модель RU № 11295, приоритет от 25.02.1999, оснащенное втулкой и содержащее соосно установленные один в другом с возможностью вращения с зафиксированными в осевом направлении концами трубопроводов, на одном из которых образована канавка с установленным уплотнительным кольцом, при этом втулка с кольцевыми полостями выполнена разрезанной под углом к оси вращения и закрепленной на одном из концов трубопровода, а канавка под уплотнительное кольцо образована сдвинутыми в осевом направлении двумя частями втулки. Известно поворотное соединение трубопровода по патенту на полезную модель RU № 181954, приоритет от 10.05.2018, содержащее сопрягаемые охватывающую и охватываемую обоймы, между которыми установлены поворотный в виде подшипника скольжения и уплотнительный, выполненный в виде закрепленных на внутренних и наружных кольцах подшипника термоизоляционных втулок, элементы, соединенные с обоймами патрубками. Патрубок, соединенный с охватываемой обоймой, выполнен в виде углового штуцера с возможностью соединения с термостойким шлангом, а патрубок, соединенный с охватывающей обоймой, выполнен термоизоляционным с выпускным соплом на конце и втулкой для присоединения к резервуару. В вышеприведенных конструкциях не предусмотрено винтовое соединение, обеспечивающее подтяжку при появлении течи минерального масла под давлением. Также известно поворотное соединение трубопровода по патенту на полезную модель RU № 77934, приоритет от 24.01.2008, содержащее обоймы с кольцевыми канавками на сопрягаемых поверхностях для установки поворотных элементов в виде тел качения, в которых, в двух оппозитно расположенных канавках установлены поворотные элементы в виде шариков, а также уплотнительный элемент из прокладки, манжеты, опорного кольца, соединительный элемент в виде фланца, при этом на сопрягаемой поверхности одной из обойм выполнены кольцевые канавки для установки в них поворотных элементов - роликов, канавки расположены симметрично относительно канавки, в которой установлены поворотные элементы в виде шариков, а одна из обойм - охватываемая имеет подвижное соединение с охватывающей обоймой посредством шариков и роликов. В данной конструкции отсутствует возможность закачивания масла в полость подшипников через пресс-масленку для обеспечения анти- заклинивающего эффекта, а винтовое соединение ограничено фиксацией, исключая возможность его регулирования. В качестве прототипа выбрано поворотное соединение с подшипниковым соединением по патенту на изобретение RU № 2154225, приоритет от 12.06.1995 г., конвенционный приоритет от 15.06.1994 US 08/260,160. Охватываемый соединитель подшипникового устройства имеет центральную ось, первый конец и множество наружных кольцеобразных канавок, каждая из которых имеет, дугообразное поперечное сечение и расположена в соответствующей плоскости, перпендикулярно к центральной оси. Каждая наружная канавка имеет, постоянный радиус, измеренный от центральной оси. Каждая последующая от первого конца охватываемого соединителя наружная канавка имеет радиус, превышающий радиус предыдущей наружной канавки. Устройство содержит также охватывающий соединитель, коаксиально сцентрированный с охватываемым соединителем и предназначенный для приема и пригонки вокруг охватываемого соединителя. Причем охватывающий соединитель имеет первый конец и множество внутренних кольцеобразных канавок, каждая из которых имеет, дугообразное поперечное сечение и расположена в соответствующей плоскости, перпендикулярно к центральной оси. Каждая внутренняя канавка соответствует одной из наружных канавок и образует с ней дугообразную дорожку для подшипника. Каждая дорожка принимает множество шариковых подшипников для упрощения относительного вращения охватываемого и охватывающего соединителей вокруг центральной оси. Величины радиусов наружных канавок выбирают такими, чтобы нагрузка между охватываемым и охватывающим соединителями была равномерно распределена между дорожками. Главным недостатком прототипа является недостаточная ремонтопригодность в результате заклинивания, так как не предусмотрено закачивание масла в полость подшипников через пресс-масленку для обеспечения антизаклинивающего эффекта. Таким образом, техническим результатом настоящей полезной модели является повышение ремонтопригодности поворотного соединения для подачи рабочей жидкости или газа во вращающиеся детали, достигаемое за счет того, что разработана конструкция подвижного поворотного соединения для подачи рабочей жидкости или газа во вращающиеся детали, включающего крышку, корпус, опорный подшипник и стопорное кольцо, отличающегося тем, что внутри корпуса на патрубке, выполненным с возможностью вращения при подводе жидкости через угольник, установлены подшипники, зафиксированные посредством уплотнительного, стопорного и войлочного колец, а также шевронного уплотнения, для поджатия которого использованы винты, стягивающие крышку с полостью для подачи масла через пресс-масленку, с последующей передачей усилия на подшипники, нажимную шайбу и шевронное уплотнение. Сущность полезной модели поясняется на фиг. 1, где внутри корпуса 2 на вращающемся патрубке 4 при подводе жидкости через угольник 5 фиксируются подшипники 6 за счет уплотнительного 7, стопорного 9 и войлочного 11 колец, а также шевронного уплотнения 8, поджатие которого осуществляется посредством винтов 12, стягивающих крышку 3 с полостью для подачи масла через пресс-масленку 10, с последующей передачей усилия на подшипники 6, нажимную шайбу 1 и шевронное уплотнение 8. Исследования, проведенные по источникам патентной и научно-технической информации, показали, что заявляемая конструкция подвижного поворотного соединения для узла подвода гидравлической жидкости в машине литья под давлением неизвестна, то есть соответствует критериям «новизна». В литейном производстве были произведены мероприятия по доработке устройств подвода гидравлической жидкости в машинах литья под давления в нескольких вариантах. Один из них приведен в качестве опытного образца и испытан на вышеуказанном оборудовании, что соответствует критерию «промышленная применимость» и показан на фиг. 1, где:1 - нажимная шайба, 2 - корпус, 3 - крышка, 4 - патрубок, 5 - угольник, 6 - два подшипника 216, выполненные по ГОСТ 8338-75, 7 - уплотнительное кольцо, 8 - шевронное уплотнение, 9 - стопорное кольцо, выполненное по ГОСТ 13942, 10 - пресс-масленка 1.3.Ц6, 11 - войлочное кольцо, 12 - три винта М16-6g×50, выполненные по ГОСТ 11738-84. Оборудование - машина литья под давлением состоит из трех плит: подвижной, неподвижной и регулируемой. На подвижную и неподвижную плиты устанавливается пресс-форма. В зависимости от ширины пресс-формы посредством перемещения регулируемой плиты устанавливается расстояние между подвижной и неподвижной плитами. Для осуществления цикла прессования необходимо соединить неподвижную и подвижную плиту, для этого служит цилиндр закрытия, расположенный на регулируемой плите. Цилиндр через рычажную систему толкает подвижную плиту - машина литья под давлением закрывается. К цилиндру закрытия подведена гидравлическая жидкость с помощью подвижного поворотного соединения. При различных положениях регулируемой плиты, положение рукава остается в правильном, исключая перегибы, положении за счет перемещения поворотного соединения, причем подвижное поворотное устройство устанавливается в корпус гидравлического цилиндра закрытия машины литья под давлением и в поворотную часть вкручивается гибкий рукав - в итоге подвижное поворотное соединение позволяет присоединить рукав в нужном положении. Упрощенная ремонтопригодность предлагаемой конструкции заключается в уменьшении разборно-сборных операций и замене только резиновых уплотнительных колец в канавках: откручиваются винты, снимается крышка, вынимается патрубок, в крышке заменяются резиновые уплотнительные кольца в канавках, после чего осуществляется сборка в обратном порядке.