патент
№ RU 2262502
МПК B01J27/04

СПОСОБ ПОЛУЧЕНИЯ ФЕНОЛА И АЦЕТОНА ПРИ ПОМОЩИ КИСЛОТНО-КАТАЛИТИЧЕСКОГО РАЗЛОЖЕНИЯ ГИДРОПЕРЕКИСИ КУМОЛА

Авторы:
МИХАЛИК Кристиан (DE) ФОЛЬКЕ Юрген (DE) ПОМПЕТЦКИ Вернер (DE)
Все (7)
Номер заявки
99126656/04
Дата подачи заявки
16.12.1999
Опубликовано
20.10.2005
Страна
RU
Дата приоритета
15.12.2025
Номер приоритета
Страна приоритета
Как управлять
интеллектуальной собственностью
Реферат

[44]

Изобретение относится к технологии совместного производства фенола и ацетона селективным разложением гидроперекиси кумола под действием кислоты. Способ осуществляется в нескольких включенных последовательно реакторах в виде кожухотрубчатых теплообменников, в которых часть продукта разложения возвращается в зону реакции и смешивается с питающим потоком, направляемым на разложение. Массовое отношение циркулирующего потока разложения к питающему потоку составляет менее 10. Реакторы с трубной гидродинамической характеристикой обладают удельной объемной поверхностью теплообмена, равной или более 500 м23. Предпочтительно остаточная концентрация гидроперекиси кумола составляет 0,1-0,3 мас.% при пребывании реакционной смеси в зоне разложения 0,5-10 мин. Технический результат - повышение селективности процесса разложения при уменьшении объемов аппаратуры циркуляционного процесса и сокращении капитальных затрат. 10 з.п. ф-лы, 1 ил., 1 табл.

Формула изобретения

1. Способ получения фенола и ацетона путем кислотно-каталитического гомогенного разложения гидроперекиси кумола в блоке разложения с одним или несколькими реакторами, имеющими трубную гидродинамическую характеристику, для разложения гидроперекиси кумола, при котором часть выходящего из этих реакторов потока продукта возвращается в процесс и объединяется с питающим потоком гидроперекиси кумола, подаваемым в блок разложения, отличающийся тем, что массовое отношение возвращаемого в процесс частичного потока продукта разложения к питающему потоку гидроперекиси кумола, подаваемому на разложение, составляет менее 10, причем реакторы, имеющие трубную гидродинамическую характеристику, обладают удельной объемной поверхностью для теплообмена, равной или более 500 м23.

2. Способ по п.1, отличающийся тем, что блок разложения содержит один или несколько последовательно включенных кожухотрубчатых теплообменников, используемых в качестве реакторов для разложения гидроперекиси кумола.

3. Способ по п.2, отличающийся тем, что блок разложения содержит от трех до шести кожухотрубчатых теплообменников, используемых в качестве реакторов для разложения гидроперекиси кумола.

4. Способ по п.2 или 3, отличающийся тем, что реагирующая смесь проходит по трубному пространству кожухотрубчатых теплообменников.

5. Способ по любому из пп.1-4, отличающийся тем, что массовое отношение возвращаемого в процесс частичного потока продукта разложения к питающему потоку гидроперекиси кумола, подаваемому на разложение, находится в диапазоне от 5 до 7.

6. Способ по любому из пп.1-5, отличающийся тем, что остаточная концентрация гидроперекиси кумола в продукте разложения гидроперекиси кумола находится в диапазоне от 0,1 до 1,5 вес.%.

7. Способ по п.6, отличающийся тем, что остаточная концентрация гидроперекиси кумола в продукте разложения гидроперекиси кумола находится в диапазоне от 0,1 до 0,3 вес.%.

8. Способ по любому из пп.1-7, отличающийся тем, что разложение гидроперекиси кумола производят в диапазоне температур от 45 до 75°С и абсолютного давления от 1 до 5 бар.

9. Способ по любому из пп.1-8, отличающийся тем, что время пребывания реагирующей смеси в блоке разложения гидроперекиси кумола находится в диапазоне от 0,5 до 10 мин.

10. Способ по любому из пп.1-9, отличающийся тем, что содержание гидроперекиси кумола в питающем потоке находится в диапазоне от 65 до 90 вес.%.

11. Способ по любому из пп.1-10, отличающийся тем, что в качестве катализатора используют серную кислоту.

Описание

[1]

Настоящее изобретение касается усовершенствованного способа селективного разложения гидроперекиси кумола (ГПК) на фенол и ацетон при действии кислоты.

[2]

В мировом масштабе фенол получают по большей части из кумола. При этом кумол сначала окисляют до гидроперекиси кумола (сокращенно ГПК), причем по сображениям селективности режим ведут, как правило, в пределах от 20 до 30 вес.% по конверсии кумола. На последующей стадии так называемого концентрирования содержание ГПК в оксиданте доводят обычно до 65-90 вес.%. Таким образом получают так называемую техническую ГПК. На последующей стадии разложения из этой технической ГПК под действием кислоты, в большинстве случаев серной, получают фенол и ацетон. После нейтрализации продукта разложения из него извлекают эти продукты, в основном дистиллятивным путем, в блоке разделения установки производства фенола.

[3]

Реакции как окисления, так и разложения сопровождаются нежелательным образованием побочных продуктов. Процессу разложения с точки зрения селективности и выхода продуктов по процессу в целом придается особое значение. Параллельно с разложением ГПК на фенол и ацетон происходит дегидратация диметилфенилкарбинола (сокращенно ДМФК), образовавшегося перед этим на стадии окисления, до альфа-метилстирола (сокращенно АМС), который может быть гидрирован в блоке разделения и таким образом возвращен на стадию окисления. Но в блоке разложения ГПК происходят реакции полимеризации АМС или реакции присоединения между АМС и фенолом, ведущие к образованию высококипящих соединений (поли-АМС и кумилфенолов), что в значительной степени отрицательно влияет на селективность и выход продуктов по процессу в целом. Поэтому процесс разложения технически должен проводиться таким образом, чтобы в максимальной степени подавлялось образование вышеупомянутых высококипящих соединений.

[4]

Техническое выполнение процесса разложения уже неоднократно описывалось. Как правило, разложение проводят в аппарате идеального смешения. Освобождающееся в результате сильной экзотермической реакции разложения ГПК тепло отводится или за счет испарения ацетона (охлаждение выпаркой, см. патент США 5463136), или при помощи внешних холодильников, как это, например, описано в патенте США 4358618. В патенте США 4358618 описывается возможность повышения селективности такого разложения при помощи использования в схеме последовательно включенных трубчатых реакторов. При этом режим работы осуществляется следующим образом. В основном реакторе, выполненном в виде реактора идеального смешения, производят при температурах в диапазоне от 50 до 90°С при подаче кислоты разложение технической ГПК до остаточной концентрации от 0,5 до 5 вес.%. При этих условиях не менее 40 вес.% содержащегося ДМФК реагируют с ГПК до перекиси дикумила (сокращенно ПДК) и воды. В следующем по технологической схеме первом трубчатом реакторе происходит разложение ГПК до остаточной концентрации менее 0,4 вес.%, значения температур при этом аналогичны температурам в основном реакторе. Во втором трубчатом реакторе происходит разложение образовавшейся до этого ПДК на АМС, фенол и ацетон, температуры при этом устанавливают в диапазоне от 120 до 150°С. В соответствии с этим основной реактор и первый трубчатый реактор могут быть объединены в "блок разложения ГПК", а второй трубчатый реактор может быть обозначен как "блок разложения ПДК". Идея повторной термической обработки продукта в трубчатом реакторе после разложения собственно ГПК, как это указано в патенте США 4358618, известна давно и была уже описана в патенте США 2757209, при этом для разложения ПДК указываются температуры выше 100°С, предпочтительно от 110 до 120°С. Целью этой дополнительной термической обработки являлась в тот момент полная дегидратация ДМФК до АМС. Дополнительно к высококипящим соединениям, уже образовавшимся при разложении ГПК, при разложении ПДК образуются и другие высококипящие.

[5]

И в патентной заявке СССР 1131865 А также уже описан двухступенчатый способ, на первой стадии которого происходит разложение собственно ГПК, а на второй стадии - разложение ПДК, образовавшейся на первой стадии. Кроме того, патентная заявка СССР 1131865 А указывает для отвода тепла на каждой стадии возврат продукта с каждой соответствующей стадии на прием соответствующей стадии в количественном соотношении 20:1, а также подачу используемой в качестве катализатора серной кислоты только на вторую стадию, так что для попадания этой кислоты на первую стадию необходим последующий возврат продукта разложения из блока разложения ПДК (вторая стадия) в питающий поток блока разложения ГПК (первая стадия) в объемном отношении от 1:1 до 1:10.

[6]

Собственные исследования показали, что скорость разложения гидроперекиси кумола d ГПК/dt пропорциональна концентрации ГПК. Таким образом, для заданной конверсии выход продуктов, принимаемый по объему и времени, будет всегда ниже в реакторе идеального смешения, описанном в патенте США 4358618, чем в трубчатом реакторе. Поэтому объем такого аппарата идеального смешения всегда больше, чем объем трубчатого реактора, если разложению подлежат количественно соответственно равные потоки ГПК до соответственно одинаковых ее конечных концентраций. Соответственно, увеличенным является количество продукта с остаточным содержанием ГПК, находящееся в аппарате идеального смешения, по сравнению с количеством продукта разложения в трубчатом реакторе. Но по соображениям техники безопасности предпочтителен вариант, когда объем реакторов разложения будет выдержан предельно малым и одновременно поверхность теплопередачи между реагирующей технической ГПК и хладоагентом - большой. Такая ситуация достигается в том случае, если разложение будет проводиться в реакторах с трубной гидродинамической характеристикой, то есть, например, в кожухотрубчатых теплообменниках. При этом продукт может проходить как по трубному, так и межтрубному пространствам, если в этом случае за счет установки специальных внутренних устройств (обводных перегородок) будет обеспечиваться трубная гидродинамическая характеристика. Использование малых объемов реакции и больших поверхностей теплообъема, то есть реакторов с большими удельными объемными поверхностями для теплопередачи, гарантирует, что даже при выходе из строя, например, насосов не возникнет никаких критических с точки зрения техники безопасности состояний несмотря на сильную экзотермическую реакцию разложения.

[7]

Использование нескольких последовательно включенных кожухотрубчатых теплообменников при разложении технической ГПК уже описано в патенте Германии 1112527. При этом ГПК диспергируют в избытке серной кислоты, и эта дисперсия проходит через холодильники, в которых снимается тепло реакции, с последующим отделением друг от друга серной кислоты и органической фазы. Серная кислота возвращается в процесс, продукт разложения подвергают нейтрализации и переработке. Но при помощи этого так называемого гетерогенного разложения не достигают высокой селективности, так как циркуляция серной кислоты усиливает протекание побочных реакций с образованием высококипящих соединений.

[8]

Поэтому как в патенте США 4358618, так и в патенте США 5254751 описано гомогенное разложение ГПК, то есть используемая только в незначительных количествах серная кислота растворяется в реагирующей массе. Но в отличие от патента США 4358618 разложение по патенту США 5254751 производится в трех последовательно включенных холодильниках при температурах в диапазоне от 45 до 75°С, причем речь идет, конечно, о кожухотрубчатых теплообменниках, в которых реагирующая масса проходит по межтрубному пространству в трубных гидродинамических условиях. При этом продукт реакции для обеспечения высокой селективности частично циркулирует таким образом, что часть образующегося за последним холодильником продукта разложения возвращается и смешивается с потоком ГПК, поступающим на первый холодильник, причем соотношение возвращаемого потока к питающему потоку ГПК, так называемое циркуляционное отношение λ, должно находиться в диапазоне от 10 до 25. Кроме того, заявляется, что отработанный раствор из системы реакторов должен иметь остаточное содержание ГПК от 0,3 до 1,5 вес.%. Затем продукт разложения обрабатывается нагреванием в диапазоне от 80 до 110°С при трубных гидродинамических условиях для перевода ПДК, образовавшейся в блоке разложения ГПК, в фенол, ацетон и АМС.

[9]

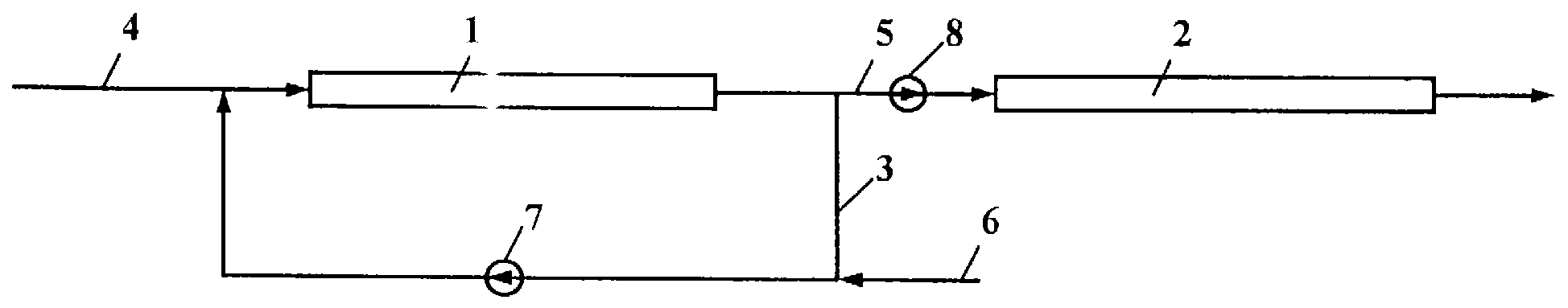
На чертеже представлена принципиальная схема такого блока разложения ГПК и ПДК, описанного в патенте США 5254751. В реакторе 1 при трубных гидродинамических условиях производят разложение ГПК. Часть продукта разложения отбирают через трубопровод 3 и после подачи по трубопроводу 6 кислоты, используемой в качестве катализатора, смешивают в трубопроводе 4 с поступающим потоком технической ГПК до подачи этой смеси в реактор 1. Другую часть продукта разложения подают по трубопроводу 5 в трубчатый реактор 2 на разложение ПДК. Циркуляционное отношение λ определяется как отношение циркулирующего потока в линии 3 до подмешивания ГПК к потоку ГПК, подаваемому по линии 4. Циркуляция продукта разложения обеспечивается циркуляционным насосом 7. Продукт разложения, который из контура циркуляции, например, выводится свободно, подают насосом 8 в последующий реактор 2 для разложения ПДК.

[10]

Благодаря использованию реакторов, имеющих трубную гидродинамическую характеристику, принципиально определяется, как уже описывалось, преимущество повышенных выходов, принимаемых по объему и времени, и, таким образом, уменьшенных объемов реакции. Но в результате требуемых больших объемов циркулирующих потоков вновь увеличивается объем этих аппаратов и, кроме того, становится необходимым наличие крупных трубопроводов и насосов для обеспечения возможности циркуляции этих потоков.

[11]

Таким образом, выдвигается задача по созданию усовершенствованного способа для кислотнокаталитического гомогенного разложения ГПК на фенол и ацетон, отличающегося наряду с высокой селективностью снижением капитальных затрат.

[12]

В соответствии с представленным изобретением эта задача решается на основании пункта 1 формулы изобретения за счет использования способа для получения фенола и ацетона методом кислотнокаталитического гомогенного разложения ГПК в блоке, имеющем один или несколько реакторов с трубной гидродинамической характеристикой для разложения ГПК, при этом часть выходящего из этих реакторов потока продукта разложения возвращается в процесс и смешивается с питающим потоком, содержащим ГПК и направляемым в блок разложения, способа, который отличается тем, что количественное отношение возвращаемого частичного потока продукта разложения к потоку, содержащему ГПК и направляемому на разложение, составляет менее 10.

[13]

Совершенно неожиданно было обнаружено, что вопреки положениям патента США 5254751 при разложении ГПК вовсе не требуется выдерживания циркуляционного отношения от 10 до 25 для обеспечения высокой селективности. Более того, было обнаружено, что в результате снижения циркуляционного отношения ниже 10, предпочтительно от 2 до 9, наиболее предпочтительно от 5 до 7, при прочих равных условиях может быть даже достигнуто повышение селективности.

[14]

Собственные исследования, проведенные в рамках настоящего изобретения, показали, что при прочих равных условиях реакции в указанном блоке разложения ГПК при увеличении циркуляционного отношения должна быть также увеличена подача используемой в качестве катализатора кислоты для того, чтобы можно было получить такое же разложение ГПК до одинаково заданных ее остаточных концентраций при одинаковом времени пребывания продуктов реакции в системе реакторов. Но наличие более кислой среды во время реакции разложения повышает, конечно, образование побочных продуктов и снижает тем самым селективность. Поэтому в соответствии с настоящим изобретением необходимо постоянно стремиться к предельно низким циркуляционным отношениям.

[15]

Как уже было упомянуто, по соображениям техники безопасности необходимо обеспечить, чтобы освобождающееся при сильной экзотермической реакции тепло могло надежно отводиться в любое время и в любой точке для предотвращения возникновения неконтролируемых состояний реакции, то есть также и в том случае, если в аварийной ситуации в блоке разложения прекратится проток. Во избежание необходимости наличия 100%-ного резерва технических компонентов с соответствующими устройствами контроля в практике предпочитают предусматривать достаточно большие площади теплообмена, надежно обеспечивающие и в аварийных ситуациях достаточно высокий отвод тепла. Поскольку при снижении циркуляционного отношения концентрация ГПК на входе в блок разложения возрастает (так как при малых циркулирующих потоках техническая ГПК оказывается менее разбавленной), то по соображениям техники безопасности становятся необходимыми и, соответственно, увеличенные поверхности теплообмена, в частности в местах высоких концентраций ГПК, то есть прежде всего на входе в блок разложения. Таким образом, снижение циркуляционного отношения обычно ограничено для предусматриваемого блока разложения в нижнем диапазоне соображениями техники безопасности. Это приводит в традиционно используемых блоках разложения, как, например, в предпочтительно используемых кожухотрубчатых теплообменниках, к тому, что в соответствии с заявленным изобретением особенно предпочтительными становятся циркуляционные отношения от 5 до 7, поскольку они являются еще достаточно простыми для их реализации с точки зрения техники безопасности. Соответствующим расчетом аппаратов при этом может быть, например, обеспечено, что даже при отсутствии протока в реакторах тепло реакции может быть отведено в окружающую среду за счет свободной конвекции в реагирующей массе или за счет других мер.

[16]

Для этого, например, первый реактор, выполненный как кожухотрубчатый аппарат, может быть установлен вертикально, при этом реагирующая масса проходит по трубному пространству через аппарат снизу вверх, и техническая ГПК дозируется внизу. В этом случае при выходе из строя контура циркуляции освободившееся тепло еще может быть в достаточной степени отведено за счет свободной конвекции. Другая возможность состоит в том, что насос, обеспечивающий циркуляцию, будет установлен с резервом, при этом, например, два циркуляционных насоса должны быть установлены параллельно и работать одновременно. При выходе из строя одного насоса циркуляция будет в достаточной степени поддерживаться другим. Далее, при нарушении работы контура циркуляции может быть подано в виде промывки достаточное количество кумола, и таким образом может быть охлаждена и разбавлена реагирующая масса. Все это меры, которые могут быть выполнены на основе современного уровня техники, они могут, конечно, для обеспечения безопасной работы на малых циркуляционных отношениях комбинироваться друг с другом.

[17]

Таким образом, могут быть выдержаны даже циркуляционные отношения менее 5 для реакторов, имеющих удельную объемную поверхность теплообмена (то есть отношение поверхности теплообмена к закрытому объему реакции) более или равную 500 м23. Но и в этих случаях реактор предпочтительно выбирается таким образом, чтобы при отсутствии протока предусматривался достаточно высокий для закрытого объема реакции коэффициент теплопередачи, обеспечивающий надежный отвод тепла.

[18]

Но дополнительно к этому преимуществу по повышению селективности и связанному с ним снижению количества остатка выявляются также и технические преимущества благодаря использованию в соответствии с изобретением режима с малыми циркуляционными отношениями. Например, при циркуляционном отношении 7 для установки получения фенола производительностью 200000 тонн в год требуется объем циркуляционного контура 530 м3/ч в то время, как при циркуляционном отношении 17 требуемый объем контура составляет 1200 м3/ч. Далее, если исходить из времени реакции разложения ГПК, технически обычно принимаемого как примерно 1 минута, то при циркуляционном отношении 7 требуется объем реакции примерно 9 м3, а при циркуляционном отношении 17 потребуются 20 м3. Таким образом, размеры оборудования для установок с меньшими циркуляционными отношениями и, соответственно, капиталовложения для них будут заметно ниже, чем для установок разложения с высокими циркуляционными отношениями.

[19]

Следующее преимущество заявленного способа состоит в том, что в результате снижения циркуляционных отношений могут быть выдержаны и более низкие остаточные концентрации ГПК в продукте разложения без того, чтобы в результате этого принудительно было ухудшено образование побочных продуктов и тем самым снижена селективность. Правда, для снижения остаточной концентрации ГПК должен быть увеличен расход кислоты, что способствует образованию побочных продуктов; но этот эффект может быть по крайней мере скомпенсирован или даже превышен при повышении селективности за счет снижения циркуляционного отношения, так что можно получить меньшие остаточные концентрации ГПК по крайней мере не за счет снижения селективности. При режиме работы с остаточной концентрацией ГПК, например, 1% или выше опасность "проскока" ГПК в последующую приемную емкость будет выше, чем при режиме с малыми остаточными концентрациями. Соответственно, затраты на выполнение требований техники безопасности для установок с высокой остаточной концентрацией ГПК в продукте разложения должны быть выше. Поэтому необходимо постоянно стремиться к наличию низких остаточных концентраций.

[20]

При помощи заявленного способа производится преимущественно разложение технической ГПК, содержащей от 65 до 90 вес.% ГПК. Остаток состоит в основном из кумола и содержит в небольшом количестве побочные продукты, образующиеся при окислении кумола.

[21]

Выбор реакторов осуществляется в зависимости от содержания ГПК в подвергаемой разложению технической ГПК с учетом требований техники безопасности таким образом, чтобы могло быть реализовано по возможности минимальное циркуляционное отношение. Как правило, блок для разложения ГПК включает в себя в соответствии с заявленным изобретением один или несколько последовательно включенных реакторов, имеющих трубную гидродинамическую характеристику, предпочтительно кожухотрубчатые теплообменники, при этом реагирующая смесь или проходит по трубному пространству, что является предпочтительным, или по межтрубному. Кроме того, используемые по заявленному изобретению реакторы являются пластинчатыми и спиральновитыми теплообменниками, которые также имеют трубную гидродинамическую характеристику. Особенно для малых циркуляционных отношений, но не только для них предпочтительно использование реакторов с трубной гидродинамической характеристикой и удельной объемной поверхностью теплопередачи 500 м23.

[22]

За последним реактором отбирается часть потока продукта разложения, которая возвращается в процесс и объединяется до первого реактора или в нем - в зависимости от схемы прохождения - с питающим потоком ГПК, подаваемым на разложение. Смешение производится преимущественно перед входом в первый реактор. Используемая в качестве катализатора кислота вводится преимущественно в рефлюксную часть потока продукта разложения до ее объединения с питающим потоком свежей технической ГПК. Предпочтительно подают и растворяют в реагирующей смеси такое количество кислоты, чтобы остаточная концентрация ГПК в продукте разложения составляла от 0,1 до 1,5 вес.%, преимущественно от 0,1 до 0,3 вес.%. Обычно для этого требуется подача в реагирующую смесь кислоты с концентрацией от 50 до 500 миллионных весовых долей. В соответствии с заявленным изобретением реакция разложения производится преимущественно в блоке, содержащем от 3 до 6 последовательно включенных охлаждаемых кожухотрубчатых теплообменников. Разбавляемая рефлюксом продукта разложения техническая ГПК проходит по трубному или межтрубному пространству. При прохождении через межтрубное пространство за счет установки обводных или продольных перегородок можно улучшить переменный характер течения. При прохождении по трубному пространству могут быть использованы и многоходовые аппараты. Гомогенное разложение производится преимущественно при температурах от 45 до 75°С и абсолютном давлении от 1 до 5 бар. Далее, может оказывать положительное влияние подача в реагирующую смесь дополнительно к кислоте небольшого количества воды, преимущественно от 0,3 до 1 вес.%. Эта подача воды производится предпочтительно также в рефлюксный поток продукта разложения, в случае необходимости совместно с кислотой. Охлаждение кожухотрубчатых теплообменников для отвода тепла реакции осуществляется преимущественно водой. Время пребывания реагирующей смеси в блоке разложения ГПК составляет, как правило, от 0,5 до 10 минут.

[23]

При соответствующем расчете обычной аппаратуры по заявленному изобретению без каких-либо сомнений по вопросам техники безопасности могут быть приняты преимущественные циркуляционные отношения рефлюксного потока к питающему потоку технической ГПК в диапазоне от 5 до 7. Наряду с экономией затрат на аппаратуру и эксплуатацию таким образом может быть достигнуто повышение выхода кумола примерно на 0,5% или более, которые с учетом годового мирового получения фенола на уровне примерно 7 миллионов тонн означали бы существенное повышение экономичности производства.

[24]

Не возвращаемая в процесс часть продукта разложения ГПК выводится, как это описано, например, в патенте США 5254751, в специальный блок или хотя бы в отдельный трубчатый реактор, где уже известным способом перед дальнейшей подготовкой потока для получения фенола и ацетона производится разложение ПДК.

[25]

Заявленный способ поясняется более подробно приведенными ниже примерами, которые его использование никоим образом не ограничивают.

[26]

Пример 1 (сравнительный)

[27]

На аппаратуре, предназначенной для выполнения реакции разложения, имеющей принципиальную конструкцию в соответствии с фиг.1, проводят реакцию разложения технической ГПК с концентрацией ГПК 67 вес.% до ее остаточной концентрации в продукте разложения 1,0 вес.%. При этом выдерживают циркуляционное отношение λ, равное 17. Соответственно, согласована подача серной кислоты, используемой в качестве катализатора.

[28]

В качестве реакторов разложения ГПК используют три последовательно включенных кожухотрубчатых теплообменника (реактор 1, фиг.1), температура реакции составляет 50°С. Абсолютное давление реакции составляет 1 бар.

[29]

Полученный продукт разложения ГПК содержит 0,21 вес.% высококипящих (в основном полимеризованный АМС и кумилфенолы). После разложения ГПК производится разложение ПДК.

[30]

Пример 2 (соответствующий заявленному изобретению)

[31]

Разложение ГПК по примеру 1 производится при прочих равных условиях с циркуляционным отношением 7, за счет согласования расхода кислоты устанавливают остаточную концентрацию ГПК в продукте разложения 0,25 вес.%. Продукт разложения содержит также 0,21 вес.% высококипящих.

[32]

Несмотря на сниженную остаточную концентрацию ГПК, которая в примере 1 может быть получена только в результате увеличенного расхода кислоты, положительно влияющего на образование побочных продуктов, в этом примере достигают в результате снижения циркуляционного отношения такой же селективности, как и в сравнительном примере 1. Реакторы разложения и трубопроводы могли бы иметь меньшие размеры. К тому же пониженное остаточное содержание ГПК дает преимущества с точки зрения техники безопасности для последующих блоков установки.

[33]

Пример 3 (соответствующий заявленному изобретению)

[34]

Разложение ГПК по примеру 1 производят при прочих равных условиях, включая и остаточную концентрацию ГПК в продукте разложения, равную 1 вес.%, с циркуляционным отношением 7. Доля высококипящих в продукте разложения составляет 0,16 вес.%. В результате снижения циркуляционного отношения была заметно повышена по сравнению с примером 1 селективность. Сравнение с примером 2 показывает, что за счет повышения остаточной концентрации ГПК при низком циркуляционном отношении может быть повышена селективность.

[35]

Примеры 4-8 (соответствующие заявленному изобретению)

[36]

Разложение ГПК по примеру 1 производится при прочих равных условиях при различных циркуляционных отношениях таким образом, что в продукте разложения при согласованном расходе кислоты постоянно выдерживается остаточная концентрация ГПК 0,25 вес.%. Далее, содержание высококипящих в продукте разложения определяется, соответственно, в зависимости от циркуляционного отношения.

[37]

Результаты представлены в таблице.

[38]

Таблица. Концентрация высококипящих при различных циркуляционных отношениях при постоянной остаточной концентрации ГПК

[39]

Пример45678
Циркуляционное отношение98765
Концентрация высококипящих (%)0,250,230,210,190,17

[40]

Четко показано, что при постоянной остаточной концентрации ГПК, но при пониженном циркуляционном отношении снижается образование высококипящих, то есть таким образом повышается селективность.

[41]

Пример 9

[42]

На аппаратуре, предназначенной для выполнения реакции разложения, имеющей принципиальную конструкцию в соответствии с патентом США 4358618, проводят реакцию разложения технической ГПК с концентрацией ГПК 67 вес.% сначала в аппарате идеального смешения при 50°С до ее остаточной концентрации 2,75 вес.%, а затем в трубчатом реакторе при 50°С до ее остаточной концентрации 0,2 вес.%. Продукт разложения содержит 0,20 вес.% высококипящих.

[43]

Как показывают примеры с 4 по 8, при использовании заявленного изобретения достигают повышенной селективности.

Как компенсировать расходы
на инновационную разработку
Похожие патенты