патент
№ RU 2258586
МПК B23G5/12

РЕЗЬБОНАКАТНАЯ ГОЛОВКА

Авторы:
Богачук Н.В.
Номер заявки
2004123240/02
Дата подачи заявки
29.07.2004
Опубликовано
20.08.2005
Страна
RU
Как управлять
интеллектуальной собственностью
Чертежи 
6
Реферат

[32]

Изобретение относится к машиностроению, в частности к устройствам для получения многозаходной резьбы с большим углом подъема. Сущность изобретения заключается в том, что резьбонакатная головка снабжена закрепленными на концах каждой эксцентриковой оси параболическими опорами. Одна опора вмонтирована в крышку, а другая - в кольцо. Кроме того, резьбонакатная головка снабжена Т-образными крестовинами с закругленными торцами. При этом на конце каждой эксцентриковой оси, соединенной с кольцом, выполнен паз, в который вставлен один торец крестовины, а другой введен в гнездо зубчатого колеса. Технический результат изобретения состоит в повышении эффективности работы резьбонакатной головки. 7 ил.

Формула изобретения

Резьбонакатная головка, включающая размещенные в корпусе крышку и кольцо, установленные на эксцентриковых осях резьбонакатные ролики с кольцевыми профильными витками и зубчатые колеса, отличающаяся тем, что она снабжена закрепленными на концах каждой эксцентриковой оси параболическими опорами, одна из которых вмонтирована в крышку, а другая - в кольцо, и Т-образными крестовинами с закругленными торцами, при этом на конце каждой эксцентриковой оси, соединенной с кольцом, выполнен паз, в который вставлен один торец крестовины, а другой введен в гнездо зубчатого колеса.

Описание

[1]

Изобретение относится к технологии машиностроения, в частности к устройствам для получения многозаходной резьбы с большим углом подъема.

[2]

Известна резьбонакатная головка, включающая размещенные в корпусе переднюю и заднюю крышки, упорные ролики, размещенные в пазах корпуса, накатные ролики, смонтированные на эксцентриковых осях и охватывающей корпус державке (см. патент РФ №2098213, кл. В 21 Н 3/04, 1997).

[3]

Недостатком этого устройства является низкая надежность работы.

[4]

Наиболее близкой к предлагаемому изобретению является резьбонакатная головка, включающая размещенные в корпусе крышку и кольцо, установленные на эксцентриковых осях резьбонакатные ролики с кольцевыми профильными витками и зубчатые колеса (см. Т.А.Султанов. Резьбонакатные головки. Машиностроение, 1966, с. 106).

[5]

Эта резьбонакатная головка состоит из хвостовика, на котором установлены корпус и кольцо, закрепленное на корпусе колонками. Между кольцом и крышкой надеваются проставочные втулки, а также между кольцом и крышкой находятся эксцентриковые оси, которые располагаются в отверстие кольца и крышки под углом, приблизительно равным углу подъема накатываемых резьб.

[6]

На кольце и крышке выполнены скосы совместно с отверстием под одним и тем же углом, что усложняет технологию изготовления этих деталей под большим углом. На эксцентриковые оси надеваются резьбонакатные ролики, имеющие на наружной поверхности кольцевые профильные витки. Между эксцентриковыми осями и резьбонакатными роликами засыпаются игольчатые ролики. На задней цилиндрической ступице эксцентриковых осей установлены шестерни, которые находятся в зацеплении с зубчатым венцом хвостовика. Раскрывающий механизм резьбонакатной головки скомбинирован из двух коленообразных пазов, выполненных в хвостовике и корпусе, в которых помещены пальцы и ролики. Пальцы установлены в отверстиях кольца включения и сердечника, в котором размещен упорный винт, закрепленный контргайкой.

[7]

Однако данное устройство имеет низкую надежность и ограниченные технологические возможности, т.к. резьбонакатные ролики, установленные на эксцентриковых осях, не способны охватить большие углы подъема резьбы из-за небольших величин скосов и отверстий под цапфы осей. Кроме того, невозможно конструктивно расположить зубчатые шестерни на ступице эксцентриковых осей из-за большого угла подъема резьбы. При накатывании многозаходных и с крупным шагом резьб с малыми диаметрами возникают большие радиальные и тангенциальные усилия, способствующие выработке на трущихся поверхностных осях, что влечет за собой изменение диаметра изделия. Детали механизма раскрытия не выдерживают усилия, выходят из строя.

[8]

Предлагаемым изобретением решается задача повышения эффективности работы резьбонакатной головки. Техническим результатом является повышение надежности и расширение технологических возможностей за счет охвата больших углов подъема резьбы.

[9]

Технический результат достигается в резьбонакатной головке, включающей размещенные в корпусе крышку и кольцо, установленные на эксцентриковых осях резьбонакатные ролики с кольцевыми профильными витками и зубчатые колеса, закрепленные на концах каждой эксцентриковой оси параболические опоры, одна из которых вмонтирована в крышку, а другая - в кольцо, -образные крестовины с закругленными торцами, при этом на конце каждой эксцентриковой оси, соединенной с кольцом, выполнен паз, в который вставлен один торец крестовины, а другой введен в гнездо зубчатого колеса.

[10]

Отличительными признаками предлагаемого устройства являются параболические опоры и крестовины. Параболические опоры и крестовины способствуют повороту эксцентриковых осей на большие углы охвата при резьбонакатке (подъем резьбы на изделиях), выдерживают большие радиальные и тангенциальные нагрузки при резьбонакатывании.

[11]

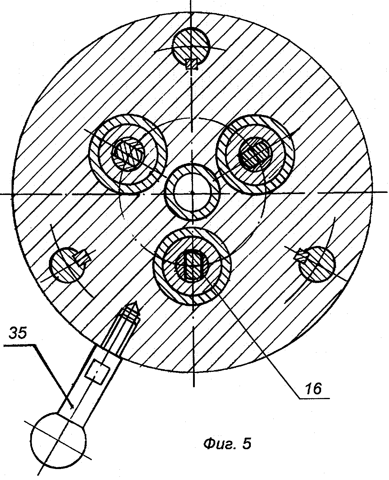
Предлагаемое устройство поясняется чертежами, где на фиг.1 представлен общий вид резьбонакатной головки, на фиг.2 - сечение А-А фиг.1, на фиг.3 - виды крестовины справа, слева и снизу и ее соединение, на фиг.4 - вид Б фиг.1, на фиг.5 - сечение В-В фиг.1, на фиг.6 - сечение Г-Г фиг.1, на фиг.7 - схема расположения эксцентриковых осей с резьбонакатными роликами при повороте крышки относительно изделия.

[12]

Резьбонакатная головка состоит из резьбонакатных роликов 1, свободно сидящих на средней части эксцентриковых осей 2. Между роликами 1 и осями 2 расположены игольчатые ролики 3. Между роликами 3 и специальными шайбами 4 находятся проставочные кольца 5.

[13]

От осевого перемещения резьбонакатные ролики 1 удерживаются шайбами 4. На концах эксцентриковых осей 2 установлены параболические опоры 6 и 7. Опоры 6 вмонтированы в крышку 8, а опоры 7 - в кольцо 9 корпуса 10. Крестовины 11 выполнены -образной формы, т.е. в виде двух перпендикулярных направляющих поверхностей 12 и 13 с закругленными торцами 14 и 15. Направляющая поверхность 12 крестовины 11 параллельна эксцентриковым осям 2, а направляющая поверхность 13 перпендикулярна осям 2. Торцы 14 и 15 выполнены с образованием радиусных поверхностей с радиусами R и R1 (D=2R, D1=2R1). Закругленная поверхность торцов может быть полусферической или частью сферы. Место соединения направляющих поверхностей 12 и 13 выполнено с закруглением по радиусу r. Количество эксцентриковых осей 2 соответствует количеству крестовин 11.

[14]

На конце каждой эксцентриковой оси 2, соединенной с кольцом 9, выполнен паз 16, в который вставлен торец 15 крестовины 11. Торец 14 крестовины 11 введен в гнездо зубчатого колеса 17. Такое соединение создает условие для плавного взаимного перемещения осей 2, сидящих на параболических опорах 6 и 7, и зубчатых колес 17.

[15]

На средней части эксцентриковых осей 2 расположены резьбонакатные ролики 1, игольчатые ролики 3, проставочные кольца 5 и специальные шайбы 4. Зубчатые колеса 17 свободно посажены на оси 18, которые запрессованы в сердечник 19. Зубчатые колеса 17 имеют зацепление с центральным зубчатым колесом 20.

[16]

Крышка 8 снабжена тремя выступами 21 с расфрезерованными дугообразными пазами 22. Колонки 23 выполнены ступенчатыми с разными диаметрами ступеней, при этом один конец колонки 23 введен в паз 22, а другой стягивающими винтами 24 закрепляет между собой сердечник 19 и кольцо 9. Регулирование угла установки резьбонакатных роликов 1 относительно оси изделия осуществляется освобождением стягивающих винтов 24, расположенных в дугообразных пазах 22 крышки 8, с поворотом крышки 8 регулировочными винтами 25 на угол, который необходим для данного изделия. На торце одного из выступов 21 крышки 8 имеется шкала с нанесенными 20 рисками по обе стороны от нулевого деления. Цена деления шкалы 1°.

[17]

Торцы регулировочных винтов 25 при ввертывании и отвертывании упираются в колонки 23, изменяя по дугообразным пазам 22 положение крышки 8 на углы ϕ1 и ϕ2, в которую вмонтированы параболические опоры 6 эксцентриковых осей 2 с резьбонакатными роликами 1, относительно кольца 9, в которое вмонтированы параболические опоры 7, тем самым изменяя угол подъема резьбы ω1 и ω2 резьбонакатных роликов 1 относительно изделия.

[18]

Колонки 23 находятся на одном расстоянии от центра головки, что дает возможность при изменении угловых параметров эксцентриковых осей с резьбонакатными роликами 1 располагаться в плоскостях, параллельных осевой составляющей изделия.

[19]

Механизм раскрытия резьбонакатной головки в конце рабочего хода состоит из ползуна 26, который вставлен в паз 27 корпуса 10 и закреплен с корпусом 10 направляющим пальцем 28, на который надевается пружина 29. На цилиндрическом участке ползуна 26 свободно посажен ролик обкатной 30, который входит в сердечник 19. Корпус 10 соединяется с центральным зубчатым колесом 20 болтом 31 через проставочную шайбу 32.

[20]

Раскрытие резьбонакатной головки в конце рабочего хода осуществляется следующим образом: при достижении упора, который закрепляется на станине силового вращателя, ползун 26 останавливается, а резьбонакатная головка продолжает движение вдоль оси изделия до выхода обкатного ролика 30 из сердечника 19 и при помощи двух пружин 33, один конец которых соединен винтами 34 с сердечником 19, а другой с корпусом 10. Вся накатывающая часть поворачивается относительно корпуса 10 и центрального зубчатого колеса 20, зубчатые колеса 17 обкатываются по зубчатому венцу центрального зубчатого колеса 20, повернув синхронно эксцентриковые оси 2, на которых находятся резьбонакатные ролики 1. Резьбонакатная головка раскрылась и ее можно свободно вывести без свинчивания в исходное положение при помощи ускоренной подачи суппорта станка. Закрытие резьбонакатной головки в рабочее положение осуществляется рукояткой 35, завернутой в резьбовое гнездо кольца 9.

[21]

Механизм регулировки на нужный диаметр накатываемой резьбы осуществляется поворотом центрального колеса зубчатого 20 при помощи упорных винтов 36, ввернутых в резьбовые гнезда корпуса 10. При освобождении крепежных болтов 31 и повороте центрального зубчатого колеса 20 в одну или другую сторону относительно корпуса 10 упорными винтами 36, контактирующими с винтом 37, завернутым в центральное зубчатое колесо 20, поворачиваются зубчатые колеса 17 и эксцентриковые оси 2, на которых расположены ролики резьбонакатные 1, приближая или удаляя их от центра резьбонакатной головки.

[22]

Крепление резьбонакатной головки к приспособлению для установки резьб головки осуществляется болтами, завернутыми в резьбовые гнезда корпуса 10.

[23]

Приспособление для установки резьб головки в свою очередь устанавливается на силовой вращатель, например токарновинторезный станок. Резьбонакатная головка конструктивно имеет большой диапазон накатываемых резьб.

[24]

Резьбонакатная головка работает следующим образом.

[25]

Резьбонакатные ролики 1 устанавливаются под наибольшим углом скрещивания, что позволяет значительно снизить усилие захвата заготовки.

[26]

Резьбонакатные ролики 1 в условии воздействия сил трения с изделием (заготовкой) начинают движение вперед, перемещаясь за один оборот изделия на величину, равную образующемуся на нем шагу резьбы. Шаг резьбы, образованный на изделии, может регулироваться винтами 25 крышки 8 колонок 23 относительно кольца 9 с большой точностью. Таким образом, резьбонакатные ролики 1 и связанные с ними детали - эксцентриковые оси 2, параболические опоры 6 и 7, крышка 8, кольцо 9 и корпус 10 получают осевое перемещение, равное шагу резьбы с учетом класса точности посредством силового вращателя.

[27]

При достижении заданной длины резьбы ползун 26 останавливается, а резьбонакатная головка продолжает движение вдоль оси изделия до выхода ролика 30 из сердечника 19 и при помощи 2-х пружин 33, один конец которых соединен винтами 34 с сердечником 19, а другой с корпусом 10. Зубчатые колеса 7 обкатываются по центральному зубчатому колесу 20, повернув синхронно эксцентриковые оси 2, на которых находятся резьбонакатные ролики 1.

[28]

Резьбонакатная часть головки раскрылась и ее можно свободно вывести без свинчивания в исходное положение ускоренной подачей силового вращателя.

[29]

Закрытие резьбонакатной головки в рабочее положение осуществляется рукояткой 35, завернутой в резьбовое гнездо кольца 9.

[30]

Параболические опоры 6 и 7 и крестовины 11 способствуют повороту накатывающей части на большие углы подъема резьбы и корректировки шага с учетом класса точности резьбы.

[31]

Резьбонакатная часть головки и корпус 10 с центральным зубчатым колесом 20 посредством силового вращателя получают осевое перемещение в первый момент принудительно, а дальше - самозатягиванием на величину, равную шагу резьбы.

Как компенсировать расходы
на инновационную разработку
Похожие патенты