патент
№ RU 2256595
МПК B65D88/52

РАЗБОРНЫЙ КОНТЕЙНЕР ДЛЯ ТРАНСПОРТИРОВАНИЯ И ХРАНЕНИЯ ДЛИННОМЕРНЫХ ГРУЗОВ, ПРЕИМУЩЕСТВЕННО ПИЛОМАТЕРИАЛОВ

Авторы:
Храмых Г.И.
Правообладатель:
Номер заявки
2003114191/12
Дата подачи заявки
14.05.2003
Опубликовано
20.07.2005
Страна
RU
Как управлять
интеллектуальной собственностью
Чертежи 
4
Реферат

[21]

Изобретение относится к контейнерам для перевозки длинномерных грузов с возможностью штабелирования при хранении, преимущественно для пиломатериалов. Контейнер содержит четыре жестких хомута с грузозахватными элементами, два из которых снабжены торцевой стенкой, а два других расположены в продольном направлении на равных расстояниях друг от друга и каждый из них выполнен из двух горизонталей, опирающихся на две вертикали, между которыми расположены пластины, скрепленные между собой и соединяющие торцовые стенки друг с другом. Обвязка хомута с внешней стороны выполнена из профилированного материала, горизонтали и вертикали которой соединены между собой двумя болтовыми соединениями по ширине профильного материала, а крайние поверхности с торцов имеют отверстия для крепления контейнеров друг с другом. Обвязка хомута с внутренней стороны контейнера выполнена из дерева аналогично обвязке с внешней стороны. Эти обвязки скрепляют между собой пластины, соединяющие торцовые поверхности контейнера равномерно по всему поперечному периметру, а хомуты расположены равномерно в продольном направлении. Отношение высоты и ширины контейнера может быть равно единице. Конструкция контейнера позволяет осуществлять перевозку длинномерных грузов, сохраняя их от механических повреждений и воздействия внешних условий. Кроме того, конструкция прочна, проста и позволяет устанавливать контейнеры в несколько рядов при транспортировании и хранении. 7 з.п. ф-лы, 5 ил, 7 з.п. ф-лы.

[22]

Формула изобретения

1. Разборный контейнер для хранения и транспортирования длинномерных грузов, преимущественно пиломатериалов, содержащий два жестких прямоугольных хомута, которые снабжены торцевой стенкой и грузозахватными элементами, отличающийся тем, что дополнительно содержит хомуты с грузозахватными элементами, расположенные в продольном направлении на равных расстояниях друг от друга, каждый из которых выполнен из обвязки с внешней и с внутренней сторон контейнера, состоящей из двух горизонталей, опирающихся на две вертикали, между которыми расположены пластины, скрепленные между собой и соединяющие торцовые стенки друг с другом.

2. Разборный контейнер для хранения и транспортирования длинномерных грузов, преимущественно пиломатериалов, по п.1, отличающийся тем, что торцовые стенки содержат по одному отверстию каждая, расположенные диагонально противоположно друг другу.

3. Разборный контейнер для хранения и транспортирования длинномерных грузов, преимущественно пиломатериалов, по п.1, отличающийся тем, что обвязка с внешней стороны контейнера выполнена из профильного материала, обращенного наружу.

4. Разборный контейнер для хранения и транспортирования длинномерных грузов, преимущественно пиломатериалов, по п.1, отличающийся тем, что обвязка с внутренней стороны выполнена из дерева.

5. Разборный контейнер для хранения и транспортирования длинномерных грузов, преимущественно пиломатериалов, по п.1, отличающийся тем, что горизонтали и вертикали обвязки с внешней стороны контейнера скреплены между собой двумя болтовыми соединениями по ширине профильного материала.

6. Разборный контейнер для хранения и транспортирования длинномерных грузов, преимущественно пиломатериалов, по п.1, отличающийся тем, что обвязки хомутов с внешней и внутренней сторон контейнера равномерно скреплены между собой по всему поперечному периметру.

7. Разборный контейнер для хранения и транспортирования длинномерных грузов, преимущественно пиломатериалов, по п.1, отличающийся тем, что на хомутах, расположенных на торцах, по всему поперечному периметру внешней обвязки расположены отверстия для сочленения двух и более контейнеров между собой.

8. Разборный контейнер для транспортирования и хранения длинномерных грузов, преимущественно пиломатериалов, по п.1, отличающийся тем, что отношение высоты и ширины контейнера равно единице.

Описание

[1]

Изобретение относится к контейнерам для перевозки длинномерных грузов с возможностью штабелирования при хранении, преимущественно для пиломатериалов, а также в качестве комплекта усадебного дома.

[2]

Известен контейнер для пакетирования длинномерных грузов (по а.с. № 370153, МПК В 65 J 1/02 от 29.03.1971, опубл. 15.02.1973 г., БИ № 11), содержащий два жестких прямоугольных хомута, каждый из которых снабжен консольной торцевой стенкой, выполненной в виде скобы, шарнирно закрепленной на внутренней стороне противолежащих стержней хомута.

[3]

К недостаткам данного устройства относится недостаточная защита от механических повреждений не только торцов, но и всего груза, возможность перевозить только пакеты одинакового типоразмера. Устройство не обладает защитой от атмосферных условий.

[4]

Наиболее близким по технической сущности к предлагаемому устройству является конструкция контейнера для пакетов длинномерных грузов (по а.с. № 789338, B 65 D 90/02 от 05.03.1976, опубл. 23.12.1980 г., БИ №47), содержащего два жестких прямоугольных хомута, каждый из которых снабжен торцевой стенкой, выполненной в виде рамы и связанной с хомутом четырьмя двухшарнирными звеньями, установленными попарно на вертикальных стержнях торцевой стенки и взаимодействующими с упорами, расположенными на хомуте.

[5]

В данном устройстве защита от механических повреждений осуществляется только с торцов, а по длине ее нет, как нет и защиты от атмосферных воздействий и недостаточна жесткость по длине контейнера. Данная конструкция усложнена хомутами, которые удалены от торцевых стенок, поэтому возникает необходимость их шарнирно связывать звеньями, которые между собой связаны гибкими связями. Наличие шарнирных соединений, которые при использовании срабатываются, и других соединений усложняет конструкцию и не обладает требуемой жесткостью, необходимой при складировании и хранении. Данная конструкция не позволяет транспортировать пиломатериал различных типоразмеров и нет возможности складывать грузы в несколько рядов.

[6]

В основу изобретения положена задача создания контейнера для перевозки длинномерных грузов с предотвращением от механических повреждений груза и защитой от атмосферных воздействий с возможностью штабелирования при хранении путем создания жесткости конструкции в продольном и поперечном направлениях контейнера.

[7]

Поставленная задача решается тем, что разборный контейнер для хранения и транспортирования длинномерных грузов, преимущественно пиломатериалов, содержит четыре жестких прямоугольных хомута с грузозахватными элементами, два из которых снабжены торцевой стенкой, а два других расположены в продольном направлении на равных расстояниях друг от друга, каждый из которых выполнен из двух горизонталей, опирающихся на две вертикали, между которыми расположены пластины, скрепленные между собой и соединяющие торцовые стенки друг с другом. Обвязка хомута с внешней стороны выполнена из профилированного материала, горизонтали и вертикали которой между собой соединены двумя болтовыми соединениями по ширине профильного материала, а крайние поверхности с торцов имеют отверстия для крепления контейнеров друг с другом. Обвязка хомута с внутренней стороны контейнера выполнена из дерева аналогично обвязке с внешней стороны. Эти обвязки скрепляют между собой пластины, соединяющие торцевые поверхности контейнера равномерно по всему поперечному периметру, а хомуты расположены равномерно в продольном направлении контейнера, при этом отношение высоты и ширины контейнера может быть равно единице.

[8]

Внешняя обвязка из швеллеров и внутренняя из дерева хомута соединяются между собой через равномерные промежутки, задавая ему форму в виде прямоугольника или квадрата и обеспечивая прочность соединения в поперечном сечении. Набор досок, скрепленных между собой, образует нижнюю, верхнюю и две боковые стенки контейнера, обеспечивает соединение торцевых стенок и жесткость в поперечном и продольном направлении. Расположение обвязок в продольном направлении через равные расстояния обеспечивает равномерное распределение нагрузки в продольном направлении, т.е. по горизонтали. Все вертикальные элементы внешней и внутренней обвязок работают на прочность, т.к. горизонтальные элементы опираются на вертикальные, поэтому горизонтальные элементы двух обвязок длиннее вертикальных. Жесткость соединения внешней обвязки усиливается креплением горизонталей и вертикалей между собой при помощи двух болтов по ширине швеллера. Внешняя обвязка каждого хомута содержит проушины в каждом швеллере, расположенном на верхней стенке не только на торцах, но и равномерно по длине контейнера, что позволяет по-разному закреплять стропы при загрузке и разгрузке контейнера, обеспечивая удобство при эксплуатации. На торцовых поверхностях внешней обвязки в поперечном сечении имеются отверстия для соединения контейнеров между собой по длине, что дает возможность различной компановки контейнера при транспортировке и хранении как в длину, так и ширину.

[9]

Торцевые стенки образуются вертикальным расположением досок, обеспечивая также прочность по вертикали, что позволяет устранить перекосы при сборке и эксплуатации, усиливая жесткость в поперечном сечении и в целом конструкции контейнера.

[10]

На каждой торцевой стенке расположено отверстие, которые диагонально противоположны друг другу, и предназначены для вентиляции. Это дает возможность перевозить грузы, к которым предъявляются повышенные требования к воздействию окружающей среды.

[11]

Все элементы контейнера без отходов используются в дальнейшем в строительстве, например, усадебного дома, что исключает порожние перевозки транспорта. Данная конструкция контейнера позволяет транспортировать пиломатериал различного размера, предохраняет его от механических повреждений и атмосферных воздействий, что повышает удобство при эксплуатации контейнера, а при хранении позволяет штабелировать грузы.

[12]

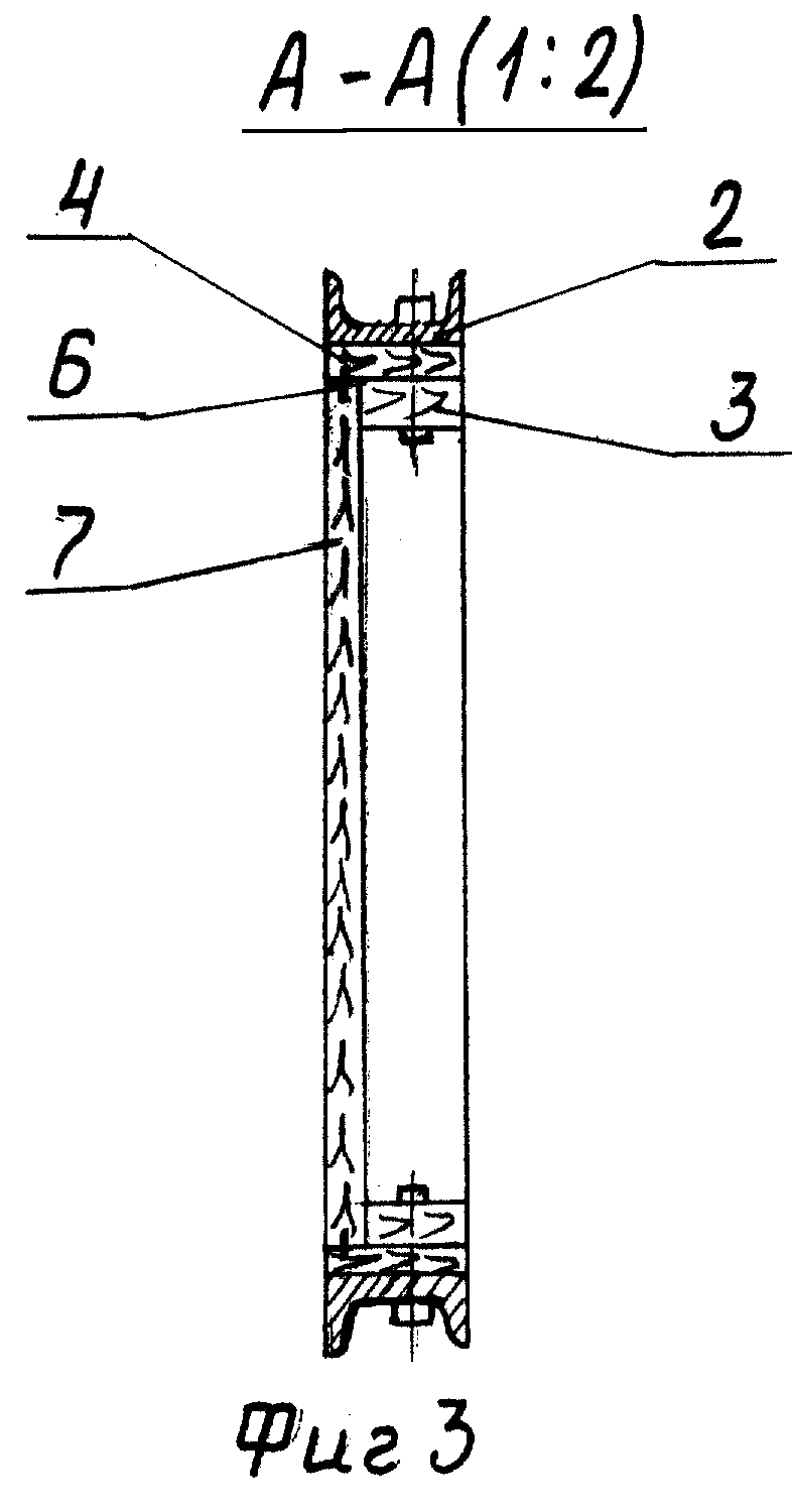
На фиг.1 изображен предлагаемый контейнер, общий вид; на фиг.2 - то же, вид сверху; на фиг.3 - разрез А-А, соединение обвязок хомута с внешней и внутренней стороны контейнера с торцовой стенкой; на фиг.4 - то же, вид сбоку, без торцовой стенки (или поперечное сечение контейнера); на фиг.5 - соединение горизонтальных и вертикальных элементов обвязки хомута с внешней стороны контейнера.

[13]

Разборный контейнер содержит хомуты 1, состоящие из двух обвязок внешней 2 и внутренней 3 (фиг.4), каждая из которых содержит две горизонтали и две вертикали. Между внешней и внутренней обвязками расположены пластины 4, скрепленные между собой при помощи шпонки и соединяющие торцовые стенки друг с другом (фиг.1 и 4). Горизонтали и вертикали обвязки хомута с внешней стороны контейнера скреплены между собой двумя болтовыми соединениями по ширине профильного материала (фиг.5). Обвязки равномерно скреплены болтовыми соединениями 5 по всему поперечному периметру контейнера (фиг.4). Хомуты расположены равномерно в продольном направлении контейнера (фиг.1). Пластины верхней, нижней и боковых стенок с торцов имеют паз 6 по всему поперечному периметру для соединения с торцовыми стенками 7 (фиг.1 и 3).

[14]

Контейнер собирают следующим образом. Каждую стенку можно собирать отдельно, т.е. нижнюю, верхнюю, две боковые и две торцовые или сразу все вместе. В поперечном сечении контейнера укладываются металлические швеллера, обращенные наружно, на которые в продольном направлении укладываются доски длиной 6 м (фиг.1), скрепляемые между собой при помощи шпонки. Затем по направлению металлических швеллеров укладываются деревянные бруски, и все это фиксируется между собой равномерно при помощи болтовых соединений. Бруски образуют внутреннюю обвязку хомута, а швеллера - наружную обвязку. Хомуты располагаются с торцов и через равные промежутки по длине контейнера. Таких хомутов бывает как минимум четыре, в зависимости от загруженности контейнера. Таким образом, образована стеновая панель, по периметру которой расположен паз, т.е. углубление для шпоночного соединения с досками сопрягаемых стенок (фиг.3). Затем к внешней обвязке из швеллеров присоединяются вертикальные швеллера (фиг.3), имеющих коробчатую форму, торцовая поверхность которых упирается в основание горизонтального швеллера и скрепляется с ним при помощи двух болтов, располагаемых по ширине. Затем крепится в продольном направлении обшивка из досок длиной 6 м, скрепленных между собой с помощью шпонки и зафиксированных с наружной и с внутренней стороны контейнера швеллерами и брусками соответственно, которые с наружной стороны контейнера прошиваются равномерно болтовыми соединениями насквозь.

[15]

Таким образом, образуются две боковые стенки контейнера. Аналогично собирается и верхняя стеновая пенель со швеллерами, которые ложатся на вертикальные швеллера коробчатого типа, чем обеспечивается прочность в вертикальном направлении. В последнюю очередь крепятся торцевые стенки контейнера, которые могут быть, а могут и вообще отсутствовать, в зависимости от типа наполняемого материала. Если это пиломатериалы одного типоразмера, то они не нужны, а если комплектность различная, то они легко устанавливаются.

[16]

Торцовые стенки представляют набор досок, соединенных между собой шпонкой и вертикально установленных и присоединенных гвоздями к внутренней обвязке хомута, ограничивающей торцевые поверхности.

[17]

Каждая торцевая поверхность имеет отверстие размером (300 на 300) мм, диагонально противоположно расположенных друг другу и предназначенных для вентиляции, что обеспечивает транспортировку деревянных конструкций, к которым предъявляются высокие требования от атмосферных условий и также защите от механических воздействий.

[18]

Поперечная обвязка из швеллеров, обращенных наружно, позволяет обеспечить захват вилочным погрузчиком, а сверху, имея проушины, обеспечивается возможность закрепления строповочных элементов в различных местах. Это повышает удобство при загрузке и разгрузке. Через торцовые стенки может производиться загрузка и выгрузка контейнера, а доски торцовых стенок могут служить подсобным средством, которые укладываются внутрь швеллера для удобства при установке контейнеров в несколько рядов при хранении или интермодальных перевозках. Обшивка досками длиной 6 м., т.е. в продольном направлении контейнера с равномерно расположенными хомутами, и наличие торцовых стенок позволяют создать необходимую жесткость, что предохраняет груз от механических повреждений и защищают от атмосферных воздействий.

[19]

Контейнер имеет размеры (2500×2500×6000) мм и может вмещать комплект усадебного жилого дома. Размеры контейнера в зависимости от необходимости могут быть увеличены по длине не более чем на 500 мм. Грузоподъемность контейнера составляет 24 т. Квадратное поперечное сечение позволяет оптимально заполнить пространство при хранении и интермодальных перевозках. У контейнера нет выступающих элементов, поэтому при хранении и транспортировке возможна различная компановка. В торцовых стенках обвязки с внешней стороны контейнера выполнены отверстия для присоединения контейнера аналогичной конструкции с увеличением длины, что также важно при хранении и транспортировке. Контейнер может быть укомплектован пиломатериалом как одного, так и различного типоразмера. Контейнер предназначен для одноразового использования, что исключает порожние перевозки.

[20]

Предлагаемая конструкция контейнера проста, не трудоемка при сборке, позволяет собирать его непосредственно на месте, при этом возможна сборка стенок заранее. Она обладает прочностью, позволяет устанавливать контейнера в несколько рядов при транспортировании и хранении, а также перевозить пиломатериал различных типоразмеров, сохраняя груз от воздействия внешних условий и механических повреждений.

Как компенсировать расходы
на инновационную разработку
Похожие патенты