Полезная модель относится к устройствам для зажима деталей. Тиски пневматические содержат корпус, губки, пневмопривод, содержащий поршень, установленный в пневматической камере, и шток поршня, боковые стороны подвижной губки соединены штифтом, выполненным с возможностью его движения в наклонном направляющем пазу, причем тиски содержат дополнительный шток, выполненный вертикальным, шток поршня выполнен горизонтальным в виде вилки, охватывающей нижнюю часть вертикального штока, концы вилки соединены нижним штифтом, установленным в нижнем наклонном пазу вертикального штока, угол наклона нижнего паза к горизонтали составляет 8°, штифт, установленный внутри подвижной губки и соединяющий ее боковые стороны, является верхним штифтом и установлен в верхнем наклонном пазу вертикального штока, верхняя часть вертикального штока расположена внутри полой подвижной губки с возможностью взаимодействия с ней, пневматическая камера выполнена с входным отверстием в запоршневой полости и с входным отверстием в штоковой полости для подачи рабочей среды. Технический результат заключается в расширении арсенала средств, относящихся к пневматическим тискам. 4 ил.
Тиски пневматические, содержащие корпус, губки, пневмопривод, содержащий поршень, установленный в пневматической камере, и шток поршня, боковые стороны подвижной губки соединены штифтом, выполненным с возможностью его движения в наклонном направляющем пазу, отличающиеся тем, что содержат дополнительный шток, выполненный вертикальным, шток поршня выполнен горизонтальным в виде вилки, охватывающей нижнюю часть вертикального штока, концы вилки соединены нижним штифтом, установленным в нижнем наклонном пазу вертикального штока, угол наклона нижнего паза к горизонтали составляет 8°, штифт, установленный внутри подвижной губки и соединяющий ее боковые стороны, является верхним штифтом и установлен в верхнем наклонном пазу вертикального штока, верхняя часть вертикального штока расположена внутри полой подвижной губки с возможностью взаимодействия с ней, пневматическая камера выполнена с входным отверстием в запоршневой полости и с входным отверстием в штоковой полости для подачи рабочей среды.
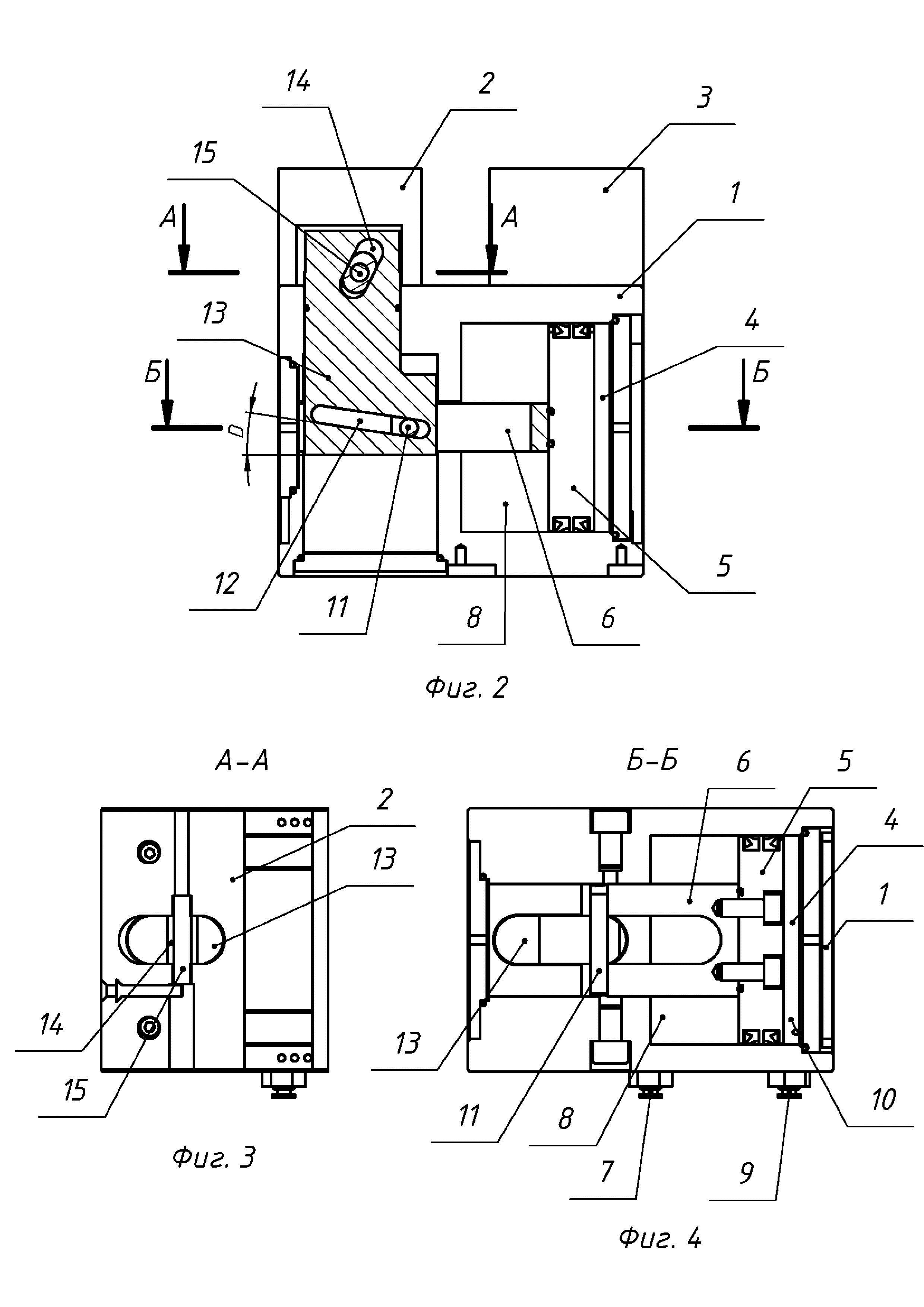
Полезная модель относится к машиностроению, в частности, к устройствам для зажима деталей, которые могут использоваться в качестве переносной станочной технологической оснастки для закрепления обрабатываемых деталей, например, при металлообработке. Может применяться при работе на фрезерных станках, для удержания детали при сварке. Известно зажимное устройство по заявке Германии на изобретение DE102009057198, В25В1/18, 2009, содержащее зажимной ползун, который подвижно соединен через наклонную направляющую с приводным элементом в виде поршня. Зажим детали осуществляется за счет перемещения зажимного ползуна в положение зажима. Для этого в рабочую полость поршня подается воздух под давлением. В исходное положение поршень может быть возвращен с помощью пружинных средств. Недостатками являются большие габариты и вес зажимного устройства, недостаточная его надежность, связанная с использованием пружины. Пружина является хрупким конструктивным элементом, который может ломаться в процессе эксплуатации. Хрупкость пружины обусловлена материалом и технологией изготовления пружин. Кроме того, упругость пружины может ухудшаться в процессе выработки ресурса или при изменении температуры окружающей среды. Известны тиски («Пневматические зажимные приспособления», Зонненберг С.М., Лебедев А.С., ГНТИ машиностроительной и судостроительной литературы, 1953 г., с. 120). Тиски содержат отдельную диафрагменную камеру и шарнирно-рычажный усиливающий механизмом. К корпусу тисков привинчена неподвижная губка, в пазе корпуса перемещается ползун, к которому привернуты подвижная губка и пневматическая камера. Усиливающий механизм состоит из рычага, качающегося на оси, запрессованной в корпус, и из рычага, качающегося на оси, запрессованной в ползуне. Рычаги соединены между собой осью. При зажиме шток давит на сочленение рычагов и перемещает ползун, приближая подвижную губку к неподвижной. В первоначальное положение механизм возвращается при помощи пружин камеры и пружин, действующих на рычаги, и ползун. Недостатком тисков является использование для зажима детали пневмопривода с односторонним управлением, когда рабочее тело, которым является воздух под давлением, подается только в рабочую полость. В штоковой полости в качестве «рабочего тела» используется сила пружины. Применение односторонней схемы пневмопривода обуславливает недостатки устройства. Снижается полезное усилие на штоке, т.к. часть энергии сжатого воздуха расходуется на сжатие пружины. Это снижает надежность закрепления обрабатываемой детали и, как следствие, точность обработки детали. При использовании пружины ограничен рабочий ход поршня. Это приводит к необходимости введения дополнительных элементов в конструкцию и к усложнению тисков. Пружина не обеспечивает быстрого обратного движения поршня. Это ограничивает возможность использования тисков на станках различного назначения. Известна быстродействующая зажимная система (патент на изобретение EP1707307, В23О1/00, 2005). Быстроразъемная зажимная система выполнена с зажимным гнездом, с поршнем, на который с одной стороны воздействуют пружины, а с другой стороны на него может воздействовать давление сжатого воздуха, с исполнительным механизмом. Исполнительный механизм расположен на поршне и следует за движением поршня по угловой наклонной направляющей. В системе быстрого зажима наклонные направляющие на зажимных ползунах имеют неравномерный контур с разными углами наклона относительно оси поршня для достижения различных передаточных отношений. Исполнительный механизм снабжен цилиндрическими штифтами, неподвижно расположенными на поршне, для достижения положения блокировки. Зажим детали осуществляется за счет усилия восьми пружин. Для освобождения детали в рабочую полость поршня подается воздух под давлением. Недостатком является невысокая надежность работы системы, т.к. при поломке одной из пружин зажимная система из-за нарушения баланса прижимных сил может потерять работоспособность. В качестве ближайшего аналога заявляемому техническому решению выбрано зажимное устройство (ЕА200870269, В25В 1/18, 2009), содержащее губки, которые могут перемещаться относительно друг друга, и на которых расположены зажимные элементы. Для приведения устройства в действие каждая губка имеет полость, в которой размещен приводной шток, приводимый в движение поршнем. Направление движения губок перпендикулярно друг другу и/или под углом от 0° до 90° друг к другу. Поршень подвергается переменному давлению. В губках выполнены наклонные пазы, в которые входят штоки поршня с установленными штифтами. Наклон пазов заставляет губки совершать возвратно-поступательные движения вбок, когда поршень перемещает поршневые штоки вверх и вниз. Зажимное устройство имеет достаточно сложную конструкцию. Это обуславливает его значительные габаритно-весовые характеристики, что в свою очередь, снижает область его применения. Кроме того, использование двух подвижных губок может привести к неравномерности зажима, что может влиять на точность обработки детали. Технической задачей заявляемой полезной модели является расширение арсенала средств, относящихся к тискам пневматическим. Техническим результатом заявляемой полезной модели является реализация данного назначения за счет создания малогабаритных пневматических тисков, позволяющих повысить эффективность их работы. Указанный технический результат достигается тем, что в тисках пневматических, содержащих корпус, губки, пневмопривод, содержащий поршень, установленный в пневматической камере, и шток поршня, боковые стороны подвижной губки соединены штифтом, выполненным с возможностью его движения в наклонном направляющем пазу, согласно полезной модели, тиски содержат дополнительный шток, который является вертикальным штоком, шток поршня является горизонтальным, и выполнен в виде вилки, охватывающей нижнюю часть вертикального штока, концы вилки соединены нижним штифтом, установленным в нижнем наклонном пазу вертикального штока, угол наклона нижнего паза к горизонтали составляет 8°, штифт, установленный внутри подвижной губки, и соединяющий ее боковые стороны, является верхним штифтом и установлен в верхнем наклонном пазу вертикального штока, верхняя часть вертикального штока расположена внутри полой подвижной губки с возможностью взаимодействия с ней, пневматическая камера выполнена с входным отверстием в запоршневой полости и с входным отверстием в штоковой полости для подачи рабочей среды. Технический результат обеспечивается тем, что устройство зажима снабжено дополнительным вертикальным штоком, кинематически связанным с горизонтальным штоком поршня. Дополнительный вертикальный шток является усиливающим механизмом, позволяющим удерживать зажатую деталь с усилием, при зажатии детали в несколько раз превышающим усилие зажатия от пневмопривода. При этом вертикальное расположение второго штока позволяет сохранить малые габариты корпуса тисков при возможности создания значительного усилия зажима. Наличие усиливающего механизма и выполнение только одной губки подвижной позволяет обеспечить постоянное эффективное усилие зажима обрабатываемой детали. Малый угол наклона нижнего паза в вертикальном штоке позволяет удерживать деталь с большим усилием без применения постоянной подачи воздуха из компрессора. Угол наклона нижнего паза к горизонтали 8° позволяет удерживать деталь за счет заклинивания нижнего штока в этом пазу после прижима детали подвижной губкой. Выполнение данного угла наклона меньше 5° не эффективно из-за слишком медленного перехода в положение заклинивания. Выполнение данного угла наклона больше 15° не позволяет надежно удерживать деталь в зажатом положении, т.к., нижний шток может самопроизвольно соскользнуть по наклонной направляющей и выйти из клинового соединения. Возможность механического зажима детали с нужным усилием без применения усилия от пневматических устройств позволяет повысить эффективность работы тисков. Выполнение горизонтального штока в виде вилки, охватывающей вертикальный шток и использование верхнего и нижнего штифтов, располагающихся внутри вертикального штока, позволяет сократить габариты пневматических тисков, обеспечив кинематическую связь между двумя штоками. Использование верхнего и нижнего штифтов, установленных с возможностью взаимосвязанного движения в наклонных направляющих пазах единого для них вертикального цельнотелого штока позволяет отказаться от сложного рычажного механизма, содержащего сочленения звеньев, уменьшить размеры устройства, повысить надежность его работы. Расположение верхней части вертикального штока внутри полой подвижной губки с возможностью взаимодействия с ней так же позволяет обеспечить малые габариты устройства, и кроме того, позволяет обеспечить постоянную длину смещения подвижной губки. Это повышает точность изготовления детали, т.к. при необходимости обработки ее различных поверхностей после переустановки детали обеспечивается постоянство ее расположения относительно поверхности корпуса тисков, сохраняются постоянными длина хода подвижной губки и усилие зажима. Это позволяет выполнить металлорежущие операции на разных плоскостях и гранях детали без смещения получаемых элементов, например, отверстий относительно друг друга. Выполнение пневматической камеры с входным отверстием в запоршневой полости и с входным отверстием в штоковой полости для подачи рабочей среды позволяет применить двустороннюю схему работы пневмопривода. При данной схеме рабочая среда, которой является сжатый воздух, попеременно подается в две полости пневматической камеры для совершения работы, обеспечивая движение поршня в обоих направлениях. Это позволяет отказаться от использования пружинного механизма, что повышает надежность работы и снижает габариты тисков, кроме того, помогает обеспечить быструю установку и снятие заготовки. На фиг. 1 - общий вид тисков пневматических. На фиг. 2 - продольный разрез тисков пневматических. На фиг. 3 - поперечный разрез подвижной губки тисков пневматических. На фиг. 4 - пневмопривод тисков пневматических. Тиски пневматические содержат корпус 1, подвижную губку 2, неподвижную губку 3, выполненную в виде упора, который устанавливается на направляющей планке тисков с помощью резьбового соединения. Тиски содержат пневмопривод, который состоит из пневматической камеры 4, в которой установлен поршень 5, связанный с горизонтальным штоком 6. Пневматическая камера 4 содержит штуцер 7 с отверстием для подачи сжатого воздуха в штоковую полость 8 пневматической камеры 4 и штуцер 9 с отверстием для подачи сжатого воздуха в запоршневую полость 10. Горизонтальный шток 6 поршня 5 выполнен в виде вилки, концы которой соединены нижним штифтом 11. Штифт 11 установлен в нижнем наклоном пазу 12 дополнительного вертикального штока 13. Угол наклона нижнего паза к горизонтали составляет 8°. Вертикальный шток 13 имеет овальную форму. Вилка горизонтального штока 6 охватывает нижнюю часть вертикального штока 13. В верхней части вертикального штока 13 выполнен верхний наклонный паз 14, в котором установлен верхний штифт 15. Концы верхнего штифта 15 соединены с боковыми сторонами подвижной губки 2. Между неподвижной губкой 3 и подвижной губкой 2 устанавливают обрабатываемую деталь. Тиски пневматические работают следующим образом. Устанавливают неподвижную губку 3 на направляющей планке тисков в нужном месте, закрепляя ее винтами и штифтами. Между неподвижной губкой 3 и подвижной губкой 2 размещают деталь. Подают воздух под давлением от компрессора с помощью шланга (на чертеже не показаны) через штуцер 9 в запоршневую полость 10. Штоковую полость 8 через штуцер 7 при этом соединяют с атмосферой. С помощью поршня 5 и горизонтального штока 6 перемещают нижний штифт 11 в нижнем наклонном направляющем пазу 12 вертикального овального штока 13. Под механическим воздействием штифта 11 на поверхность паза 12 вертикальный шток 13 перемещается. При этом перемещении штока 13 верхний штифт 15 под действием механической силы со стороны поверхности верхнего наклонного направляющего паза 14, перемещающегося вместе со штоком 13, перемещает подвижную губку 2. Подвижная губка 2 при этом прижимает деталь к неподвижной губке 3. Деталь остается в прижатом состоянии за счет заклинивания нижнего штифта 11 в нижнем наклоном пазу 12, расположенном под углом D к горизонтали. Оптимальный угол наклона паза 12 составляет 8°. После зажима детали производят ее механическую обработку. Для разжатия детали подают воздух под давлением через штуцер 7 в штоковую полость 8. Подаваемое давление воздуха в штоковую полость 8 создает на поршне 5 усилие, большее по величине, чем усилие заклинивания штифта 11 в наклонном пазу 12. Штифт 11 выходит из зацепления с поверхностью паза 12. Запоршневую полость 10 через штуцер 9 при этом соединяют с атмосферой. С помощью поршня 5 и горизонтального штока 6 перемещают нижний штифт 11 в нижнем наклонном направляющем пазу 12 вертикального овального штока 13 в исходное положение и поднимают при этом вертикальный овальный шток 13. При перемещении штока 13 верхний штифт 15 под действием механической силы со стороны поверхности верхнего наклонного направляющего паза 14, перемещающегося вместе со штоком 13, перемещает подвижную губку 2 в исходное положение, обеспечивая разжим детали. Постоянное усилие зажима обрабатываемой детали за счет взаимодействия горизонтального штока 6 и вертикального штока 13 обеспечивает точность обработки детали и, как следствие, уменьшение брака обработки и повышение процента годных деталей. Малые габаритные размеры тисков пневматических обеспечивают возможность установки большого количества тисков на стол фрезерного станка, что приводит к увеличению количества одновременно изготавливаемых деталей. Для зажима детали используют энергию воздуха под давлением от компрессора до 8 бар. Прямоугольное исполнение корпуса тисков позволяет их устанавливать на стол станка на любую поверхность, что даёт большую универсальность. Деталь удерживается без постоянной подачи воздуха за счёт малого угла наклона нижнего паза 12 в вертикальном штоке 13. Это позволяет быстро и с одинаковым усилием зажать деталь, например, на пятиосных фрезерных станках или станках с пилетными столами, позволяет обрабатывать зажимаемые детали с высокой точностью и без постоянной подачи сжатого воздуха для совершения работы по удержанию детали с необходимым усилием. Таким образом, заявляемая полезная модель позволяет расширить арсенала средств, относящихся к пневматическим тискам за счет создания малогабаритных пневматических тисков с повышенной эффективностью их работы.