патент
№ RU 2249420
МПК A23P1/12

МАТРИЦА ЭКСТРУДЕРА

Авторы:
Коротков В.Г. Василевская С.П. Ханин В.П.
Все (4)
Номер заявки
2003113159/13
Дата подачи заявки
05.05.2003
Опубликовано
10.04.2005
Страна
RU
Как управлять
интеллектуальной собственностью
Чертежи 
2
Реферат

[20]

Изобретение относится к оборудованию для утилизации скоропортящихся отходов растительного и животного происхождения. Матрица экструдера включает корпус и хотя бы одну фильеру, состоящую из предкамеры и формующего канала. Формующий канал и участок перехода от предкамеры к формующему каналу выполнены в свободно деформируемой упругой оболочке. По внешнему периоду оболочки на конце формующего канала выполнено ребро жесткости. На внешней поверхности оболочки выполнена полость. Полость имеет опору на корпус матрицы и нагружена внутренним давлением. Матрица снабжена устройством измерения деформации оболочки. Полость снабжена устройством для измерения давления. Использование изобретения позволит повысить надежность эксплуатации экструдера и качество выпускаемой продукции. 4 з.п. ф-лы, 3 ил.

[21]

Формула изобретения

1. Матрица экструдера, включающая корпус и хотя бы одну вставку, которая имеет хотя бы одну фильеру, составленную из предкамеры и формующего канала, отличающаяся тем, что формующий канал и участок перехода от предкамеры к формующему каналу выполнены в свободно деформируемой оболочке из упругого материала.

2. Матрица экструдера по п.1, отличающаяся тем, что по внешнему периметру оболочки на конце формующего канала выполнено ребро жесткости.

3. Матрица экструдера по п.1, отличающаяся тем, что на внешней поверхности оболочки выполнена полость, имеющая опору на корпус матрицы и нагруженная внутренним давлением.

4. Матрица экструдера по пп.1 и 2, отличающаяся тем, что матрица снабжена устройством измерения деформации оболочки.

5. Матрица экструдера по п.3, отличающаяся тем, что полость снабжена устройством измерения давления.

Описание

[1]

Изобретение относится к оборудованию для утилизации скоропортящихся отходов растительного и животного происхождения. Оно предназначено для придания полуфабрикату формы с развитой поверхностью испарения влаги при высушивании полуфабриката воздушным потоком.

[2]

Известна конструкция матрицы [Патент РФ №2092056, 1997 г. БИ №28] с прямоугольным поперечным сечением формующего канала. Недостатком такой матрицы является невозможность герметизации зазоров между подвижной стенкой канала и корпусом матрицы. Попадание в эти зазоры экструдируемого материала вызывает заклинивание подвижной стенки. Регулировка положения подвижной стенки формующего канала при этом восстанавливается только после остановки экструдера и разборки матрицы. Кроме того, конструкция матрицы с подвижной стенкой ограничивает допустимую форму поперечного сечения формующего канала.

[3]

Прототипом является матрица экструдера со вставками, в которых выполнены фильеры, имеющие предкамеру и формующий канал [Мачихин С.А. Технологическое оборудование хлебопекарных и макаронных предприятий. М.: Агропромиздат, 1986. С. 200].

[4]

Недостатками такой конструкции является невозможность очистки при ее засорении без остановки и разборки экструдера.

[5]

Техническим результатом заявляемой матрицы является повышение надежности эксплуатации экструдера и качества выпускаемой продукции.

[6]

Поставленная задача решается тем, что матрица экструдера, включающая корпус и хотя бы одну фильеру, состоящую из предкамеры и формующего канала, имеет формующий канал и участок перехода от предкамеры к формующему каналу, выполненные в свободно деформируемой упругой оболочке; по внешнему периоду оболочки на конце формующего канала выполнено ребро жесткости; на внешней поверхности оболочки выполнена полость, имеющая опору на корпус матрицы и нагруженная внутренним давлением; матрица снабжена устройством измерения деформации оболочки; полость снабжена устройством для измерения давления.

[7]

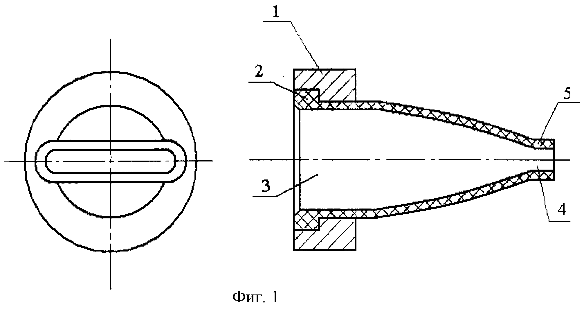
На фигуре 1 показана матрица экструдера с формующим каналом фильеры в свободно деформируемой оболочке.

[8]

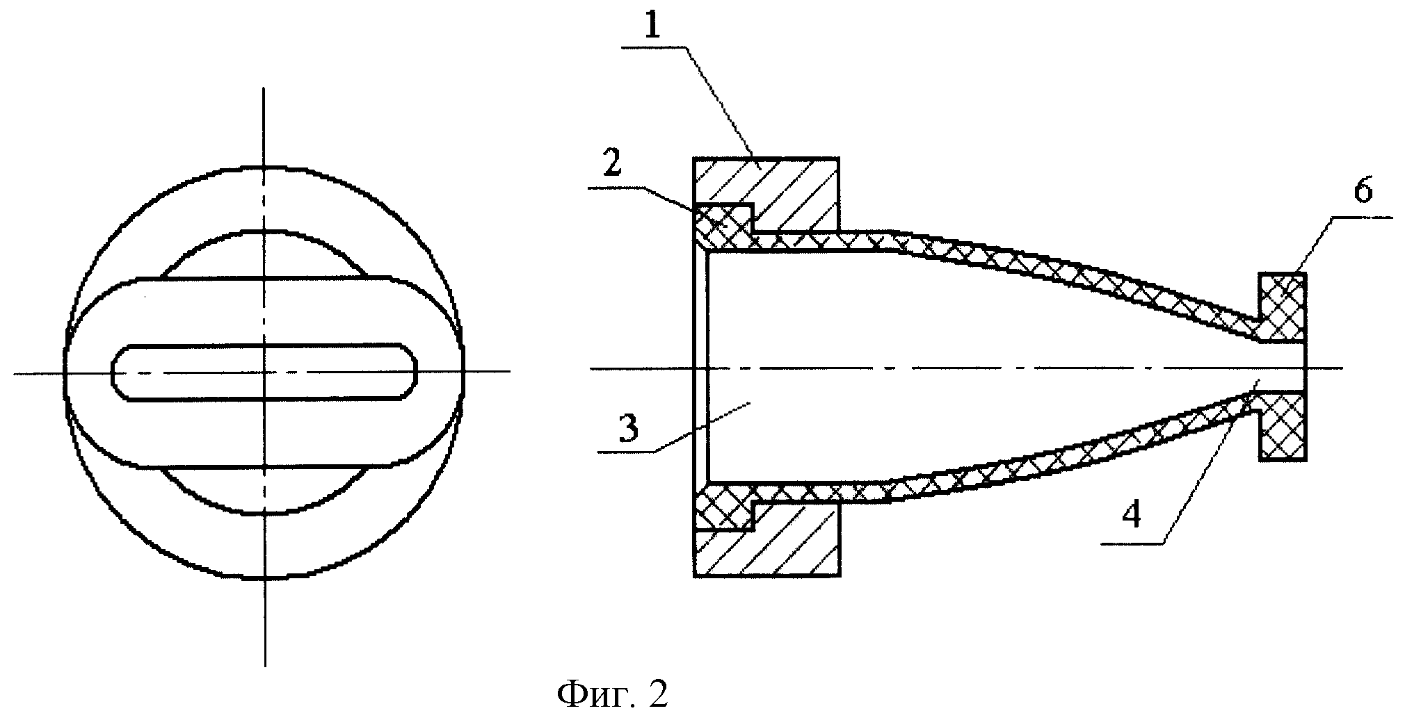
На фигуре 2 показана матрица экструдера с формующим каналом, выполненным в оболочке с ребром жесткости.

[9]

На фигуре 3 показана матрица экструдера с формующим каналом внутри полости, оболочка, имеющая опору на корпус матрицы и нагруженная внутренним давлением.

[10]

В корпусе 1 матрицы расположена вставка 2, в которой имеется фильера, включающая предкамеру 3 и формующий канал 4, выполненный в оболочке 5. Оболочка 5 расположена вне корпуса 1 и поэтому жесткость корпуса 1 не препятствует деформации оболочки 5. Предкамера 3 и формующий канал 4 сопряжены участком перехода.

[11]

По внешнему периметру оболочки на конце формующего канала может быть выполнено ребро жесткости 6.

[12]

На внешней поверхности оболочки 5 может быть выполнена полость 7, имеющая опору на корпус матрицы 1. Для создания и поддержания давления в полости 7 использован патрубок 8.

[13]

Матрица работает следующим образом. При запуске экструдера первая порция материала еще недостаточно разогрета и, как следствие, обладает высокой вязкостью, создавая повышенное давление в области формующего канала, при этом оболочка формующего канала упруго деформируется, поперечное сечение формующего канала увеличивается, его сопротивление уменьшается и канал пропускает прессуемый материал, предотвращая забивание матрицы вязким материалом и помпаж. При этом максимальный размер поперечного сечения ограничен размером сечения предкамеры, что определяет требования к предкамере.

[14]

В дальнейшем материал разогревается за счет работы сил трения и экструдер выходит на режим, соответствующий получению полуфабриката оптимального качества. При этом формующий канал приобретает размеры, соответствующие технологическим требованиям к размеру сечения полуфабриката.

[15]

При случайном отклонении свойств экструдированного материала от технологических требований давление прессования может возрасти. Это приведет к увеличению площади поперечного сечения формующего канала, матрица пропустит порцию некондиционного материала и опять приобретет первоначальную форму после возвращения свойств экструдируемого материала к технологически требуемым. Таким образом, предотвращается закупорка фильтра при запуске экструдера и в ходе его работы.

[16]

Ребро жесткости служит для уменьшения податливости стенок оболочки формующего канала, если требуется выдерживать размеры поперечного сечения экструдата при повышенном давлении экструдирования. Использование ребра жесткости выгодней увеличения толщины всей оболочки, поскольку уменьшает габариты вставки.

[17]

Помещение формующего канала в полость, нагруженную внутренним давлением, позволяет регулировать податливость оболочки формующего канала в процессе работы экструдера. Поэтому управление давлением в процессе экструдирования позволяет управлять технологическим режимом экструзии, в частности задавать размеры сечения экструдата.

[18]

Измеряя деформацию оболочки или давление в полости, можно оценивать эффективность процесса экструдирования и качество полученного полуфабриката и использовать эти данные в системе управления экструдером.

[19]

Таким образом, заявляемая конструкция матрицы позволяет повысить надежность экструдера и качество выпускаемой продукции.

Как компенсировать расходы
на инновационную разработку
Похожие патенты