Полезная модель относится к протезам коленного модуля и представляет собой полицентрический коленный модуль с системой геометрической блокировки и трехступенчатым гидравлическим управлением фазы переноса, которая учитывает изменение скорости ходьбы. Устройство предназначено для использования в составе протезной системы нижней конечности и заменяет функцию отсутствующего колена. Потребители коленного модуля - инвалиды с ампутацией бедра. Техническим результатом заявленного решения является более стабильная работа гидросистемы коленного модуля. Указанный технический результат достигается за счет того, что в одном из каналов гидравлического корпуса коленного модуля содержится масляный фильтр, а за ним в том же канале расположен магнит, на конце перетока одного канала в другой установлен перепускной клапан, выполненный с возможностью настройки винтом, а в крышке гидравлического корпуса установлен гидроаккумулятор, состоящий из гибкой мембраны и герметичной воздушной полости.
Искусственный коленный сустав, выполненный в виде коленного модуля, состоящего из тяг и рычагов, связанных осями вращения друг с другом, а также с гидравлическим корпусом и основанием коленного модуля, и имеющего в верхней части крепление к гильзе, содержащее круглый выступ с резьбой, расположенный вокруг центра вращения коленного модуля, а в нижней части основания - отверстие в основании для фиксации несущего модуля со стопой, причем гидравлический корпус содержит внутри зубчатое колесо, установленное на центральной оси и связанное с гидравлическим поршнем через зубчатую рейку, при этом гидравлический поршень выполнен с возможностью смещения в заполненной маслом поршневой полости, связанной с замкнутыми каналами, заполненными маслом, в каналах установлены односторонние клапаны, ориентированные в сторону движения масла по кругу, а также дроссели для формирования зазоров, коленный модуль содержит сменный демпфер, прокладку и крышку демпфера, отличающийся тем, что в одном из каналов гидравлического корпуса содержится масляный фильтр, а за масляным фильтром в том же канале расположен магнит, на конце перетока одного канала в другой установлен перепускной клапан, выполненный с возможностью настройки винтом, с противоположных сторон гидравлического корпуса выполнены сквозные отверстия, а в крышке гидравлического корпуса установлен гидроаккумулятор, состоящий из гибкой мембраны и герметичной воздушной полости.
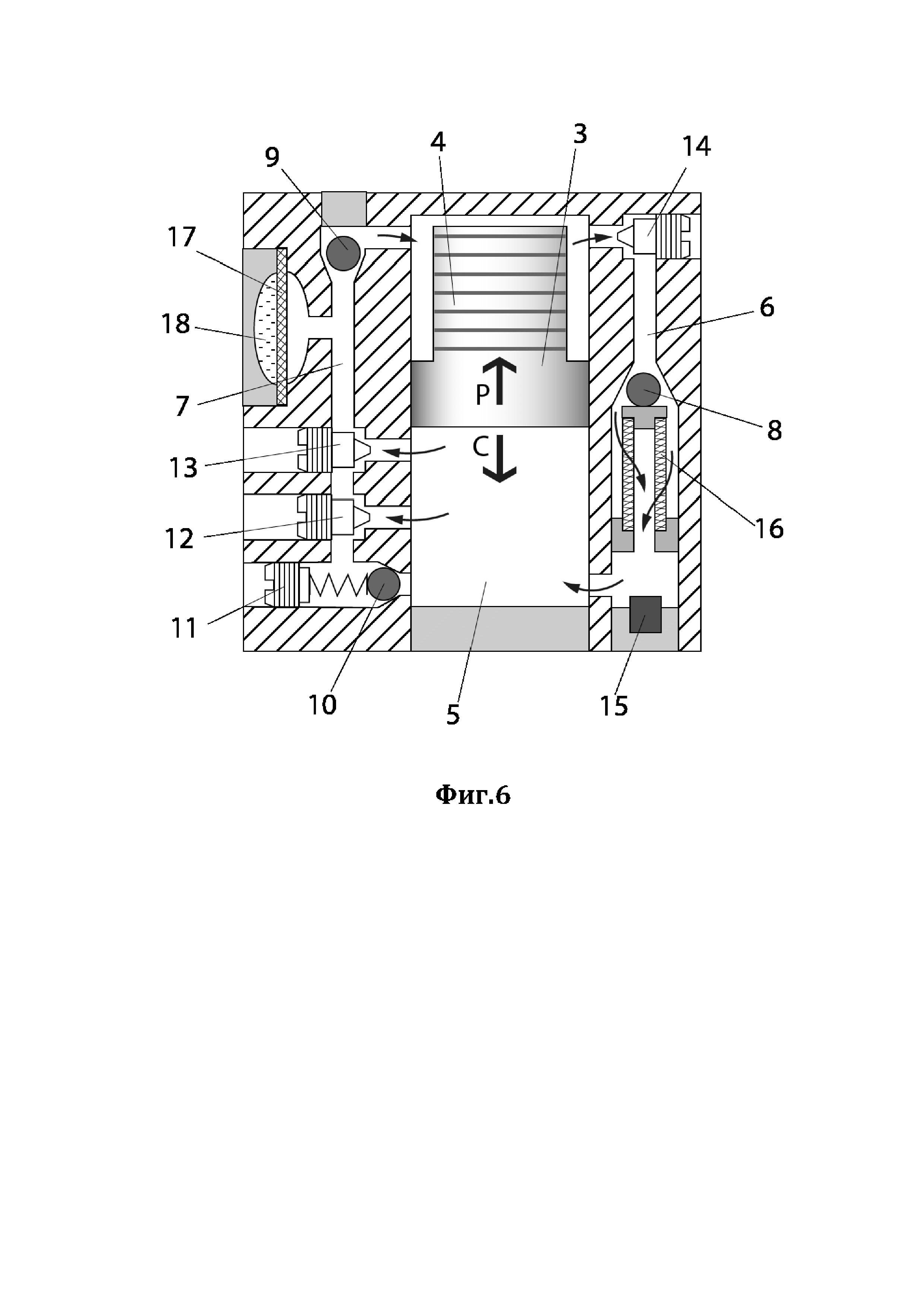
Полезная модель относится к протезам коленного модуля и представляет собой полицентрический коленный модуль с системой геометрической блокировки и трехступенчатым гидравлическим управлением фазы переноса, учитывает изменение скорости ходьбы. Устройство предназначено для использования в составе протезной системы нижней конечности и заменяет функцию отсутствующего колена. Потребители коленного модуля - инвалиды с ампутацией бедра. Гидравлические коленные модули одна из последних разработок в области протезостроения. Улучшенная поворотная гидравлическая система обеспечивает больший комфорт и безопасность пользования протезом. Качественно новая, мощная миниатюрная гидросистема создает динамическое сопротивление движению и поддерживает мобильность активного пациента на высоком уровне. Эффективно имитирует естественную походку при пользовании протезом. Позволяет осуществить многие повседневные функции - от удобной посадки в автомобиль, до езды на велосипеде. Гидравлические коленные модули предназначены для тех, кто ведет активный образ жизни. За счет уникальной геометрической структуры и полиуретанового буфера конструкция позволяет человеку передвигаться мягко и безопасно. Гидравлические коленные модули высокофункциональные по сравнению с механическими коленными модулями. Обладают значительно более низкой стоимостью, со схожими функциональными характеристиками, по сравнению с электронными коленными модулями. Гидравлические коленные модули находятся в средней ценовой категории, однако по функциональности значительно превосходит сегмент механических коленных узлов. В то же время, незначительно уступая в функциональности электронным коленным модулям, обладает значительно меньшей ценой. Функциональность модульных коленных шарниров имеет особое значение для протезирования. В фазе опоры устойчивость колена играет самую важную роль, поскольку при наступлении на пятку сустав не должен сгибаться. Во время фазы переноса он должен управлять движением голени. При использовании механических систем управления коленным шарниром возможности обеспечения устойчивости в фазе опоры охватывают весь: спектр от блокировки шарнира, при протезировании пациентов пожилого возраста, тормозных шарниров и многоосных конструкций - с эластичным подгибанием в фазе опоры. Для управления в фазе переноса используются пружинные толкатели, которые действуют вне зависимости от скорости передвижения. В то же время пневматические и гидравлические системы создают зависимое от скорости сопротивление движению и адаптируются к ритму ходьбы. Известно решение по патенту US 5800566, опубл. 01.09.1998 на комбинацию искусственного коленного модуля и устройства для демпфирования поворотного движения в искусственном коленном суставе, причем искусственный коленный сустав имеет по меньшей мере одну точку поворота, комбинация, содержащая искусственный коленный сустав, имеющий первое звено и второе звено, и устройство для демпфирования, содержащее: поршень, имеющий реечную передачу вдоль одной его стороны; гидравлический цилиндр, имеющий продольное отверстие, в котором установлен поршень, поршень полностью содержится внутри цилиндра, поршень может совершать возвратно-поступательное движение в гидравлическом цилиндре, цилиндр дополнительно имеет каналы, соединяющие противоположные концы цилиндра на противоположных концах стороны поршня, через которые может протекать гидравлическая жидкость при движении поршня; средство на конце цилиндра для крепления первого звена искусственного шарнира к гидравлическому цилиндру; средство для сопротивления движению гидравлической жидкости по каналам, средство для сопротивления, включающее обратные клапаны для обеспечения протекания гидравлической жидкости по различным каналам для каждого направления движения поршня; и вал, имеющий установленную на нем шестерню, вал проходит в цилиндр, и шестерня входит в зацепление с реечной передачей поршня, только вал проходит из внутренней части гидравлического цилиндра, в то время как поршень и средство для сопротивления содержатся внутри цилиндра, и при этом второе звено искусственного шарнира смонтировано на валу, движение вала приводит в движение гидравлический цилиндр и, таким образом, вызывает гидравлическую нагрузку, жидкость по каналам цилиндра, средство для сопротивления движению, сопротивляющееся потоку гидравлической жидкости для демпфирования движения вала. На основе данной системы созданы такие коленные модули как Total Knee 2000 & Total Knee 2100 (https://www.youtube.com/watch?v=GZ0YhbMiI7o), опубл.: 21.04.2022. Данное решение выбрано за прототип. В нем описан искусственный коленный сустав, представляющий собой коленный модуль, состоящий из системы тяг и рычагов, связанных осями вращения друг с другом, а также с гидравлическим корпусом и основанием коленного модуля, и имеющий в верхней части крепление к гильзе, а в нижней части основания - отверстие в основании для фиксации несущего модуля со стопой, причем в основании на первой оси вращения установлено опорное звено, внутри которого на второй оси вращения, параллельной первой оси вращения, одним своим концом установлена задняя тяга; к средней части задней тяги закреплено плечо, связанное третьей параллельной осью вращения; при этом, плечо своей центральной частью связано шарнирно с основанием, а другим своим концом плечо связано с боковыми рычагами четвертой параллельной осью вращения; на конце задней части гидравлического корпуса расположены два выступа, между которыми через пятую параллельную ось вращения соединен второй конец задней тяги; боковой рычаг другим своим концом связан с центральной осью вращения коленного модуля, которая также параллельна остальным осям и установлена на гидравлическом корпусе; гидравлический корпус содержит внутри зубчатое колесо, установленное на центральной оси и связанное с гидравлическим поршнем через зубчатую рейку; гидравлический поршень выполнен с возможностью смещаться в заполненной маслом поршневой полости, связанной с замкнутой системой каналов, заполненных маслом; в каналах установлены односторонние клапаны, ориентированные в сторону движения масла по кругу, а также дроссели, функцией которых является формирование зазоров. Недостатком известных систем является нестабильная работа их гидросистемы для плавного хода поршня. Крупные и мелкие продукты износа, попадая в каналы гидросистемы, также могут попасть затем и в зону уплотнений, что со временем выводит ее из строя. Это снижает срок службы коленного модуля. Также, недостатком известного решения является потребность его аккуратного использования. Так, нельзя чрезмерно резко сгибать коленный модуль, поскольку есть вероятность гидроудара и повреждения от него уплотнений. Кроме того, длительная эксплуатация коленного модуля приводит к его перегреву из-за расширения масла при его нагреве. Задачей настоящего решения является устранение вышеописанных недостатков. Техническим результатом заявленного решения является более стабильная работа гидросистемы коленного модуля. Указанный технический результат достигается за счет того, что заявлен искусственный коленный сустав, выполненный в виде коленного модуля, состоящего из тяг и рычагов, связанных осями вращения друг с другом, а также с гидравлическим корпусом и основанием коленного модуля, и имеющего в верхней части крепление к гильзе, содержащее круглый выступ с резьбой, расположенный вокруг центра вращения коленного модуля, а в нижней части основания - отверстие в основании для фиксации несущего модуля со стопой, причем гидравлический корпус содержит внутри зубчатое колесо, установленное на центральной оси и связанное с гидравлическим поршнем через зубчатую рейку; при этом гидравлический поршень выполнен с возможностью смещения в заполненной маслом поршневой полости, связанной с замкнутыми каналами, заполненными маслом; в каналах установлены односторонние клапаны, ориентированные в сторону движения масла по кругу, а также дроссели для формирования зазоров; коленный модуль содержит сменный демпфер, прокладку и крышку демпфера, отличающийся тем, что в одном из каналов гидравлического корпуса содержится масляный фильтр, а за масляным фильтром в том же канале расположен магнит; на конце перетока одного канала в другой установлен перепускной клапан, выполненный с возможностью настройки винтом, с противоположных сторон гидравлического корпуса выполнены сквозные отверстия, а в крышке гидравлического корпуса установлен гидроаккумулятор, состоящий из гибкой мембраны и герметичной воздушной полости. Краткое описание чертежей На Фиг. 1 показан коленный модуль (вид спереди). На Фиг. 2 показан разрез коленного модуля (вид сбоку). На Фиг. 3 показан разрез коленного модуля (вид сбоку - участок Фиг. 2 крупным планом). На Фиг. 4 показан разрез коленного модуля (вид спереди крупным планом). На Фиг. 5 показан разрез коленного модуля и структура гидравлической системы (вид сверху). На Фиг. 6 показана схема гидравлической системы коленного модуля. На Фиг. 7 показана схема использования коленного модуля с гильзой и с несущим модулем со стопой. На Фиг. 8 показана фиксация гильзы и коленного модуля с помощью проксимального адаптера. На Фиг. 9 показана схема рычагов коленного модуля и принцип фиксации дистальным винтом несущего модуля к основанию. На Фиг. 10 показаны места смазки подшипников. На Фиг. 11 показаны клапаны регулировки (виды коленного модуля в разных ракурсах). На Фиг. 12 и 13. показана установка механизма полного разгибания: На Фиг. 12 показан принцип отделения крышки демпфера, самого демпфера и прокладок. На Фиг. 13 показана сборка пружинного блока и его установка (А - показан принцип сборки пружинного блока, Б - показано протягивание троса пружинного блока в коленный модуль). На Фиг. 14 показаны различные положения изгиба коленного модуля. На Фиг. 15-21 - показаны примеры испытания коленного модуля. На чертежах: 1 - Центральная ось вращения коленного модуля. 2 - Зубчатое колесо. 3 - Гидравлический поршень. 4 - Зубчатая рейка. 5 - Поршневая полость. 6 и 7 - Каналы движения масла. 8 и 9 - Клапаны гидравлической системы. 10 - Перепускной клапан. 11 - Настроечный винт перепускного клапана. 12, 13, 14 - Дроссели. 15 - Магнит.16 - Масляный фильтр. 17 - Гибкая мембрана. 18 - Герметичная воздушная полость. 19 - Точка юстировки коленного модуля. 20 - Выступ для фиксации проксимального адаптера. 21 - Гильза. 22 - Резьба выступа 20. 23 - Проксимальный адаптер. 24 - Боковой рычаг. 25 - Гидравлический корпус.26 - Задняя тяга, а 26.1, 26.2 - концы задней тяги. 27 - Опорное звено. 28 - Основание. 29 - Дистальный винт. 30 - Несущий модуль. 31 - Стопа. 32 - Демпфер. 33 - Прокладка. 34 - Крышка демпфера. 35 - Винт для регулировки заброса пятки. 36 - Клапан регулировки сопротивления при сгибании. 37 - Клапан дополнительного ослабления при сгибании на углах от 0° до 60°. 38 - Клапан регулировки сопротивления при разгибании. 39 - Стакан пружины. 40 - Пружина. 41 - Втулка. 42 - Трос. 43 - Стопорное кольцо. 44 - Гнездо стакана пружины. 45 - Подшипники, места для смазки. 46 - Ключ регулировки. 47 - Сквозные вентиляционные отверстия в гидравлическом корпусе. 48 - Вторая отметка на середине гильзы. 49 - Линия юстировки для настройки и сборки протеза. 50 - Середина гильзы на уровне седалищного бугра. 51 - Зазор по высоте каблука. 52 - Вторая ось вращения. 53 - Третья ось вращения. 54 - Четвертая ось вращения. 55 - Первая ось вращения. 56 - Плечо. 57 - Пятая ось вращения. 58 - Выступы гидравлического корпуса. Осуществление полезной модели Искусственный коленный сустав представляет собой коленный модуль, состоящий из системы тяг и рычагов, связанных осями вращения друг с другом, а также с гидравлическим корпусом и основанием коленного модуля. Коленный модуль используется следующим образом. С помощью проксимального адаптера 23 (см. Фиг. 8), который навинчивается на круглый выступ 22 с резьбой (см. Фиг. 9), расположенный вокруг центра вращения 20 коленного модуля (см. Фиг. 7), к коленному модулю крепится гильза 21 (см. Фиг. 8). Снизу к коленному модулю крепится несущий модуль 30 со стопой 31. Несущий модуль 30 вставляется в отверстие основания 28 и фиксируется в нем дистальным винтом 29 с помощью ключа 46 (см. Фиг. 9). Механизм полного разгибания коленного модуля (см. Фиг. 13(А)) - это дополнительная функция. Коленный модуль может работать без него. Данный механизм представляет собой съемный пружинный блок, который создает постоянное усилие, направленное на выпрямление колена - коленооткидной механизм. Механизм постоянно пытается разогнуть колено и активировать геометрическую блокировку. Поэтому усилие сгибания колена возрастает, но разгибание упрощается. Рекомендуется использовать механизм полного разгибания, если пациент не может разогнуть колено и привести в действие геометрический замок. Вместо установки механизма полного разгибания можно попробовать упростить разгибание колена при помощи настройки клапанов. Для этого нужно уменьшить сопротивление разгибанию в фазе переноса, повернув клапан (38) влево. Установка механизма полного разгибания показана на Фиг. 12 и 13. Сборка пружинного блока показана на Фиг. 13(А). Сначала снимают крышку демпфера (44), демпфер (42) и прокладки (43). Далее протягивают трос (42) через отверстие в стакан пружины (39) шарообразным концом кабеля наружу, шпилькой внутрь. Пружину (40) устанавливают на кабель, затем фиксируют втулку (41) на шпильку троса. Стопорное кольцо (43) смещают в крайнюю проточку шпильки кабеля. После этого протягивают трос (42) пружинного блока в коленный модуль (см. Фиг. 13(Б)). Для чего протягивают шарообразный конец троса (42) через отверстие (44) в основании (28). Используя пинцет или небольшую отвертку вставляют трос (42) в паз опорного звена (27) так, чтобы шаровой наконечник троса (42) поместился в шарообразную лунку. Снова устанавливают выбранные прокладки (33), демпфер (32) и крышку демпфера (34) на место. После чего регулируют сопротивление в фазе переноса клапаном (38 на Фиг. 11). Если необходимое разгибание не достигается при полностью открытом клапане (38), пробуют более жесткую пружину. Далее регулируют сопротивление сгибанию в фазе переноса после установки механизма полного разгибания клапанами (36, 37 на Фиг. 11). Клапан (36) используют для регулировки сопротивления при сгибании, а клапан (37) - для дополнительного ослабления при сгибании на углах от 0° до 60°. В коленном модуле пользователю необходимо уделять особое внимание состоянию подшипников (45) (см. Фиг. 10). Нужно оберегать их от попадания песка, пыли, чрезмерного количества воды или агрессивных жидкостей, а также от направленного сжатого воздуха. Сгибание элементов коленного модуля происходит за счет установленного в основании (28) на первой оси вращения (55) (см. Фиг. 9) опорного звена (27), внутри которого на второй оси вращения (52), параллельной первой оси вращения (55), одним своим концом (26.1) установлена задняя тяга (26). К средней части задней тяги (26) закреплено плечо (56), связанное третьей параллельной осью вращения (53). Другим своим концом плечо (56)связано с боковым рычагом (24) четвертой параллельной осью вращения (54). Боковой рычаг (24) другим своим концом связан с центральной осью (1) вращения коленного модуля, которая также параллельна остальным осям (55, 52, 53, 54, 57) и установлена на гидравлическом корпусе (25). На конце задней части гидравлического корпуса (25) расположены два выступа (58), между которыми через пятую параллельную ось вращения (57) соединен второй конец задней тяги (26.2). Такая система рычагов формирует геометрический замок. Геометрический замок (блокировка) защищает колено от потери устойчивости в фазе опоры на протез. Гидравлическая система коленного модуля функционирует следующим образом. Вращение центральной оси вращения (1) коленного модуля (см. Фиг. 1-5) через расположенное на ней зубчатое колесо (2) связано с гидравлическим поршнем (3) через зубчатую рейку (4). Гидравлический поршень (3) может смещаться в заполненной маслом поршневой полости (5), чем осуществляет движение масла по каналам (6 и 7). Клапаны (8 и 9) обеспечивают одностороннее движение масла по кругу. При сгибании колена (вращение зубчатого колеса (2) по часовой стрелке на Фиг. 3) гидравлический поршень (3) вытесняет масло в канал (7), при разгибании колена (вращение зубчатого колеса (2) против часовой стрелки на Фиг. 3) гидравлический поршень (3) вытесняет масло в канал (6) через дроссель (14) (см. Фиг. 5). Дроссели (12, 13 и 14) регулируют скорость движения масла через настраиваемые зазоры. Причем дроссели (12 и 13), расположенные в общем канале (7), позволяют регулировать скорость сгибания колена в два этапа, сначала работают оба дросселя, а в конце движения скорость падает, из-за того что поршень перекрывает один канал, и работает только дроссель (12). Гидросистема отличается от прототипа тем, что оснащена масляным фильтром (16), который расположен в канале (6) и задерживает крупные продукты износа. А расположенный в том же канале (6) магнит (15) используется для сбора мелких металлических частиц. Наличие на конце перетока (6) канала в канал (7) перепускного клапана 10, имеющего возможность настройки винтом 11, обеспечивает защиту гидравлической системы от гидроудара и повреждения уплотнений в случае чрезмерно резкого сгибания коленного модуля. Новым также является расположенный в крышке гидроаккумулятор (см. Фиг. 3, Фиг. 6), который состоит из гибкой мембраны 17 и герметичной воздушной полости 18, для компенсации расширения масла при его нагреве. Наличие сквозных отверстий (47) с противоположных сторон гидравлического корпуса (25) (см. Фиг. 11) формирует вентиляционные каналы воздушного охлаждения, которые усиливают работу гидроаккумулятора и дополнительно защищают гидравлический корпус (25) от перегрева, тогда как в известном решении по прототипу таких вентиляционных каналов нет. Таким образом, за счет того, что в заявленной полезной модели: в гидросистеме фильтруются крупные и мелкие продукты износа, выполнена защита от гидроудара, что позволяет резко сгибать коленный модуль, нагревание масла при длительной эксплуатации происходит в меньшей степени, обеспечивается в целом более стабильная работа гидросистемы коленного модуля. Заявленный коленный модуль более долговечный и прочный. Он предназначен для повышенной нагрузки, увеличивает комфорт и естественность походки пациента. Регулировка фазы переноса осуществляется трехфазной трехклапанной гидравлической системой. Во время начальной фазы опоры происходит контролируемое подгибание, сокращающее нагрузку на культю. Устройство представляет собой полицентрический коленный модуль с системой геометрической блокировки и трехступенчатым гидравлическим управлением фазы переноса, которое учитывает изменение скорости ходьбы. Максимальный угол сгибания 150°. Закрепление устройства осуществляется в верхней части при помощи резьбовых проксимальных адаптеров (3), а в нижней части при помощи установки несущего модуля или РСУ (регулировочно-соединительного устройства). Сменные демпферы (32) позволяют регулировать степень полного разгибания колена по предпочтениям и уровню активности пациента. Регулируемый заброс пятки создает дополнительное усилие при сгибании колена при углах около 90°, помогает ограничить чрезмерный заброс пятки и ускоряет возврат устройства в полностью разогнутое положение. Устройство предназначено для использования в составе протезной системы нижней конечности и заменяет функцию отсутствующего колена. Устройство предназначено для использования при ударной нагрузке от среднего до высокого уровня, например, при ходьбе и периодическом беге. Новый гидравлический модуль предназначен для ходьбы по пересеченной местности. Коленный модуль разработан с учетом применения резьбовых проксимальных адаптеров с зажимным винтом, например, адаптер-пирамидка, адаптер гильзовый четырехлепестковый, адаптер под пирамидку, евро-адаптер. Линия юстировки при сборке и настройке протеза (49) должна проходить через: середину гильзы на уровне седалищного бугра (50); точку юстировки коленного модуля (19); отметку 1/3 стопы от пятки, когда стопа (31) разделена на три равные части (см. Фиг. 7). При наличии несоответствий юстировка колена имеет приоритет над юстировкой стопы. Пример установки (см. Фиг. 7, Фиг. 8). Располагают стопу (31) так, чтобы линия выравнивания протеза (49) совпала с отметкой 1/3 стопы от пятки. Устанавливают подходящую высоту пятки под каблук (по высоте каблука обуви пользователя) (51). Используя необходимые адаптеры, присоединяют коленный модуль к стопе (31) и устанавливают надлежащую высоту центра вращения коленного модуля (1). Располагают коленный модуль так, чтобы линия юстировки проходила через точку юстировки коленного модуля (19). Делают первую отметку в середине гильзы (21) на ее латеральной стороне на уровне седалищного бугра (50). Затем делают вторую отметку в середине гильзы (21) дистально (48) и проводят через обе отметки линию. Располагают гильзу (21) так, чтобы линия юстировки (49) проходила через первую отметку в середине гильзы (21) на уровне седалищного бугра (50). Регулируют расположение гильзы (21), чтобы она имела наклон 5° в дополнение к существующему положению (то есть к сгибательной контрактуре бедра) и устанавливают высоту всего протеза. Присоединяют коленный модуль к гильзе (21) с помощью соответствующих адаптеров. Для надежного крепления, после регулировки, наносят на винты резьбовой фиксатор средней прочности и затягивают винты с соответствующим крутящим моментом. Если ось вращения (1) будет смещена назад относительно линии юстировки (49), то для сгибания колена может потребоваться больше усилий. Выбор демпфера влияет на функцию подгибания колена в фазе опоры. Чем жестче демпфер, тем больше усилия нужно приложить для полного выпрямления колена. Факторы, влияющие на выбор демпфера: Активным пациентам может требоваться более жесткий демпфер. Пациенты, привыкшие носить протез без функции подгибание в фазе опоры, могут изначально предпочесть более жесткий демпфер. После двухнедельного пробного периода рекомендуется выбрать более мягкий демпфер. Применение демпферов разной жесткости в каждом конкретном случае протезирования позволяет пациенту понять механизм работы функции подгибания и выбрать оптимальную настройку для более комфортной ходьбы. Настройку сопротивления сгибанию производят через клапан (36) (см. Фиг. 11). Для чего сажают пациента на стул. Распрямляют коленный протез горизонтально. Пациент начинает сгибание колена, и ему позволяют под собственным весом согнуться. Увеличивают сопротивление клапана (36) до тех пор, пока при переходе угла сгибания через 60° не будет наблюдаться небольшой толчок. Также возможна регулировка клапанов: 37 - дополнительного ослабления при сгибании на углах от 0° до 60°, 38 - регулировки сопротивления при разгибании. Клапан (36) влияет на сопротивление сгибанию колена на всем диапазоне. Завинчивание клапана увеличивает его сопротивление, поэтому уменьшает скорость сгибания. Клапан (37) позволяет дополнительно подстроить сопротивление сгибанию колена при сгибании от 0° до 60°. Вывинчивание клапана (37) снимает часть сопротивления клапана F, что ведет к ускорению сгибания колена на участке от 0° до 60°. Клапан (38) влияет на сопротивление разгибанию колена в фазе переноса на всем диапазоне. Завинчивание клапана увеличивает его сопротивление, поэтому уменьшает скорость разгибания. Сопротивление сгибанию обычно больше, чем сопротивление разгибанию. Регулировка клапанов всегда должна обеспечивать полное разгибание колена. Чрезмерное сопротивление разгибанию не позволит колену полностью разогнуться и может поставить под угрозу безопасность в фазе опоры. Как правило, регулировка клапана (37) не требуется, кроме случаев, когда скорость ходьбы пациента низкая и наблюдается чрезмерный заброс пятки. Регулировка высоты демпфера (32) (см. Фиг. 12) осуществляется тонкой пластикой пластиной или прокладкой (33), которая устанавливается под демпфер (12) для регулировки его высоты. Добавление прокладок (33) изменяет точку разблокировки геометрического замка, что позволяет сгибать колено во время фазы переноса. Регулировка высоты демпфера (32) влияет на стабильность коленного модуля и облегчает ходьбу и посадку: более высокий демпфер облегчает переход в сгибание при переносе и уменьшает подгибание в фазе опоры; более низкий демпфер повышает устойчивость устройства и стабильность фазы опоры, задерживая переход в сгибание при переносе. Винт регулировки заброса пятки (35) создает дополнительное усилие при сгибании колена при углах около 90°, и помогает ограничить чрезмерный заброс пятки и ускоряет возврат устройства в полностью разогнутое положение. В отличие от прототипа заявленная гидравлическая система коленного модуля не требует обслуживания, коленный модуль способен изгибаться в разных направлениях как показано на Фиг. 14(А-Д). Заявленное устройство прошло успешные испытания на 45 добровольцах-инвалидах, которые показали, что в нем обеспечивается более стабильная работа гидросистемы коленного модуля, чем в прототипе при интенсивной эксплуатации (см. примеры упражнений на Фиг. 15-21), а также непрерывный быстрый шаг на длинные дистанции до 3 км. А именно, испытания показали, что: в гидросистеме заявленного модуля фильтруются крупные и мелкие продукты износа, выполнена защита заявленного модуля от гидроудара, что позволяет резко сгибать коленный модуль, нагревание масла у заявленного модуля при длительной эксплуатации происходит в меньшей степени, чем в прототипе. Все модули после испытаний остались без повреждений и не перегревались. Контрольно тестируемые коленные модули Total Knee 2000 & Total Knee 2100 при тех же интенсивных нагрузках и быстром шаге на 3 км привели к перегреву всех 45 модулей, 3 поломок гидросистемы вследствие гидроудара и замусориванию гидросистем в 16 модулях крупными и мелкими продуктами износа, что потребовало их разбору их гидравлического корпуса для очистки.