патент
№ RU 224531
МПК B60T17/06

Узел крепления запасного резервуара на хребтовой балке вагона

Авторы:
Васин Роман Викторович
Номер заявки
2024101283
Дата подачи заявки
19.01.2024
Опубликовано
28.03.2024
Страна
RU
Как управлять
интеллектуальной собственностью
Чертежи 
5
Реферат

[23]

Полезная модель относится к области железнодорожного транспорта, в частности к конструкциям узлов крепления тормозного оборудования грузовых вагонов. Узел крепления запасного резервуара состоит из кронштейнов, жестко закрепленных на хребтовой балке вагона и содержащих полку с отверстием, и хомутов для крепления запасного резервуара к кронштейнам при помощи резьбовых соединений через отверстия в полках. Кронштейны закреплены на вертикальной стенке хребтовой балки. Полка содержит дополнительное отверстие и ложемент, жестко закрепленный на ней. Фиксация запасного резервуара осуществляется при помощи хомутов, притягивающих его к ложементам. Кронштейн может быть выполнен из швеллера, уголка или гнутого в эти профили листового металлопроката. Повышается надежность крепления запасного резервуара. 3 з.п. ф-лы, 5 ил.

Формула изобретения

1. Узел крепления запасного резервуара, состоящий из кронштейнов, жестко закрепленных на хребтовой балке вагона и содержащих полку с отверстием, и хомутов для крепления запасного резервуара к кронштейнам при помощи резьбовых соединений через отверстия в полках, отличающийся тем, что кронштейны закреплены на вертикальной стенке хребтовой балки, полка содержит дополнительное отверстие и ложемент, жестко закрепленный на ней, при этом фиксация запасного резервуара осуществляется при помощи хомутов, притягивающих его к ложементам.

2. Узел крепления по п. 1, отличающийся тем, что кронштейны выполнены из швеллера.

3. Узел крепления по п. 1, отличающийся тем, что кронштейны выполнены из уголка.

4. Узел крепления по п. 2 или 3, отличающийся тем, что кронштейны выполнены гнутыми из листового металлопроката.

Описание

[1]

Полезная модель относится к области железнодорожного транспорта, в частности к конструкциям узлов крепления тормозного оборудования грузовых вагонов.

[2]

Из уровня техники известен узел крепления запасного резервуара грузового вагона (патент РФ на ПМ №193426, опубл. 29.10.2019 г.), расположенный на нижней полке хребтовой балки, содержащий крепежные хомуты и ложементы.

[3]

Недостатком данного технического решения является расположение запасного резервуара ниже уровня хребтовой балки без какой-либо защиты. Подобное расположение небезопасно для эксплуатации и может привести к аварийным ситуациям, так как в процессе движения вагона в запасный резервуар может отлетать различный мусор, камни, или он может задеть какие-либо железнодорожные коммуникации, например механизмы стрелочных переводов.

[4]

Еще одним аналогом заявляемого технического решения является узел крепления воздушного резервуара к боковой балке рамы вагона (патент РФ на ПМ №209498, опубл. 16.03.2022 г.), содержащий ложементы и хомуты, при помощи которых воздушный резервуар установлен на стене балки.

[5]

Недостатком данной конструкции является низкая ремонтопригодность, объясняющаяся отсутствием визуального контроля за состоянием узла крепления, скрытого за боковой балкой. Расположение запасного резервуара с внутренней стороны балки способствует позднему обнаружению возникающих аварийных ситуаций. При этом расположение крепежного соединения с внешней стороны вагона, а самого запасного резервуара с внутренней стороны, приводит к необходимости увеличения количества человек, обслуживающих данную конструкцию. Помимо прочего, расположение крепежного соединения с внешней стороны вагона может привести к вандализму (отвинчиванию легкодоступных, из-за нахождения снаружи вагона, гаек третьими лицами).

[6]

Прототипом заявляемого технического решения является узел крепления тормозного оборудования грузового вагона (патент РФ на ПМ №187567, опубл. 12.03.2019 г.) состоящий из кронштейнов, жестко закрепленных на хребтовой балке и содержащих полку с отверстием, и хомутов для крепления запасного резервуара к кронштейнам при помощи резьбового соединения.

[7]

Недостатком прототипа является низкая надежность узла крепления резервуара, обусловленная консольным (одним концом) закреплением кронштейнов для установки воздушного резервуара к хребтовой балке вагона. При этом сварной шов получается небольшой длины. Подобное закрепление приводит к образованию постоянных напряжений от действия силы тяжести воздушного резервуара и работы мест соединения кронштейнов к балке на излом. При наличии динамических нагрузок, возникающих в процессе эксплуатации вагона, данное соединение ненадежно, может привести к образованию трещин и излому, что приведет к аварийной ситуации. Помимо этого в узле отсутствует ложемент, обеспечивающий совместно с хомутами надежное прижатие запасного резервуара. Так же, недостатком является отверстие для крепления одного конца хомута, выполненное в нижней полке хребтовой балки, так как это ослабляет конструкцию рамы и может привести к образованию трещин.

[8]

Техническим результатом заявляемого узла крепления запасного резервуара к раме вагона является повышение надежности его крепления и надежности рамы в целом.

[9]

Технический результат обеспечивается тем, что узел крепления запасного резервуара состоит из кронштейнов, жестко закрепленных на хребтовой балке вагона и содержащих полку с отверстием, и хомутов для крепления запасного резервуара к кронштейнам при помощи резьбовых соединений через отверстия в полках, причем кронштейны закреплены на вертикальной стенке хребтовой балки, полка содержит дополнительное отверстие и ложемент, жестко закрепленный на ней, при этом фиксация запасного резервуара осуществляется при помощи хомутов, притягивающих его к ложементам. Кронштейн может быть выполнен из швеллера, уголка или гнутого в эти профили листового металлопроката.

[10]

Сущность полезной модели поясняется чертежами, где:

[11]

на фиг. 1 - изометрическое изображение узла крепления запасного резервуара на хребтовой балке рамы,

[12]

на фиг. 2 - вид с торца на запасной резервуар,

[13]

на фиг. 3 - вид А на фиг. 1,

[14]

на фиг. 4 - разрез Б-Б на фиг. 2,

[15]

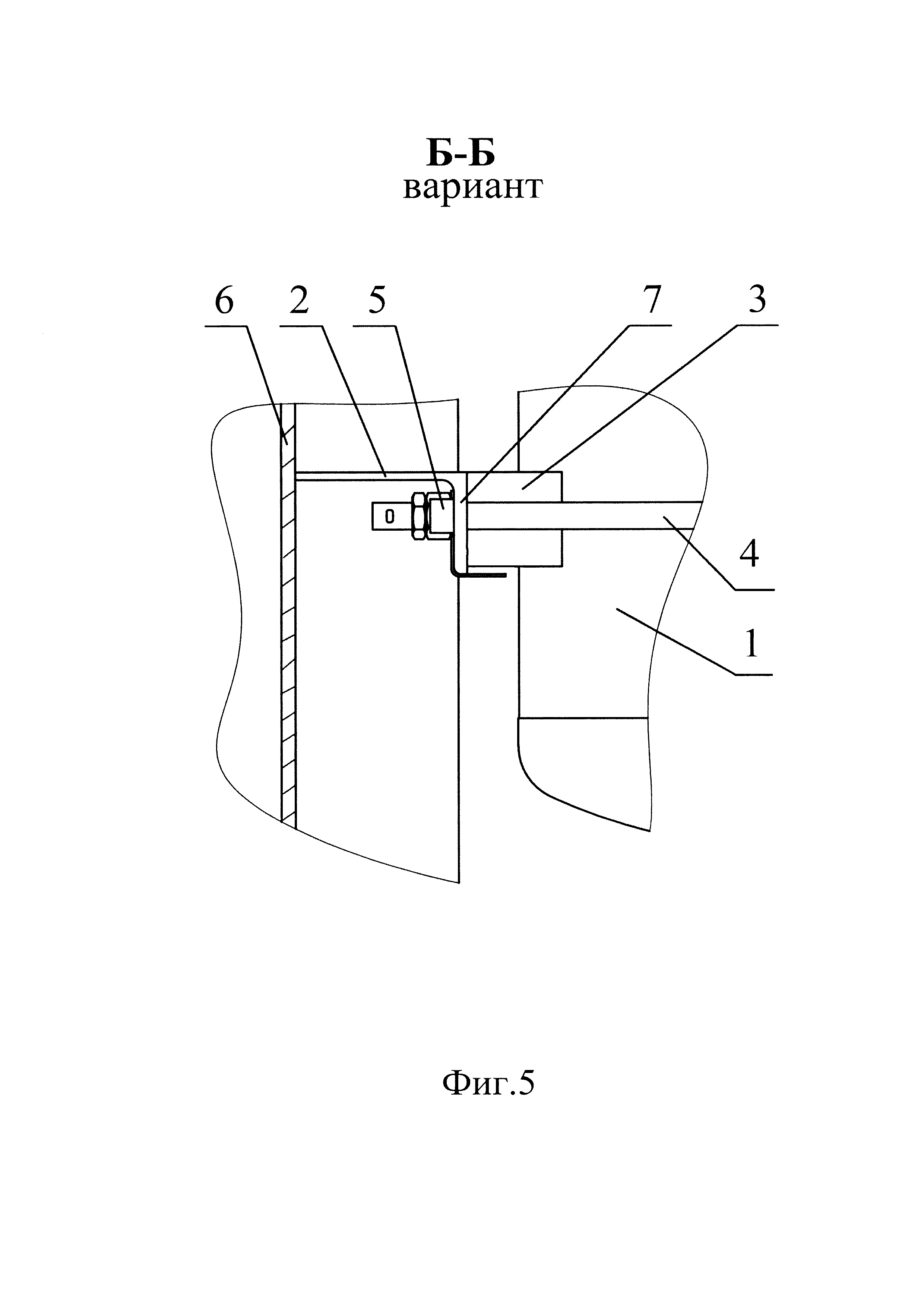
на фиг. 5 - разрез Б-Б на фиг. 2 (вариант изготовления).

[16]

Узел крепления запасного резервуара 1 включает в себя кронштейны 2, ложементы 3 и хомуты 4 с резьбовым соединением 5 (фиг. 1).

[17]

Кронштейн 2 может быть выполнен из швеллера (фиг. 4), уголка (фиг. 5), или гнутого в эти профили листового металлопроката (не показано) и содержит полку 7.

[18]

Два кронштейна 2 жестко (например, при помощи сварного соединения) соединены с вертикальной стенкой 6 хребтовой балки вагона. Полка 7 каждого кронштейна 2, противоположная месту его соединения с вертикальной стенкой 6 хребтовой балки, содержит по два отверстия 8 для взаимодействия с хомутами 4 резьбовым соединением 5 (фиг. 3).

[19]

Между отверстиями 8 на полке 7 каждого кронштейна 2 жестко закреплен ложемент 3, на который установлен запасный резервуар 1 (фиг. 2).

[20]

Хомуты 4 выполнены в форме дуги, концы которого содержат резьбу и заведены в отверстия 8 кронштейнов 2 и закреплены к полкам 7 при помощи резьбового соединения 5.

[21]

Резьбовое соединение 5 представляет собой в основном варианте осуществления гайку, контргайку, шплинт и стопорную шайбу (фиг. 4 и фиг. 5). Возможно другое выполнение резьбового соединения 5, так, например, вместо гайки и контргайки может использоваться самостопорящаяся гайка, а вместо стопорной шайбы - гроверная шайба или различные их комбинации.

[22]

Таким образом, за счет того, что изменена концепция установки кронштейнов 2 узла крепления запасного резервуара на хребтовой балке, а именно: увеличена длина сварного шва за счет расположения кронштейнов 2 вдоль вертикальной стенки 6 хребтовой балки, что привело к увеличению прочности соединения; исключено консольное (закрепление длинного элемента лишь одном концом) расположение кронштейнов, что привело к исключению образования вибраций свободного, не закрепленного конца; исключено отверстие в нижней полке хребтовой балки, что привело к упрочнению конструкции рамы; введен ложемент, что обеспечивает надежное прижатие запасного резервуара и отсутствие его вибраций - достигнуто повышение надежности узла крепления запасного резервуара к раме вагона и надежности рамы в целом.

Как компенсировать расходы
на инновационную разработку
Похожие патенты