патент
№ RU 2244644
МПК B60R25/04

ЗАМОК ЗАЖИГАНИЯ С ПРОТИВОУГОННЫМ УСТРОЙСТВОМ

Авторы:
Жилин А.Н.
Номер заявки
2003126969/11
Дата подачи заявки
03.09.2003
Опубликовано
20.01.2005
Страна
RU
Как управлять
интеллектуальной собственностью
Чертежи 
1
Реферат

[18]

Изобретение относится к оборудованию транспортных средств для предотвращения недозволенного использования или кражи и может быть использовано в электрических системах автомобилей для включения различных узлов и механизмов, сопряженных с противоугонным средством. Замок зажигания с противоугонным устройством содержит корпус со съемным хомутом, охватывающим неподвижный корпусной элемент транспортного средства, в котором размещена подвижная блокируемая деталь, элементы крепления хомута, выполненные в виде крепежного стержня, размещенного в отверстии корпуса и сопрягаемого с отверстиями в хомуте, подпружиненный ригель противоугонного механизма, на цилиндрической поверхности крепежного стержня и на ригеле выполнены поперечные пазы для взаимного блокирования от возможности демонтирования крепежного стержня и хомута в рабочем положении ригеля. Новым является то, что крепежный стержень выполнен с элементом под ключ, обеспечивающим возможность его поворота, с двумя посадочными шейками разных диаметров, выполненными соосно по отношению друг к другу и эксцентрично по отношению к крепежному стержню, для сопряжения с отверстиями хомута. Отверстие в корпусе выполнено глухим и ступенчатым с уменьшением диаметра в глубину. В корпусе выполнены глухие пазы для размещения концов хомута, а поперечный паз на крепежном элементе выполнен кольцевым, охватывающим цилиндрическую поверхность крепежного стержня. Технический результат - повышение жесткости конструкции и повышение надежности в эксплуатации. 2 ил.

[19]

Формула изобретения

Замок зажигания с противоугонным устройством, содержащий корпус со съемным хомутом, охватывающим неподвижный корпусной элемент транспортного средства, в котором размещена подвижная блокируемая деталь, элементы крепления хомута, выполненные в виде крепежного стержня, размещенного в отверстии корпуса и сопрягаемого с отверстиями в хомуте, подпружиненный ригель противоугонного механизма, на цилиндрической поверхности крепежного стержня и на ригеле выполнены поперечные пазы для взаимного блокирования от возможности демонтирования крепежного стержня и хомута в рабочем положении ригеля, отличающийся тем, что крепежный стержень выполнен с элементом под ключ, обеспечивающим возможность его поворота, с двумя посадочными шейками разных диаметров, выполненными соосно по отношению друг к другу и эксцентрично по отношению к крепежному стержню, для сопряжения с отверстиями хомута, отверстие в корпусе выполнено глухим и ступенчатым с уменьшением диаметра в глубину, в корпусе выполнены глухие пазы для размещения концов хомута, а поперечный паз на крепежном элементе выполнен кольцевым, охватывающим цилиндрическую поверхность крепежного стержня.

Описание

[1]

Изобретение относится к оборудованию транспортных средств для предотвращения недозволенного использования или кражи и может быть использовано в электрических системах автомобилей для включения различных узлов и механизмов, сопряженных с противоугонным средством.

[2]

Известны замковые устройства, состоящие из элементов блокировки его подвижных частей во взаимосвязи с сопрягаемыми деталями, закрепленных относительно них с возможностью подачи элементов закрепления упомянутых деталей при помощи поворотного ключа, например, по заявке №95110994/28 и патентам РФ №2200101, №2176200, кл. B 60 R 25/02.

[3]

Известен замок зажигания с противоугонным устройством по патенту РФ №2174078, кл. B 60 R 25/02, содержащий корпус со съемным хомутом, охватывающим неподвижный корпусной элемент транспортного средства, в котором размещена подвижная блокируемая деталь, элементы крепления хомута выполнены в виде крепежного стержня, размещенного в отверстии корпуса и сопрягаемого с отверстиями в хомуте, и подпружиненный ригель противоугонного механизма, на цилиндрической поверхности крепежного стержня выполнена выемка, в которой в рабочем положении размещен ригель - частью своей наружной поверхности, а на ригеле выполнен поперечный паз по месту расположения крепежного стержня в отведенном положении ригеля так, что крепежный стержень можно демонтировать только в отведенном положении ригеля.

[4]

Это устройство является наиболее близким по конструкции к заявляемому техническому решению и принято нами за ближайший аналог.

[5]

К недостаткам ближайшего аналога относятся:

[6]

- недостаточно жесткая конструкция в месте соединения хомута с корпусом и корпусным элементом транспортного средства из-за наличия гарантированных зазоров в сопряжении;

[7]

- низкая стойкость корпуса и хомута к разрушительным воздействиям.

[8]

Задачей технического решения является повышение жесткости конструкции и надежности в эксплуатации.

[9]

Для решения поставленной задачи в замке зажигания с противоугонным устройством, содержащем корпус со съемным хомутом, охватывающим неподвижный корпусной элемент транспортного средства, в котором размещена подвижная блокируемая деталь, элементы крепления хомута, выполненные в виде крепежного стержня, размещенного в отверстии корпуса и сопрягаемого с отверстиями в хомуте, подпружиненный ригель противоугонного механизма, на цилиндрической поверхности крепежного стержня и на ригеле выполнены поперечные пазы для взаимного блокирования от возможности демонтирования крепежного стержня и хомута в рабочем положении ригеля, крепежный стержень выполнен с элементом под ключ, обеспечивающим возможность его поворота, с двумя посадочными шейками разных диаметров, выполненными соосно по отношению друг к другу и эксцентрично по отношению к крепежному стержню, для сопряжения с отверстиями хомута, отверстие в корпусе выполнено глухим и ступенчатым с уменьшением диаметра в глубину, в корпусе выполнены глухие пазы для размещения концов хомута, а поперечный паз на крепежном элементе выполнен кольцевым, охватывающим цилиндрическую поверхность крепежного стержня.

[10]

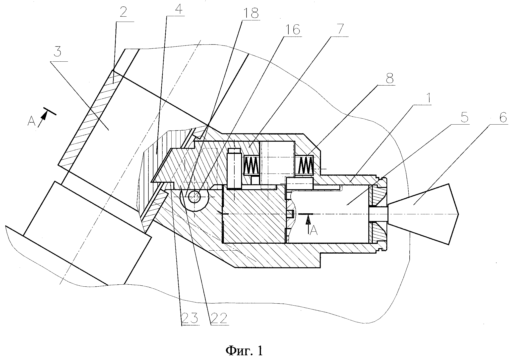
На фиг.1 изображен предлагаемый замок зажигания с противоугонным устройством, осевой разрез.

[11]

На фиг 2 - разрез А-А на фиг.1.

[12]

Замок зажигания содержит корпус 1 и съемный хомут 2, охватывающий неподвижный корпусной элемент 3 транспортного средства, в котором размещена подвижная блокируемая деталь 4, замковое устройство 5 с ключом 6, а также ригель 7, предназначенный для взаимодействия с блокируемой деталью 4 в противоугонном режиме, подпружиненный с помощью пружины 8. На концах 9 и 10 хомута 2 выполнены отверстия 11 и 12 разного диаметра, в корпусе 1 выполнены пазы 13 и 14 для размещения в них концов 9 и 10 хомута 2, а также глухое ступенчатое отверстие 15 с уменьшением диаметра в глубину, в котором установлен крепежный стержень 16, выполненный с двумя посадочными шейками 17 и 18 разных диаметров. Шейки 17 и 18 выполнены эксцентрично по отношению к крепежному стержню 16 и соосно между собой. Конец 19 крепежного стержня 16 снабжен элементом 20, обеспечивающим поворот крепежного стержня при помощи стандартного ключа или отвертки, например головкой под ключ. На крепежном стержне 16 выполнена кольцевая канавка 21, в которой размещен в рабочем положении ригель 7 частью своей наружной поверхности 22. На ригеле 7 выполнен поперечный паз 23 по месту расположения крепежного стержня 16, так что крепежный стержень 16 можно демонтировать только в отведенном положении ригеля 7 (на черт. не показано).

[13]

Работа устройства

[14]

Устройство монтируется на транспортном средстве по месту расположения блокируемой детали 4.

[15]

Вращением крепежного стержня 16 за счет эксцентриситета шеек 17 и 18 относительно крепежного стержня 16 выбираются все зазоры и создается некоторый натяг в сопряжениях крепежного элемента с корпусом 1 и с хомутом 2, а также хомута 2 с неподвижным корпусным элементом транспортного средства 3, чем достигается жесткость общей конструкции. В приведенном на фиг.1 положении ригеля 7 он блокирует деталь 4, при этом канавка 21 препятствует разборке крепежного стержня 16.

[16]

Для разблокирования детали 4 поворотом ключа 6 замкового устройства 5 ригель 7 отводится от детали 3. При этом поперечный паз 23 на ригеле 7 смещается в сторону открывания канавки 21 на крепежном стержне 16.

[17]

Для осуществления демонтажа замка с противоугонным устройством в разблокированном положении ригеля 7 вращением крепежного стержня 16 с помощью гаечного ключа (на чертежах не показан) натяг ослабляется, после чего крепежный стержень 16 может быть демонтирован, а затем осуществляется разборка всего устройства.

Как компенсировать расходы
на инновационную разработку
Похожие патенты