патент
№ RU 2244060
МПК E01F13/00

БЫСТРОСЪЕМНОЕ ОГРАЖДЕНИЕ ТИПА "КАЛИТКА"

Авторы:
Самойленко Е.Н.
Номер заявки
2003118269/03
Дата подачи заявки
20.06.2003
Опубликовано
10.01.2005
Страна
RU
Как управлять
интеллектуальной собственностью
Чертежи 
4
Реферат

[40]

Изобретение относится к области придорожного строительства, а именно к парковочным ограждениям, препятствующим несанкционированному проезду на место парковки случайного автотранспорта. Быстросъемное ограждение содержит опорную плиту с отверстием и установленную на ней основную стойку с размещенным в ее верхней части замком и запорным механизмом, выполненным в виде захвата с выступом и стопором, размещенными в отверстии опорной плиты с возможностью фиксации стопором захвата при зацеплении выступа последнего за опорную плиту. Новым является то, что оно снабжено дополнительной опорной плитой с отверстием и установленной на ней дополнительной стойкой с дополнительным запорным механизмом, выполненным в виде захвата с выступом и стопором, размещенными в отверстии дополнительной опорной плиты с возможностью фиксации стопором захвата при зацеплении выступа последнего за дополнительную опорную плиту, причем основная и дополнительная стойки связаны между собой соединительным элементом, а дополнительный запорный механизм дополнительной стойки закреплен с возможностью перемещения в горизонтальной плоскости относительно дополнительной стойки. Технический результат, обеспечиваемый изобретением, состоит в сокращении затрат на оборудование одного парковочного места и обеспечении надежного и удобного удержания ограждения в открытом положении без дополнительных затрат. 12 з.п.ф-лы, 5 ил.

[41]

Формула изобретения

1. Быстросъемное ограждение, содержащее опорную плиту с отверстием и установленную на ней основную стойку с размещенным в ее верхней части замком и запорным механизмом, выполненным в виде захвата с выступом и стопором, размещенными в отверстии опорной плиты с возможностью фиксации стопором захвата при зацеплении выступа последнего за опорную плиту, отличающееся тем, что оно снабжено дополнительной опорной плитой с отверстием и установленной на ней дополнительной стойкой с дополнительным запорным механизмом, выполненным в виде захвата с выступом и стопором, размещенными в отверстии дополнительной опорной плиты с возможностью фиксации стопором захвата при зацеплении выступа последнего за дополнительную опорную плиту, причем основная и дополнительная стойки связаны между собой соединительным элементом, а дополнительный запорный механизм дополнительной стойки закреплен с возможностью перемещения в горизонтальной плоскости относительно дополнительной стойки.

2. Быстросъемное ограждение по п.1, отличающееся тем, что захват запорного механизма расположен перпендикулярно плоскости соединительного элемента, а захват дополнительного запорного механизма расположен параллельно этой плоскости.

3. Быстросъемное ограждение по п.1, отличающееся тем, что дополнительная стойка выполнена короче основной стойки.

4. Быстросъемное ограждение по п.1, отличающееся тем, что соединительный элемент выполнен в виде, по крайней мере, одной прямолинейной перемычки.

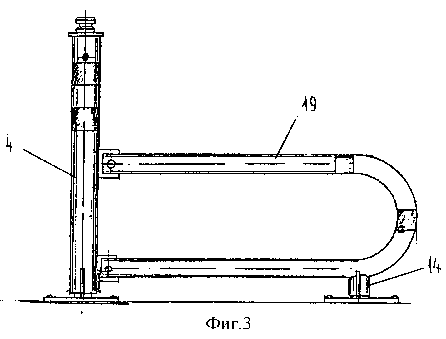
5. Быстросъемное ограждение по п.1, отличающееся тем, что соединительный элемент выполнен в виде двух или более параллельных перемычек.

6. Быстросъемное ограждение по пп.1 и 2, отличающееся тем, что соединительный элемент выполнен в виде перемычки С-образной формы.

7. Быстросъемное ограждение по п.1, отличающееся тем, что соединительный элемент выполнен в виде перемычки Г-образной формы с вертикальным участком, образующим дополнительную стойку.

8. Быстросъемное ограждение по п.1, отличающееся тем, что соединительный элемент связан с одной или обеими стойками с помощью разъема.

9. Быстросъемное ограждение по п.1, отличающееся тем, что соединительный элемент выполнен в виде гибкой связи.

10. Быстросъемное ограждение по п.9, отличающееся тем, что гибкая связь выполнена в виде цепи.

11. Быстросъемное ограждение по п.1, отличающееся тем, что, по крайней мере, одна стойка в верхней части снабжена двумя петлями, одна из которых закреплена на корпусе стойки, а другая жестко связана со стопором, причем замок выполнен висячим и расположен на указанных петлях.

12. Быстросъемное ограждение по п.1, отличающееся тем, что опорная плита и дополнительная опорная плита жестко связаны между собой.

13. Быстросъемное ограждение по п.1, отличающееся тем, что оно снабжено колесом, закрепленным на основной стойке или соединительном элементе и подпружиненным относительно стойки или соединительного элемента.

Описание

[1]

Изобретение относится к устройствам, преграждающим или ограничивающим движение транспортных средств, а именно к парковочным ограждениям, препятствующим несанкционированному проезду на место парковки случайного автотранспорта.

[2]

Известно устройство для резервирования парковочного места, содержащее рамку, узлы крепления рамки к основанию и фиксатор рамки в рабочем положении (патент Франции №2694949).

[3]

В рабочем положении рамка находится в вертикальном положении, перекрывая въезд на место парковки для случайных автомашин, и удерживается в этом положении с помощью фиксатора, запирающегося на замок. Для пропуска автомобиля на место парковки необходимо отрыть замок и перевести рамку в горизонтальное положение, уложив ее на основание, к которому она закреплена.

[4]

Известное устройство имеет следующие недостатки.

[5]

1. Для пропуска автомобиля необходимо наклоняться и укладывать рамку на не всегда чистую поверхность. В условиях российского климата и чистоты улиц, а также из-за того, что автомашина наезжает на рамку, оставляя на ней дополнительную грязь и масло, стекающие с днища автомашины, легко испачкаться при подъеме рамки в рабочее положение.

[6]

2. При маневрировании в стесненных условиях парковки высока вероятность наезда на рамку колесами автомобиля и деформации рамки. При необходимости иметь повышенную прочность рамки для российских условий необходимо увеличивать сечение профиля рамки, из которого она сделана. Однако в этом случае увеличивается высота рамки в горизонтальном положении и, соответственно, возрастает вероятность касания рамки днищем автомашины, особенно в зимних условиях при плохо очищенном парковочном месте.

[7]

3. Известное устройство при необходимости нельзя быстро снять с поверхности, к которой оно закреплено. Такая задача возникает как минимум в двух случаях: при необходимости уборки снега с парковочной площадки, особенно, если уборка производится механизированным способом, и в случае парковки в стесненных условиях, когда ограждение нужно быстро снять, а потом вновь поставить на место.

[8]

Известно также быстросъемное ограждение того же назначения (см. патент РФ №2172800, кл. Е 01 F 13/00, опублик. 27.08.2001).

[9]

Известное ограждение содержит опорную плиту с отверстием и установленную на ней основную стойку с размещенным в ее верхней части замком и запорным механизмом, выполненным в виде захвата с выступом и стопором, размещенными в отверстии опорной плиты с возможностью фиксации стопором захвата при зацеплении выступа последнего за опорную плиту.

[10]

В известном устройстве устранено большинство недостатков аналога по патенту Франции №2694949. Тем не менее, недостатком известного технического решения является небольшая охраняемая зона одного устройства, фактически определяемая диаметром трубы столбика. Поэтому для создания одного парковочного места используют минимум два подобных устройства, которые устанавливают на расстоянии 1,6-1,7 м друг от друга, чем исключается проезд между ними автомобиля. К другим недостаткам известного устройства можно отнести проблему с сохранностью столбика, снятого с опорной плиты на время проезда автомобиля, а также реальная возможность наехать на него или испачкаться при укладке снятого столбика на землю.

[11]

Цель патентуемого изобретения - расширение охраняемой зоны одного устройства и повышение удобства работы за счет обеспечения возможности поворота устройства вокруг вертикальной оси и удержания его в этом положении для пропуска автомобиля на парковочное место.

[12]

Указанная задача осуществляется тем, что быстросъемное ограждение, содержащее опорную плиту с отверстием и установленную на ней основную стойку с размещенным в ее верхней части замком и запорным механизмом, выполненным в виде захвата с выступом и стопором, размещенными в отверстии опорной плиты с возможностью фиксации стопором захвата при зацеплении выступа последнего за опорную плиту, снабжено дополнительной опорной плитой с отверстием и установленной на ней дополнительной стойкой с дополнительным запорным механизмом, выполненным в виде захвата с выступом и стопором, размещенными в отверстии дополнительной опорной плиты с возможностью фиксации стопором захвата при зацеплении выступа последнего за дополнительную опорную плиту, причем основная и дополнительная стойки связаны между собой соединительным элементом, а дополнительный запорный механизм дополнительной стойки закреплен с возможностью перемещения в горизонтальной плоскости относительно дополнительной стойки.

[13]

Указанная задача достигается также тем, что захват запорного механизма расположен перпендикулярно плоскости соединительного элемента, а захват дополнительного запорного механизма расположен параллельно этой плоскости.

[14]

А также тем, что дополнительная стойка выполнена короче основной стойки.

[15]

А также тем, что соединительный элемент выполнен в виде двух или более параллельных перемычек.

[16]

А также тем, что соединительный элемент выполнен в виде, по крайней мере, одной прямолинейной перемычки.

[17]

А также тем, что соединительный элемент выполнен в виде перемычки С-образной формы.

[18]

А также тем, что соединительный элемент выполнен в виде перемычки Т-образной формы с вертикальным участком, образующим дополнительную стойку.

[19]

А также тем, что соединительный элемент связан с одной или обеими стойками с помощью разъема.

[20]

А также тем, что соединительный элемент выполнен в виде гибкой связи, например цепи.

[21]

А также тем, что, по крайней мере, одна стойка в верхней части снабжена двумя петлями, одна из которых закреплена на корпусе стойки, а другая жестко связана со стопором, причем замок выполнен висячим и расположен на указанных петлях.

[22]

А также тем, что опорная плита и дополнительная опорная плита жестко связаны между собой.

[23]

А также тем, что устройство снабжено колесом, закрепленным на основной стойке или соединительном элементе и подпружиненным относительно стойки или соединительного элемента.

[24]

Патентуемое техническое решение представлено на чертежах, где:

[25]

на фиг.1 изображен общий вид быстросъемного ограждения с соединительным элементом в виде параллельных прямых;

[26]

на фиг.2 изображена опорная плита в плане;

[27]

на фиг.3 показан вариант быстросъемного ограждения с соединительным элементом в виде С-образной перемычки и внутренним замком, блокирующим поднятие ручки;

[28]

на фиг.4 соединительный элемент быстросъемного ограждения выполнен в виде горизонтальной прямой и Г-образной перемычки с вертикальным участком, образующим дополнительную стойку;

[29]

на фиг.5 показана в плане примерная схема организации парковочных мест с использованием быстросъемных ограждений типа “Калитка”.

[30]

Быстросъемное ограждение состоит из опорной плиты 1 (фиг.1) с центрально расположенным отверстием 2 (фиг.2) и боковыми отверстиями 3 для крепления опорной плиты к дорожному покрытию. Основная стойка 4 содержит основание в виде вертикально установленных ребер 5 и крышки 6, через которую пропущена тяга 7, связанная с ручкой 8. Запорный механизм для крепления стойки 4 к опорной плите 1 состоит из захвата 9 с выступом и стопора 10, размещенных в отверстии опорной плиты 1 с возможностью фиксации стопором захвата при зацеплении выступа последнего за опорную плиту 1.

[31]

В верхней части основная стойка 4 снабжена двумя петлями 11 с отверстиями под висячий замок 12, причем одна из петель закреплена на корпусе основной стойки, а другая жестко закреплена на тяге 7 и связана со стопором 10 и ручкой 8.

[32]

Устройство содержит также дополнительную опорную плиту 13 с центральным отверстием, на которой установлена дополнительная стойка 14 с ребрами 15. Дополнительная стойка 14 может быть выполнена короче основной стойки 4. Дополнительный запорный механизм для крепления дополнительной стойки 14 к дополнительной опорной плите 13 состоит из захвата 16 с выступом и стопора 17, размещенных в отверстии дополнительной опорной плиты 13 с возможностью фиксации стопором 17 захвата 16 при зацеплении выступа последнего за дополнительную опорную плиту 13. Управление стопором 17 осуществляется с помощью шпингалета 18.

[33]

Основная стойка 4 и дополнительная стойка 14 связаны между собой соединительным элементом, выполненным, например, в виде параллельных прямых 19, прикрепленных к стойке 4, например, накладным элементом 21. На стойки 4 и 14, а также на соединительный элемент 19 наклеены светоотражающие полосы 20.

[34]

Варианты работы устройства показаны на примере размещения съемных ограждений на парковочной площадке, ограниченной высоким бордюрным камнем 22 (фиг.5).

[35]

На парковочной площадке производится разбивка парковочных мест шириной не менее 2,5 м (фиг.5) с помощью разделительных полос 23. Со стороны въезда на площадку монтируют в один ряд опорные плиты 1 и 13, причем дополнительные опорные плиты 13 монтируют на линии разделительных полос 23. Расстояние между опорными плитами 1 и 13 должно быть равно расстоянию “А” между осями стоек 4 и 14 быстросъемного ограждения (фиг.1), а расстояние прохода “Б” между ограждениями (фиг.5) не должно превышать ширины автомашины. После монтажа опорных плит на них устанавливают быстросъемные ограждения таким образом, чтобы дополнительные стойки 14 ставились на дополнительные опорные плиты 13, а основные стойки 4 на плиты 1.

[36]

На Фиг.5, а показано парковочное место, занятое автомашиной 24 и закрытое для выезда съемным ограждением 25. В этом случае ограждение служит одновременно и противоугонным средством.

[37]

Для обеспечения выезда автомашины 26 (фиг.5, 6), закрытой ограждением 27, нужно открыть и снять замок 12с основной стойки 4 этого ограждения и поднять ручку 8. При этом поднимается стопор 10 и освобождает захват 9 из зацепления с опорной плитой 1. Затем слегка приподнимают основную стойку 4 над опорной плитой 1 и поворачивают ограждение 27 на дополнительной опорной плите 13 (как обычную калитку) на угол, обеспечивающий беспрепятственный выезд автомашины 26 с места парковки. В открытом положении ограждение 27 сохраняет гарантированное вертикальное положение и не падает за счет удержания дополнительной стойки 14 в дополнительной опорной плите 13. После выезда автомашины 26 ограждение 27 вновь поворачивают и ставят в исходное положение основной стойкой 4 на опорную плиту 1, опускают ручку 8 и запирают на замок 12. При этом расстояние “Б” между соседними ограждениями недостаточно для проезда случайных автомашин.

[38]

При въезде автомашины 28 на место парковки в стесненных условиях, например с бокового заезда (фиг.5, г), а также при необходимости механизированной очистки площадки, например, от снега ограждение 29 может быть полностью снято с обеих опорных плит. Для этого необходимо, сняв замок 12 и приподняв основную стойку 4, поднять шпингалет 18 до упора и сдвинуть ограждение в горизонтальном направлении до выхода дополнительного захвата 16 из дополнительной опорной плиты 13. Снятое с обеих опорных плит ограждение можно отставить в сторону и полностью освободить въезд на парковочное место. Постановка ограждения на опорные плиты производится в обратной последовательности.

[39]

Таким образом, по сравнению с прототипом патентуемое изобретение позволяет сократить затраты на оборудование одного парковочного места и обеспечить надежное и удобное удержание ограждения в открытом положении без дополнительных затрат.

Как компенсировать расходы
на инновационную разработку
Похожие патенты