патент
№ RU 2240269
МПК B65D35/28

УСТРОЙСТВО ДЛЯ ВЫДАВЛИВАНИЯ ПАСТООБРАЗНОГО МАТЕРИАЛА ИЗ ТЮБИКА

Авторы:
Наумов Ю.В.
Номер заявки
2003105790/12
Дата подачи заявки
03.03.2003
Опубликовано
20.11.2004
Страна
RU
Как управлять
интеллектуальной собственностью
Чертежи 
2
Реферат

[13]

Изобретение относится к санитарно-гигиеническим принадлежностям, а именно для выдавливания из тюбиков пастообразных материалов, например зубной пасты. Устройство для выдавливания пастообразного материала из тюбика содержит корпус, в котором установлен держатель тюбика и размещен механизм вытеснения пастообразного материала из тюбика. Механизм имеет привод, а корпус закрыт крышкой для фиксации в нем держателя и механизма вытеснения. Корпус выполнен в виде цилиндра с открытыми концами. В боковой стенке цилиндра выполнена продольная прорезь, к которой прилегают участки цилиндра, отогнутые наружу с образованием дугообразных лепестков, ограничивающих проем для прохода тюбика. Держатель тюбика объединен с механизмом выдавливания материала и выполнен в виде конического стержня из упругого материала, установленного в корпусе со стороны одного его конца. Стержень имеет продольную прорезь, простирающуюся от его конца малого диаметра к концу большого диаметра. Прорезь разделяет стержень на участок большей длины и на участок меньшей длины. На поверхностях половин участка большей длины выполнены зубья для захвата и удержания хвостовика тюбика. Изобретение позволяет упростить конструкцию устройства. 3 ил.

[14]

Формула изобретения

Устройство для выдавливания пастообразного материала из тюбика, содержащее корпус, в котором установлен держатель тюбика и размещен механизм вытеснения пастообразного материала из тюбика, взаимодействующий с тюбиком и имеющий привод, и крышку для фиксации в корпусе держателя и механизма вытеснения, отличающееся тем, что корпус выполнен в виде цилиндра из упругого материала с открытыми концами, а в боковой стенке цилиндра выполнена продольная прорезь по всей его длине, при этом участки цилиндра, прилегающие к прорези, отогнуты с образованием дугообразных лепестков, отогнутых наружу, обращенных концами в противоположных направлениях друг от друга и ограничивающих проем для прохода тюбика, а держатель тюбика объединен с механизмом выдавливания пастообразного материала и выполнен в виде конического стержня из упругого материала, установленного в корпусе со стороны одного его конца и имеющего продольную прорезь, простирающуюся от его конца малого диаметра к концу его большого диаметра и разделяющую стержень на участок большей длины, на поверхностях половин которого, обращенных друг к другу, выполнены зубья для захвата и удержания хвостовика тюбика и на участок меньшей длины, поверхности половин которого, обращенные друг к другу, выполнены плоскими и плотно прилегают одна к другой, а привод выполнен в виде диска, жестко закрепленного центральной частью внутренней торцовой поверхности к наружной торцовой поверхности участка большого диаметра стержня, на наружной окружной поверхности диска расположены зубцы для вращения диска и связанного с ним стержня относительно цилиндра, при этом на двух диаметрально противоположных участках наружной торцовой поверхности диска расположены два сегментообразных выступа, каждый из которых ограничен продольными дугообразной поверхностью, плоской линейной поверхностью и торцовой линейной плоскостью, параллельной внутренней торцовой поверхности диска, а со стороны противоположного конца цилиндра расположена плоская крышка, установленная с зазором относительно торца этого конца цилиндра, выполненная из упругого материала и имеющая радиальную прорезь, выходящую в центральную кольцевую полость крышки, а в наружных окружных поверхностях половин участка меньшего длины стержня выполнены кольцевые канавки, ограничивающие в сомкнутом положении этих половин стержня кольцевую шейку, проходящую с натягом через радиальную прорезь крышки, ширина которой меньше диаметра шейки с последующей установкой шейки в указанной полости крышки, диаметр которой равен диаметру шейки, и головку, диаметр которой больше диаметра кольцевой полости крышки, при этом в средней части наружной поверхности каждого лепестка цилиндра выполнен обращенный наружу дугообразный выступ для взаимодействия с участком тюбика, прилегающим к его крышке при окончательном выдавливании из него пастообразного материала.

Описание

[1]

Изобретение относится к санитарно-гигиеническим принадлежностям и может быть использовано для выдавливания из тюбиков пастообразных материалов, например зубной пасты, косметических средств.

[2]

Наиболее близким по технической сущности и достигаемому техническому результату к заявляемому является устройство для выдавливания пастообразного материала из тюбика, содержащее корпус, в котором установлен держатель тюбика, взаимодействующий с тюбиком и имеющий привод, и крышку для фиксации в корпусе держателя и механизма вытеснения (см., например, патент РФ №2106292 по кл. В 65 D 35/28 от 1997).

[3]

Однако известное устройство имеет достаточно сложную конструкцию благодаря раздельному выполнению держателя тюбика и механизма вытеснения пастообразного материала, который выполнен двухступенчатым.

[4]

Техническим результатом, на достижение которого направлено заявляемое устройство, является упрощение его конструкции за счет того, что держатель тюбика объединен с механизмом вытеснения пастообразного материала, а привод выполнен одноступенчатым.

[5]

Для достижения указанного технического результата в известном устройстве для выдавливания пастообразного материала из тюбика, содержащем корпус, в котором установлен держатель тюбика и размещен механизм вытеснения пастообразного материала из тюбика, взаимодействующий с тюбиком и имеющий привод, и крышку для фиксации в корпусе держателя и механизма вытеснения, корпус выполнен в виде цилиндра из упругого материала с открытыми концами, а в боковой стенке цилиндра выполнена продольная прорезь по всей его длине, при этом участки цилиндра, прилегающие к прорези, отогнуты с образованием дугообразных лепестков, отогнутых наружу, обращенных концами в противоположных направлениях друг от друга и ограничивающих проем для прохода тюбика, а держатель тюбика объединен с механизмом выдавливания пастообразного материала и выполнен в виде конического стержня из упругого материала, установленного в корпусе со стороны одного его конца и имеющего продольную прорезь, простирающуюся от его конца малого диаметра к концу его большого диаметра и разделяющую стержень на участок большой длины, на поверхностях половин которого, обращенных друг к другу, выполнены зубья для захвата и удержания хвостовика тюбика, и на участок меньшей длины, поверхности половин которого, обращенные друг к другу, выполнены плоскими и плотно прилегают одна к другой, а привод выполнен в виде диска, жестко закрепленного центральной частью внутренней торцовой поверхности участка большого диаметра стержня, на наружной окружной поверхности диска расположены зубцы для вращения диска и связанного с ним стержня относительно цилиндра, при этом на двух диаметрально противоположных участках наружной торцовой поверхности диска расположены два сегментообразных выступа, каждый из которых ограничен продольной дугообразной поверхностью, плоской линейной поверхностью и торцовой линейной плоскостью, параллельной внутренней торцовой поверхности диска, а со стороны противоположного конца цилиндра расположена плоская крышка, установленная с зазором относительно торца этого конца цилиндра, выполненная из упругого материала и имеющая радиальную прорезь, выходящую в центральную кольцевую полость крышки, а в наружных окружных поверхностях половин участка меньшей длины стержня выполнены кольцевые канавки, ограничивающие в сомкнутом положении этих половин стержня кольцевую шейку, проходящую с натягом через радиальную прорезь крышки, ширина которой меньше диаметра шейки с последующей установкой шейки в указанной полости крышки, диаметр которой равен диаметру шейки, и головку, диаметр которой больше диаметра кольцевой полости крышки, при этом в средней части наружной поверхности каждого лепестка цилиндра выполнен обращенный наружу дугообразный выступ для взаимодействия с участком тюбика, прилегающим к его крышке при окончательном выдавливании из него пастообразного материала.

[6]

На фиг.1 изображено устройство для выдавливания пастообразного материала из тюбика, вид сбоку.

[7]

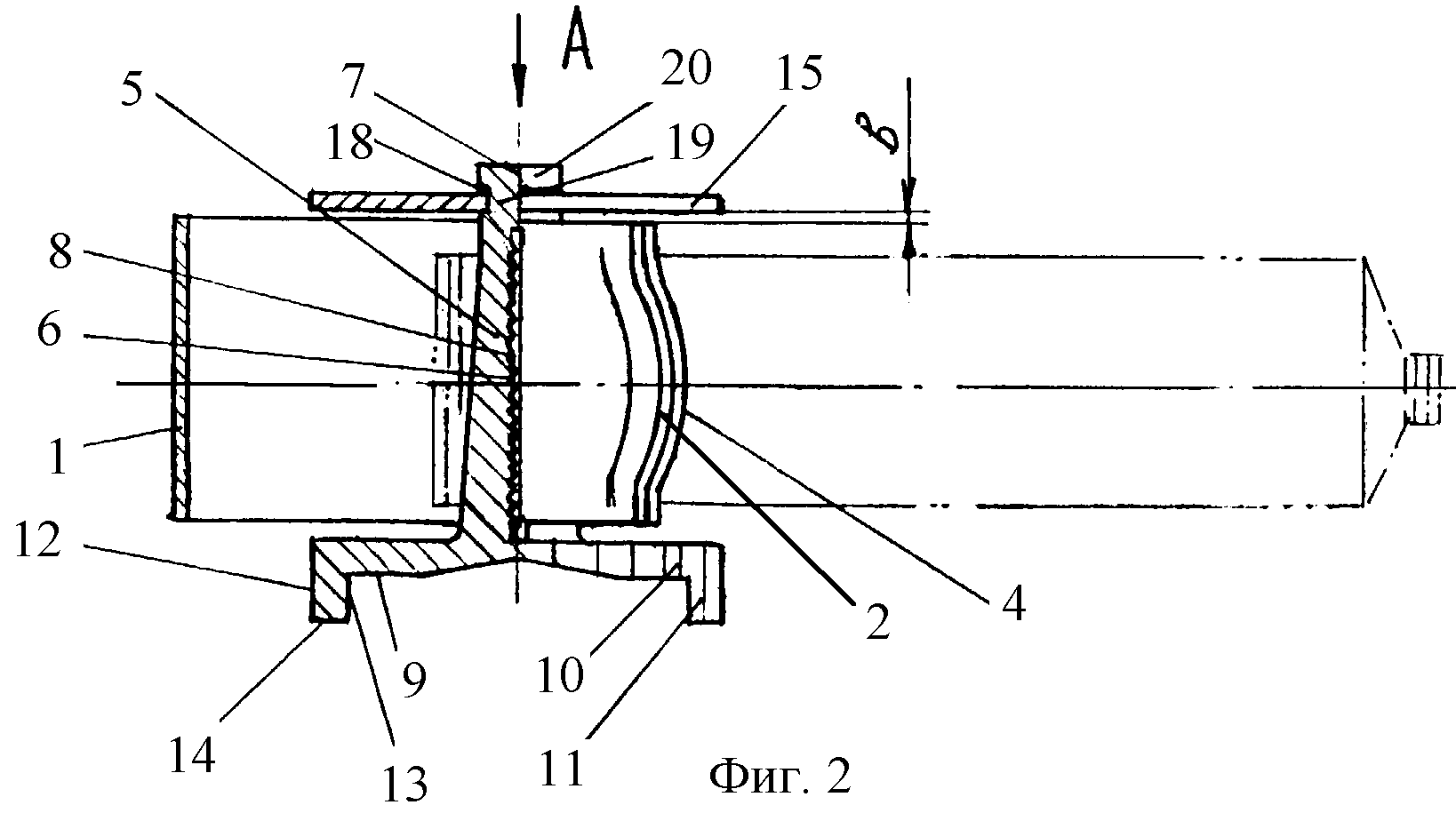
На фиг.2 изображено то же, вид сверху.

[8]

На фиг.3 изображен вид А фиг.2.

[9]

Устройство для выдавливания пастообразного материала из тюбика содержит корпус 1 из упругого материала в виде цилиндра с открытыми концами. В боковой стенке цилиндра по всей ее длине выполнена продольная прорезь. Участки корпуса, прилегающие к прорези, отогнуты с образованием дугообразных лепестков 2, отогнутых наружу, обращенных концами в противоположных направлениях друг от друга и ограничивающих проем “а” для прохода тюбика 3 с пастообразным материалом. В средней части наружной поверхности каждого лепестка 2 выполнен обращенный наружу дугообразный выступ 4 для взаимодействия с участками тюбика 3, прилегающими к его крышке при окончательном выдавливании из него пастообразного материала. Держатель тюбика 3 объединен с механизмом выдавливания пастообразного материала из тюбика и выполнен в виде конического стержня 5 из упругого материала, установленного в корпусе 1 со стороны одного его конца.

[10]

В стержне выполнена продольная прорезь, простирающаяся от его конца малого диаметра к концу его большого диаметра. Прорезь разделяет стержень 5 на участок большей длины 6 и на участок меньшей длины 7. На поверхностях половин участка 6 стержня, обращенных друг к другу, выполнены зубья 8 для захвата и удержания хвостовика тюбика 3. Поверхности половин участка 7, обращенные друг к другу, выполнены плоскими и плотно прилегают друг к другу. Привод выполнен в виде диска 9, жестко закрепленного центральной частью внутренней торцовой поверхности к наружной торцовой поверхности участка большого диаметра стержня 5. На наружной окружной поверхности диска 9 расположены зубцы 10 для вращения диска 9 и связанного с ним стержня 5 относительно цилиндра корпуса 1. На двух диаметрально противоположных участках наружной торцовой поверхности диска 9 расположены два сегментообразных выступа 11, каждый из которых ограничен продольной дугообразной поверхностью 12, плоской линейной поверхностью 13 и торцовой линейной поверхностью 14, параллельной внутренней торцовой поверхности диска 9. Со стороны противоположного конца корпуса 1 расположена плоская крышка 15, установленная с зазором “в” относительно торца этого конца цилиндра. Крышка выполнена из упругого материала и имеет радиальную прорезь 16, выходящую в центральную кольцевую полость 17. В наружных окружных поверхностях половин участка 7 меньшей длины стержня 5 выполнены кольцевые канавки 18, ограничивающие в сомкнутом положении этих половин стержня кольцевую шейку 19. Шейка 19 проходит с натягом через радиальную прорезь 16, ширина которой меньше диаметра шейки 19, с последующей установкой шейки 19 в полости 17, диаметр которой равен диаметру шейки 19. Канавка 18 также отделяет в стержне головку 20, диаметр которой больше диаметра полости 17 крышки.

[11]

Устройство работает следующим образом. Тюбик 3, из которого необходимо произвести выдавливание пастообразного материала, закрепляют хвостовиком в стержне 5. Для этого нажимают на выступы 11 в направлении их сближения и благодаря упругим свойствам материала стержня 5 раздвигают прорезь стержня и устанавливают хвостовик тюбика 3 в участок 6 прорези. Затем отпускают выступы 11 так, что зубья 8 участка 6 захватывают и удерживают хвостовик тюбика в участке 6 стержня 5. После этого вводят стержень 5 с закрепленным в нем тюбиком 3 через проем “а” в корпус 1. При этом лепестки 2 упруго разжимаются и после введения в корпус 1 стержня 5 с тюбиком 3 упруго прижимаются к тюбику. Затем на противоположный конец стержня 5 устанавливают крышку 15. Для этого шейку 19 вводят в радиальную прорезь 16 с натягом так, что эта прорезь раздвигается шейкой 19, которая входит в полость 17, и крышка 15 защелкивается на стержне 5. При этом торцовые поверхности участков головки 20, ограниченные боковыми стенками канавки 18, располагаются с противоположных сторон торцовых поверхностей крышки 15 для фиксации ее в осевом направлении.

[12]

Для осуществления выдавливания пастообразного материала из тюбика 3 отвертывают его пробку и, удерживая одной рукой корпус 1, другой рукой - за зубцы 10 вращают диск 9, наматывая тюбик 3 на стержень 5. При этом за счет давления, создаваемого поверхностями лепестков 2 на тюбик, происходит выдавливание из него пастообразного материала. После выдавливания из тюбика необходимого количества пастообразного материала тюбик закрывают пробкой. После окончания выдавливания материала из основной части тюбика и приближении участков тюбика, прилежащих к его пробке, к лепесткам 2 эти участки контактируют с выступами 4 лепестков для полного выдавливания пастообразного материала из тюбика.

Как компенсировать расходы
на инновационную разработку
Похожие патенты