патент
№ RU 2240051
МПК A61B17/00

СПОСОБ РЕЗЕКЦИИ ДВЕНАДЦАТИПЕРСТНОЙ КИШКИ ПРИ ЯЗВЕ, ОСЛОЖНЕННОЙ СТЕНОЗОМ И ПЕНЕТРАЦИЕЙ

Авторы:
Романенков С.Н.
Номер заявки
2003109597/14
Дата подачи заявки
04.04.2003
Опубликовано
20.11.2004
Страна
RU
Как управлять
интеллектуальной собственностью
Чертежи 
1
Реферат

[22]

Изобретение относится к медицине, а именно к хирургии, и может быть применимо для резекции двенадцатиперстной кишки при язве, осложненной стенозом и пенетрацией. Производят поперечную переднебоковую серомиотомию. Коагулируют сосуды подслизистого слоя. Вскрывают просвет двенадцатиперстной кишки. Производят пристеночную мобилизацию задней стенки в сторону привратника. Пересекают заднюю стенку послойно от слизистой оболочки к серозной. Рассекают продольно рубцово-измененную стенку с двух сторон от язвы до измененных тканей, затем иссекают ее циркулярно. Накладывают однорядный анастомоз. В частном случае, накладывают дуоденодуоденоанастомоз. В частном случае, при вовлечении в рубцовый процесс дистальной мышечной порции пилорического жома производят дистальный пилоролизис, формируют пилородуоденоанастомоз, при его формировании захватывают серозную, слизистую и подслизистую оболочку привратника, не захватывая мышечную. Способ позволяет произвести экономную резекцию, сохранить функцию привратника, предупредить повреждение терминального отдела холедоха и протока поджелудочной железы. 2 з.п.ф-лы, 2 ил.

[23]

Формула изобретения

1. Способ резекции двенадцатиперстной кишки при язве, осложненной стенозом и пенетрацией, включающий мобилизацию двенадцатиперстной кишки, циркулярную дуоденотомию, удаление язвенного дефекта и наложение анастомоза, отличающийся тем, что производят поперечную передне-боковую серомиотомию, коагулируют сосуды подслизистого слоя, вскрывают просвет двенадцатиперстной кишки, производят пристеночную мобилизацию задней стенки в сторону привратника, пересекают заднюю стенку послойно от слизистой оболочки к серозной, продольно рассекают рубцово-измененную стенку с двух сторон от язвы до измененных тканей, затем иссекают ее циркулярно, накладывают однорядный анастомоз.

2. Способ по п.1, отличающийся тем, что накладывают дуоденодуоденоанастомоз.

3. Способ по п.1, отличающийся тем, что при вовлечении в рубцовый процесс дистальной мышечной порции пилорического жома производят дистальный пилоролизис, формируют пилородуоденоанастомоз, при его формировании захватывают серозную, слизистую и подслизистую оболочку привратника, не захватывая мышечную.

Описание

[1]

Изобретение относится к области медицины, а именно к хирургии двенадцатиперстной кишки, и может быть использовано при лечении больных с осложненными язвами двенадцатиперстной кишки.

[2]

Известен способ лечения больных язвенной болезнью двенадцатиперстной кишки, включающий радикальную дуоденопластику. При локализации язвенного процесса на задней стенке двенадцатиперстной кишки выполняют ее сегментарное иссечение. Для этого производят мобилизацию луковицы двенадцатиперстной кишки по большой и малой кривизне. Изогнутым зажимом над капсулой поджелудочной железы делают тоннель и над ним пересекают стенку двенадцатиперстной кишки, вскрывая просвет кишки через язву. Выделяют концы двенадцатиперстной кишки от язвы вверх и вниз методом тоннелизации. Рубцово-язвенные участки кишки иссекают вместе с язвой. Анастомоз формируют одним рядом швов (Оноприев В.И. Этюды функциональной хирургии язвенной болезни. Краснодар, 1995, 293 с.).

[3]

Недостатками способа являются: возможность повреждения при тоннелизации пилорического жома, терминального отдела холедоха, протока поджелудочной железы.

[4]

Сущность предлагаемого способа резекции двенадцатиперстной кишки при язве, осложненной стенозом и пенетрацией, состоит в том, что выполняют мобилизацию двенадцатиперстной кишки, циркулярную дуоденотомнию, удаление язвенного дефекта и наложение дуоденодуоденоанастомоза, при этом циркулярную дуоденотомию выполняют дистальнее язвенного дефекта, пересекая заднюю и боковую стенки двенадцатиперстной кишки от слизистой оболочки к серозной послойно, затем осуществляют мобилизацию резецируемого участка в сторону привратника, после чего стенку мобилизованного участка продольно рассекают до границы неизмененных тканей.

[5]

Другое отличие способа от известного состоит в том, что в случае дистального пилоролизиса пилородуоденоанастомоз накладывают без захвата в шов мышечных волокон пилорического жома.

[6]

Циркулярная дуоденотомия, начиная от малой кривизны, ниже и вне зоны рубцово-язвенного поля с последующей мобилизацией резецируемого участка в сторону привратника, проста в исполнении и обеспечивает полное удаление рубцово-измененной стенки, поэтапное пересечение задней и боковой, по большой кривизне, стенки двенадцатиперстной кишки, контролируемое со стороны внутреннего и наружного ее слоя (от слизистой оболочки к серозной оболочке), позволяет не выходить за пределы собственно стенки двенадцатиперстной кишки, что предупреждает повреждение терминального отдела гепатикохоледоха и протока поджелудочной железы, продольное рассечение через рубцовое поле до неизмененной стенки с двух сторон от язвы, позволяет четко определить границы рубца, что необходимо для экономной резекции двенадцатиперстной кишки по верхнему краю от язвы, в случае дистального пилоролизиса наложение пилородуоденоанастомоза обеспечивает нормальное функционирование привратника.

[7]

Способ осуществляется следующим образом. Производят лапаротомию, оценивают патологический процесс. Производят мобилизацию двенадцатиперстной кишки путем освобождения ее переднебоковой поверхности от брыжейки поперечно-ободочной кишки, рассечения переходной складки брюшины по большой кривизне и мобилизацию задней стенки с головкой поджелудочной железы. Это позволяет расправить стенку двенадцатиперстной кишки, увеличить ее подвижность. При этом четко определяют границу рубцово-язвенного поля, прослеживают ход общего желчного протока. По нижней границе рубцово-язвенного поля со стороны малой кривизны освобождают и приподнимают на держалках боковую стенку двенадцатиперстной кишки. После чего выделяют и лигируют 1-2 сосуда, входящие в стенку двенадцатиперстной кишки со стороны передней поверхности головки поджелудочной железы. Между держалками выполняют поперечную переднебоковую серомиотомию с последующей прецизионной коагуляцией сосудов подслизистого слоя. Затем вскрывают просвет двенадцатиперстной кишки. Проксимальную и дистальную стенки двенадцатиперстной кишки берут на держалки. Поэтапно производят пристеночное отделение задней стенки двенадцатиперстной кишки от поджелудочной железы по бессосудистой зоне с последующим ее послойным пересечением от слизистой оболочки к серозной оболочке и взятием на держалки. Циркулярную дуоденотомию завершают пересечением мостика двенадцатиперстной кишки со стороны большой кривизны с лигированием 1-2 сосудов, входящих в стенку двенадцатиперстной кишки со стороны задней поверхности головки поджелудочной железы. Аборальный конец берут на 4 держалки (2 передне-боковые и 2 заднебоковые). Проксимальную часть с рубцово-язвенным полем острым путем отделяют от капсулы поджелудочной железы по направлению к привратнику (снизу-вверх) с лигированием сосудов. При этом четко контролируют ход общего желчного протока, расположение большого сосочка двенадцатиперстной кишки и пилорического жома. На мобилизованной удаляемой части двенадцатиперстной кишки продольно рассекают рубцовое поле с двух сторон от язвы до неизмененной стенки. Затем циркулярно иссекают рубцово-язвенное поле, при этом максимально сохраняют неизмененную стенку на оральном конце двенадцатиперстной кишки. После удаления патологически измененного отдела двенадцатиперстной кишки формируют дуоденодуоденоанастомоз одним рядом швом (викрил 4/0).

[8]

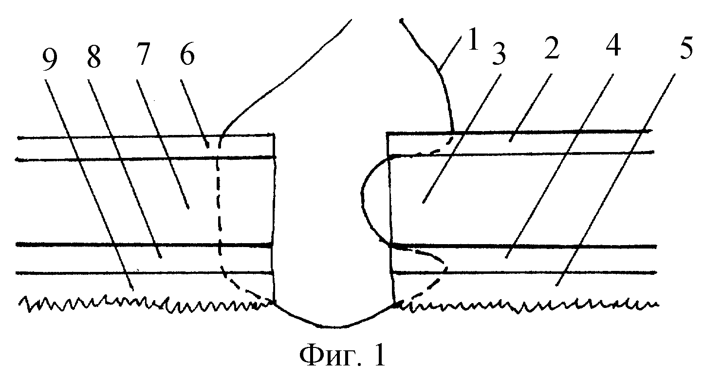
Если дистальная мышечная порция пилорического жома вовлечена в рубцовый процесс, производят дистальный пилоролизис. Предварительно выполняют прецизионную коагуляцию сосудов подслизистого слоя. Накладывают однорядный анастомоз (викрил 4/0): на расстоянии 0,5 см от линии резекции вкол (нить 1) с захватом только серозной оболочки 2 привратника. Мышечную оболочку 3 в шов не берут. Далее производят вкол с захватом подслизистой 4 и края слизистой 5 оболочек. Затем производят вкол в край слизистой 9 с захватом подслизистой 8, мышечной 7 и серозной 6 оболочек двенадцатиперстной кишки. Расстояние между стежками 0,3-0,4 см.

[9]

На фиг.1 изображена проекция наложения шва; на фиг.2 - боковая проекция завершенного шва.

[10]

Пример. Больной К., 41 год, поступил в хирургическое отделение 11.01.99 года, история болезни № 200/30.

[11]

Язвенный анамнез 12 лет. Клиническая картина соответствовала язвенной болезни двенадцатиперстной кишки, осложненной субкомпенсированным стенозом выходного отдела желудка, что и явилось показанием для оперативного лечения.

[12]

После соответствующей подготовки 19.01.99 г. выполнена операция: дуоденогастральная резекция с сохранением привратника. Верхнесрединная лапаротомия. При ревизии установлено, что желудок больших размеров, в бульбарном отделе двенадцатиперстной кишки по заднебоковой и переднебоковой стенках две язвы в диаметре около 1,0 см каждая. Этот отдел двенадцатиперстной кишки деформирован, стенка его рубцово изменена на протяжении 2 см. Произведена мобилизация двенадцатиперстной кишки путем освобождения ее передней поверхности от брыжейки поперечно-ободочной кишки и рассечения переходной складки брюшины по большой кривизне с выделением супрадуоденального отдела общего желчного протока из рубцового поля и мобилизация задней стенки головки поджелудочной железы. Определена граница рубцово-язвенного поля. Установлено, что язва на заднебоковой стенке пенетрирует в поджелудочную железу. По нижней границе рубцово-язвенного поля со стороны малой кривизны освобождена и приподнята на держалках стенка двенадцатиперстной кишки. Выделены и лигированы два сосуда, входящих в стенку двенадцатиперстной кишки со стороны передней поверхности головки поджелудочной железы. Между держалками выполнена поперечная переднебоковая серомиотония с последующей прецизионной коагуляцией сосудов подслизистого слоя. Вскрыт просвет двенадцатиперстной кишки, который в рубцово-измененном отделе сужен до 0,6 см в диаметре. Поэтапно произведена пристеночная мобилизация задней стенки двенадцатиперстной кишки с последующим ее послойным пересечением от слизистой оболочки к серозной оболочке. Циркулярная дуоденотомия завершена пересечением мостика боковой по большой кривизне стенки двенадцатиперстной кишки изнутри кнаружи (от слизистой оболочки к серозной оболочке). Проксимальная часть с рубцово-измененным полем острым путем отделена от капсулы поджелудочной железы с лигированием сосудов. Па мобилизованном удаляемом участке двенадцатиперстной кишки продольно рассечена рубцово-измененная стенка с двух сторон от язвы до неизмененных тканей, затем циркулярно иссечена. Учитывая, что дистальная порция пилорического жома также рубцово изменена, произведен дистальный пилоролизис. Проверено состояние привратника. Наблюдается его спазм. В пилорический канал введен зонд № 10, привратник релаксировался. Пилородуоденальный переход восстановлен однорядным анастомозом (викрил 4/0): на расстоянии 0,5 см от линии резекции вкол с захватом только серозной оболочки привратника. Мышечная оболочка в шов не взята. Далее производят вкол с захватом подслизистой и края слизистой оболочек. Затем производят вкол в край слизистой с захватом подслизистой, мышечной и серозной оболочек двенадцатиперстной кишки. Расстояние между стежками 0,3-0,4 см. Далее выполнена резекция желудка с сохранением привратника.

[13]

Гистологическое заключение № 166-170 - хронические язвы двенадцатиперстной кишки в стадии обострения, в стенке желудка морфологическая картина поверхностного гастрита. Ближайший послеоперационный период протекал без осложнений. Назогастральный зонд удален на вторые сутки. С 3-х суток разрешено пить, с 4-х суток стол № 0, с 5-х суток стол № 2. На 10-е сутки после операции выписан на амбулаторное лечение у хирурга.

[14]

При контрольном обследовании: жалоб не предъявляет, диету не соблюдает, работает на прежней работе, ФГДС - розетка кардии смыкается, желудок малых размеров, натощак небольшое количество слизи, слизистая розовая, линия анастомоза не визуализируется, привратник функционирует, дуоденогастральный рефлюкс отсутствует; луковица двенадцатиперстной кишки уменьшена в объеме, слизистая розовая. Рентгеноскопия ж.к.т.: акт глотания не нарушен, газовый пузырь желудка без дополнительных теней, желудок уменьшенной емкости, натощак содержит незначительное количество слизи, рельеф слизистой представлен извитыми складками, эвакуация своевременная порционная, привратник функционирует; луковица двенадцатиперстной кишки умеренно деформирована, контрастная масса свободно продвигается по двенадцатиперстной кишке в дистальном направлении; через 60 минут около 1/3 контрастной массы в желудке. Результат лечения расценен как хороший.

[15]

Всего по данной методике прооперировано 12 больных с осложненной язвенной болезнью двенадцатиперстной кишки в возрасте от 32 до 56 лет. Осложнений после операции не наблюдалось. Все больные приступили к работе, жалоб не предъявляют. В сроки наблюдения до 5 лет проведено контрольное обследование. Жалоб больные не предъявляют, диету строго не соблюдают, рецидива язвенной болезни не выявлено. При рентгенологическом исследовании выявлена порционная, ритмичная эвакуация из желудка ФГДС - зоны анастомозов не прослеживаются, привратник функционирует.

[16]

Предлагаемый способ резекции двенадцатиперстной кишки обеспечивает следующие преимущества.

[17]

1. Прост в исполнении и обеспечивает полное удаление рубцово-измененной стенки двенадцатиперстной кишки за счет циркулярной дуоденотомии диетальнее границы рубцово-язвенного поля с последующей мобилизацией резецируемого участка в сторону привратника (снизу-вверх).

[18]

2. Предупреждение повреждения терминального отдела холедоха и протока поджелудочной железы достигают за счет пересечения задней и боковой по большой кривизне стенки двенадцатиперстной кишки от слизистой оболочки к серозной оболочке послойно и отделения рубцово-язвенного поля от капсулы поджелудочной железы острым путем под контролем зрения.

[19]

3. Экономную резекцию двенадцатиперстной кишки в проксимальном направлении производят за счет продольного рассечения рубцово-измененной стенки до неизмененных тканей с двух сторон от язвы, с последующим удалением рубцово-язвенного поля.

[20]

4. Сохранение функции привратника после дистального пилоролизиса обеспечивают, если накладывают пилородуоденоанастомоз без захвата в шов мышечных волокон привратника.

[21]

5. Профилактику развития постгастрорезекционных расстройств обеспечивает сохраненный привратник за счет ритмичного, порционного поступления желудочного содержимого в двенадцатиперстную кишку.

Как компенсировать расходы
на инновационную разработку
Похожие патенты