патент
№ RU 2239506
МПК B21D11/06

СТАН ДЛЯ ИЗГОТОВЛЕНИЯ СПИРАЛЕЙ ШНЕКОВ

Авторы:
Кислов В.Г.
Номер заявки
2003132139/02
Дата подачи заявки
05.11.2003
Опубликовано
10.11.2004
Страна
RU
Как управлять
интеллектуальной собственностью
Чертежи 
1
Реферат

[51]

Изобретение относится к обработке металлов давлением и может быть использовано для изготовления холодной прокаткой спиралей шнеков, применяемых в различных отраслях хозяйства. В стане для изготовления спиралей шнеков выводная проводка выполнена с возможностью ее замены на станине, механические передачи приводной системы от общего двигателя к валкам расположены раздельно сверху и сбоку станины-клети, причем передачи движения на валки непосредственно через их опоры в станине-клети, расположенные сбоку, находятся на противоположных сторонах станины-клети, а общий двигатель приводной системы установлен на станине-клети, над верхним опорным валком дополнительно установлен демпфирующий груз с упругим элементом с возможностью непрерывного нажима на верхний опорный валок и с возможностью регулировки усилия этого нажима, при этом стан снабжен системой для подачи смазочно-охладительной жидкости в область контакта прокатных валков с обрабатываемым ленточным материалом. Обеспечивается значительное повышение качества работы и удобства производственного использования. 2 ил.

[52]

Формула изобретения

Стан для изготовления спиралей шнеков, содержащий смонтированные между опорными валками в станине-клети прокатные валки с переходными участками, причем диаметр опорных валков в зоне выхода спирали меньше, чем в зоне их контакта с прокатными валками, транспортную проводку, вводную проводку для обрабатываемого холодной прокаткой ленточного материала, выводную проводку, изготовленную в виде упора, имеющего геликоидную рабочую поверхность для контакта с изделием, и хвостовика, связанного с упором, расположенного между переходными участками валков и закрепленного на станине с возможностью регулировок положения выводной проводки, приводную систему для валков, отличающийся тем, что выводная проводка выполнена с возможностью ее замены на станине, механические передачи приводной системы от общего двигателя к валкам расположены раздельно сверху и сбоку станины-клети, причем передачи движения на валки непосредственно через их опоры в станине-клети, расположенные сбоку, находятся на противоположных сторонах станины-клети, а общий двигатель приводной системы установлен на станине-клети, над верхним опорным валком дополнительно установлен демпфирующий груз с упругим элементом с возможностью непрерывного нажима на верхний опорный валок и с возможностью регулировки усилия этого нажима, при этом стан снабжен системой для подачи смазочно-охладительной жидкости в область контакта прокатных валков с обрабатываемым ленточным материалом.

Описание

[1]

Область техники

[2]

Изобретение относится к обработке металлов давлением и может быть использовано для изготовления холодной прокаткой спиралей шнеков, применяемых в различных отраслях хозяйства.

[3]

Уровень техники

[4]

Известен стан для изготовления геликоидных спиралей шнеков, содержащий смонтированные между опорными валками в станине-клети прокатные валки с переходными участками, причем диаметр опорных валков в зоне выхода спирали меньше, чем в зоне их контакта с прокатньми валками, транспортную проводку, вводную для обрабатываемого холодной прокаткой ленточного материала, выводную проводку в виде упора, имеющего геликоидную рабочую поверхность для контакта с изделием, и связанного с упором хвостовика, расположенного между переходными участками валков и закрепленного на станине с возможностью регулировок положения выводной проводки, а также приводную систему для валков /Авторское свидетельство СССР №678776, В 21 Н 3/12, В 21 D 11/06, 15.12.82, Бюл. №46 (прототип), Авторское свидетельство СССР №538518, В 21 Н 3/12, В 21 D 11/06, 15.08.82, Бюл. №30 (аналог)/.

[5]

Недостатком данного стана является невысокое качество его работы и неудобство его производственного использования, обусловленные

[6]

- недостаточной компактностью стана из-за раздельного расположения станины-клети с валками и массивной приводной станции и, как следствие, ослабленной жесткостью их объединенной конструкции, включая передачи движения между ними;

[7]

- неоптимальной схемой нагружения валков стана и их опор в станине-клети из-за одностороннего подключения передач движения через опоры к валкам от приводной станции;

[8]

- отсутствием регулировок усилия нажима валков на деформируемый материал;

[9]

- нестабильными температурными режимами работы прокатных валков и деформируемого ими материала.

[10]

Сущность изобретения

[11]

Техническими задачами предлагаемого изобретения являются значительное повышение качества работы и удобства производственного использования стана за счет совокупности технических модернизаций стана, направленных на

[12]

- повышение компактности и жесткости конструкции;

[13]

- оптимизацию схемы нагружения валков и их опор в станине-клети стана;

[14]

- регулирование усилия нажима валков на деформируемый (обрабатываемый) материал;

[15]

- стабилизацию и улучшение температурных режимов работы прокатных валков и деформируемого ими материала.

[16]

Технический эффект при решении указанных задач достигается тем, что стан содержит смонтированные в станине-клети между опорными валками прокатные валки с переходными участками, причем диаметр опорных валков в зоне выхода спирали меньше, чем в зоне их контакта с прокатными валками. Также стан содержит транспортную проводку, вводную для обрабатываемого холодной прокаткой ленточного материала, выводную проводку в виде упора, имеющего геликоидную рабочую поверхность для контакта с изделием. С упором связан хвостовик, расположенный между переходными участками валков и закрепленный на станине с возможностью регулировок положения выводной проводки.

[17]

Для вращения валков стан содержит приводную систему.

[18]

По предлагаемому изобретению существенно, что механические передачи приводной системы от общего двигателя к валкам расположены раздельно сверху и сбоку станины-клети, причем передачи движения на валки непосредственно через их опоры в станине-клети расположены на противоположных сторонах станины-клети, а общий двигатель приводной системы установлен на станине-клети.

[19]

Также над верхним опорным валком дополнительно установлен демпфирующий груз с упругим элементом с возможностью непрерывного нажима на верхний опорный валок и с возможностью регулировки усилия этого нажима.

[20]

Дополнительно стан снабжен системой непрерывной циркуляционной подачи смазочно-охладительной жидкости в область контакта прокатных валков с деформируемым в спираль шнека ленточным материалом.

[21]

Перечень чертежей:

[22]

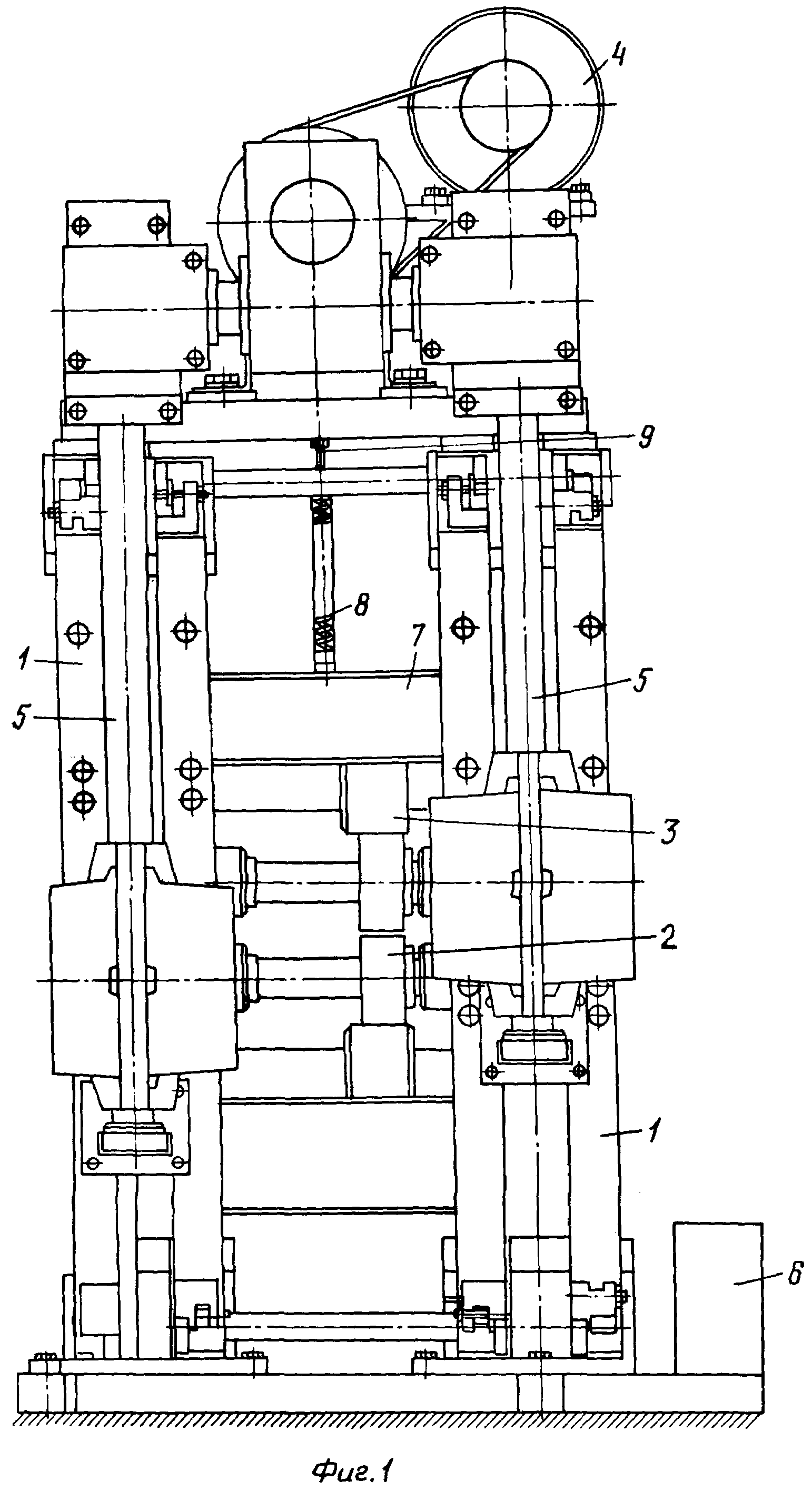
фиг.1 - вид стана сбоку (вводная и выводная проводки не показаны);

[23]

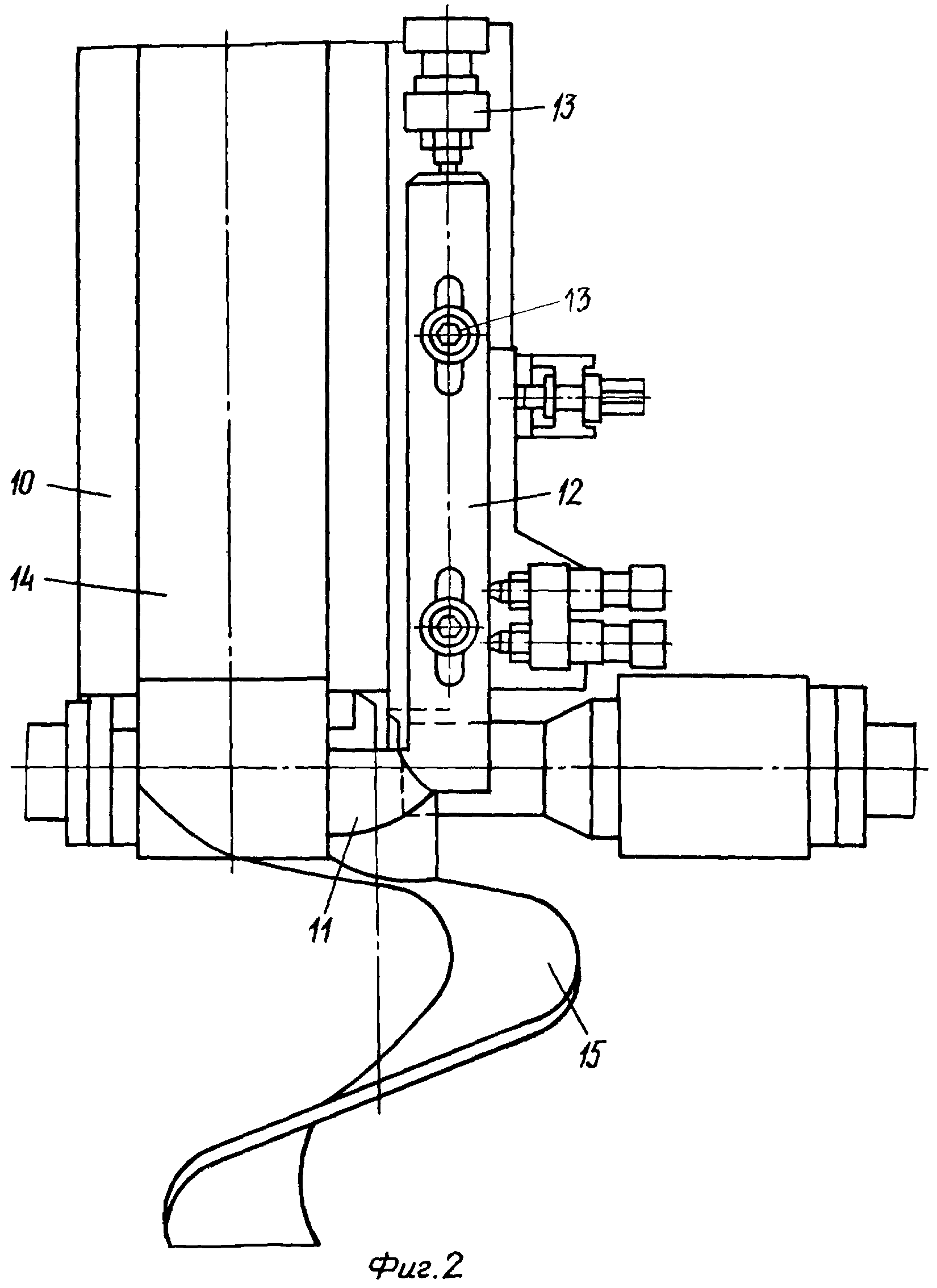
фиг.2 - вид проводок стана (с деформируемым материалом) сверху.

[24]

Вариант осуществления изобретения

[25]

На чертежах обозначены позициями:

[26]

1 - станина-клеть;

[27]

2 - прокатные (рабочие) валки;

[28]

3 - опорные валки;

[29]

4 - двигатель приводной системы валков;

[30]

5 - механические передачи приводной системы валков;

[31]

6 - бак системы подачи смазочно-охладительной жидкости;

[32]

7 - демпфирующий груз давления на верхний опорный валок;

[33]

8 - упругий элемент (пружина) подвеса демпфирующего груза;

[34]

9 - элемент регулирования и крепления упругого элемента демпфирующего груза;

[35]

10 - вводная (транспортная) проводка;

[36]

11 - упор выводной проводки с геликоидной поверхностью для формирования спирали шнека из деформируемого ленточного материала;

[37]

12 - хвостовик упора;

[38]

13 - элементы регулировки положением хвостовика упора на вводной проводке;

[39]

14 - ленточный материал до деформации;

[40]

15 - спираль шнека после деформации.

[41]

Существенно более совершенная по компактности (важно для удобства размещения устройства даже в небольшом производственном помещении) и жесткости (важно для качества работы) компоновка стана с приводной системой включает в себя двигатель 4 приводной системы валков 2 наверху станины-клети 1 и механические передачи 5 от двигателя 4 к валкам 2 с противоположных сторон их опор в станине-клети 1.

[42]

Также с учетом переменности реальных параметров деформируемого ленточного материала 14 (в частности, переменности его толщины) для стабилизации динамических условий техпроцесса холодной прокатки в стане предусмотрен демпфирующий груз 7 давления на верхний опорный валок 3 с упругим элементом (пружиной) 8 подвеса демпфирующего груза 7 и элементом 9 регулирования и крепления элемента 8 груза 7. А для стабилизации температурных условий техпроцесса прокатки - система непрерывной циркуляционной подачи смазочно-охладительной жидкости из бака 6.

[43]

В предлагаемом стане также расположены вводная (или транспортная) для ленточного материала 14 проводка 10 и выводная проводка в виде упора 11 с геликоидной поверхностью для формирования спирали шнека 15 из ленточного материала 14 с хвостовиком 12 упора 11 и элементами 13 регулировки положением хвостовика 12 на вводной проводке 10. При этом необходимо отметить, что вводная транспортная проводка 10 должна быть закреплена с расчетным боковым смещением относительно рабочих участков прокатных валков 2 для формирования некатаной части ленточного материала 14 в процессе его холодной прокатки в клиновой щели между валками 2 и образования спирали 15 шнека при формообразующем скольжении сдеформированной ленты по профилю упора 11 с геликоидной поверхностью.

[44]

Устройство работает следующим образом.

[45]

Ленту 14 трапецеидального или прямоугольного сечения по проводке 10 вводят в клиновую щель прокатных валков 2, вращающихся через передачи 5 от приводного двигателя 4 и осуществляющих в стабильных температурных условиях (при непрерывной циркуляционной подаче смазочно-охладительной жидкости в область контакта прокатных валков с деформируемым в спираль шнека ленточным материалом) холодную прокатку с переменной по ширине ленты 14 степенью деформации и некатаной полосой. Прокатные валки 2 постоянно и стабильно поджаты через опорные валки 3 демпфирующим грузом 7 с пружиной 8.

[46]

За счет клиновой деформации ленты 14 и ее скольжения (отвода) по упору 11 происходит образование достаточно качественной геликоидной спирали 15 с заданным постоянным шагом. Целиковую готовую спираль режут на требуемые куски, при этом менее качественные участки начала и конца всей целиковой спирали отрезают в отходы.

[47]

При необходимости смены параметров спирали шнека производят соответствующие операции замены обрабатываемого материала и переналадки стана, в первую очередь это касается регулировок его проводок или замены выводной проводки, а также регулировки усилия поджатия валков 2 и 3 от груза 7 с пружиной 8.

[48]

Параметры образца стана: длина 2650 мм; ширина 1475 мм; высота 2280 мм; диаметр “бочек” прокатных валков 145 мм; диаметр “бочек” опорных валков 250 мм. Вращение валков со скоростью 90 град./с. Производительность насоса системы охлаждения и смазки прокатных (рабочих) валков 45 л/мин; емкость бака охлаждающей жидкости 60 л. Распорное усилие поджатия валков до 300 кН. Мощность приводного электродвигателя 11 кВт.

[49]

Качество спиралей шнеков, изготовляемых на предлагаемом устройстве стана, - высокое и стабильное при следующих параметрах: наружном диаметре спирали от 90 до 200 мм; внутреннем диаметре спирали не менее 22 мм; толщине горячекатаной заготовки ленты (смотанной в рулон или штучной полосы) до 4 мм; длине не менее 2 м и ширине заготовки от 35 до 60 мм; типовой материал заготовки - сталь 08 КП.

[50]

В результате за счет изобретенной совокупности существенных признаков значительно улучшено качество работы и удобство производственного использования стана для изготовления спиралей шнеков.

Как компенсировать расходы
на инновационную разработку
Похожие патенты