патент
№ RU 223363
МПК A47J27/21

КРЫШКА ЧАЙНИКА

Авторы:
Лян Цзяньчунь (CN)
Номер заявки
2023126685
Дата подачи заявки
18.10.2023
Опубликовано
15.02.2024
Страна
RU
Как управлять
интеллектуальной собственностью
Чертежи 
3
Реферат

[59]

Полезная модель относится к предметам домашнего обихода, а именно к технике, используемой на кухне, в частности к чайникам, а именно к крышке чайника. Крышка чайника содержит корпус, в котором образован вход для залива воды, перегородку, подвижно расположенную под упомянутым входом для залива воды, закрывающий механизм, выполненный с возможностью оказания упругого приводного усилия на перегородку, для обеспечения плотного и герметичного закрытия указанной перегородкой входа для залива воды, а также осуществления перемещения перегородки для открытия входа для залива воды под действием веса воды, при этом корпус крышки чайника содержит основание с фильтрующим элементом, имеющим сетчатую конструкцию, и с равномерно распределенными по основанию ребрами жесткости, причем основание выполнено с возможностью разъемного соединения с корпусом крышки чайника. Технический результат заключается в обеспечении дополнительной фильтрации водопроводной воды от примесей в процессе налива воды в электрический чайник, и как следствие, повышении безопасности воды, которая используется для питья, так как она остается чистой и безопасной для употребления. Также обеспечивается высокая эффективность использования сетчатого фильтра, установленного в корпусе крышки чайника за счет возможности его снятия и промыва. 8 з.п. ф-лы, 3 ил.

Формула изобретения

1. Крышка чайника содержит

корпус, в котором образован вход для залива воды,

перегородку, подвижно расположенную под упомянутым входом для залива воды,

закрывающий механизм, выполненный с возможностью оказания упругого приводного усилия на перегородку, для обеспечения плотного и герметичного закрытия указанной перегородкой входа для залива воды, а также осуществления перемещения перегородки для открытия входа для залива воды под действием веса воды,

при этом корпус крышки чайника содержит основание с фильтрующим элементом, имеющим сетчатую конструкцию, и с равномерно распределенными по основанию ребрами жесткости, причем основание выполнено с возможностью разъемного соединения с корпусом крышки чайника.

2. Крышка чайника по п.1, отличающаяся тем, что сетчатая конструкция фильтрующего элемента имеет вид ситового фильтра.

3. Крышка чайника по п.1, отличающаяся тем, что упомянутая перегородка расположена с возможностью перемещения вверх-вниз под входом для залива воды, и закрывающий механизм представляет собой возвратную пружину, приводящую перегородку к перемещению.

4. Крышка чайника по п.1, отличающаяся тем, что вход для заливания воды выполнен в виде усеченного конуса с большей верхней частью и меньшей нижней частью.

5. Крышка чайника по п.1, отличающаяся тем, что ребра жесткости расположены параллельно друг другу.

6. Крышка чайника по п.1, отличающаяся тем, что ребра жесткости выполнены пересекающимися.

7. Крышка чайника по п.1, отличающаяся тем, что ребра жесткости выполнены радиально расходящимися от центра основания.

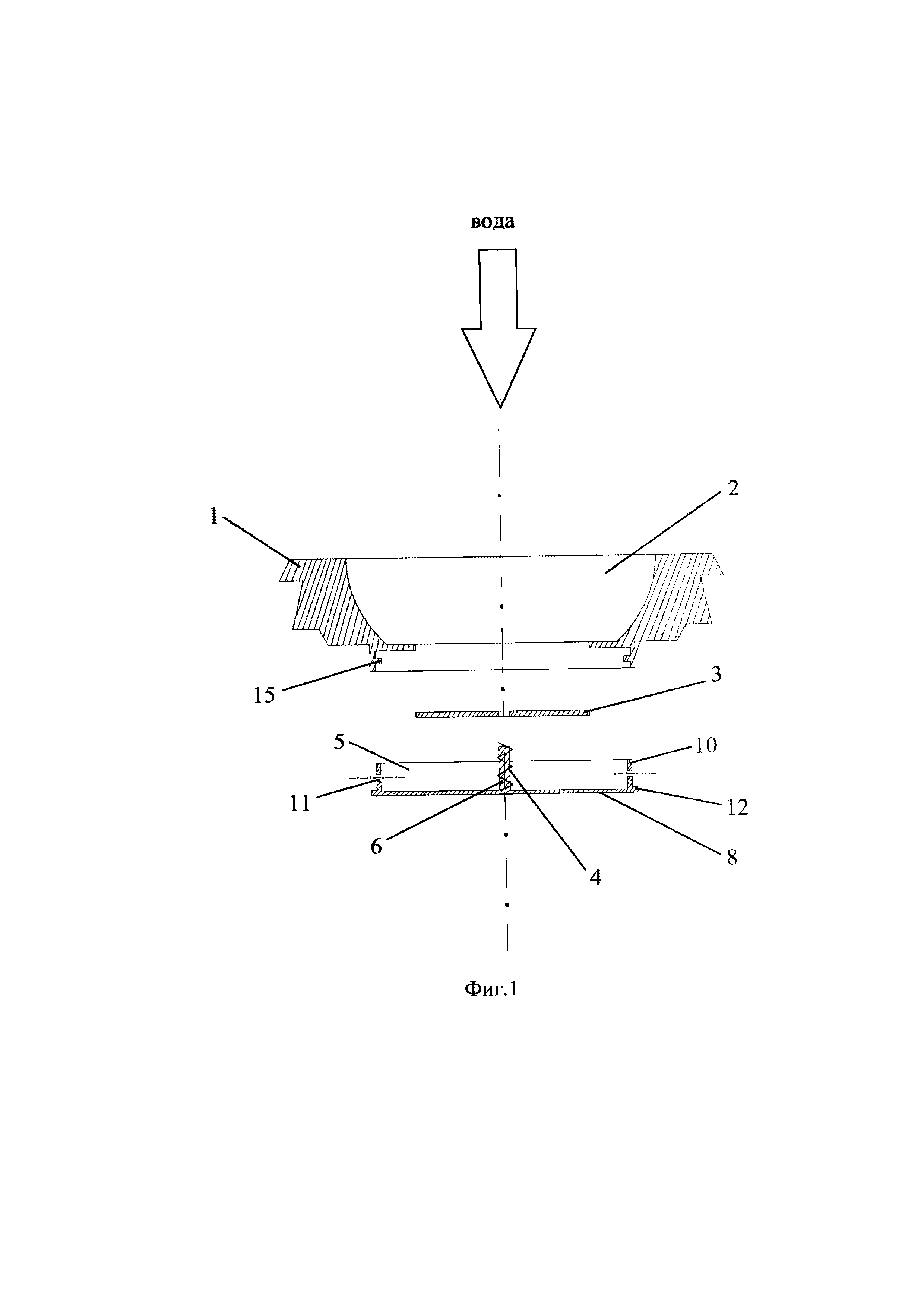
8. Крышка чайника по п.1, отличающаяся тем, что разъемный механизм соединения основания выполнен в виде байонетного соединения.

9. Крышка чайника по п.1, отличающаяся тем, что разъемный механизм соединения основания выполнен в виде замкового соединения.

Описание

[1]

Полезная модель относится к предметам домашнего обихода, а именно к технике, используемой на кухне, в частности к чайникам, в том числе к электрическим чайникам.

[2]

В настоящее время широко известны различные чайники, содержащие корпус чайника и крышку чайника. Налив воды в таких чайниках, как правило, осуществляется через горловину с предварительно открытой, либо снятой крышкой. Крышки чайника бывают съемные, либо открываемые различными способами, например, подниманием за ручку или нажатием на кнопку, расположенную на корпусе чайника.

[3]

Так, из уровня техники известен чайник, нагреваемый на кухонной плите, содержащий корпус и съемную крышку с отверстием, которое является выходным отверстием вытяжного канала и не используется для залива в чайник воды (RU 128972, 20.06.2013).

[4]

Недостатком известной конструкции крышки чайника является ненадежность в использовании, т.к. многократный подъем и опускание крышки чайника, во-первых, требует время, а во-вторых, крепежные детали (в т.ч. закрывающий механизм) подвергаются быстрому износу, а при неосторожном обращении могут сломаться. Кроме того, известная крышка чайника неудобна как для простых пользователей, так и для пользователей с ограниченными возможностями.

[5]

Наиболее близким аналогом заявленной полезной модели является крышка чайника, которая содержит корпус, в котором образован вход для заливания воды, перегородку для воды, подвижно расположенную под упомянутым входом для заливания воды, которая под действием веса воды во входе для заливания воды осуществляет открытие входа для заливания воды, при этом упомянутая перегородка для воды выполнена в виде запорного клапана с подъемной пружиной, который под действием веса воды во входе для заливания воды опускается внутрь чайника за счет сжатия указанной пружины, а при прекращении подачи во вход для заливания воды под воздействием подъемной пружины, возвращается в исходное положение. (RU 196505 U1, 03.03.2020).

[6]

Недостатками наиболее близко к заявленной полезной модели крышки чайника является отсутствие возможности осуществления дополнительной фильтрации водопроводной воды при заливе воды в чайник.

[7]

Общеизвестно, что причинами поломки бытовой техники часто являются твердые механические частицы, присутствующие в воде. Из-за своих размеров они уменьшают срок службы бытовых приборов, так как быстро забивают их, образуя накипь. Поэтому важным аспектом для устранения таких проблем является использование сетчатых фильтров, предотвращающих попадание частиц, таких как песок, глина, ржавчина или крупные примеси в чайник при наливе воды из крана, что в свою очередь влияет на качество и вкус воды.

[8]

Технический результат заявленной полезной модели заключается в обеспечение дополнительной фильтрации водопроводной воды от примесей в процессе налива воды в электрический чайник, и как следствие, повышении безопасности воды, которая используется для питья, так как она остается чистой и безопасной для употребления. Предложенная конструкция способствует повышению качества воды, обеспечивает безопасность и удобство приготовления напитков, которая также обеспечивается за счет высокой эффективности использования сетчатого фильтра, установленного в корпусе крышки чайника, так как предложенная конструкция крышки обеспечивает своевременную очистку фильтрующего элемента от засорений, что обеспечивает повышение надежности и эффективности фильтрации воды.

[9]

Указанный технический результат достигается тем, что крышка чайника содержит корпус, в котором образован вход для залива воды, перегородку, подвижно расположенную под упомянутым входом для заливания воды, закрывающий механизм, выполненный с возможностью оказания упругого приводного усилия на перегородку, для обеспечения плотного и герметичного закрытия перегородкой входа для заливания воды, а также осуществления перемещения перегородки для открытия входа для заливания воды под действием веса воды, при этом корпус крышки чайника содержит основание с фильтрующим элементом, имеющим сетчатую конструкцию, и с равномерно распределенными по основанию ребрами жесткости, причем основание выполнено с возможностью разъемного соединения с корпусом крышки чайника.

[10]

При этом сетчатая конструкция фильтрующего элемента имеет вид ситового фильтра.

[11]

Кроме этого упомянутая перегородка расположена с возможностью перемещения вверх-вниз под входом для залива воды, и закрывающий механизм представляет собой возвратную пружину, приводящую перегородку к перемещению.

[12]

При этом вход для заливания воды выполнен в виде усеченного конуса с большей верхней частью и меньшей нижней частью.

[13]

При этом ребра жесткости расположены параллельно друг другу.

[14]

Кроме этого ребра жесткости могут быть выполнены пересекающимися.

[15]

Также ребра жесткости могут быть выполнены радиально расходящимися от центра основания.

[16]

При этом разъемный механизм соединения основания выполнен в виде байонетного соединения.

[17]

Кроме этого разъемный механизм соединения основания выполнен в виде замкового соединения.

[18]

Заявляемое техническое решение поясняется чертежами.

[19]

На фиг. 1 показано подетальное расчленение крышки чайника с составными элементами, входящими в ее конструкцию.

[20]

На фиг. 2 показан вид снизу основания крышки чайника с фильтрующим элементом.

[21]

На фиг. 3 показан вариант выполнения разъемного соединение основания с корпусом крышки чайника.

[22]

Известно, что в основе фильтров механической очистки воды стоит принцип, основанный на процеживании воды и задерживания нерастворимых частиц посредством фильтрующего элемента - сетки. Используемая в настоящем решении фильтрующая сетка для залива воды в чайник - это устройство механической очистки, которое предотвращает попадание взвешенных частиц из водопроводной воды в чайник. Содержание взвешенных веществ характеризует загрязненность воды твердыми макро- и микрочастицами. Этот показатель говорит о наличии в воде частиц глины, песка, ржавчины и других примесей.

[23]

В настоящем решении фильтрующая сетка в крышке чайника является многофункциональным фильтром, который используется для очистки воды от различных примесей и загрязнений, предотвращая их попадание в электрический чайник в процессе залива воды из крана. Этот метод фильтрации воды при заливе в чайник помогает улучшить качество воды и продлить срок службы чайника, предотвращая образование накипи и улучшая вкус при приготовлении чая или других напитков.

[24]

При этом в зависимости от конкретной задачи, сетки для воды в крышке чайника могут иметь различные размеры и структуры, их задачей является улучшение качества воды и защита от нежелательных примесей.

[25]

Так, мелкая сетка для фильтра обычно используется для удерживания крошечных частиц и осадка, что делает воду более чистой. Такая мелкая сетка, встроенные в крышку чайника, позволяет удалить мельчайшие частицы, например, песок, ржавчину, глину или осадок, из питьевой воды, которая наполняется в колбу электрического чайника.

[26]

Общеизвестно, что такие взвешенные частицы как песок, ржавчина и нерастворимый осадок попадают в водопроводную воду из трубопроводов водоснабжения. В частности, причиной возникновения таких проблем является состояние водопроводной системы. Например, фактором возникновения взвешенных частиц в воде являются старые и изношенные водопроводные системы, которые в процессе разрушения и образуют ржавчину и другие частицы, которые попадают в подаваемую воду. Кроме этого водопроводная вода может содержать некоторое количество частиц и осадка, особенно если источник воды загрязнен или не обрабатывается должным образом. Также в отсутствие проведения регулярных профилактических очисток водопроводной системы и труб увеличивается скопление осадка и частиц в них, что в свою очередь ведет к увеличению взвешенных частиц в водопроводной воде.

[27]

Таким образом, в старых домах, где водопроводная система имеет давний срок службы, старые трубы и соединения подвержены коррозии и износу, вследствие чего на внутренних стенках труб образуется ржавчина. Песок и другие мелкие частицы также могут попадать в водопроводную систему из-за процессов, происходящих в местных водозаборных и очистительных станциях. Например, песок может попасть в воду из-за эрозии берегов водоема или из-за недостаточной фильтрации на очистительных станциях.

[28]

Учитывая, что качество водопроводной воды ухудшается, необходимым является обеспечение фильтрации питьевой воды, в частности, при наполнении чайника.

[29]

Крышка чайника, содержащая фильтрующую сетку, имеет несколько преимуществ. Главное преимущество заключается в способности фильтровать воду непосредственно при заливе воды в чайник. Сетка удерживает частицы, песок, ржавчину и другие примеси, что позволяет получать очищенную воду. То есть использование крышки чайника, которая содержит фильтрующую сетку, способствует обеспечению более высокого качества воды, что положительно сказывается на вкусе и аромате приготовленных из этой воды напитков. Кроме этого сетчатый фильтр предотвращает попадание в колбу электрического чайника взвешенных частиц, что помогает уменьшить образование накипи внутри чайника.

[30]

Таким образом, крышка чайника, которая содержит встроенную фильтрующую сетку, способствует повышению качества воды, обеспечивает безопасность и удобство приготовления напитков, а также способствует продлению срока службы чайника, использующего такую крышку. Это особенно ценно, если вода в регионе подвержена проблемам с качеством и содержит взвешенные частицы, например, такие как песок, ржавчина и т.п.

[31]

То есть, сетка служит барьером для частиц, песка, ржавчины, мусора и других примесей, что гарантирует, что вода, которая используется для приготовления чая и других напитков, остается чистой и безопасной для употребления.

[32]

Однако следует учитывать, что сетчатый фильтр представляет собой гибкую фильтровальную поверхность с отверстиями. Учитывая такую особенность сетчатого фильтра, очевидно, что использование сетчатой конструкции с мелкими отверстиями, объем ячейки которой обычно от 10 до 500 мкм, а оптимальное значение от 20 до 100 мкм, при постоянном воздействии веса воды на ее поверхность в процессе эксплуатации приводит к деформации сетки фильтра. Для того, чтобы избежать деформации фильтровальной поверхности сетчатого фильтра в заявленном решении используются ребра жесткости 8, посредством которых обеспечивается стойкость сетчатого фильтра к статическим и динамическим нагрузкам. Кроме этого для обеспечения эффективной работы фильтра необходимо промывать фильтрующий элемент, то есть сетку. Наиболее удобным является изготовление сборно-разборной конструкции крышки чайника, основание 5 которого можно легко снять и повторно установить, сохранив при этом герметичность конструкции крышки чайника.

[33]

Как показано на фиг. 1 крышка чайника содержит корпус 1, в котором образован вход 2 для залива воды. Корпус 1 крышки чайника может быть выполнен круглой формы (фиг. 1). При этом указанный корпус 1 крышки чайника, также может быть квадратной формы или овальной формы (на чертежах не показан). Размер входа 2 для заливания воды должен обеспечивать беспрепятственный залив воды внутрь чайника. Вход 2 для залива воды, может представлять собой круглое отверстие. В варианте выполнения вход 2 для заливания воды выполнен в виде усеченного конуса с большей верхней частью и меньшей нижней частью. В варианте выполнения вход 2 для залива воды имеет чашеобразную форму с уширенной верхней частью, то есть по существу имеет форму усеченного выпуклого конуса с большей верхней частью и меньшей нижней частью.

[34]

Корпус 1 крышки чайника также содержит перегородку 3 и закрывающий механизм. Перегородка 3 подвижно расположена под входом 2 для заливания воды. Упомянутый закрывающий механизм оказывает упругое приводное усилие на перегородку 3, чтобы позволить перегородке 3 закрывать вход 2 для залива воды.

[35]

Как показано на фиг. 1, упомянутый закрывающий механизм содержит подъемную пружину 4, расположенную на основании 5. Основание 5 содержит встроенный фильтрующий элемент 7, имеющий сетчатую конструкцию (это могут быть различные виды плетенных сеток, перфорированных, клиновидные и т.п.). При этом во избежание деформации сетки фильтрующего элемента 7 основание 5 имеет ребра жесткости 8, посредством которых удерживается форма сетки. Ребра жесткости 8 равномерно распределены по основанию 5, как показано на фиг. 2. Основание 5 может иметь от двух до восьми ребер жесткости 8, при этом их расположение может быть параллельным, пересекающимся и радиально расходящимся от центра основания 5. На фиг. 2 показано вариативное выполнение основания 5 с четырьмя ребрами жесткости 8, которые радиально расходятся от центра основания 5. Указанный вариант расположения ребер жесткости 8 представлен для понимания сущности заявленного решения и не должен расцениваться, как единственно возможный вариант выполнения заявленной конструкции крышки чайника, имеющим основание 5 с фильтрующим элементом 7, имеющим ребра жесткости 8.

[36]

Основание 5 крышки чайника выполнено разъемным. Это позволяет производить многократную сборку и разборку крышки чайника без повреждения его составных деталей. Как показано на фиг. 2 и 3 основание 5 имеет нижнюю часть 9, на которой установлен фильтрующий элемент 7 усиленный ребрами жесткости 8, и боковую поверхность 10. На боковой поверхности 10 основания 5 выполнены отверстия 11. Основание 5 имеет буртик 12, идущий по краю нижней части 9 основания 5. Также на нижней части 9 основания 5 имеются выступы 13, предназначенные для создания опорной плоскости для корпуса 1 крышки чайника.

[37]

В свою очередь на корпусе 1 крышки чайника образован соединительный бортик 14, размер которого позволяет плотно соединить корпус 1 крышки с основанием 5 путем разъемного соединения. При этом на внутренней части соединительного бортика 14 имеются выступы 15, расположенные таким образом, что при установке основания 5 в корпус 1 крышки чайника выступы 15 входят в зацепление с отверстиями 11 на боковой поверхности 10 основания 5. Далее, в соответствии с вариантом выполнения разъемного соединения, показанного на фиг. 3, осуществляют осевое перемещение и поворот основания 5 относительно соединительного бортика 14 корпуса 1 крышки чайника. Тем самым основание 5 плотно фиксируют с соединительным бортиком 14 корпуса 1 крышки чайника. При необходимости промыть фильтрующий элемент 7, основание 5 поворачивают относительно оси и разъединяют от корпуса 1 крышки.

[38]

Представленный на фиг. 3 вид разъемного соединения представляет собой вариант выполнения байонетного соединения. Однако специалисту очевидно, что разъемное соединение может быть как байонетным, так и замковым, в котором выступающий элемент одной из детали в процессе сборки в ходит в зацепление с поднутрением и образует стопорение. Задача настоящей полезной модели решается посредством осуществления разъемного соединения между двумя основными элементами - основанием 5 и корпусом 1 крышки чайника. При этом вид разъемного соединения может быть любым для обеспечения поставленной функции.

[39]

Учитывая такую конструкцию крышки чайника, фильтрующий элемент 7, установленный на основании 5 легко промыть от загрязнений. Очищенный сетчатый фильтр позволит обеспечить надежную фильтрацию воды при заливе в чайник.

[40]

Как уже отмечалось, сетчатая конструкция фильтра включает в себя использование сетки или решетки, чтобы удерживать или отфильтровывать частицы или примеси в жидкости.

[41]

Разберем основные характеристики сетчатой конструкции фильтра.

[42]

Элемент фильтра состоит из множества отверстий, щелей или даже тонких проволок, образующих сетчатую структуру. Эти отверстия разного размера могут быть спроектированы для удерживания частиц определенных размеров. В частности, при фильтрации воды сетка удерживает песок, ржавчину и другие примеси. Объем ячейки в сетке фильтра может быть от 10 до 500 мкм, при этом оптимальное значение на бытовом уровне 50-100 мкм. Сетка изготавливается из различных металлов, металлических сплавов или пластмасс, используемых в пищевой промышленности.

[43]

Ситовый фильтр - это также сетчатый фильтр, которое использует сито или сетку для фильтрации жидкости. Главной частью ситового фильтра является сетка или сито, которые состоят из множества отверстий или щелей разного размера. Тонкость фильтрации используемого ситового фильтра от 10 до 1000 мкм. Основной принцип ситового фильтра заключается в фильтрации по размеру. Отверстия сетки определенного размера задерживают частицы или объекты, которые крупнее этих отверстий. Учитывая, что ситовые фильтры эффективны для удержания очень мелких частиц, очевидно, что использование их в конструкции крышки чайника позволит эффективно очищать водопроводную воду, улучшая ее качество и безопасность. При этом наличие ребер жесткости 8 позволит избежать деформации сетевого фильтра тонкой очистки как статическом режиме (отсутствие провисаний), так и в динамическом режиме (отсутствие деформации под давлением напора воды). Это повышает эффективность использования сетчатого фильтра поскольку гибкая поверхность сетчатого фильтра не деформируется и отсутствует риск попадания части отфильтрованных примесей в воду. Тем самым обеспечивается повышение качества отфильтрованной воды, а также ее безопасность.

[44]

Таким образом, в настоящем решении целесообразным является использование фильтров, имеющих сетчатую конструкцию, в том числе и фильтры с повышенной тонкостью фильтрации, такие как ситовые фильтры. При загрязнении указанный фильтр можно легко прочистить и далее использовать по прямому назначению.

[45]

В процессе использования чайника с предложенной конструкцией крышки, его размещают под краном, при этом вода заливается во вход 2 для залива воды крышки чайника и попадает на перегородку 3. Под действием веса воды закрывающий механизм преодолевает упругое приводное усилие, оказываемое подъемной пружиной 4, перегородка 3 опускается, и таким образом открывается вход 2 для залива воды. Далее вода проходит сквозь фильтрующий элемент 7 основания 5, очищается и наполняется в чайник.

[46]

На фиг. 1 показано подетальное расчленение конструкции заявляемой крышки чайника. Согласно заявленному решению пружина 4 закрывающего механизма, расположенная под перегородкой 3, под действием веса воды на перегородку 3 во входе 2 для заливания воды сжимается вдоль оси 6, закрепленной на основании 5. При прекращении подачи воды под воздействием пружины 4 закрывающего механизма перегородка 3 возвращается в исходное положение и закрывает отверстие 2 для залива воды.

[47]

Для повышения герметичности между входом 2 для заливания воды и перегородкой 3 может быть установлено уплотнительное кольцо (на чертежах не показано). В варианте осуществления уплотнительное кольцо может быть установлено на входе 2 для заливания воды, а также может быть установлено на перегородке 3. Например, в нижней части входа 2 для заливания воды может быть образована кольцевая канавка, в которую вставлено уплотнительное кольцо.

[48]

Все составные элементы крышки чайника, включая корпус 1, отверстие 2 для залива воды, перегородку 3, подъемную пружину 4, основание 5, ось 6, фильтрующий элемент 7, ребра жесткости 8 предпочтительно, могут быть выполнены из металлов или их сплавов, например, из нержавеющей стали, алюминия, меди или их комбинации. Возможны также различные покрытия на основном материале (например, окраска, хромирование, анодирование и т.д.).

[49]

Кроме этого вариативно, корпус 1 крышки чайника, перегородка 3, основание 5, ось 6, ребра жесткости 8 могут быть выполнены из эластичного материала или из любых видов пластмасс, допустимых для соприкосновения с пищевыми продуктами и способных сохранять свои свойства, а также не выделять никаких вредных веществ при температурах 100-120°С.

[50]

Помимо этого сетчатый фильтр также может быть выполнен из синтетического материала, например, изготавливаться из полимерной-полиамидной нити. Наиболее эффективным в использовании является полимерная сетка галунного плетения.

[51]

Выбор материала изготовления крышки чайника и ее составных элементов зависит от многих факторов, наиболее существенными из которых являются условие эксплуатации изделия, его габаритные размеры. Окончательный выбор материала для конкретного производства (опытного, серийного, массового) производят после полного техникоэкономического анализа нескольких вариантов технологического процесса изготовления крышки чайника.

[52]

Вместе с тем, задача настоящей полезной модели считается решеной, так как заявленное устройство крышки чайника выполняет дополнительную функцию фильтрации воды при заливе, при этом крышка чайника имеет простую и надежную сборно-разборную конструкцию. Установленный в крышке чайника закрывающий механизм крышки чайника оказывает упругое приводное усилие на перегородку 3 для воды для обеспечения закрытия перегородкой 3 входа 2 для залива воды, и под действием веса воды во входе 2 для залива воды упомянутая перегородка 3 для воды осуществляет открытие входа 2 для заливания воды, причем вода, походя через отверстие 2 для залива воды дополнительно отфильтровывается при помощи фильтрующего элемента 7, закрепленного на основании 5 с ребрами жесткости 8 и поступает в колбу чайника чистая, отфильтрованная от взвешенных частиц.

[53]

Все составные элементы крышки чайника, а именно: корпус 1 крышки с образованным в нем входом 2 для залива воды, перегородка 3, закрывающий механизм, включающий пружину 4, расположенной на основании 5 с фильтрующим элементом 7 и перемещающуюся вдоль оси 6, установленной на основании 5 соединены между собой и представляют собой единую конструкцию крышки чайника с подвижной перегородкой 3, перемещающейся вниз при воздействии напора воды, и перемещающейся вверх после прекращения подачи воды под действием возвратного действия пружины 4.

[54]

Предложенная конструкция крышки чайника способствует повышению качества воды, обеспечивает безопасность и удобство приготовления напитков, а также обеспечивает высокую эффективность использования сетчатого фильтра, установленного в корпусе крышки чайника, который можно легко снять и промыть при необходимости.

[55]

Заявленная полезная модель осуществляется следующим образом. Чайник с установленной на нем заявленной крышкой чайника размещают под краном и включают кран. При этом чайник может быть как электрическим, так и просто металлическим для использования на плитах (газовых, индукционных, электрических и т.п.). Поток воды направляют на крышку чайника в отверстие 2 для залива воды (см. фиг. 1). По мере увеличения веса воды на перегородке 3 закрывающий механизм начинает работу путем сжатия пружины 4 вдоль оси 6, закрепленной на основании 5, таким образом, открывая вход 2 для заливания воды и пропуская поток воды в чайник. Поступающая в чайник вода проходит через основание 5, а именно через фильтрующий элемент 7, усиленный ребрами жесткости 8, отфильтровывается от взвешенных частиц и очищенная поступает далее в колбу чайника. После отключения воды, по мере уменьшения веса воды на перегородку 3, закрывающий механизм под действием разжимающего усилия пружины 4, поднимает перегородку 3 вверх, таким образом автоматически закрывая вход 2 для заливания воды в крышке чайника. При этом за счет использования предложенной конструкции крышки чайника при нагревании воды подвижная перегородка 3 плотно прижата к отверстию входа 2 для заливания воды пружиной 4 и не будет пропускать образующийся в резервуаре чайника пар в отверстие крышки. В свою очередь вода, наполненная в колбе чайника, будет отфильтрована от песка, ржавчины и других взвешенных частиц, что обеспечит безопасное ее использование и защиту нагревательного элемента чайника от образования накипи.

[56]

В то же время пользователь может прочистить фильтрующий элемент 7 путем отсоединения основания 5 от корпуса 1 крышки чайника. При этом разъемный механизм соединения основания 5 может быть выполнен либо в виде байонетного соединения (соединение деталей при помощи осевого перемещения и поворота одной из них относительно другой), либо в виде замкового соединения (выступающий элемент одной из детали в процессе сборки в ходит в зацепление с поднутрением и образует стопорение). При этом замковые соединения могут быть выполнены в виде соединений, в которых элементы замка выполнены за одно целое с соединяемыми деталями (соединения с помощью кольцевых выступов, соединения с помощью упруго деформирующихся (пружинящих) элементов, соединение по сферической поверхности при помощи сферического замкового соединения и т.п.).

[57]

Любое из вышеуказанных разъемных соединений легко изготовить. При этом посредством указанных соединений обеспечивается надежное и плотное фиксирование основания 5 с соединительным бортиком 14 корпуса 1 крышки чайника.

[58]

Заявленная конструкция крышки чайника достаточно проста, надежна, удобна и практична для всех пользователей и подходит для общего продвижения.

Как компенсировать расходы
на инновационную разработку
Похожие патенты