патент
№ RU 2231597
МПК E02D5/38

УСТРОЙСТВО ДЛЯ ИЗГОТОВЛЕНИЯ НАБИВНОЙ СВАИ И НАБИВНАЯ СВАЯ

Авторы:
Потапов С.В. Романов П.С. Мелконян А.С.
Все (7)
Номер заявки
2003124973/03
Дата подачи заявки
13.08.2003
Опубликовано
27.06.2004
Страна
RU
Как управлять
интеллектуальной собственностью
Чертежи 
1
Реферат

[15]

Изобретения относятся к области строительства, а именно к оборудованию для возведения набивных свай в грунте для повышения его несущей способности в месте возведения различных зданий и сооружений, а также к средствам повышения несущей способности и укрепления грунта, например, в процессе возведения фундаментов или проведения в грунте разного рода укрепительных работ. Устройство для изготовления набивной сваи содержит стальную обсадную трубу со смонтированным в ее верхней части приспособлением для крепления вибропогружателя и башмаком в нижней части. Новым является то, что приспособление для крепления вибропогружателя выполнено в виде усиливающего кольца, охватывающего верхнюю часть трубы и прикрепленного к ней сваркой, соединенной с обсадной трубой и расположенной ниже усиливающего кольца усиливающей пластины, имеющей в плане осесимметричную форму, предпочтительно ромба или круга, плоскость которой перпендикулярна продольной оси обсадной трубы, и ребер в виде, например, трапециевидных пластин, соединяющих усиливающее кольцо и усиливающую пластину, и симметрично расположенных относительно продольной оси трубы, а башмак выполнен теряемым в виде пластины большей площади в плане, чем площадь, ограниченная внешней окружностью обсадной трубы, причем к верхней части пластины теряемого башмака прикреплено направляющее кольцо, внутренний диаметр которого превышает наружный диаметр обсадной трубы, по крайней мере, на величину толщины размещаемой между ними в процессе установки обсадной трубы прокладки из упругого материала, предпочтительно резины, или наружный диаметр которого менее внутреннего диаметра обсадной трубы на ту же величину. Набивная свая, выполненная с использованием устройства, содержит бетонное или железобетонное тело, опертое на имеющий направляющее кольцо теряемый башмак через прокладку из упругого материала, предпочтительно резины, или, по крайней мере, через ее часть. Технический результат, обеспечиваемый двумя объектами, состоит в повышении качества сооружаемой набивной сваи и ее несущей способности за счет оптимизации процесса формирования грунтового ядра под теряемым башмаком, а также снижении трудоемкости процесса бетонирования сваи. 2 н. и 3 з.п. ф-лы, 2 ил.

[16]

Формула изобретения

1. Устройство для изготовления набивной сваи, содержащее стальную обсадную трубу со смонтированным в ее верхней части приспособлением для крепления вибропогружателя и башмаком в нижней части, отличающееся тем, что приспособление для крепления вибропогружателя выполнено в виде усиливающего кольца, охватывающего верхнюю часть трубы и прикрепленного к ней сваркой, соединенной с обсадной трубой и расположенной ниже усиливающего кольца усиливающей пластины, имеющей в плане осесимметричную форму, предпочтительно ромба или круга, плоскость которой перпендикулярна продольной оси обсадной трубы, и ребер в виде, например, трапециевидных пластин, соединяющих усиливающее кольцо и усиливающую пластину и симметрично расположенных относительно продольной оси трубы, а башмак выполнен теряемым, в виде пластины большей площади в плане, чем площадь ограниченная внешней окружностью обсадной трубы, причем к верхней части пластины теряемого башмака прикреплено направляющее кольцо, внутренний диаметр которого превышает наружный диаметр обсадной трубы, по крайней мере, на величину толщины размещаемой между ними в процессе установки обсадной трубы прокладки из упругого материала, предпочтительно резины, или наружный диаметр которого менее внутреннего диаметра обсадной трубы на ту же величину.

2. Устройство для изготовления набивной сваи по п.1, в котором прокладка выполнена с минимальным линейным размером по длине или ширине ее обращенной к трубе поверхности, не меньшим соответственно суммы внутреннего или внешнего диаметра направляющего кольца башмака и удвоенной высоты его стенок.

3. Устройство для изготовления набивной сваи по п.1, в котором прокладка размещена между обсадной трубой и стенками направляющего кольца с образованием выступающих за контур кольца ее кромок.

4. Набивная свая, выполненная с использованием устройства по любому из пп.1-3, в которой ее бетонное или железобетонное тело оперто на имеющий направляющее кольцо теряемый башмак через прокладку из упругого материала, предпочтительно резины или, по крайней мере, через ее часть.

5. Набивная свая по п.4, отличающаяся тем, что прокладка охватывает по крайней мере на части периметра нижнюю часть тела сваи высотой, не меньшей высоты стенок направляющего кольца теряемого башмака.

Описание

[1]

Изобретения относятся к области строительства, а именно к оборудованию для возведения набивных свай в грунте для повышения его несущей способности в месте возведения различных зданий и сооружений, а также к средствам повышения несущей способности и укрепления грунта, например, в процессе возведения фундаментов или проведения в грунте разного рода укрепительных работ.

[2]

Из известных наиболее близким по технической сущности является устройство для изготовления набивной сваи, содержащее обсадную трубу, погружаемую в грунт с помощью вибровозбудителя, смонтированного на ее верхнем конце с помощью опоры, и перекрывающий полость обсадной трубы теряемый башмак на нижнем ее конце (SU 1761868 А1, Е 02 D 5/38, 15.09.1992).

[3]

Известна также конструкция набивной сваи, выполненной в виде размещенного в массиве грунта протяженного, предпочтительно вертикально ориентированного, бетонного или железобетонного тела, нижнее основание которого опирается через башмак на уплотненный в процессе его вибропогружения слой грунта и, предпочтительно, имеет уширение (SU 1761868 А1, E 02 D 5/38, 15.09.1992).

[4]

Известные конструкции, использующие метод вибропогружения обсадной трубы с последующей подачей в нее бетонной смеси и извлечением обсадной трубы, не исключают возможности снижения прочностных характеристик сооружаемой набивной сваи за счет негерметичного соединения в процессе погружения теряемого башмака и обсадной трубы, что может привести к натеканию грунтовых вод в полость обсадной трубы и к неизбежности бетонирования сваи методом ее вытеснения, что отрицательно повлияет на качество сваи. Кроме того, процесс создания ядра уплотненного грунта, перемещаемого в процессе вибропогружения обсадной трубы перед ее башмаком и влияющего на несущую способность сваи, во всех случаях определяется площадью рабочей поверхности башмака и не учитывает возможности изменения категории, влажности и плотности грунта, что может привести к уменьшению размеров ядра или, в итоге - к проколу ядра башмаком.

[5]

Задачей настоящих изобретений является повышение качества сооружаемой набивной сваи, повышение ее несущей способности за счет оптимизации процесса формирования грунтового ядра под теряемым башмаком, а также снижение трудоемкости процесса бетонирования сваи.

[6]

Достигается это тем, что:

[7]

- устройство для изготовления набивной сваи содержит стальную обсадную трубу со смонтированным в ее верхней части приспособлением для крепления вибропогружателя и башмаком в нижней части, согласно изобретению приспособление для крепления вибропогружателя выполнено в виде усиливающего кольца, охватывающего верхнюю часть трубы, и прикреплено к ней сваркой, соединенной с обсадной трубой, и расположенного ниже усиливающего кольца усиливающей пластины, имеющей в плане осесимметричную форму, предпочтительно ромба или круга, плоскость которой перпендикулярна продольной оси обсадной трубы, и ребер в виде, например, трапециевидных пластин, соединяющих усиливающее кольцо и усиливающую пластину и симметрично расположенных относительно продольной оси трубы, а башмак выполнен теряемым в виде пластины большей площади в плане, чем площадь, ограниченная внешней окружностью обсадной трубы, причем к верхней части пластины теряемого башмака прикреплено направляющее кольцо, внутренний диаметр которого превышает наружный диаметр обсадной трубы, по крайней мере, на величину толщины размещаемой между ними в процессе установки обсадной трубы прокладки из упругого материала, предпочтительно резины, или наружный диаметр которого менее внутреннего диаметра обсадной трубы на ту же величину. Кроме того, прокладка может быть выполнена с минимальным линейным размером по длине или ширине ее обращенной к трубе поверхности, не меньшим соответственно суммы внутреннего или внешнего диаметра направляющего кольца башмака и удвоенной высоты его стенок. Прокладка размещена между обсадной трубой и стенками направляющего кольца с образованием выступающих за контур кольца ее кромок;

[8]

- набивная свая выполнена с использованием описанного выше устройства, а ее бетонное или железобетонное тело оперто на имеющий направляющее кольцо теряемый башмак через прокладку из упругого материала, предпочтительно резины или, по крайней мере, через ее часть. При этом прокладка может охватывать по крайней мере на части периметра нижнюю часть тела сваи высотой, не меньшей высоты стенок направляющего кольца теряемого башмака.

[9]

Технический результат, обеспечиваемый двумя объектами, состоит в повышении качества сооружаемой набивной сваи и ее несущей способности за счет оптимизации процесса формирования грунтового ядра под теряемым башмаком, а также снижении трудоемкости процесса бетонирования сваи.

[10]

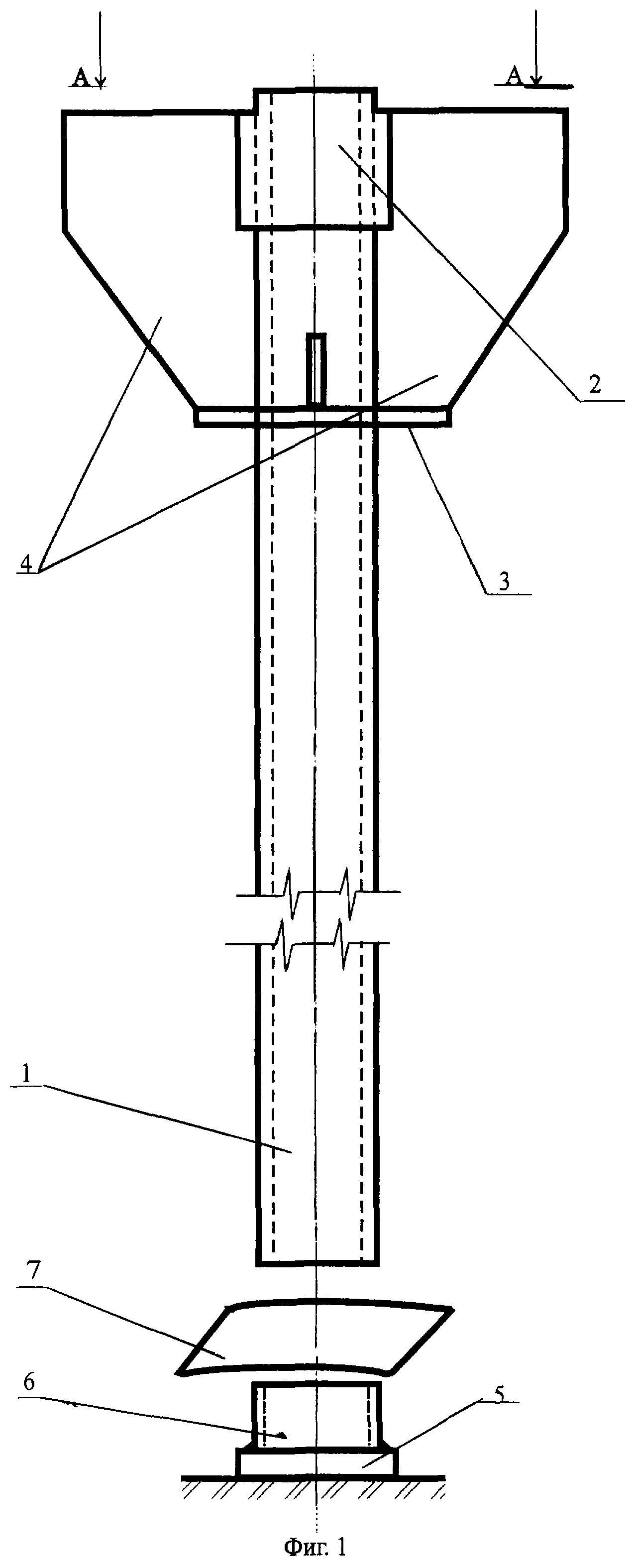
Изобретения поясняются чертежами, где на фиг.1 представлен общий вид устройства для изготовления набивной сваи, на фиг.2 - вид по А-А на фиг.1.

[11]

Устройство для изготовления набивной сваи содержит стальную обсадную трубу 1 со смонтированным в ее верхней части приспособлением для крепления вибропогружателя (не показан). Приспособление для крепления вибропогружателя выполнено в виде усиливающего кольца 2, охватывающего верхнюю часть трубы 1 и прикрепленного к ней, например, сваркой, и соединенной с обсадной трубой 1 и расположенной ниже усиливающего кольца усиливающей пластины 3. Пластина 3 имеет в плане осесимметричную форму, предпочтительно ромба или круга, и ее плоскость перпендикулярна продольной оси обсадной трубы 1. Приспособление для крепления вибропогружателя выполнено также с ребрами 4 в виде пластин, например трапециевидных, соединяющих усиливающее кольцо 2 и усиливающую пластину 3. Ребра 4 симметрично расположены относительно продольной оси трубы 1. Нижняя часть обсадной трубы снабжена теряемым башмаком, выполненным в виде пластины 5 большей площади в плане, чем площадь внешней окружности обсадной трубы 1, а к верхней части пластины 5 теряемого башмака прикреплено направляющее кольцо 6. Внутренний диаметр кольца 6 превышает наружный диаметр обсадной трубы 1, по крайней мере, на величину толщины размещаемой между ними в процессе установки обсадной трубы 1 прокладки 7 из упругого материала. Прокладка 7 выполнена, предпочтительно из резины, например, микропористой. Наружный диаметр 6 менее внутреннего диаметра обсадной трубы 1 на величину толщины размещаемой между ними в процессе установки обсадной трубы 1 прокладки 7. Кроме того, прокладка 7 может быть выполнена с минимальным линейным размером - по длине или ширине ее обращенной к трубе поверхности, не меньшим соответственно суммы внутреннего или внешнего диаметра направляющего кольца 6 башмака и удвоенной высоты его стенок. Прокладка 7 может быть выполнена произвольной формы и размещена между обсадной трубой и стенками направляющего кольца с образованием выступающих за контур кольца ее кромок. Набивная свая (не показана) выполнена с использованием описанного выше устройства, а ее бетонное или железобетонное, по крайней мере на части ее длины, тело оперто через прокладку 7 из упругого материала, предпочтительно резины, например, микропористой, или, по крайней мере через ее часть, на теряемый башмак. При этом прокладка 7 может охватывать нижнюю часть тела сваи, по крайней мере, по части ее периметра на высоте, не меньшей высоты стенок направляющего кольца 6 теряемого башмака.

[12]

Набивная свая выполняется следующим образом.

[13]

Вибропогружатель совместно с базовой машиной, имеющей направляющую для него мачту, устанавливается над местом образования набивной сваи. Стальная труба 1 переводится из горизонтального положения в вертикальное над установленным на грунт теряемым башмаком приблизительно на расстоянии 0,5 м. На направляюще кольцо 6 теряемого башмака укладывают прокладку 7 и на нее опускают трубу 1 с образованием плотного водонепроницаемого соединения. К верхней части трубы 1 в месте расположения ребер 4 крепят вибровозбудитель. При работе вибровозбудителя создается направленная возмущающая сила, за счет которой и с использованием пригруза закрепленной на направляющей базовой машины каретки осуществляют погружение обсадной трубы вдавливанием теряемого башмака. Диаметр теряемого башмака превышает диаметр обсадной трубы, за счет чего снимается боковое трение трубы 1 о грунт. Под башмаком в процессе погружения образуется ядро уплотненного грунта, при оптимальных условиях погружения трубы 1 перемещаемое совместно с башмаком в глубину неуплотненного массива. Из-за различия свойств грунта по глубине массива, в том числе и влажности, эффективность уплотнения грунта обычным башмаком снижается, однако, при наличии прокладки из упругого материала толщиной, равной 1,0-2,5 толщины стенок трубы 1 вибрационные и/или виброударные импульсы, передаваемые вибровозбудителем на трубу 1, передаются на башмак с некоторой задержкой по времени, что позволяет увеличить длительность импульса и при изменяемых реологических свойствах грунта обеспечить его эффективное уплотнение. Кроме того, прокладка 7 предотвращает заполнение полости трубы 1 грунтовой водой, вследствие чего бетонирование сваи осуществляют бетонной смесью контролируемого состава. До процесса бетонирования или во время него в полость трубы 1 устанавливают, при необходимости, арматуру сваи. В процессе бетонирования обсадную трубу извлекают для повторного использования. Свая выполняется, таким образом, в виде бетонного тела, установленного на теряемый башмак через упругую прокладку, в то время как сам башмак располагается на уплотненном ядре грунта, диаметр которого в поперечнике составляет около трех диаметров пластины 5 башмака.

[14]

Предлагаемые технические решения позволяют повысить темпы работ в обводненных или водонасыщенных грунтах при соблюдении требуемого качества свай.

Как компенсировать расходы
на инновационную разработку
Похожие патенты