Изобретение относится к дорожно-строительному оборудованию, а именно к конструкции виброплиты для уплотнения гравийно-щебеночных материалов, несвязных грунтов, асфальтов и других аналогичных
материалов. Технический результат - повышение надежности, ресурса и улучшение ремонтопригодности за счет разгрузки крепежных деталей, перераспределения нагрузок на корпус вибратора и ликвидации мест
концентрации напряжений. Трамбовочная виброплита содержит рабочую плиту с установочным элементом и связанную с ней через амортизаторы несущую раму, на которой расположен двигатель привода вибратора,
выполненного в виде размещенного в корпусе возбудителя колебаний и закрепленного на установочном элементе рабочей плиты. В установочном элементе выполнено гнездо с посадочной поверхностью, профиль
которой соответствует профилю ответного участка поверхности корпуса вибратора. Посадочная поверхность гнезда охватывает не менее части поверхности корпуса вибратора, расположенной под горизонтальной
плоскостью, проходящей через ось возбудителя колебаний. 4 з.п. ф-лы, 9 ил.
1. Трамбовочная виброплита, содержащая рабочую плиту с установочным элементом и связанную с ней через амортизаторы несущую раму, на которой расположен двигатель привода вибратора,
выполненного в виде размещенного в корпусе возбудителя колебаний и закрепленного на установочном элементе рабочей плиты, отличающаяся тем, что в установочном элементе выполнено гнездо с посадочной
поверхностью, профиль которой соответствует профилю ответного участка поверхности корпуса вибратора, причем посадочная поверхность гнезда охватывает не менее части поверхности корпуса вибратора,
расположенной под горизонтальной плоскостью, проходящей через ось возбудителя колебаний. 2. Виброплита по п.1, отличающаяся тем, что установочный элемент
выполнен за одно целое с рабочей плитой или неразъемно соединен с ней. 3. Виброплита по любому из п.1 или 2, отличающаяся тем, что она снабжена
устройством, фиксирующим корпус вибратора от смещения его относительно установочного элемента. 4. Виброплита по любому из пп.1-3, отличающаяся тем, что
установочный элемент выполнен в виде по крайней мере двух параллельных пластин, расположенных перпендикулярно оси возбудителя колебаний. 5. Виброплита по
любому из пп.1-4, отличающаяся тем, что посадочная поверхность гнезда и ответная поверхность корпуса вибратора выполнены цилиндрическими.
Изобретение относится к дорожно-строительному оборудованию, а именно к конструкции виброплиты для уплотнения
гравийно-щебеночных материалов, несвязных грунтов, асфальтов и других аналогичных материалов. Известна трамбовочная виброплита, содержащая рабочую плиту и связанную с ней через
амортизаторы несущую раму, на которой размещен двигатель привода вибратора. При этом рабочая плита несет на себе конструктивные элементы для установки эксцентрикового возбудителя колебаний, т.е.
конструктивные элементы рабочей плиты выполняют роль корпуса вибратора /US, 5387052 Н, кл. 404-133.1, 1993 г./. Такое выполнение виброплиты имеет ряд недостатков, связанных с неудобством
и усложнением обслуживания и ремонта собственно вибратора, поскольку все эти работы сводятся в конечном итоге к операциям с тяжелой и габаритной рабочей плитой. Известна также
трамбовочная виброплита, содержащая рабочую плиту с установочным элементом и связанную с ней через амортизаторы несущую раму, на которой расположен двигатель привода вибратора. При этом вибратор
выполнен в виде расположенного в корпусе возбудителя колебаний и закреплен на установочном элементе посредством крепежных деталей /ЕР, 0855470 А2, кл. Е 01 С 19/38, 1998 г./. Это устройство является
наиболее близким к заявленному. В указанной виброплите установочный элемент выполнен в виде бобышек, которыми снабжена рабочая плита, а корпус вибратора закреплен на бобышках с помощью
крепежных деталей, что позволяет при необходимости быстро демонтировать вибратор. Однако в условиях больших знакопеременных нагрузок на крепежные детали такие виброплиты имеют проблемы с обеспечением
надежности крепления вибратора, приводящие к необходимости усиления корпуса вибратора, деталей крепления и фиксации и т.д. Изобретение решает задачу улучшения эксплуатационных качеств
виброплиты. Техническим результатом является повышение надежности и ресурса и улучшение ремонтопригодности виброплиты за счет разгрузки крепежных деталей, перераспределения нагрузок на
корпус вибратора и ликвидации мест концентрации напряжений. Задача изобретения решена в трамбовочной виброплите, содержащей рабочую плиту с установочным элементом и связанную с ней через
амортизаторы несущую раму, на которой расположен двигатель привода вибратора, закрепленного на установочном элементе и выполненного в виде размещенного в корпусе возбудителя колебаний, причем в
установочном элементе выполнено гнездо с посадочной поверхностью, профиль которой соответствует профилю ответного участка поверхности корпуса вибратора. Посадочная поверхность гнезда охватывает не
менее части поверхности корпуса вибратора, расположенной под горизонтальной плоскостью, проходящей через ось возбудителя колебаний, т.е. как минимум всю ту часть поверхности корпуса вибратора, которая
расположена под указанной плоскостью. Установочный элемент выполнен за одно целое с рабочей плитой или неразъемно соединен с ней. Виброплита снабжена устройством, фиксирующим корпус
вибратора от смещения его относительно установочного элемента. Установочный элемент выполнен в виде по крайней мере двух параллельных пластин, расположенных перпендикулярно оси
возбудителя колебаний. Посадочная поверхность гнезда и ответная поверхность корпуса вибратора выполнены цилиндрическими. Сущность изобретения поясняется конкретными
примерами, представленными на фиг.1-9, которые, однако, не являются единственно возможными, но наглядно показывают возможность достижения приведенной совокупностью признаков требуемого технического
результата: на фиг.1 показан общий вид трамбовочной виброплиты; на фиг.2 - вид сверху; на фиг.3-4 - вид на рабочую плиту сбоку и сверху; на
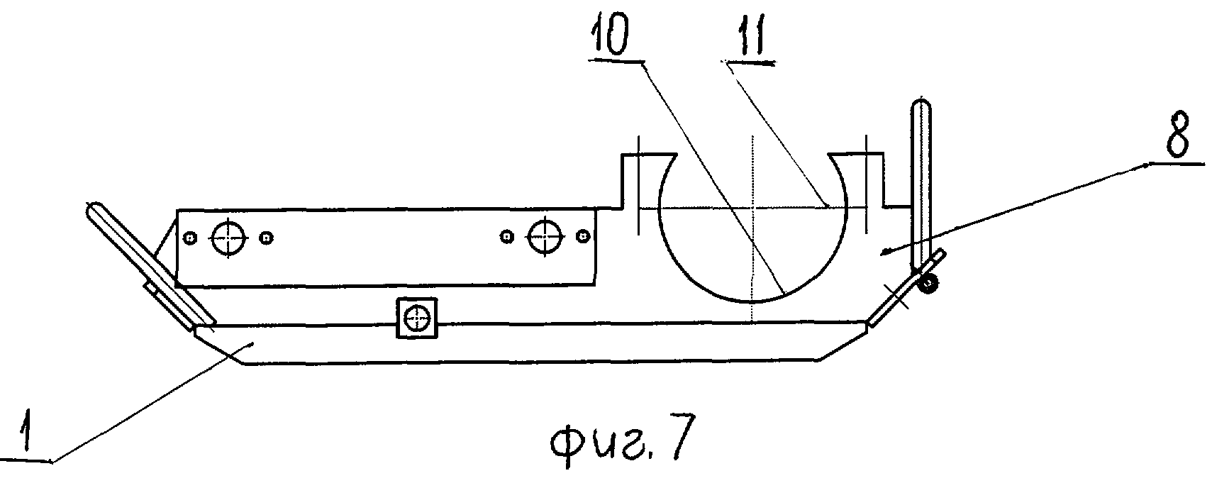
фиг.5-7 - варианты выполнения гнезда; на фиг.8-9 - вид сбоку и сверху на рабочую плиту с фиксирующим корпус вибратора устройством при профиле посадочной поверхности гнезда по фиг.7. Трамбовочная виброплита содержит рабочую плиту 1 и связанную с ней через амортизаторы 2 несущую раму 3, на которой расположен двигатель 4 привода вибратора 5. Вибратор 5 выполнен в виде
размещенного в корпусе 6 возбудителя колебаний 7. Рабочая плита 1 содержит установочный элемент, который в приводимом конкретном примере выполнен в виде двух параллельных пластин 8, расположенных
перпендикулярно оси 9 возбудителя колебаний 7 и неразъемно соединенных с рабочей плитой 1. В пластинах 8 выполнено гнездо 10, в котором размещен корпус 6 вибратора 5. Профиль посадочной поверхности
гнезда 10 соответствует профилю ответного участка поверхности корпуса 6 вибратора 5. Посадочная поверхность гнезда 10 охватывает не менее части поверхности корпуса 6 вибратора 5, расположенной под
горизонтальной плоскостью 11, проходящей через ось 9 возбудителя колебаний 7. Корпус 6 вибратора 5 зафиксирован от смещения относительно выполненного в виде пластин 8 установочного элемента с помощью
устройства в виде крышки 12, соединенной болтами 13 с пластинами 8. Прижимающая корпус 6 крышка 12 может содержать дополнительные используемые в технике фиксирующие элементы. Крышка 12 может быть
выполнена в виде одной детали или нескольких. Посадочная поверхность гнезда 9 и ответная поверхность корпуса 6 вибратора выполнены цилиндрическими. Виброплита работает следующим
образом. Установленный на несущей раме 3 двигатель 4 приводит во вращение возбудитель колебаний 7 вибратора 5, создающий при вращении знакопеременные нагрузки, вызывающие вибрации. Эти
вибрации через корпус 6 вибратора 5 и посадочную поверхность гнезда 10 передаются рабочей плите 1. Под воздействием вибрирующей рабочей плиты 1 происходит уплотнение находящегося под ней материала.
При этом на устройство, фиксирующее корпус 6 вибратора 5 от смещения относительно выполненного в виде пластин 8 установочного элемента, в частности на болты 13 и крышку 12, действует минимальная или
полностью снимается нагрузка, поскольку все усилия от вибратора 5 передаются на рабочую плиту 1 непосредственно через посадочную поверхность 10 принадлежащего рабочей плите 1 установочного
элемента. Предлагаемая трамбовочная виброплита широко применима при дорожно-строительных работах и технологична в изготовлении.