Полезная модель относится к спутниковому наземному абонентскому терминалу спутниковой связи. Технический результат заключается в возможности производить тестирование и диагностику модулей без разбора конструкции терминала. Для этого терминал выполнен в виде функционально законченных модулей на отдельных печатных платах в одинаковом конструкторском исполнении, размещенных в конструктиве терминала в направляющих, с тыльной задней стороны печатных плат установлены разъемы межмодульного соединения, а с лицевой стороны корпуса терминала каждый модуль имеет переднюю панель со снимаемыми винтовыми фиксаторами и ручками съема модулей из направляющих. 2 ил.
Спутниковый наземный абонентский терминал спутниковой связи, выполненный в виде функционально законченных модулей на отдельных печатных платах в одинаковом конструкторском исполнении, размещенных в конструктиве терминала в направляющих, с тыльной задней стороны печатных плат установлены разъемы межмодульного соединения, а с лицевой стороны корпуса терминала каждый модуль имеет переднюю панель со снимаемыми винтовыми фиксаторами и ручками съема модулей из направляющих.
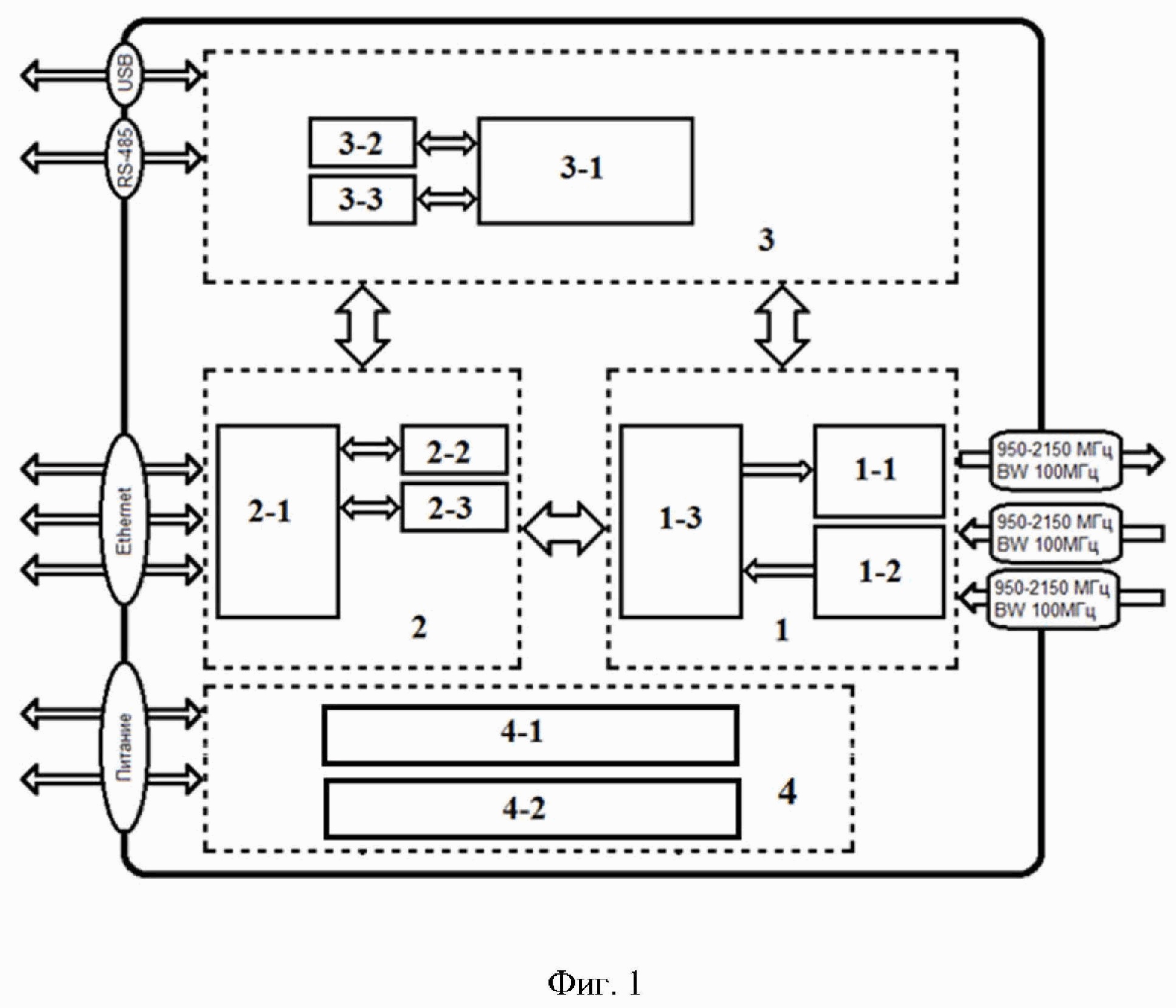
Полезная модель спутникового наземного абонентского терминала относится к средствам связи, предназначенным для обмена информацией между сетью передачи данных, подходящей к абонентскому терминалу, и сетью спутниковой связи посредством антенной системы и радиомодуля. Полезная модель решает задачи обеспечения широкополосного доступа индивидуальных и коллективных пользователей в Интернет; предоставление магистральных спутниковых каналов для корпоративных пользователей; обеспечение выделенной пропускной способности системы для VNO-операторов. Абонентские терминалы (АТ) являются одними из ключевых функциональных элементов наземных станций спутниковой связи, обеспечивающих обмен информацией между сетью передачи данных, подходящей к АТ, и сетью спутниковой связи. Современные сети спутниковой связи являются, как правило, мультисервисными сетями, обеспечивающими передачу разнородного трафика в гетерогенной среде с единой сетевой инфраструктурой. Такие сети позволяют организовать эффективное управление трафиком и существенно снизить расходы на эксплуатацию сетевого оборудования, обеспечивая при этом построение прозрачной и производительной информационной инфраструктуры, функционирующей в едином информационном пространстве, и создавая целый ряд преимуществ, как для абонентов, так и для операторов этих сетей: возможность доступа к спутниковому ресурсу, как при предварительном выделении ресурса («закрепленный» режим), так и по требованию; унифицированный способ доступа к любым видам информации; возможность динамического перераспределения ресурсов сети; поддержку различных протоколов передачи данных, голоса, видеоинформации и доступа в Интернет. Известна абонентскаяспутниковая станция для работы с многолучевыми спутниками-ретрансляторами с высокой пропускной способностью, патент РФ № 210172, Заявка 2021103805, 15.02.2021, МПК H04B 7/02. Абонентская станция для приема и ретрансляции спутниковых сигналов, содержащая антенну для связи со спутником-ретранслятором, которая соединена с n радиочастотными трактами, каждый из которых содержит малошумящий усилитель (МШУ), усилитель мощности, понижающий и повышающий конверторы, через соответствующие входы/выходы которых, радиочастотный тракт соединен с модемом, при этом каждый модем выполнен настроенным на заданную частоту приема соответствующей локальной зоны; решающее устройство, соединенное с модемами и выполненное с возможностью суммирования сигналов антенны, получаемых на разных частотах; мультиплексор, соединенный с модемами и обеспечивающий передачу сигнала; вычислительное устройство, соединенное с модемами и мультиплексором, и выполненное с возможностью установки частоты на передачу сигналов модемами и управления выходом мультиплексора на передачу сигналов к модемам. Недостатком известной станции является конструктивное исполнение в виде отдельных устройств, соединяемых переходами, способ компоновки которых отличается, что снижает ремонтопригодность и затрудняет изменение вариантов исполнения станций в едином конструктиве. Известны другие спутниковые абонентские терминалы (Белов А.С., Алдошин А.И. и Абакумова А.Ю. Отечественные модемы земных станций спутниковой связи // Электросвязь, 2020, № 1, С. 27-36), следующих типов и производителей: 1) цифровой спутниковый модем М-64, производитель ФГУП НИИР–ЛОНИИР, Санкт-Петербург, https://loniir.ru/?page_id=2111; 2) спутниковый модем MD100SE разработки ЗАО «РАДИАН» (Санкт-Петербург), http://www.radian.spb.ru/; 3) спутниковый модем серии СМ-2.7M, производство ООО «РАДИС Лтд.» (Москва, Зеленоград), http://www.radis.ru/sm.htm; 4) маршрутизатор спутниковый ЯР-1040 SCPC, производитель ООО «Инжиниринговое бюро «Феникс» (Красноярск); 5) Спутниковый модем ЭТРА-МД9L ООО «НПП «ЭТРА Плюс» (Москва), http://www.etra-plus.ru/component/virtuemart/sputnikovyj-modem-etra-md9l.html; 6) станции спутниковой̆ связи «Стела М» производство АО «ВИСАТ-ТЕЛ» (Москва), http://www.vsat-tel.ru/equip.php; 7) станция спутниковой связи «Центавр» производство ОАО «НПЦ «Вигстар» (Москва), https://www.vigstar.ru/stss/centavr-na-2d.html. Перечисленные спутниковые абонентские терминалы имеют общий недостаток, связанный с их конструктивным исполнением в виде блоков, устанавливаемых в стойку, моноблоков, печатных плат высокой степени упаковки без разделения функциональных модулей. Известна «Станция спутниковой связи контейнерного исполнения» патент РФ № 2455769, заявка 2011130946/08, 26.07.2011, авторы Балицкий В.С. и др. Технический результат заключается в обеспечении возможности высокоскоростной передачи/приема различного вида информации с требуемым качеством связи и повышение пропускной способности направлений связи. Для этого станция спутниковой связи контейнерного исполнения содержит: антенную систему, состоящую из антенны, опорно-поворотного устройства с электросиловыми приводами и контроллера управления антенной, систему наведения, состоящую из GPS антенны и GPS-приемника, дуплексер, малошумящий усилитель, преобразователь частоты приема, усилитель промежуточной частоты (ПЧ), делитель частоты L-диапазона, телевизионный приемник, коммутатор каналов, блок опорного генератора, приемный и передающий синтезаторы частоты, спутниковый терминал, усилитель ПЧ передачи, преобразователь частоты передачи, усилитель мощности, контроллер передатчика, сервер управления сетью связи, оптический кросс, информационный кабельный ввод, волоконно-оптическую линию связи, проводную линию связи и линию связи для соединения через местную телефонную сеть с внешними абонентами. Одним из недостатков станции спутниковой связи контейнерного исполнения является конструктивное исполнение в виде блоков, что увеличивает габариты, затрудняет возможность проведения тестирования и диагностики составляющих блоков и конфигурирования станций с отличающимися параметрами и ценовыми показателями. Для решения существующей технической проблемы по улучшению конструктивного исполнения спутниковый наземный абонентский терминал исполнен в виде многомодульного электронного устройства, что позволяет производить тестирование, диагностику модулей без разбора конструкции терминала и повысить уровень унификации при производстве терминалов с разными параметрами в одинаковом конструктивном исполнении, например, 1U 19'. Технический результат достигается разбиением структурной схемы на функционально законченные модули, исполняемые на отдельных печатных платах и размещаемые в корпусе терминала в направляющих, с тыльной стороны которых размещены разъемы. Доступ к модулям с лицевой стороны корпуса терминала обеспечивается снимаемыми винтовыми фиксаторами и удобными ручками съема плат из направляющих. Модульное исполнение повышает ремонтопригодность терминала путем замены модулей, делает возможным проведение диагностики отдельных модулей без разбора конструктива и позволяет производить терминалы с разными параметрами с максимально возможной унификацией в одинаковом конструктивном исполнении, например, 1U, 19''. Например, абонентский терминал (АТ) в модульном исполнении выполняется в двух вариантах: 1) АТ-100 – основное полнофункциональное исполнение, реализующее максимально возможные функции и параметры в полном объеме; 2) АТ-75 – упрощенное исполнение по нескольким параметрам, но более привлекательное для потребителей, позволяющее в перспективе рассчитывать на больший спрос на рынке средств спутниковой связи. На Фиг. 1 показана структурная схема спутникового наземного абонентского терминала спутниковой связи. На Фиг. 2 показан внешний вид абонентского терминала 4 съемными модулями. Спутниковый наземный абонентский терминал исполнен в виде многомодульного электронного устройства. Он включает в себя следующие функциональные модули (Фиг. 1): аналоговый приёмо-передающий модуль 1; цифровой модуль обработки данных 2; цифровой модуль управления 3; модули 4-1, 4-2 вторичного источника питания 4. Аналоговый приёмо-передающий модуль 1 обеспечивает 4 частотных канала приёма/передачи, включает передающий конвертор ЦАП 1-1, выполняющий функцию цифро-аналогового преобразования и квадратурного модулятора при формировании спектра сигнала в L-диапазоне 950-2150 МГц с полосой 100 МГц, приемный конвертор АЦП 1-2, образующий два независимых приемных тракта и выполняющий функции квадратурного переноса спектра в основную полосу частот, аналого-цифрового преобразования и предварительной цифровой обработки сигнала. Второй приемник используется для поддержки технологии Mesh TDMA. В ПЛИС модема 1-3 реализуется цифровая обработка сигналов, кодирование/декодирование и интерфейс соединения с передающим конвертором ЦАП 1-1, приемным конвертором АЦП 1-2. Выход аналогового приёмо-передающего модуля 1 соединен с входом цифрового модуля обработки данных 2. Цифровой модуль обработки данных 2 выполняет функции сетевой маршрутизации пакетов Ethernet. В качестве основы выступает микросхема пакетного процессора 2-1 и ОЗУ 2-2. Для хранения конфигурационных данных применяется ПЗУ 2-3. Управление данной микросхемой осуществляется с модуля управления 3 через выделенный интерфейс. Микросхема пакетного процессора не имеет встроенных преобразователей физического уровня, поэтому для организации электрических портов Ethernet применяются внешние микросхемы физического уровня. Цифровой модуль управления 3, соединенный с цифровым модулем обработки данных 2 и с аналоговым приёмо-передающим модулем 1 выполняет функции контроля и управления спутникового наземного абонентского терминала. Основа – микроконтроллер 3-1 управления режимами с низким энергопотреблением с частотой ядра до 540 МГц. Работает в связке с ОЗУ 3-2 объёмом 1 ГБ. Для загрузки и хранения образа операционной системы, хранения конфигурационных данных, а также образов системного ПО используется ПЗУ 3-3. Резервированный вторичный источник питания 4 предназначен, состоит из источника 4-1 для преобразования сетевого переменного напряжения 220 В в постоянное напряжение плюс 24 В, которое используется для питания модулей 1, 2 и 3 терминала, и резервного источника 4-2, питающего от источника постоянного напряжения 24 В. Каждый модуль выполняется на отдельных печатных платах, конструктивно помещаемых в направляющих, содержит разъемы на задних торцах плат для межсоединения модулей в соответствии со структурной схемой и лицевую панель с винтовыми фиксаторами для крепления и удобными ручками съема модуля из корпуса терминала для проведения диагностики, замены в случае отказа, а также конфигурирования терминала в полнофункциональном исполнении АТ-100 или упрощенного исполнения АТ-75 с меньшей стоимостью.