патент
№ RU 222206
МПК B21D43/28

НАПРАВЛЯЮЩИЙ РОЛИК РОЛИКОВОГО НОЖА ДЛЯ РУЧНОГО ЛИСТОГИБОЧНОГО СТАНКА

Авторы:
Хайруллин Тимур Радисович
Номер заявки
2023126979
Дата подачи заявки
20.10.2023
Опубликовано
15.12.2023
Страна
RU
Как управлять
интеллектуальной собственностью
Чертежи 
3
Реферат

[46]

Полезная модель относится к области ручных, или переносных, станков для изгиба и резки листового материала из металлов и пластиков, в частности к направляющему ролику роликового ножа для ручного листогибочного станка. Направляющий ролик роликового ножа для ручного листогибочного станка выполнен в виде цилиндра, в центре которого установлен подшипник, причем по периферии цилиндра выполнено углубление для вмещения выступа прижимной упорной планки, причем направляющий ролик выполнен из конструкционной стали, содержащей никель. Технический результат заявленной полезной модели заключается в повышении коррозионной стойкости направляющего ролика роликового ножа для переносного листогибочного станка. 1 з.п. ф-лы, 3 ил.

Формула изобретения

1. Направляющий ролик роликового ножа для ручного листогибочного станка, выполненный в виде цилиндра, в центре которого установлен подшипник, причем по периферии цилиндра выполнено углубление для вмещения выступа прижимной упорной планки, отличающийся тем, что выполнен из конструкционной стали, содержащей никель.

2. Направляющий ролик по п.1, отличающийся тем, что выполнен из конструкционной стали, содержащей никель и молибден.

Описание

[1]

Область техники, к которой относится полезная модель

[2]

Полезная модель относится к области ручных, или переносных, станков для изгиба и резки листового материала из металлов и пластиков, в частности, к направляющему ролику роликового ножа для ручного листогибочного станка [B21D 5/00, B21D 5/04, B21D 5/029, B21D 7/024].

[3]

Уровень техники

[4]

Ручные листогибочные станки отличаются от стационарных листогибочных станков тем, что имеют небольшой вес и могут перемещаться вручную без использования грузоподъёмной техники. Требование легковесности налагает ограничения на материалы деталей таких станков. Типовой ручной листогибочный станок включает нижнюю прижимную планку, прижимную упорную планку, фиксирующую планку и верхнюю прижимную планку. Листовой материал зажимается между нижней прижимной планкой и прижимной упорной планкой, после чего листовой материал может либо сгибаться при приложении усилия к верхней прижимной планке, либо разрезаться роликовым ножом, установленном и перемещающимся по прижимной упорной планке.

[5]

Таким образом, роликовый нож представляет собой устройство, монтируемое на ручном листогибочном станке и предназначенное для раскроя листового материала, зажатого в указанном станке. При этом направляющий ролик роликового ножа обеспечивает возможность скольжения роликового ножа по прижимной упорной планке ручного листогибочного станка, в частности, по ее верхнему выступу, контактирующему с указанным направляющим роликом.

[6]

В заявке на патент США «КОМБИНИРОВАННЫЙ ЛИСТОГИБОЧНЫЙ ПРЕСС И РЕЗАК» [US5706693A, опубл. 13.01.1998] раскрывается роликовый нож для ручного листогибочного станка, содержащий металлический направляющий ролик, выполненный в виде цилиндра, в центре которого установлен подшипник, причем по периферии цилиндра выполнено углубление для вмещения выступа прижимной упорной планки.

[7]

В заявке на патент США «РЕГУЛИРУЕМЫЙ РЕЗАК» [US2005150269A1, опубл. 14.07.2005] раскрывается роликовый нож для ручного листогибочного станка, содержащий металлический направляющий ролик, выполненный в виде цилиндра, в центре которого установлен подшипник, причем по периферии цилиндра выполнено углубление для вмещения выступа прижимной упорной планки.

[8]

Также из уровня техники известен НАПРАВЛЯЮЩИЙ РОЛИК РОЛИКОВОГО НОЖА «PRO CUT-OFF» производства компании Tapco [https://stankoportal.ru/listogiby/tapco/12396-tapco], выполненный в виде цилиндра, в центре которого установлен подшипник, причем по периферии цилиндра выполнено углубление для вмещения выступа прижимной упорной планки, причем направляющий ролик выполнен из хромованадиевой стали.

[9]

Недостатком, присущим всем вышеуказанным аналогам заявленной полезной модели, является то, что известные направляющие ролики обладают низкой коррозионной стойкостью. Указанное обстоятельство в совокупности с тем фактом, что ручные листогибочные станки и роликовые ножи на них зачастую используют снаружи помещений в условиях повышенной влажности, особенно характерной для зимнего времени, обеспечивает сравнительно высокую скорость коррозии направляющего ролика роликового ножа с повреждением его гладкой опорной поверхности, предназначенной для контакта с верхним выступом прижимной упорной планки, и нарушением плавности перемещения роликового ножа по ручному листогибочному станку.

[10]

Раскрытие сущности полезной модели

[11]

Техническая проблема, на решение которой направлена заявленная полезная модель, заключается в создании направляющего ролика роликового ножа для переносного листогибочного станка, обладающего повышенной коррозионной стойкостью.

[12]

Технический результат заявленной полезной модели заключается в повышении коррозионной стойкости направляющего ролика роликового ножа для переносного листогибочного станка.

[13]

Указанную техническую проблему решает и указанный технический результат обеспечивает направляющий ролик роликового ножа для ручного листогибочного станка, выполненный в виде цилиндра, в центре которого установлен подшипник, причем по периферии цилиндра выполнено углубление для вмещения выступа прижимной упорной планки, причем направляющий ролик выполнен из конструкционной стали, содержащей никель.

[14]

В частности, направляющий ролик выполнен из конструкционной стали, содержащей никель и молибден.

[15]

Краткое описание чертежей

[16]

На фиг. 1 - в аксонометрии показан общий вид роликового ножа для ручного листогибочного станка.

[17]

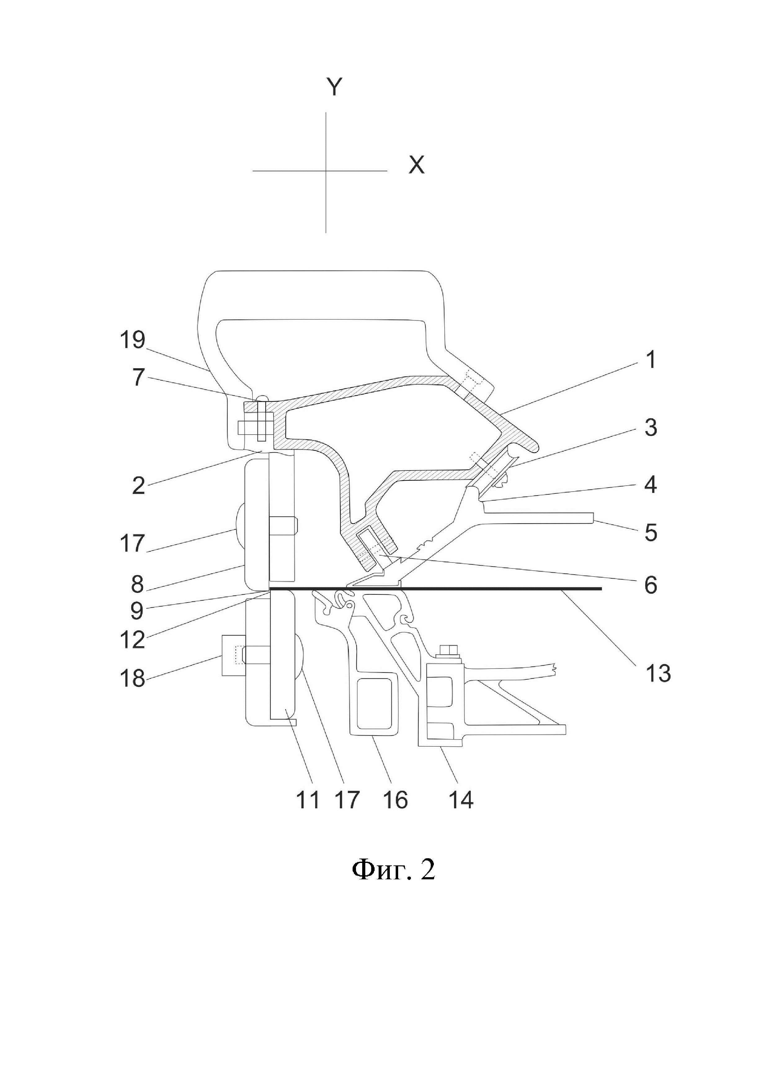
На фиг. 2 - в местном разрезе показан роликовый нож с фиг. 1, установленный на ручном листогибочном станке.

[18]

На фиг. 3 - в аксонометрии показан общий вид заявленного направляющего ролика для ручного листогибочного станка.

[19]

На чертежах обозначены: 1 - полый корпус; 2 - ножевой держатель; 3 - направляющий ролик; 4 - выступ прижимной упорной планки; 5 - прижимная упорная планка; 6 - ролик скольжения; 7 - винт; 8 - первый режущий диск; 9 - основная режущая кромка; 10 - первая ось; 11 - второй режущий диск; 12 - дополнительная режущая кромка; 13 - листовая заготовка; 14 - нижняя прижимная планка; 15 - вторая ось; 16 - верхняя прижимная планка; 17 - крепежный элемент; 18 - резьбовая втулка; 19 - ручка; 20 - подшипник; 21 - углубление.

[20]

Осуществление полезной модели

[21]

Как показано на фиг. 1, роликовый нож включает полый корпус 1, соединенный с ножевым держателем 2. На полом корпусе 1 установлены направляющие ролики 3, выполненные с возможностью опираться на верхний выступ 4 прижимной упорной планки 5 ручного листогибочного станка, и ролики 6 скольжения, выполненные с возможностью скольжения по поверхности указанной прижимной упорной планки 5.

[22]

Корпус 1 роликового ножа выполнен в виде полого профилированного тела, то есть, полого тела, имеющего, по существу, неизменное поперечное сечение по всей длине и изготавливаемого методом экструзии, в частности, методом прямого прессования или методом вытяжки.

[23]

На фиг. 2 в местном поперечном разрезе показан роликовый нож, установленный на ручном листогибочном станке.

[24]

Заявленный ролик 3 предназначен для направления роликового ножа вдоль верхнего выступа 4 прижимной упорной планки 5 ручного листогибочного станка.

[25]

На ножевом держателе 2 установлен с возможностью вращения первый режущий диск 8, периферия которого образует основную режущую кромку 9. Первый режущий диск 8 установлен с возможностью вращения вокруг первой оси 10.

[26]

На ножевом держателе 2 также установлен с возможностью вращения второй режущий диск 11, периферия которого образует дополнительную режущую кромку 12, комплементарную по форме основной режущей кромке 9 так, что обеспечивается возможность разрезания листовой заготовки 13, размещенной между режущими кромками 9 и 12 и зажатой между прижимной упорной планкой 5 и нижней прижимной планкой 14, как показано на фиг. 2. Второй режущий диск 11 установлен с возможностью вращения вокруг второй оси 15, параллельной первой оси 10 и расположенной на расстояние от нее.

[27]

При этом на фиг.2 также показана верхняя прижимная планка 16, шарнирно соединенная с нижней прижимной планкой 14.

[28]

Первый режущий диск 8 установлен с возможностью вращения на ножевом держателе 2 с помощью крепежного элемента 17, проходящего через первый режущий диск 8 и входящего в резьбовое зацепление с ножевым держателем 2.

[29]

Второй режущий диск 11 установлен на ножевом держателе 2 посредством крепежного элемента 17, проходящего через ножевой держатель 2 и входящего в резьбовое зацепление с резьбовой втулкой 18, размещенной с противоположной стороны ножевого держателя 2.

[30]

Полый корпус 1 может быть оснащен ручкой 19, выполненной с возможностью захвата пользователем.

[31]

Заявленный направляющий ролик 3 более подробно показан на фиг. 3.

[32]

Как видно на фиг. 3 заявленный направляющий ролик выполнен в виде цилиндра, в центре которого установлен подшипник 20, причем по периферии цилиндра выполнено углубление 21 для вмещения выступа прижимной упорной планки, отличающийся тем, что выполнен из конструкционной стали, содержащей никель.

[33]

Подшипник 20 может быть выполнен в виде любого известного из уровня подшипника, обеспечивающего возможность вращение внешнего диска подшипника относительно внутреннего, например, шарикоподшипника, роликового подшипника, упорного подшипника, самоустанавливающегося подшипника или сферического подшипника.

[34]

Углубление 21 предпочтительно имеет полукруглый, овальный или параболический контур.

[35]

Согласно заявленной полезной модели, направляющий ролик выполнен из никельсодержащей конструкционной стали.

[36]

Конструкционная сталь - это тип стали, который используется для создания различных строительных конструкций, машин, оборудования и других инженерных приложений, где требуется прочность, устойчивость к нагрузкам и способность к долгосрочной эксплуатации. Состав конструкционных сталей, а также их свойства хорошо известны специалистам и описаны, в частности, в ГОСТ 4543-2016 «Металлопродукция из конструкционной легированной стали».

[37]

В зависимости количественного состава легирующих элементов конструкционные стали подразделяются на стали: хромистую, марганцовистую, хромокремнистую, хромомолибденовую, хромованадиевую (как в прототипе заявленной полезной модели), никельмолибденовую, хромоникелевую, хромокремнемарганцовую, хромомарганцовоникелевую, хромоникельмолибденовую, хромоалюминиевую и хромоникельмолибденованадиевую.

[38]

При этом никель из перечисленных сталей содержат сталь: никельмолибденовая, хромоникелевая, хромомарганцовоникелевая, хромоникельмолибденовая, хромоникельванадиевая, хромоникельмолибденованадиевая, хромомарганцовоникелевая, что соответствует маркам 15Н2М (15НМ), 20Н2М (20НМ), 12ХН, 20ХН, 40ХН, 45ХН, 50ХН, 20ХНР, 12ХН2, 12ХН3А, 20ХН3А, 30ХН3А, 12Х2Н4А, 20Х2Н4А, 20ХГСА, 25ХГСА, 30ХГС, 30ХГСА, 35ХГСА, 30ХГСН2А (30ХГСНА), 15ХГН2ТА (15ХГНТА), 20ХГНР, 20ХГНТР, 38ХГН, 14ХГН, 19ХГН, 20ХН2М (20ХНМ), 30ХН2МА (30ХНМА), 38Х2Н2МА (38ХНМА), 40ХН2МА (40ХНМА), 40Х2Н2МА (40Х1НВА), 38ХН3МА, 18Х2Н4МА (18Х2Н4ВА), 25Х2Н4МА (25Х2Н4ВА), 30ХН2МФА (30ХН2ВФА), 36Х2Н2МФА (36ХН1МФА), 38ХН3МФА, 45ХН2МФА (45ХНМФА), 20ХН4ФА, 20ХГНМ, 40ХГНМ, 25ХГНМТ.

[39]

Никель способствует образованию защитной пассивной пленки на поверхности стали при взаимодействии с окружающей средой. Эта пленка представляет собой слой оксидов никеля, который предотвращает проникновение кислорода и коррозионных агентов в основной.

[40]

Когда никель добавляется в сталь, он реагирует с окружающей средой (кислородом и водяными парями) в процессе окисления, притом никель имеет высокий аффинитет к кислороду и может образовывать оксиды никеля на поверхности стали. Таким образом, в результате реакции никеля с кислородом на поверхности стали образуется тонкий слой оксидной пленки, который покрывает металлическую поверхность и который образован из NiO (оксид никеля) или Ni2O3 (оксид никеля(III)). В результате образования оксидной пленки обеспечивается пассивация металла, что означает, что поверхность металла становится менее реакционной с окружающей средой. Это предотвращает дальнейшее окисление и коррозию металла под пленкой и обеспечивает надежную защиту металла от коррозии и воздействия агрессивных сред, таких как влажный воздух или вода. Указанная пленка является стойкой к долговременной эксплуатации во влажных или агрессивных средах.

[41]

Обращаясь к прототипу заявленной полезной модели, следует отметить, что ванадий не способствует образованию стойких оксидных пленок, поскольку обладает меньшим аффинитетом к кислороду и менее эффективно взаимодействует с окружающей средой и медленнее образовывать оксидную пленку по сравнению с более активными элементами, такими как хром, алюминий или никель.

[42]

Помимо способности образовывать защитные пленки, никель сам по себе известен в уровне техники как обеспечивающий коррозионную стойкость легирующий элемент за счет своей низкой способности к окислению, то есть к коррозии. Объективным численным показателем коррозионной активности служит коррозионный потенциал, или стандартный электродный потенциал (E°), численно характеризующий склонность химического элемента к окислению или восстановлению при стандартных условиях (температура 298 К, давление 1 атм, концентрация 1 М).

[43]

Стандартный электродный потенциал измеряется по сравнению со стандартным водородным электродом (SHE - Standard Hydrogen Electrode), потенциал которого принимается равным нулю. Стандартный электродный потенциал для никеля (Ni) равен минус 0,25 В, а для ванадия (V) - минус 1,18 В, для железа (Fe) - минус 0,44 В, для молибдена (Mo) - плюс 0,15 В. Элементы с большим стандартным электродным потенциалом имеют меньшую склонность к окислению, а следовательно, и к коррозии. Наоборот, элементы с более отрицательным потенциалом склонны к окислению и коррозии.

[44]

Таким образом, наличие в конструкционной стали никеля обеспечивает увеличение коррозионной стойкости направляющего ролика.

[45]

При этом наличие в стали молибдена обеспечивает еще большее увеличение коррозионной стойкости. Следующие марки конструкционных сталей содержат никель и молибден: никельмолибденовая: 15Н2М (15НМ), 20Н2М (20НМ); хромоникельмолибденовая: 20ХН2М (20ХНМ), 30ХН2МА (30ХНМА), 38Х2Н2МА (38ХНМА), 40ХН2МА (40ХНМА), 40Х2Н2МА (40Х1НВА), 38ХН3МА, 18Х2Н4МА (18Х2Н4ВА), 25Х2Н4МА (25Х2Н4ВА); и хромоникельмолибденованадиевая: 30ХН2МФА (30ХН2ВФА), 36Х2Н2МФА (36ХН1МФА), 38ХН3МФА, 45ХН2МФА (45ХНМФА), 20ХН4ФА.

Как компенсировать расходы
на инновационную разработку
Похожие патенты