патент
№ RU 2216853
МПК H04B3/54

УСТРОЙСТВО ШИРОКОПОЛОСНОЙ ПЕРЕДАЧИ И ПРИЕМА ИНФОРМАЦИИ ПО ЭЛЕКТРОСЕТЯМ

Авторы:
Мкртчян Г.М.
Номер заявки
2001135384/09
Дата подачи заявки
27.12.2001
Опубликовано
20.11.2003
Страна
RU
Как управлять
интеллектуальной собственностью
Чертежи 
9
Реферат

[75]

Изобретение относится к системам передачи информации, использующим в качестве линии связи провода электросети. Достигаемый технический результат - повышение помехоустойчивости, увеличение скорости передачи информации. Устройство передачи и приема сообщений по электросети содержит на передающей стороне управляющий блок передатчика, модулятор, кодер канала и генератор хаотического сигнала, на приемной стороне - фильтр, усилитель, интегратор, управляющий блок приемника и решающий блок приемника, а также фильтр присоединения к электросети передающей и приемной сторон. 1 з.п.ф-лы, 10 ил.

Формула изобретения

1. Устройство передачи и приема сообщений по электросети, содержащее на передающей стороне управляющий блок передатчика, который регулирует полосу генерации и центральную частоту хаотических радиоимпульсов, и модулятор, а на приемной стороне - управляющий блок приемника, который осуществляет синхронизацию в соответствии с частотой следования хаотических радиоимпульсов, фильтр и решающий блок приемника, отличающееся тем, что оно снабжено фильтром присоединения к электросети передающей стороны и приемной стороны, генератором хаотического сигнала, который генерирует в диапазоне 0,009-30 МГц, кодером канала, выход которого подключен к первому входу модулятора, усилителем и интегратором, при этом выход фильтра подключен к входу усилителя, выход которого подключен к входу интегратора, управляющий блок приемника подключен одним выходом к интегратору, другим выходом к решающему блоку приемника, вход которого подключен к интегратору, при этом решающий блок приемника выполнен с возможностью выделения полезной информации из хаотического радиоимпульса путем предварительного интегрирования мощности хаотического радиоимпульса в интеграторе в пределах его длины, а выход управляющего блока передатчика подключен к входу генератора хаотического сигнала, выход которого подключен к второму входу модулятора.

2. Устройство передачи и приема сообщений по электросети по п. 1, отличающееся тем, что генератор хаотического сигнала выполнен на транзисторе типа 2Т938А-2 с включенным между коллектором и эмиттером транзистора микрополосковым резонансным элементом.

Описание

[1]

Настоящее изобретение относится к системам передачи информации, использующих в качестве ЛИНИИ СВЯЗИ провода электросети. В частности, изобретение может быть использовано в системах связи при передаче информации посредством электросетей (бытовых и распределительных) в системах контроля и учета, организации локальных сетей, телефонной связи и передачи других информационных сообщений.

[2]

Существующие в настоящее время электросети обычно состоят из большого количества низковольтных сетей (часто называемых магистральными), к которым подключены бытовые потребители и небольшие предприятия, причем низковольтные сети получают питание от высоковольтных распределительных сетей или систем.

[3]

Низковольтные (потребительские) сети могут иметь, например, напряжение 220 В (или 380 В в 3-фазных сетях), распределительные сети имеют напряжение 6-10 кВ.

[4]

Известно, что электрические сети изначально не предназначались для использования в качестве канала связи, тем более в качестве высокоскоростного канала связи для предоставления телекоммуникационных услуг. Тем не менее, усилия по созданию методов и устройств, обеспечивающих цифровую связь по линиям электропередачи и распределительным электросетям, предпринимались различными компаниями во многих странах.

[5]

Для широкополосной передачи информации по электросетям пригодным является диапазон частот от 0.009 до 30 МГц.

[6]

В развитии технологии передачи данных по электросетям (в дальнейшем PLC - Powerline Communications) существуют две тенденции, позволяющие преодолеть такие недостатки электросети с точки зрения свойств канала связи, как высокий уровень и нестационарность шумов, широкий диапазон изменения величины затухания сигнала и эквивалентной нагрузки в сети, наличие эффектов многолучевого распространения и возникновение эхо-сигналов на частотах, необходимых для высокоскоростной передачи данных.

[7]

В частности, некоторые компании основное внимание уделяют разработке PLC-модемов технологий, обеспечивающих высокий уровень помехоустойчивости цифровой передачи данных (NEC Home Electronics Ltd, pat. US 4864589 от 05.09.89; Intellon Corporation, pat. US 5090024 от 18.02.92, pat. US 5263046 от 16.11.93, pat. US 5278862 от 11.01.94, Siemens, Ascom и др.). Другие предпочитают создать в электросетях путем их "кондиционирования" (в смысле подавления шумов) и стабилизации эквивалентной нагрузки/сопротивления сети условия, позволяющие использовать методы модуляции, используемые в модемах для выделенных линий связи - FSK, GFSK, QPSK, OQPSK, QAM, Pi/4 QPSK и др. (Norweb PLC, pat. US 5684450 от 04.11.97, US 5929750 от 27.07.99, US 5933071 от 03.08.99, US 5949327 от 07.09.99, ABB Power T&D Company, pat. US 5694108 от 02.12.97, AT& T Corp., US 5952914 от 14.09.99). Для повышения скорости некоторые компании используют технологию ОFDM (Ortogonal Frequence Division Multiplexing): Intellon Corporation, Siemens, Ascom и др.

[8]

Известные пути развития PLC имеют следующие ограничения и недостатки. Широкополосность цифровой обработки лимитируется ограниченным быстродействием цифровых элементов, особенно аналого-цифровых преобразователей. Не смотря на то, что прогресс в этом направлении значителен, создание массовой продукции ограничивается стоимостью высокоскоростных АЦП. Кроме того, присущие цифровым методам шумы квантования или дискретизации могут ограничивать динамический диапазон обработки. Это существенно при наличии в канале связи интенсивных коррелированных помех. Усиление акцента на "улучшение" электросетей и приближение условий в них к условиям в выделенных каналах связи девальвирует саму идею использования электросетей как уже "существующего" канала связи и связано со значительными инфраструктурными затратами для предоставления телекоммуникационных услуг с использованием PLC-технологии.

[9]

Известно устройство телесигнализации по электрическим сетям (авт. свид. СССР N871343, Н 03 В 3/54, опубл. 07.10.81), содержащее передатчик, приемник, подключенный к обмотке первого однообмоточного трансформатора, а также второй однообмоточный трансформатор либо первый и второй индукторы.

[10]

Недостатком указанного устройств является низкая помехозащищенность, низкая скорость передачи, а также то, что потребители электроэнергии, подключенные к этим проводам, шунтируют канал передачи информации, что приводит к увеличению энергетических затрат и создает высокочастотные помехи. По этой причине такие устройства не нашли широкого применения в распределительных (6-10 кВ) и низковольтных (220/380 В) воздушных и кабельных линиях электропередачи, где подключено большое количество потребителей электроэнергии, одновременно являющихся источниками высокочастотных помех.

[11]

В радиосвязи для преодоления указанных выше проблем используются способы связи, когда полоса спектра сигнала шире спектра информационного сообщения. Отношение ширины спектра сигнала к ширине спектра информационного сообщения называют базой сигнала В, которая и определяет степень повышения помехоустойчивости связи. Для обеспечения широкополосности сигнала используют различные методы внутри битовой модуляции радиосигнала. В частности, это могут быть амплитудно-импульсная модуляция, фазовая модуляция, частотная модуляция, широтно-импульсная модуляция, импульсно-кодовая модуляция и т.д.

[12]

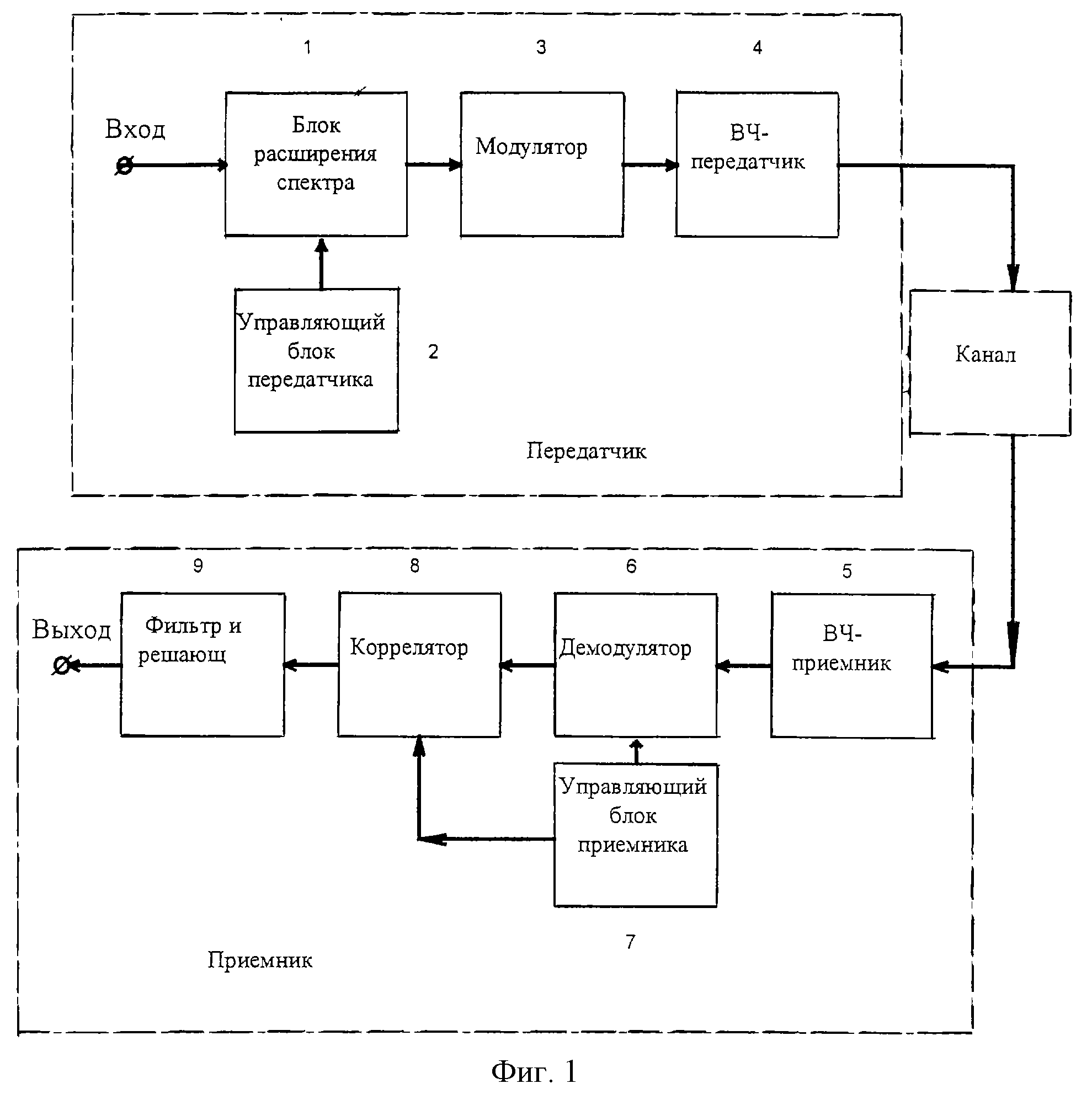
Наиболее близким по технической сущности к предлагаемому изобретению является устройство по патенту США 4964138, кл. Н 04 В 1/66, 16.10.1990, содержащее (фиг. 1) на передающей стороне управляющий блок передатчика 1, блок расширения спектра информационного сигнала 2, модулятор 3 и высокочастотный передатчик 4, а на приемной стороне - высокочастотный приемник 5, демодулятор 6, управляющий блок приемника 7, коррелятор 8, фильтр 9 и решающий блок 10.

[13]

Описанное устройство (фиг.1) функционирует следующим образом. На передающей стороне информационная последовательность двоичных "1" и "0" со скоростью R =1/Т (фиг.2) поступает на вход расширителя спектра, в котором каждый бит информационной последовательности длительностью Т модулируется расширяющей последовательностью (фиг.3) псевдослучайных видеоимпульсов 1 и 0 длительностью τ0= Т/N, где N - число псевдослучайных импульсов. Обычно считают, что база сигнала примерно равна числу псевдослучайных импульсов, т.е. В≈N. Ширина спектра, например, ФМ сигнала Δf≈1/τ0. Работой расширителя спектра 2 управляет управляющий блок передатчика 1. Последовательность импульсов с расширенным спектром, переносящая информационные символы, поступает, например, в модулятор (например, фазовый) 3, сигнал с которого (фиг.4) управляет высокочастотным передатчиком 4 с несущей частотой f0 (фиг.5). На приемной стороне сигнал в высокочастотном приемнике 5, проходя через смеситель, переносится с помощью гетеродина на промежуточную частоту, усиливается в усилителе промежуточной частоты и поступает на вход демодулятора 6, затем на коррелятор расширяющей последовательности 8, далее сигнал поступает на фильтр 9, на выходе которого решающий блок 10 восстанавливает символы информационной последовательности. Управляющий блок приемника 7 осуществляет поиск сигнала по частоте и по времени, накапливает сигнал для увеличения надежности синхронизации, управляет режимом работы решающего блока. Для поиска сигнала по частоте управляющий блок приемника перестраивает гетеродин. После окончания поиска и вхождения в синхронизм на выходе решающего блока появляется информационная последовательность в виде двоичных символов, которая передается получателю информации.

[14]

Описанное устройство обладает следующими недостатками: 1) при больших базах сигнала и высокой скорости передачи информации необходимо очень высокое быстродействие коррелятора и решающего блока, что ограничивает либо скорость, либо помехозащищенность связи; 2) необходим гетеродин для преобразования сигнала на промежуточную частоту, что усложняет устройство и предъявляет дополнительные требования к стабильности его параметров; 3) требуется синхронизация приема/передачи как по времени, так и по частоте, что при больших базах сигнала требует достаточно сложных схемотехнических решений.

[15]

Целью предлагаемого изобретения является повышение помехоустойчивости, увеличение скорости передачи информации, упрощение конструкции устройства и снижение требований к стабильности его параметров, расширение функциональных возможностей устройств, использующих существующую электропроводку в качестве канала связи, и уменьшении энергетических затрат при передаче информации по электросетям, в том числе кабельным и воздушным линиям электропередачи, при соблюдении ограничений на амплитуду и полосу спектра сигнала, накладываемыми международными и российскими стандартами на электромагнитную совместимость.

[16]

Указанная цель достигается тем, что известное устройство, содержащее на передающей стороне управляющий блок передатчика и модулятор и на приемной стороне управляющий блок приемника, фильтр и решающий блок, снабжено на передающий стороне генератором хаотического сигнала, генерирующего в диапазоне 0,009-30 мГц, выход которого подключен к первому входу модулятора, и кодером канала, выход которого подключен ко второму входу модулятора, а на приемной стороне - усилителем и интегратором, при этом фильтр имеет полосу пропускания 0,001-30 мГц и его выход подключен к входу усилителя, а выход последнего подключен ко входу интегратора.

[17]

А также тем, что генератор хаотического сигнала, кодер канала, модулятор, усилитель и интегратор выполнены в виде платформы с цифровым сигнальным процессором, цифроаналоговым и аналого-цифровым преобразователями.

[18]

А также тем, что генератор хаотического сигнала выполнен на транзисторе типа 2Т938А-2 с включенным между коллектором и эмиттером транзистора микрополосковым резонансным элементом.

[19]

А также тем, что введен фильтр присоединения к электросети напряжением 220/380 В.

[20]

А также тем, что введен фильтр присоединения к электросети напряжением 6-10 кВ.

[21]

А также тем, что введены порт для обмена по RS 232 и порт для обмена по Ethernet.

[22]

На фиг.1 изображена блок-схема дифференцированного коррелятора для распространения систем связи - прототип;
на фиг.2-5 изображены эпюры передающих сигналов коррелятора - прототипа;
на фиг. 6 изображена блок-схема предлагаемого устройства широкополосной передачи и приема информации по электросетям;
на фиг. 7-10 изображены эпюры передающих сигналов предлагаемого устройства.

[23]

Устройство широкополосной передачи и приема информации по электросетям состоит на передающий стороне из кодера канал 1, соединенного первым входом модулятора 2 управляющего блока передатчика 3, выход которого соединен с входом генератора хаотического сигнала 4, подсоединенного к второму входу модулятора 2, а на приемной стороне - фильтр 5, подсоединенный к входу усилителя 6, соединенного с интегратором 7, подключенным к входу решающего блока 8, при этом управляющий блок приемника 9 подключен одним выходом к интегратору 7, а другим выходом - к решающему блоку 8 (фиг.6).

[24]

Устройство работает следующим образом. Генератор хаотического сигнала 4 генерирует хаотические радиоимпульсы (фиг.7) в диапазоне 0,009-30 МГц, перестраиваемой центральной частотой f0 и полосой частот Δf~0,001-30 МГц. Полоса генерации и центральная частота регулируются управляющим блоком передатчика 3. Информационная последовательность (фиг.8) двоичных "1" и "0" поступают на вход кодера канала 1, который, в свою очередь, преобразует ее к виду, обеспечивающему управление модулятором 2 ключевого типа. На выходе модулятора (фиг.9) формируются хаотические импульсы длиной от 1/Δf до ∞. Формирование информационного потока в кодере канала может осуществляться за счет изменения расстояния между импульсами, изменения длины импульсов, изменения среднеквадратичной амплитуды импульсов или комбинации этих параметров.

[25]

На приемной стороне фильтр 5 пропускает сигнал в полосе частот передатчика, далее сигнал усиливается в усилителе 6, после которого решающий блок 8 выделяет полезную информацию из сигнала путем предварительного интегрирования мощности импульса в интеграторе 7 (фиг.10) в пределах его длины. Управляющий блок приемника 9 осуществляет синхронизацию в соответствии с частотой следования импульсов. Таким образом, в устройстве осуществляется некогерентный прием последовательности импульсов.

[26]

Один из вариантов реализации - предлагаемое изобретение было реализовано на базе 75 МГц платформы с цифровым сигнальным процессором (ЦСП) ADSP2189 фирмы Analog Devises, содержащую также 10-разрядные цифроаналоговый и аналого-цифровой преобразователи (АЦП и ЦАП) и имеющую фильтр присоединения к электросети 220 В, 50 Гц и два порта для обмена по RS 232 и Ethernet. В данном устройстве программным образом на ЦСП реализованы функции всех узлов предлагаемого изобретения, кроме входного фильтра приемника. Устройство имеет тумблер, коммутирующий информационные сигналы на электросеть ~220 В, на изолированную низковольтную сеть или на устройство присоединения к электросети 6-10 кВ.

[27]

Основные характеристики:
- Полоса входного-выходного фильтра: ~15...80 кГц.

[28]

- Максимальная частота дискретизации: 400 кГц.

[29]

- Максимальная скорость нарастания напряжения на вых. ЦАП: 1 В/мкс.

[30]

- Разрядность ЦАП: 10.

[31]

- Разрядность АЦП: 10.

[32]

- Диапазон регулировки усиления в канале приема: 0...48 дБ.

[33]

- Амплитуда напряжения на выходе усилителя мощности без нагрузки: 5 В.

[34]

- Максимальная скорость обмена по каналу RS-232: 115200.

[35]

- Тактовая частота процессора: 75 мГц.

[36]

- Максимально-допустимая амплитуда на входе усилителя в канале приема: 1.6 В.

[37]

Состав и структурная схема устройства
Устройство состоит из следующих частей:
1. Передающая часть:
- ЦАП AD5300 с последовательным интерфейсом.

[38]

- Выходной фильтр.

[39]

- Усилитель мощности.

[40]

- Ключ включения передачи.

[41]

2. Приемная часть:
- Входной фильтр.

[42]

- Усилитель с регулируемым коэффициентом усиления: AD8061+AD8400.

[43]

- АЦП AD7810 с последовательным интерфейсом.

[44]

3. Сигнальный трансформатор.

[45]

4. Процессорная часть:
- Сигнальный процессор ADSP2189М (ADSP2185М).

[46]

- Преобразователь уровней для канала RS-232.

[47]

- Схема согласования с последовательными интерфейсами м/с ЦАП и АЦП.

[48]

- Загрузочная память на 32 кб (29LV256).

[49]

- Контроллер сброса процессора.

[50]

- Два программно-управляемых светодиода.

[51]

5. Блок питания:
- Выпрямитель на 12 В.

[52]

- Стабилизатор 5 В/0.5 А.

[53]

- Стабилизатор 3.3 В/100 мА.

[54]

- Стабилизатор 2.5 В/50 мА.

[55]

Частоту дискретизации задает SPORTO процессора. Эта частота одинакова как для приема, так и для передачи.

[56]

Канал RS-232 реализован на основе последовательного порта процессора SPORT 1: на каждый бит интерфейса RS-232 приходятся 3 бита порта SPORT 1. Каждая посылка байта через канал RS-232 превращается в 2 16-битных слова SPORT 1 и соответственно в 2 прерывания. Прием байта инициируется его стартовым битом через сигнал фрейма приема. Алгоритм работы SPORT в этом режиме дан в материале EE_60.PDF (www.analog.com).

[57]

Драйвер канала RS-232 имеет 2 передатчика и два приемника. Одна пара используется для линий Rx-Tx, другая - для линий DTR-DSR.

[58]

Регулируемый усилитель канала приема
На входе АЦП стоит усилитель с регулируемым коэффициентом усиления. Диапазон входных напряжений для него не должен выходить за пределы 0...3.2 В, иначе возникает ограничение его выходного напряжения. Регулировка усиления производится с помощью цифрового резистора AD8400-10.

[59]

Процессорная часть
В процессорной части установлен сигнальный процессор ADSP2189M. Процессор требует два питания: 2.5 В и 2.5 В или 3.3 В - для питания внутренней схемы и I/0-выводов. Процессор работает на частоте 75 мГц, получаемой от кварца на 37.5 мГц. Кварц должен возбуждаться на частоте третьей гармоники. Для этого используется индуктивность, которая совместно с корректирующей емкостью должна давать резонанс на частоте, лежащей между основной частотой кварца и ее третьей гармоникой:
ω = 1/(LC)1/2 = 2ω0/3; ω0 = 75 мГц; С=12 пФ; -->L=3,3 мкГ.

[60]

К процессору подключены два светодиода - к программным флагам PFO (красный) и PF1 (зеленый). Подача 1 на флаг включает соответствующий светодиод.

[61]

Линия DTR (out) канала RS-232 подключена к программному флагу PF5, линия DSR (in) - к программному флагу PF4, который может вызывать прерывание IRQE (по фронту).

[62]

Загрузочная память установлена на отдельной плате и подключается к процессору через разъем PBD-40. Для программирования этой памяти имеется специальный программатор PicProg877. На этом программаторе также установлен разъем PBD-40, в который устанавливается плата загрузочной памяти при программировании.

[63]

На разъем загрузочной памяти выведены также сигналы для подключения дополнительных устройств (регистров) к области памяти ввода-вывода: -IOMS, IORESET, -IOINT. Сигнал IORESET формируется флагом FL2. Сигнал -IOINT поступает на флаг PF7, который может вызывать прерывание -IRQE. Сигнал -IOMS заведен также на сигнал -BR для вставки одного пустого такта после обращения процессором в область ввода-вывода.

[64]

Генерация хаотического сигнала происходила путем подачи на ЦАП отсчетов хаотического сигнала, которые рассчитывались путем решения на ЦСП ADSP2189 уравнений вида [1-2]:
Тх'+х=F(z);
y"+α1y'+y=x;
z″+α2z′+ω2z = α2y′;

Задание конкретного диапазона частот осуществляется соответствующим выбором параметров системы (1) и величиной частоты дискретизации. Скорость передачи варьируется скважностью и длиной импульса и достигает максимального значения R~ 1/Δf (при скважности 2). В этом случае хаотический радиоимпульс состоит практически из одного квазипериода хаотических колебаний.

[65]

При приеме аналоговый сигнал, принимаемый из электросети, оцифровывается в АЦП, по полученным отсчетам в ЦСП численно рассчитывается мощность сигнала, она интегрируется и по полученным значениям восстанавливается информационная последовательность.

[66]

Увеличение количества квазипериодов дает возможность регулировать скорость передачи и помехоустойчивость связи. Расчеты и испытания устройства в реальной электросети показали, что предлагаемое устройство обеспечивает работоспособность системы связи по электросети в широком диапазоне скоростей при вероятности битовой ошибки ~10-4. В случае превышения уровня сигнала шумов в электросети потенциальная скорость нарастает с улучшением свойств канала и в пределе может достигать максимально возможного значения. Например, для характерного уровня шума 10 дБ величина скорости передачи при заданном уровне ошибок составляет ~0, 1 от максимально возможной скорости, определяемой полосой канала. При превышении шумов канала над информационной составляющей происходит уменьшение возможных скоростей передачи, однако и в этом случае прием с требуемым качеством возможен за счет соответствующего увеличения коэффициента накопления сигнала (базы сигнала).

[67]

Последнее обстоятельство - это аналогия с увеличением длины расширяющей последовательности в Spread Spectrum системах. Однако в предлагаемом устройстве увеличение базы сигнала не требует увеличения быстродействия отдельных узлов аппаратуры.

[68]

Поскольку прием осуществляется в полосе излучения передатчика, не требуется гетеродин для переноса сигнала на промежуточную частоту.

[69]

В предлагаемом устройстве осуществляется некогерентный прием сигнала, поэтому не требуется синхронизация по частоте, а требования к точности синхронизации по времени в N=B раз ниже, чем в известном устройстве.

[70]

Анализ многолучевого распространения свидетельствует, что в достаточно широком диапазоне скоростей передачи вплоть до 2 Мбит/сек наличие многолучевого распространения практически не влияет на величину интегральной энергии на детекторе приемника.

[71]

Для удешевления аппаратуры, реализующей указанное изобретение, генератор хаотического сигнала может быть выполнен на основе простых аналоговых схем (например, на транзисторе типа 2Т938А-2 с включенным между коллектором и эмиттером транзистора микрополосковым резонансным элементом), известных из (Проектирование радиопередающих устройств СВЧ/Под редакцией Г.М.Уткина. // М. : Сов. Радио, 1979, Кяргинский Б.Е. Генераторы на биполярных транзисторах различной мощности. // Электронная техника. Сер. СВЧ-техника. 1993. Вып. 3(457). С. 3-6), стоимость которых намного меньше цифровых сигнальных процессоров, однако в этом случае исключается перестройка параметров приема-передачи, реализуемая в ЦСП программным образом.

[72]

Для максимизации передаваемой в бытовую электросеть амплитуды сигнала в предлагаемое устройство передачи и приема сообщений по электросетям может быть введен специальный фильтр, согласующий выходной импеданс приемопередатчика с импедансом электросети напряжением 220/380 В.

[73]

Для максимизации передаваемой на линии 6-10 кВ амплитуды сигнала в предлагаемое устройство передачи и приема сообщений по электросетям может быть введен специальный фильтр, согласующий выходной импеданс приемопередатчика с импедансом устройства присоединения аппаратуры связи к линиям среднего напряжения 6-10 кВ.

[74]

Для подключения стандартных устройств вычислительной техники и связи в предлагаемом устройстве передачи и приема сообщений по электросетям могут быть введены порт для обмена по RS 232 и порт для обмена по Ethernet.

Как компенсировать расходы
на инновационную разработку
Похожие патенты