патент
№ RU 2213252
МПК F02N19/10

СИСТЕМА ПРЕДПУСКОВОГО ПОДОГРЕВА ДВИГАТЕЛЯ ВНУТРЕННЕГО СГОРАНИЯ (ВАРИАНТЫ)

Авторы:
Перфилов В.П.
Номер заявки
2001116290/06
Дата подачи заявки
13.06.2001
Опубликовано
27.09.2003
Страна
RU
Как управлять
интеллектуальной собственностью
Чертежи 
3
Реферат

[52]

Изобретение может быть использовано в автохозяйствах, гаражах, стоянках автомашин типа ГАЗ - "Волга" и ВАЗ - "Жигули". Система предпускового подогрева двигателя внутреннего сгорания содержит электроподогреватель охлаждающей жидкости в виде корпуса с терморегулятором и с патрубками, подключенными соответственно к термостату, радиатору и насосу прокачки охлаждающей жидкости, при этом корпус снабжен крышкой с уплотнением. В крышке смонтирован уплотнительный узел в виде втулки с буртиком, шайбы, гайки и прокладки, при этом втулка жестко связана с нагревательным элементом. После подключения к электросети и разогрева нагревательным элементом до заданной температуры охлажденной жидкости, поступающей из радиатора в полость корпуса, она термосифонным способом подается к термостату. Рассмотрен вариант, в котором корпус подогревателя выполнен с одним патрубком и его диаметр соответствует технологическому отверстию под заглушку блока цилиндров. Системы безопасные, экологически чистые и простые в изготовлении и эксплуатации. Изобретения обеспечивают безопасный, экологически чистый предпусковой подогрев двигателя. 2 с. и 1 з. п.ф-лы, 4 ил.

Формула изобретения

1. Система предпускового подогрева двигателя внутреннего сгорания, снабженного термостатом, радиатором и насосом прокачки охлаждающей жидкости, содержащая электроподогреватель охлаждающей жидкости, выполненный в виде корпуса с крышкой, терморегулятора, нагревательного элемента и уплотнений между крышкой и корпусом и нагревательным элементом и крышкой, источник напряжения, отличающаяся тем, что электроподогреватель установлен на двигателе внутреннего сгорания с возможностью использования его отверстий, корпус электроподогревателя снабжен тремя патрубками, один из которых подключен к радиатору, а два других патрубка присоединены соответственно к термостату и насосу прокачки охлаждающей жидкости, при этом крышка электроподогревателя снабжена уплотнительным узлом в виде втулки с буртиком, шайбы, гайки и вышеупомянутого уплотнения, причем втулка уплотнительного узла жестко связана с нагревательным элементом.

2. Система предпускового подогрева двигателя внутреннего сгорания, снабженного блоком цилиндров с полостью рубашки, содержащая электроподогреватель охлаждающей жидкости, выполненный в виде корпуса с крышкой, терморегулятора, нагревательного элемента и уплотнений между крышкой и корпусом и нагревательным элементом и крышкой, источник напряжения, отличающаяся тем, что электроподогреватель установлен на двигателе внутреннего сгорания с возможностью использования технологического отверстия под заглушку блока цилиндров, а корпус электроподогревателя снабжен соединяющим его с полостью рубашки патрубком с уплотнением и диаметром, соответствующим диаметру вышеупомянутого технологического отверстия, и фиксирующим элементом, при этом крышка электроподогревателя снабжена уплотнительным узлом в виде втулки с буртиком, шайбы, гайки и вышеупомянутого уплотнения, причем втулка уплотнительного узла жестко связана с нагревательным элементом.

3. Система по п. 2, отличающаяся тем, что фиксирующий элемент выполнен в виде шпильки с центрирующей пластиной, гайкой, шайбой и уплотнением.

Описание

[1]

Изобретение относится к автомобилестроению и может быть использовано в автохозяйствах, гаражах, стоянках автомашин.

[2]

Известен водяной отопительный прибор типа 268.04, содержащий двигатель отопительного прибора, топливный насос, ребристый теплообменник с водяной рубашкой, термостат перегрева, реле контроля пламени, камеру сгорания, испаритель.

[3]

Водяной отопительный прибор представляет собой работающий независимо от автомобильного двигателя автономный агрегат, который для обеспечения работы соединяется с системой охлаждения, топливной системой и электрооборудованием автомобиля. Кроме отопления кабины автомобиля и пассажирского салона и обдува (обогрева) стекол автомобиля прибор предназначен для подогрева и поддержания в прогретом состоянии двигателя автомобиля с водяным охлаждением. Прибор включается и выключается с помощью выключателя или таймера. (Webasto Thermosysteme GmbH, Тур 268.04, Тур 268.07 "Водонагреватели". Инструкция по эксплуатации, 10/1992). Однако такой монтаж прибора очень сложный, для установки и настройки требуется специалист высокой квалификации и специальное диагностическое оборудование. Стоимость прибора и его установка соизмерима со стоимостью автомобиля.

[4]

Известен предпусковой подогреватель двигателя внутреннего сгорания (ДВС), содержащий котел с камерой сгорания и установленный в ней корпус распылителя, насос подачи топлива к распылителю, вентилятор, связанный с камерой сгорания через магистраль подачи воздуха, и насос прокачки охлаждающей жидкости, установленный на валу электродвигателя. Кроме этого, он снабжен генератором низкотемпературной плазмы с анодом и катодом, а второй выполнен в виде электрода, размещенного в полом керамическом изоляторе, прикрепленном к корпусу распылителя и снабженном отверстием, связывающим через трубку полость керамического изолятора с магистралью подачи воздуха (патент РФ 2039307, МКИ 6 F 02 N 117/02, 10.07.95 г., Волжское объединение "АвтоВАЗ").

[5]

Такая конструкция предпускового подогревателя значительно проще предыдущего водяного отопительного прибора, но все-таки значительно сложна и дорогостояща.

[6]

С целью упрощения конструкции известно устройство для подвода тепла к охлаждающей жидкости двигателя внутреннего сгорания, содержащее подогреватель с теплоносителем, имеющий камеру сгорания для газообразного или жидкого топлива и теплообменник для передачи тепла к охлаждающей жидкости, и переходный элемент для распределения теплоносителя, размещенный между подогревателем и блоком двигателя и сообщенный с камерой сгорания, при этом теплообменник выполнен в виде металлической крышки, установленной между блоком двигателя и переходным элементом, выполненным в виде чашеобразной оболочки, жестко связанной с камерой сгорания и закрепленной непосредственно на внешней стенке блока двигателя с возможностью теплообмена между отработавшими газами и охлаждающей водой (патент РФ 1834983, МКИ 5 F 02 N 17/04, 23.03.87, ЛАНГГЕН ХЕРБЕРТ (DЕ).

[7]

Однако такая конструкция неудобна и требует использования газообразного или жидкого топлива, что небезопасно в условиях закрытого помещения, например гаража, к тому же выделяются вредные продукты сгорания.

[8]

Известна система предпускового подогрева двигателя внутреннего сгорания, снабженного масляным картером, содержащая подогреватель охлаждающей жидкости, блок управления, источник напряжения, с целью расширения функциональных возможностей, она снабжена подогревателем масла, расположенным в картере двигателя и выполненным в виде поверхностно-распределительного термозависимого электронагревателя, подогреватель охлаждающей жидкости выполнен в виде трубчатого электронагревателя и блок управления снабжен усилителем, пороговым элементом и двумя уравновешивающими резисторами (патент РФ 2041382, МКИ 6 F 02 N 17/04, F 01 М 5/02, 10.08.95 г., Белорусский аграрный Технический Университет).

[9]

Использование известной системы предпускового подогрева требует постоянного ухода, контроля и регулировок. К тому же большое количество деталей и механизмов в системе снижает надежность и долговечность при постоянном использовании.

[10]

Задачей изобретения является создание экологически чистой системы предпускового подогрева двигателя внутреннего сгорания, простой в эксплуатации, повышенной надежности, недорогой, пожаро- и взрывобезопасной.

[11]

Технический результат заключается в том, что конструкция автоматически поддерживает температуру нагрева охлаждающей жидкости и обеспечивает предпусковой подогрев двигателя без переделок его системы охлаждения, к тому же в любом удобном для водителя месте.

[12]

Для достижения указанного технического результата в системе предпускового подогрева ДВС, снабженного термостатом, радиатором и насосом прокачки охлаждающей жидкости, содержащей электроподогреватель в виде корпуса с крышкой, терморегулятора, нагревательного элемента, уплотнений между крышкой и корпусом и нагревательным элементом и крышкой, источник электропитания, электроподогреватель установлен на ДВС с возможностью использования его отверстий, корпус электроподогревателя снабжен тремя патрубками для присоединения соответственно к радиатору, термостату и насосу прокачки охлаждающей жидкости, при этом в крышке электроподогревателя размещен уплотнительный узел в виде втулки с буртиком, шайбы, гайки и вышеупомянутого уплотнения, а втулка уплотнительного узла жестко связана с нагревательным элементом.

[13]

Признаки, отличающие предлагаемую систему предпускового подогрева ДВС от наиболее близкой к ней известной по патенту 2041382 (прототип), характеризуют наличие трех патрубков электроподогревателя, установку электроподогревателя на ДВС и использование его отверстий без переделок и новой врезки, что значительно облегчают монтаж системы и подключение патрубков к термостату, радиатору и водяному насосу ДВС преимущественно на автомашинах типа ГАЗ - "Волга".

[14]

Снабжение крышки электроподогревателя уплотнительным узлом позволяет жестко связать нагревательный элемент с втулкой крышки и повысить надежность конструкции.

[15]

Система экологически чистая, простая в эксплуатации при повышенной надежности и безопасности.

[16]

По второму варианту.

[17]

Известно устройство для подвода тепла к охлаждающей жидкости двигателя внутреннего сгорания, содержащее подогреватель с теплоносителем, имеющий камеру сгорания для газообразного или жидкого топлива и теплообменник для передачи тепла к охлаждающей жидкости, и переходный элемент для распределения теплоносителя, размещенный между подогревателем и блоком двигателя и сообщенный с камерой сгорания, при этом теплообменник выполнен в виде металлической крышки, установленной между блоком двигателя и переходным элементом, выполненным в виде чашеобразной оболочки, жестко связанной с камерой сгорания и закрепленной непосредственно на внешней стенке блока двигателя с возможностью теплообмена между отработавшими газами и охлаждающей жидкостью (патент РФ 1834983, МКИ 5 F 02 N 17/04, 23.03.87, ЛАНГГЕН ХЕРБЕРТ (DЕ).

[18]

Однако такая конструкция неудобна и требует использования газообразного или жидкого топлива, что к тому же и небезопасно в условиях закрытого помещения, например гаража, при выделении продуктов сгорания.

[19]

Известна система предпускового подогрева двигателя внутреннего сгорания, снабженного масляным картером, содержащая подогреватель охлаждающей жидкости, блок управления, источник напряжения, с целью расширения функциональных возможностей она снабжена подогревателем масла, расположенным в картере двигателя и выполненным в виде трубчатого электронагревателя, и блок управления снабжен усилителем, пороговым элементом и двумя уравновешивающими резисторами (патент РФ 2041382, МКИ 6 F 02 N 17/04, F 01 М 5/02, 10.08.95 г. , Белорусский аграрный Технический Университет).

[20]

Использование известной системы предпускового подогрева охлаждающей жидкости требует постоянного ухода, контроля и регулировок. К тому же большое количество деталей и механизмов в системе снижает надежность и долговечность при постоянном использовании.

[21]

Задачей изобретения является создание экологически чистой системы предпускового подогрева ДВС, простой в эксплуатации, повышенной надежности, недорогой, пожаро- и взрывобезопасной.

[22]

Технический результат заключается в том, что конструкция автоматически поддерживает температуру нагрева охлаждающей жидкости и обеспечивает предпусковой подогрев двигателя без переделок его системы охлаждения, к тому же в любом удобном для водителя месте.

[23]

Для достижения указанного технического результата в системе предпускового подогрева ДВС, снабженного блоком цилиндров с полостью рубашки, содержащей электроподогреватель охлаждающей жидкости, выполненный в виде корпуса с крышкой, терморегулятора, нагревательного элемента и уплотнений между крышкой и корпусом и нагревательным элементом и крышкой, источник напряжения, электроподогреватель установлен на ДВС с возможностью использования технологического отверстия под заглушку блока цилиндров, а корпус электроподогревателя снабжен соединяющим его с полостью рубашки патрубком с уплотнением и диаметром, соответствующим диаметру вышеупомянутого технологического отверстия, и фиксирующим элементом, при этом крышка электроподогревателя снабжена уплотнительным узлом в виде втулки с буртиком, шайбы, гайки и вышеупомянутого уплотнения, причем втулка уплотнительного узла жестко связана с нагревательным элементом.

[24]

Фиксирующий элемент выполнен в виде шпильки с центрирующей пластиной, уплотнения, гайки и шайбы.

[25]

Признаки, отличающие предлагаемую систему предпускового подогрева ДВС от наиболее близкой к ней системе по патенту 2041382 (прототип), характеризуют установку электроподогревателя на ДВС и использование технологического отверстия под заглушку блока цилиндров без переделок и новой врезки, облегчая монтаж системы и подключение патрубка непосредственно в полость рубашки ДВС преимущественно на автомашинах типа ВАЗ -"Жигули".

[26]

Снабжение крышки электроподогревателя уплотнительным узлом позволяет жестко связать нагревательный элемент с втулкой крышки и повысить надежность и безопасность конструкции.

[27]

Конструкция фиксирующего элемента позволяет быстро и надежно закрепить электроподогреватель на ДВС.

[28]

Система экологически чистая, простая в эксплуатации при повышенной надежности и безопасности.

[29]

Оба варианта относятся к объектам одного вида, имеют одинаковое назначение и обеспечивают получение одного и того же технического результата. Таким образом, удовлетворяют требованию единства изобретения.

[30]

Анализ научно-технической и патентной литературы показал, что изобретение отвечает критериям "новизна" и "существенные отличия".

[31]

На чертеже представлены два варианта исполнения системы предпускового подогрева ДВС:
на фиг.1- общий вид системы с подключением электроподогревателя по первому варианту;
на фиг.2 - электроподогреватель в разрезе;
на фиг. 3 - общий вид системы с подключением электроподогревателя по второму варианту;
на фиг.4 - вид А на фиг.3.

[32]

По первому варианту.

[33]

Система предпускового подогрева двигателя 1 (фиг.1), снабженного термостатом 2, радиатором 3 и насосом 4 прокачки охлаждающей жидкости, содержит электроподогреватель 5 охлаждающей жидкости в виде корпуса 6 (фиг.2) с патрубками 7, 8, 9 (фиг.1 и 2). Патрубок 7 подключен к термостату 2, патрубок 8 - к радиатору 3, патрубок 9 - к насосу 4 прокачки охлаждающей жидкости. Все три патрубка предусматривают присоединение к соответствующим местам крепления с последующей затяжкой хомутами.

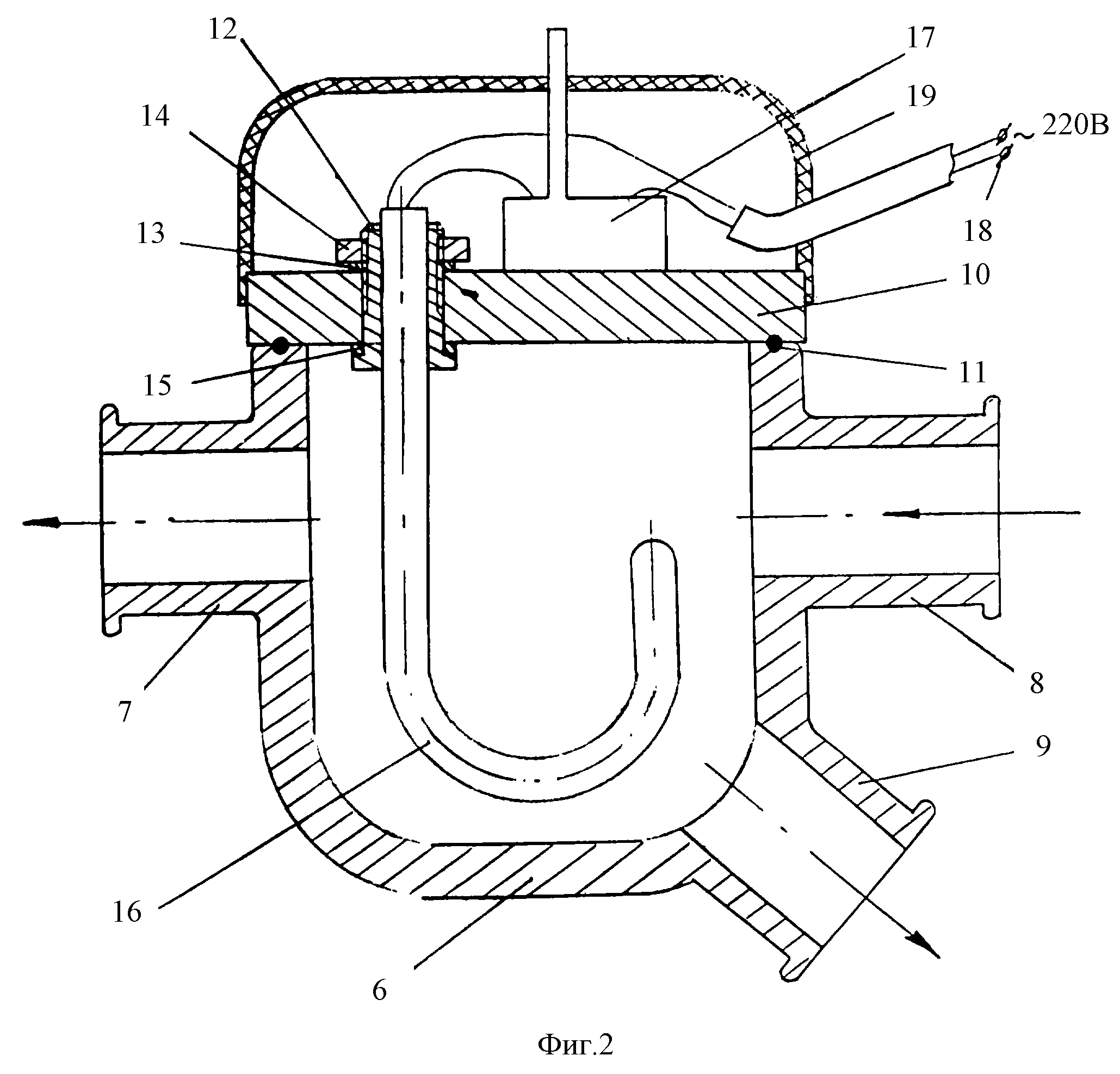
[34]

Корпус 6 (фиг. 2) снабжен крышкой 10 с уплотнением 11 между ними, а в крышке 10 смонтирован уплотнительный узел в виде втулки 12 с буртиком, шайбы 13, поджимной гайки 14 и уплотнения 15.

[35]

Втулка 12 жестко связана, например, пайкой с нагревательным элементом 16.

[36]

В полости над крышкой 10 установлен терморегулятор 17 с подключением его и нагревательного элемента 16 к электросети 18 (220 V). В целях безопасности корпус 6 снабжен защитным кожухом 19.

[37]

Система предпускового подогрева ДВС работает следующим образом.

[38]

На автомашине, например, ГАЗ - "Волга" ослабляются три хомута патрубков, убирается тройник и вместо него подключается система предпускового подогрева. Три патрубка 7, 8, 9 корпуса 6 электроподогревателя 5 присоединяются к термостату 2, радиатору 3 и насосу 4 прокачки охлаждающей жидкости. Причем электроподогреватель устанавливается до термостата.

[39]

Терморегулятор 17 устанавливается на заданную температуру разогрева нагревательного элемента 16 и после подключения к источнику напряжения 18 начинается процесс нагрева нагревательным элементом 16 охлаждающей жидкости, поступающей из радиатора 3 в полость корпуса 6 электроподогревателя 5.

[40]

Циркуляция нагретой охлаждающей жидкости осуществляется термосифонным способом и подается к термостату. Процесс предварительного подогрева охлаждающей жидкости ДВС автоматически поддерживается до заданной температуры.

[41]

По второму варианту.

[42]

Система предпускового подогрева ДВС 1 (фиг.3), снабженного блоком цилиндров с полостью 20 рубашки, содержит электроподогреватель 21, выполненный аналогично электроподогревателю 5 (фиг.1) по первому варианту, с таким же нагревательным элементом 16 (фиг.2, 3), жестко связанным с втулкой 12 уплотнительного узла в крышке 10, терморегулятором 17 и подключением к источнику напряжения 18.

[43]

Разница состоит в том, что корпус 22 (фиг.3) электроподогревателя 21 выполнен с одним патрубком 23 и его диаметр d соответствует технологическому отверстию блока цилиндров ДВС.

[44]

Патрубок 23 снабжен уплотнением 24.

[45]

Кроме того, в корпусе 22 расположен фиксирующий элемент в виде шпильки 25 с центрирующей пластиной 26 (фиг.3, 4), длина которой несколько превышает диаметр патрубка 23 и, соответственно, диаметр технологического отверстия.

[46]

Фиксирующий элемент проходит через внутренний объем корпуса 22 (фиг.3) и крышку 10 и в верхней части снабжен уплотнением 27, шайбой 28 и гайкой 29.

[47]

Система предпускового подогрева ДВС работает следующим образом.

[48]

На ДВС автомашины, например, ВАЗ без переделок или иного вмешательства используется технологическое отверстие под заглушку блока цилиндров. В него вставляется патрубком 23 электроподогреватель 21 системы предпускового разогрева ДВС непосредственно в полость 20 рубашки блока цилиндров, но предварительно в технологическое отверстие наклонно заводится фиксирующий элемент, заправляется центрирующая пластина 26 фиксирующего элемента и затягивается гайкой 29, уплотняя одновременно соединения: крышка 10 - шпилька 25 и корпус 22 электроподогревателя 21 - корпус ДВС 1 и закрепляя электроподогреватель 21 на корпусе ДВС 1.

[49]

После этого задается режим нагрева, и система подключается к источнику напряжения 18. Начинается процесс нагрева нагревательным элементом 16 охлаждающей жидкости и циркуляции ее в полость 20 рубашки блока цилиндров.

[50]

Процесс предварительного подогрева охлаждающей жидкости ДВС автоматически поддерживается до заданной температуры.

[51]

Системы предварительного подогрева ДВС показали себя надежными, безопасными, экологически чистыми и простыми в изготовлении и эксплуатации.

Как компенсировать расходы
на инновационную разработку
Похожие патенты