патент
№ RU 2212726
МПК H01H35/34

РЕЛЕ КОНТРОЛЯ ДАВЛЕНИЯ

Авторы:
Шутиков В.А.
Номер заявки
2001133153/09
Дата подачи заявки
06.12.2001
Опубликовано
20.09.2003
Страна
RU
Как управлять
интеллектуальной собственностью
Чертежи 
1
Реферат

[56]

Заявляемое устройство относится к электротехнике, в частности, к реле контроля давления. Техническим результатом заявляемого устройства является обеспечение возможности контроля давления на двух уровнях в широком диапазоне изменения этого параметра при сохранении простоты конструкции и высокой нагрузочной способности контактных элементов. В предлагаемое реле контроля давления, содержащее корпус, мембрану с жестким центром, пластину, уплотняющую мембрану, первый микропереключатель, первую пружину, поворотный рычаг, с возможностью воздействия на первый микропереключатель, дополнительно введены вторая пружина и второй микропереключатель. При этом первая пружина и первый микропереключатель установлены по одну сторону поворотного рычага от жесткого центра мембраны, второй микропереключатель - по другую сторону поворотного рычага, вторая пружина установлена с возможностью воздействия на жесткий центр мембраны. 2 ил.

Формула изобретения

Реле контроля давления, содержащее корпус, мембрану с жестким центром, пластину, уплотняющую мембрану, первый микропереключатель, первую пружину, поворотный рычаг, с возможностью воздействия на первый микропереключатель, отличающееся тем, что в состав устройства введены вторая пружина, второй микропереключатель, причем первая пружина и первый микропереключатель установлены по одну сторону поворотного рычага от жесткого центра мембраны, второй микропереключатель - по другую сторону поворотного рычага, вторая пружина установлена с возможностью воздействия на жесткий центр мембраны.

Описание

[1]

Заявляемое устройство относится к электронике, в частности к реле контроля давления.

[2]

Известен выключатель давления (авт. св. СССР, 696554, H 01 Н 35/34, опубл. 05.11.79, бюл. 41). Устройство относится к электрическим мембранным выключателям, обеспечивает формирование сигнала типа "сухой контакт" при достижении давления контролируемой среды заданного уровня. Выключатель давления содержит корпус с рабочей камерой, имеющей входное отверстие, мембрану со штоком, воздействующим на контакты, пружину и элементы регулировки, обеспечивающие настройку устройства на заданный уровень.

[3]

Недостатками устройства являются:
1) сложность устройства,
2) сложность настройки выключателя на заданное давление, связанная с наличием двух элементов регулировки,
3) низкая точность и повторяемость фиксации заданного уровня давления, обусловленная тем, что переходное сопротивление контактной системы зависит от усилия, приложенного к контактам,
4) невозможность одновременной настройки устройства на два уровня давления.

[4]

Известен датчик-реле давления (И.С.Мухин, О.С.Маховер, "Руководство по наладке и эксплуатации автоматики газифицированных котельных", Издательство "Недра", Ленинград, 1979 г.). Достоинством устройства является высокая точность и повторяемость фиксации заданного давления, которая обеспечивается применением в качестве контактного элемента микропереключателя, в котором усилие на переключение контактов определяется его конструкцией и не зависит от давления контролируемой среды.

[5]

Устройство содержит корпус с рабочей камерой, имеющей входное отверстие, чувствительный элемент, в качестве которого используется мембрана, уравновешивающую пружину, шток, связывающий мембрану с микропереключателем, элемент настройки датчика, защитный кожух для элементов с токоведущими частями.

[6]

Недостатком устройства является невозможность одновременной настройки его на два уровня.

[7]

Известно реле давления типа РД (Д.И.Агейкин, Е.Н.Костина, Н.Н.Кузнецов, "Датчики контроля и регулирования". Издательство "Машиностроение", Москва, 1965 г., с.653-654). Реле давления типа РД позволяет контролировать давление в двух точках рабочего диапазона. Достигается это за счет применения двух разных по чувствительности сильфонов и соответственно двух блоков низкого и высокого давлений.

[8]

Недостатком устройства является его сложность, обусловленная использованием двух раздельных блоков измерения давления.

[9]

Известно реле давления типа ЭКМ (Д.И.Агейкин, Е.Н.Костина, Н.Н.Кузнецов, "Датчики контроля и регулирования". Издательство "Машиностроение", Москва, 1965 г. , с.669-670). В устройстве для измерения давления используется один чувствительный элемент. Действие реле давления основано на преобразовании давления, приложенного к манометрической пружине, в перемещение подвижного контакта. Перемещение конца одновитковой манометрической пружины передается через систему передачи на стрелку, снабженную контактом. На окружности, по которой перемещается стрелка с контактом, установлены неподвижные контакты, положение которых может изменяться. Устройство обеспечивает возможность настройки его на два уровня давлений.

[10]

Недостатки устройства:
1. Сложность конструкции, обусловленная наличием конструктивных элементов, преобразующих перемещение конца манометрической пружины в перемещение стрелки с контактом.

[11]

2 Низкая разрывная мощность контактов (в рассматриваемом устройстве она равна 10 Вт).

[12]

Известны датчики давления (К.И. Харазов "Устройство автоматики с магнитоуправляемыми контактами", Москва, "Энергоатомиздат", 1990 г., с.209-211). В указанных устройствах в качестве контактного элемента используются герконы, управление которыми осуществляется с помощью магнитов, установленных на чувствительном элементе. Датчики имеют простую конструкцию, допускают возможность контроля давления на двух и даже более уровнях.

[13]

Недостатком датчиков является невозможность работы в широком диапазоне давлений. Связано это с тем, что диапазон рабочих давлений напрямую связан с тем, насколько далеко можно разнести друг от друга герконы, сигнализирующие о различных уровнях давления. Учитывая, что области перемещения чувствительных элементов (мембраны, криволинейной трубки) не могут быть большими, в подобных конструкциях необходимо применять рычажную систему, для того чтобы увеличить ход постоянного магнита. А это неизбежно влечет за собой усложнение конструкции.

[14]

Наиболее близким к заявляемому является реле контроля давления (авт. св. СССР, 1370677, МКИ H 01 H 35/34, опубл. 30.01.88, бюл. 4). Устройство состоит из корпуса, рабочей камеры с входным отверстием, мембраны с жестким центром, пластины, уплотняющей мембрану, поворотного рычага, контактного устройства на базе микропереключателя, устройства настройки, состоящего из кронштейна, регулировочного винта, пружины.

[15]

Достоинствами устройства являются:
- простота конструкции, высокая точность и повторяемость настройки заданного значения давления, высокая коммутационная способность, которые обеспечиваются применением в качестве контактного элемента микропереключателя,
- возможность быстрой переналадки датчика с одного на другой уровень контролируемого давления.

[16]

Недостатком устройства является невозможность одновременного контроля давления на двух уровнях.

[17]

Задачей заявляемого устройства является обеспечение возможности контроля давления на двух уровнях в широком диапазоне изменения этого параметра при сохранении простоты конструкции и высокой нагрузочной способности контактных элементов.

[18]

Поставленная задача решается следующим образом.

[19]

В предлагаемое реле контроля давления, содержащее корпус, мембрану с жестким центром, пластину, уплотняющую мембрану, первый микропереключатель, первую пружину и поворотный рычаг, с возможностью воздействия на первый микропереключатель, введены вторая пружина и второй микропереключатель. Причем первая пружина и первый микропереключатель установлены по одну сторону поворотного рычага от жесткого центра мембраны, второй микропереключатель - по другую сторону поворотного рычага, вторая пружина установлена с возможностью воздействия на жесткий центр мембраны.

[20]

При этом:
- введение в состав устройства второй пружины и второго микропереключателя,
- установка первой пружины и первого микропереключателя с одной стороны поворотного рычага от жесткого центра мембраны, а второго микропереключателя - с другой стороны поворотного рычага, являются в заявляемом устройстве обязательными условиями для настройки и контроля давления рабочей среды на двух уровнях.

[21]

Действительно:
Второй микропереключатель обеспечивает формирование сигнала о том, что давление рабочей среды достигло величины, на которую настроен второй уровень устройства. Без второго микропереключателя нет возможности проконтролировать давление второго уровня.

[22]

Вторая пружина является элементом, с помощью которого устанавливается настроечное усилие для контроля давления второго уровня. Отсутствие второй пружины исключает возможность задания второго уровня давления и соответственно его контроля.

[23]

Установка первой пружины и первого микропереключателя с одной стороны поворотного рычага от жесткого центра мембраны, а второго микропереключателя - с другой стороны поворотного рычага, также необходимы для достижения поставленной задачи.

[24]

Для обоснования последнего утверждения рассмотрим принцип работы устройства. При подаче давления на реле контроля мембрана с жестким центром воздействует на поворотный рычаг, который имеет возможность одним своим концом воздействовать на второй микропереключатель, а вторым - на первый микропереключатель и первую пружину. В области низкого давления один конец поворотного рычага остается неподвижным. Упором для него в этой области давления служит первая пружина. Другой конец рычага свободен и имеет возможность воздействовать на второй микропереключатель.

[25]

В области высокого давления подвижный конец рычага становится неподвижным. В этом диапазоне давления он опирается на второй микропереключатель. Неподвижный же, при низком давлении, конец рычага может получить свободу перемещения, если усилие, создаваемое давлением рабочей среды, способно преодолеть усилие первой пружины. В случае выполнения указанного условия, этот конец рычага может воздействовать на первый микропереключатель.

[26]

Таким образом, размещение второго микропереключателя с одной стороны от поворотного рычага, а первого микропереключателя и первой пружины с другой - обеспечивают решение поставленной задачи.

[27]

Установка второй пружины с возможностью воздействия на жесткий центр, в то время как первая пружина установлена с возможностью воздействия на поворотный рычаг, позволяет настраивать устройство на первый и второй уровни независимо друг от друга. Кроме того, использование по одному настроечному элементу (по одной пружине) для настройки первого и второго уровней делает процесс регулировки устройства простым. Настройка нижнего уровня давления выполняется с помощью второй пружины. Настройка верхнего уровня - с помощью первой пружины. При этом настройка устройства на нижний уровень давления не изменяется после настройки устройства на верхний уровень давления. Достигается это тем, что воздействие регулировочных элементов, при настройке нижнего и верхнего уровней, осуществляется на различные элементы устройства. При настройке нижнего уровня регулируется усилие второй пружины, которое приложено к мембране с жестким центром. При установке давления срабатывания верхнего уровня регулируется усилие первой пружины, которое приложено к поворотному рычагу.

[28]

Рассмотрим подробнее работу устройства при давлениях рабочей среды, соответствующих нижнему и верхнему уровням настройки.

[29]

В области давлений нижнего уровня настройки одна сторона поворотного рычага, на которую воздействует первая пружина, остается неподвижной. Эта сторона поворотного рычага прижата к пластине с помощью этой пружины, которая, в данном случае, выполняет роль упора. Другая сторона поворотного рычага соприкасается с подвижным штоком второго микропереключателя и имеет возможность переместиться в сторону этого микропереключателя на величину хода его штока. Перемещение поворотного рычага и включение второго микропереключателя происходит только в том случае, если давление рабочей среды превысит суммарное усилие, создаваемое второй пружиной и пружиной второго микропереключателя. Учитывая, что усилие пружины микропереключателя является его конструктивным параметром и, соответственно, не регулируется, настройка устройства на нижний уровень давления выполняется только второй пружиной.

[30]

Таким образом:
- первая пружина, при давлениях рабочей среды в области настройки нижнего уровня, выполняет функцию жесткой опоры и не оказывает влияния на перемещение поворотного рычага,
- момент включения второго микропереключателя устанавливается только усилием второй пружины.

[31]

Подводя итог сказанному, можно утверждать о существовании возможности независимой настройки реле контроля на нижний уровень давления, регулировка которого выполняется одним настроечным элементом. В диапазоне давлений выше нижнего уровня, после того как включился второй микропереключатель, движение поворотного рычага вновь возможно только с одной стороны. Однако здесь подвижной становится другая сторона поворотного рычага, та, на которую воздействует первая пружина, а неподвижной - сторона, упирающаяся во второй микропереключатель. В этом случае, так же как и при настройке нижнего уровня давления, регулировка выполняется одним элементом, но уже первой пружиной.

[32]

Возможность независимой настройки устройства на нижний и верхний уровни срабатывания позволяет использовать его для контроля давления в широком диапазоне. Реализуется это в заявляемом устройстве путем подбора необходимых усилий сжатия первой и второй пружин.

[33]

Таким образом, решение поставленной задачи в заявляемом устройстве в части обеспечения возможности контроля давления на двух уровнях и в широком диапазоне изменения этого параметра, достигается:
1) введением в состав устройства второго микропереключателя и второй пружины,
2) установкой первой пружины и первого микропереключателя с одной стороны поворотного рычага от жесткого центра мембраны, а второго микропереключателя со второй стороны поворотного рычага,
3) установкой второй пружины с возможностью воздействия на жесткий центр.

[34]

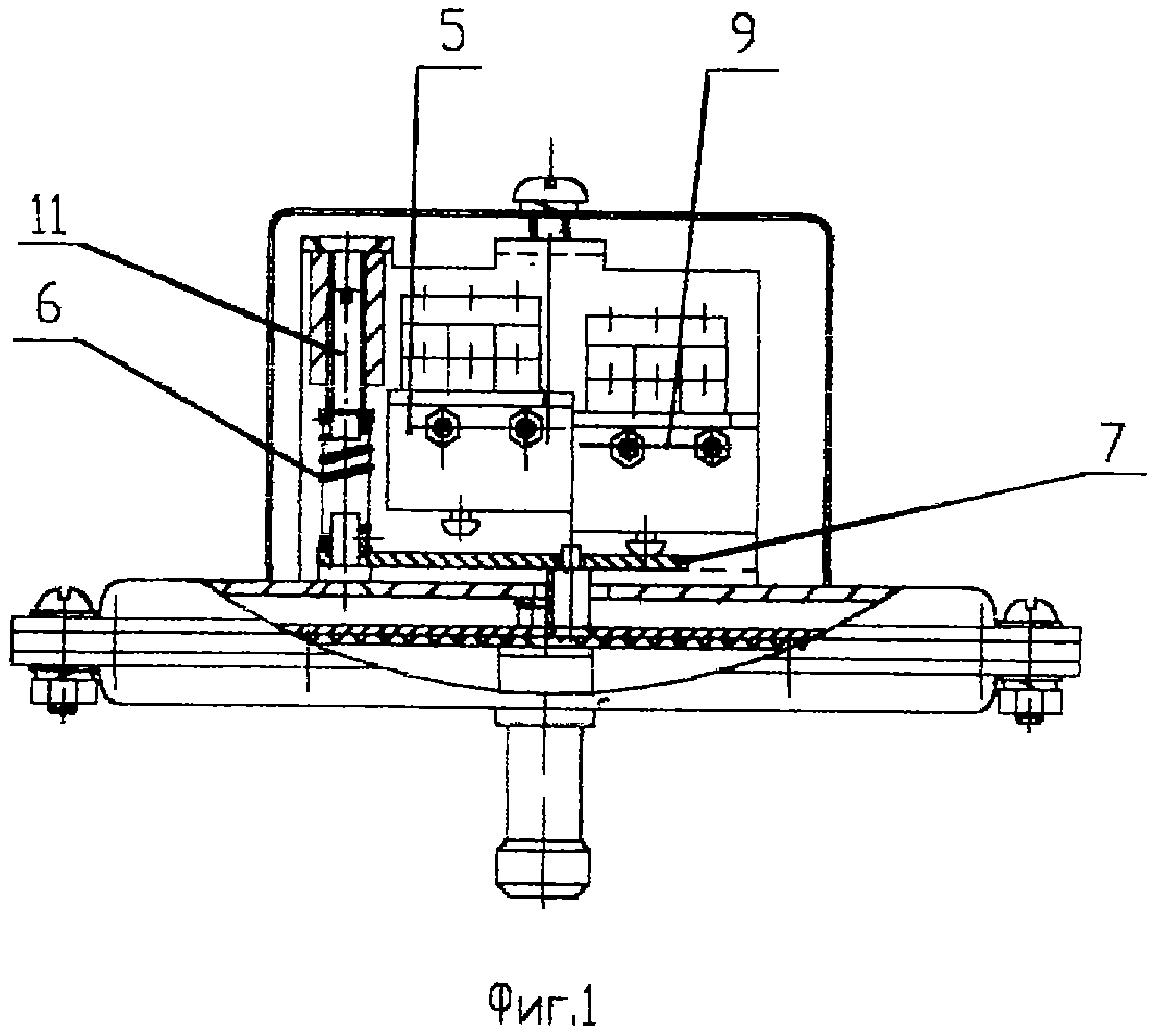
На фиг.1, 2 приведены две проекции конструкции реле контроля давления.

[35]

Реле контроля давления (фиг.1, 2) содержит: корпус 1, мембрану 2 с жестким центром 3, пластину 4, уплотняющую мембрану, первый микропереключатель 5, первую пружину 6, поворотный рычаг 7, вторую пружину 8, второй микропереключатель 9, первый 11 и второй 12 элементы настройки усилий сжатия соответственно первой и второй пружин, печатную плату 12, клеммники винтовые 13, кожух 14, опору 15.

[36]

Устройство работает следующим образом.

[37]

В исходном состоянии, при отсутствии давления рабочей среды, мембрана 2 с жестким центром 3 с помощью второй пружины 8 прижата посредством упора 15 к корпусу 1. Один конец поворотного рычага 7 прижат первой пружиной 6 к пластине 4. Другой конец поворотного рычага 7 касается штока второго микропереключателя 9 и имеет возможность перемещаться на величину его хода.

[38]

Исходное состояние поворотного рычага 7 автоматически устанавливается при настройке второго микропереключателя 9 на низкий уровень давления, а первого микропереключателя 5 на высокий уровень. Настройка устройства на нижний уровень давления выполняется с помощью второй пружины 8 и второго элемента настройки 12. Настройка на верхний уровень давления - с помощью первой пружины 6 и первого элемента настройки 11.

[39]

При поступлении на вход устройства рабочей среды, давление которой равно или превышает давление настройки нижнего уровня, конец поворотного рычага 7, расположенный со стороны второго микропереключателя 9, перемещается вверх на величину хода этого микропереключателя. Последний изменяет свое состояние и тем самым обеспечивает формирование сигнала о достижении рабочей средой давления нижнего уровня.

[40]

Устройство готово к контролю давления верхнего уровня после того, как шток второго микропереключателя 9 переместится на величину своего рабочего хода. Начиная с этого момента (с этого давления), второй микропереключатель 9 начинает выполнять функцию упора, а возможность перемещения переходит к другой стороне поворотного рычага, которая прижата к пластине 4 с помощью первой пружины 6. Возможность эта реализуется при поступлении на вход устройства давления рабочей среды, величина которого равна либо выше давления, на которое настроено устройство с помощью первой пружины 6. В этом случае, рабочая среда, посредством жесткого центра, преодолевая усилие первой пружины 6, перемещает конец поворотного рычага 7. Одновременно рычагом 7 перемещается шток первого микропереключателя 5. В результате чего последний изменяет свое состояние и формирует сигнал о достижении рабочей средой давления, соответствующего верхнему уровню.

[41]

При дальнейшем увеличении давления рабочей среды обе стороны поворотного рычага прижаты к упорам, функцию которых выполняют первый и второй микропереключатели. При этом последние сигнализируют о том, что давление рабочей среды находится за пределами рабочего диапазона, т.е. выше нижнего и верхнего уровней давления, на которые настроено устройство.

[42]

При снижении давления рабочей среды ниже верхнего уровня настройки первая пружина 6 преодолевает усилие рабочей среды, перемещает вниз конец поворотного рычага, с которым она связана и прижимает его вновь к пластине 4. В результате первый микропереключатель возвращается в исходное состояние, сигнализирует тем самым, что давление рабочей среды ниже верхнего уровня настройки.

[43]

При дальнейшем снижении давления рабочей среды до величены ниже нижнего уровня настройки, вторая пружина 8 преодолевает усилие рабочей среды, перемещает вниз теперь уже другой конец поворотного рычага 7. В результате второй микропереключатель возвращается в исходное состояние, сигнализируя тем самым о том что давление рабочей среды ниже нижнего уровня настройки.

[44]

Подключение устройства к линиям передачи информации осуществляется с помощью клеммников винтовых 13, соединенных с микропереключателями 5 и 9 посредством печатных плат 12. Все элементы настройки устройства, а также элементы электрических соединений защищены кожухом 14.

[45]

В примере практической реализации заявляемое реле контроля давления выполнено с применением следующих технологий и комплектующих деталей:
1. Корпус 1, пластина 4 выполнены методом штамповки из стали Ст3 лист Б-ПН-1.5, внешний диаметр корпуса 1 равен 116 мм.

[46]

2. Мембрана изготовлена методом литья под давлением из резины НО-68.

[47]

3. Жесткий центр 3 выполнен из листового дюралюминия марки Д16Т-1.0.

[48]

4. В качестве контактных устройств 5 и 9 использованы микропереключатели типа ПМ22-2, МИ-3В.

[49]

5. Пружины 6 и 8 выполнены из проволоки Б-ПН-(0, 4-1,0).

[50]

Заявляемое устройство обеспечивает при простоте своей конструкции возможность контроля давления рабочей среды: в двух точках рабочего диапазона, в широком его диапазоне, с высокой нагрузочной способностью на выходных контактах.

[51]

В примере практической реализации, при использовании микропереключателей типа ПМ22-2В и МИ-3В сохраняется высокая нагрузочная способность контактов устройства. Например, для микропереключателя ПМ22-2В нагрузочная способность составляет 70 Вт на постоянном токе и 300 Вт на переменном токе ("Коммутационные изделия", Сборник справочных листов, РМ II 0294.2-87, ВНИИ, "Электронстандарт"). Указанная величина существенно превышает нагрузочную способность наиболее близкого и широко распространенного аналога - датчика реле давления типа ЭКМ (Д.И. Агейкин, Е.Н. Костина, Н.Н. Кузнецов, "Датчики контроля и регулирования". Издательство "Машиностроение", Москва, 1965 г., с.669-670), у которого нагрузочная способность контактов составляет 10 Вт.

[52]

Для оценки диапазона рабочих давлений, в которых может работать реле контроля давления, изготовленное по заявляемой конструкции, можно использовать показатель, характеризующий отношение верхнего давления к нижнему.

[53]

В примере практической реализации (при использовании указанных выше материалов и комплектующих) были получены следующие результаты:
- рабочий диапазон давлений при использовании микропереключателя ПМ22-2В составил: 0.6-50 кПа и соответственно отношение нижнего предела давления к верхнему = 83;
- рабочий диапазон давлений при использовании микропереключателя типа МИ-3В составил: 0,1-50 кПа, а отношение нижнего предела давления к верхнему = 500.

[54]

В известных конструкциях:
В датчиках-реле давления типа РД (Д.И.Агейкин, Е.Н.Костина, Н.Н.Кузнецов, "Датчики контроля и регулирования". Издательство "Машиностроение", Москва, 1965 г., с.653-654) отношение верхнего предела измерения к нижнему, на которое может быть настроен один чувствительный элемент, не превышает величины, равной 22 (см. таблицу "Технические данные", стр.654).

[55]

В датчиках-реле давления типа ЭКМ (Д.И.Агейкин, Е.Н.Костина, Н.Н.Кузнецов, "Датчики контроля и регулирования". Издательство "Машиностроение", Москва, 1965 г., с.669-670) отношение верхнего уровня настройки к нижнему составляет величину, равную 67 (см. фиг.V, 153, стр.670).

Как компенсировать расходы
на инновационную разработку
Похожие патенты