патент
№ RU 2211392
МПК F16K39/04

РАЗГРУЖЕННЫЙ ДИСКОВЫЙ КЛАПАН

Авторы:
Трифонов С.С. Клименко В.А. Ильяшевич В.Я.
Все (4)
Номер заявки
2002104004/06
Дата подачи заявки
13.02.2002
Опубликовано
27.08.2003
Страна
RU
Как управлять
интеллектуальной собственностью
Чертежи 
2
Реферат

[29]

Изобретение относится к трубопроводной арматуре и предназначено для управления технологическими процессами в энергетической, химической и нефтегазовой промышленности. Разгруженный дисковый клапан содержит корпус с седлом, шпиндель, сальниковое уплотнение шпинделя. Шпиндель выполнен за одно целое с разгрузочным средством. Последний кинематически связан с плоским поворотным регулирующим элементом, который расположен во входной полости корпуса. Площадь поперечного сечения шпинделя в зоне размещения сальникового уплотнения, воспринимающего входное давление, больше или равна площади поперечного регулирующего элемента. В центре рабочих поверхностей регулирующего элемента и седла клапана выполнены соответствующие друг другу проточки. Проточки образуют в крайнем нижнем положении регулирующего элемента камеру. Последняя сообщается с напорной плоскостью клапана. Регулирующий элемент поджимается к седлу клапана посредством ограничителя. Изобретение позволяет обеспечить надежность работы клапана. 1 з.п.ф-лы, 3 ил.

Формула изобретения

1. Разгруженный дисковый клапан, содержащий корпус с седлом, шпиндель, выполненный за одно целое с разгрузочным средством и кинематически связанный с плоским поворотным регулирующим элементом, расположенным во входной полости корпуса, сальниковое уплотнение шпинделя, при этом площадь поперечного сечения шпинделя в зоне размещения сальникового уплотнения, воспринимающего входное давление, больше или равна площади поперечного сечения регулирующего элемента, отличающийся тем, что в центре рабочих поверхностей регулирующего элемента и седла клапана выполнены соответствующие друг другу проточки, образующие в крайнем нижнем положении регулирующего элемента камеру, сообщающуюся с напорной полостью клапана, при этом регулирующий элемент поджимается к седлу клапана посредством ограничителя.

2. Разгруженный дисковый клапан по п. 1, отличающийся тем, что ограничитель выполнен в виде шарика, установленного в соосных отверстиях, выполненных по вертикальной оси симметрии регулирующего элемента, и седла клапана с постоянным зазором между ними.

Описание

[1]

Изобретение относится к трубопроводной арматуре и может быть использовано в энергетической, химической и нефтегазовой промышленности для управления технологическими процессами.

[2]

Известен самоуплотняющийся дисковый клапан (авт. св. СССР 731163, кл. F 16 К 31/122, 1978 г.), содержащий корпус, в котором расположены седло и запорно-регулирующий орган, постоянно взаимодействующий с седлом и связанный через шпиндель с разгрузочным плунжером, установленным в камере с образующим своими активными поверхностями с внутренними поверхностями камеры полости, сообщенные со сливной и напорной частями трубопровода.

[3]

Недостатком известного клапана является сложность конструкции разгрузочного плунжера, выбор площади его активных поверхностей из условия наименьшего усилия прижатия запорно-регулирующего органа к седлу (при открытом положении), чтобы не произошло отрыва запорно-регулирующего органа от седла, тогда как при полном закрытии клапана усилие прижатия намного больше оптимального, что создает тяжелые условия работы элементов клапана при его открытии и приводит к повышенному их износу.

[4]

Известен самоуплотняющийся дисковый клапан (авт. св. СССР 1114846, кл. F 16 К 39/04, 1983 г.), содержащий корпус, в котором расположены седло и запорно-регулирующий орган, постоянно взаимодействующий с седлом и связанный через шпиндель с разгрузочным плунжером, установленным в камере. В данном дисковом клапане в запорно-регулирующем органе выполнена прорезь, а в седле - кольцевая канавка с расширенным участком. Канавка, в открытом положении клапана, своим расширенным участком сообщена со сливной частью трубопровода через прорезь в запорно-регулирующем органе.

[5]

Известен самоуплотняющийся дисковый клапан (авт. св. СССР 1200061, кл. F 16 К 39/04, F 16 К 39/04, 1983 г.), содержащий корпус, в котором расположены седло с проходными отверстиями и дисковый запорно-регулирующий орган с вырезами, образующими секторные выступы, выполненный с возможностью совмещения вырезов с проходными отверстиями седла и связанный через шпиндель с разгруженным плунжером. Дополнительно, в седле, выполнена канавка в виде радиальных проточек, размещенных по периферии седла в зоне проходных отверстий.

[6]

В конструкциях вышеописанных клапанов дополнительные канавки в седле клапана выполнены по периферии седла, что позволяет незначительно снизить мощность привода т.к. площадь соприкосновения рабочих поверхностей остается достаточно большая, а прямая зависимость конструктивных размеров разгрузочного устройства от площади пропускных окон в седле увеличивает номенклатуру разгрузочных устройств даже в пределах одного типоразмера клапана.

[7]

Известен регулирующий дисковый клапан с разгрузочным устройством (патент РФ 2099623, кл. F 16 К 39/04, 1995 г.), содержащий установленное в корпусе неподвижное седло с пропускными профилированными периферийными окнами и центральным каналом, контактирующее с золотником, соединенным со шпинделем и имеющим сквозное центральное продольное отверстие, а на уплотняющей поверхности золотника - секторные пазы, образующие вместе с поверхностью седла промежуточную камеру, сообщенную с разгрузочной камерой и центральным каналом седла.

[8]

В известном регулирующем дисковом клапане промежуточная камера соединена со сливной полостью и при открытии клапана (при изменении площади проходного сечения), в условии постоянного перепада давления в установившемся режиме, золотник произведет самопроизвольное всплытие, и клапан не будет работать как регулятор расхода.

[9]

Известен затвор дискового клапана (авт. св. СССР 987257, кл. F 16 К 39/00, 1981 г. ), содержащий установленные в корпусе неподвижное седло, связанный со шпинделем и постоянно контактирующий с седлом запорно-регулирующий орган, разгрузочное устройство, включающее сообщенный с напорной и сливной полостями клапана цилиндр, расположенный в нем поршень, и звено, понижающее трение между запорно-регулирующим органом и неподвижным седлом, выполненное в виде шарика.

[10]

В конструкции вышеописанного затвора при больших перепадах давления и высоких температурах происходит быстрый эрозионный износ рабочих поверхностей поршня и цилиндра, что, соответственно, приводит к выходу из строя разгрузочного устройства, а шарик используется только в качестве звена, понижающего трение (упорного подшипника).

[11]

Наиболее близким по конструктивным особенностям является разгруженный дисковый клапан (патент РФ 2079028, кл. F 16 К 39/04, 1992 г.) - прототип. Разгруженный дисковый клапан содержит корпус с седлом, шпиндель, кинематически связанный с плоским поворотным регулирующим элементом, расположенным во входной полости корпуса, сальниковое уплотнение шпинделя и разгрузочное средство, выполненное за одно целое со шпинделем, площадь поперечного сечения конца которого больше или равна площади регулирующего элемента.

[12]

К причинам, препятствующим достижению указанного ниже технического результата при использовании известного устройства, принятого за прототип, относится то, что:
- при достаточно больших проходных сечениях рабочих каналов в седле клапана регулирующий элемент, имеющий конструктивно площадь поперечного сечения, большую или равную площади конца поперечного сечения шпинделя, не позволяет получить полную внутреннюю разгрузку, поэтому в момент открывания клапана (при полном его закрытии) или при минимальном расходе жидкости регулирующий элемент не в состоянии произвести отрыв от поверхности седла (всплытие), что, соответственно, вызывает увеличение усилия на элементы управления;
- плотное соприкосновение рабочих поверхностей регулирующего элемента и седла клапана, при увеличении усилия на элементы управления, ведет к появлению задиров на рабочих поверхностях седла клапана и регулирующего элемента, частому выходу их из строя, что, в свою очередь, вызывает внеплановые затраты на ремонт. Все это не позволяет обеспечить надежную работу клапана.

[13]

Сущность изобретения заключается в следующем.

[14]

Задачей изобретения является возможность использования клапана при всех режимах, уменьшение затрат на ремонтные и пусконаладочные работы и получение максимальной внутренней разгрузки.

[15]

Технический результат - создан разгруженный дисковый клапан, позволяющий исключить задиры на рабочих поверхностях регулирующего элемента и седла клапана за счет наличия в их центре камеры и ограничителя, обеспечивающего постоянный зазор между регулирующим элементом и седлом, что дает возможность использовать его при любых режимах, предельно разгрузить плоский регулирующий элемент и, следовательно, обеспечить надежность работы.

[16]

Указанный технический результат при осуществлении изобретения достигается тем, что в известном разгруженном дисковом клапане, содержащем корпус с седлом, шпиндель, выполненный за одно целое с разгрузочным средством и кинематически связанный с плоским поворотным регулирующим элементом, расположенным во входной полости корпуса, сальниковое уплотнение шпинделя, при этом площадь поперечного сечения шпинделя в зоне размещения сальникового уплотнения, воспринимающего входное давление, больше или равна площади поперечного сечения регулирующего элемента, имеются следующие особенности:
- в центре рабочих поверхностей регулирующего элемента и седла клапана выполнены соответствующие друг другу проточки, образующие в крайнем нижнем положении регулирующего элемента камеру, сообщающуюся с напорной полостью клапана, при этом регулирующий элемент поджимается к седлу клапана посредством ограничителя;
- ограничитель выполнен в виде шарика, установленного в соосных отверстиях, выполненных по вертикальной оси симметрии регулирующего элемента и седла клапана с постоянным зазором между ними.

[17]

Под действием давления рабочей среды Р1 в напорной полости клапана регулирующий элемент усилием F1 прижимается к седлу клапана. Усилие F2, прилагаемое к элементу управления для поворота регулирующего органа, зависит от перепада давлений Р=Р1-Р2 (где Р2 - давление в сливной емкости), от площади поперечного сечения профилированных отверстий седла клапана S1, от площади соприкосновения рабочих поверхностей регулирующего элемента и седла клапана S2, от площади поперечного сечения разгрузочного средства S3. Исходя из вышесказанного, выполнение в центре рабочих поверхностей регулирующего элемента и седла клапана соответствующих друг другу проточек, образующих в крайнем нижнем положении регулирующего элемента камеру, сообщающуюся с напорной полостью клапана, а также поджимание регулирующего элемента к седлу клапана ограничителем позволяет получать между ними минимальный гарантированный зазор (нерегулируемый пропуск среды), при котором вышеуказанные рабочие поверхности плотно не соприкасаются. Поэтому в момент открывания клапана (при полном его закрытии) или при минимальном расходе рабочей среды регулирующий элемент легко отрывается от рабочей поверхности седла клапана (всплывает), что, в свою очередь, исключает возникновение задиров и позволяет использовать клапан во всех режимах. Выполнение ограничителя в виде шарика, для которого в седле клапана и регулирующем элементе выполнены соосные по вертикальной оси симметрии отверстия (конструктивно конические), дает возможность сохранить в процессе работы клапана изначально установленный (при пусконаладочных работах) минимальный гарантированный зазор, который регулируется винтом, введенным в опорный узел бугеля, при полностью закрытом проходном сечении. Глубина конических отверстий под шарик выполняется индивидуально для каждой пары "седло клапана - регулирующий элемент".

[18]

Таким образом, предложенная конструкция клапана позволила решить выше поставленные задачи и добиться предполагаемого технического результата, а главное - использовать клапан при всех режимах с уменьшением затрат на ремонтные и пусконаладочные работы.

[19]

Проведенный заявителем анализ уровня техники позволил установить, что аналог, характеризующийся совокупностями признаков, тождественными всем признакам заявленного изделия, отсутствует. Следовательно, заявленное изобретение соответствует условию патентоспособности "новизна".

[20]

Результаты поиска известных решений в данной и смежных областях техники с целью выявления признаков, совпадающих с отличительными от прототипа заявленного изобретения, показали, что они не следуют явным образом из уровня техники. Из определенного заявителем уровня техники не выявлена известность влияния предусматриваемых существенными признаками заявленного изобретения преобразований на достижение указанного технического результата. Следовательно, заявленное изобретение соответствует условию патентоспособности "изобретательский уровень".

[21]

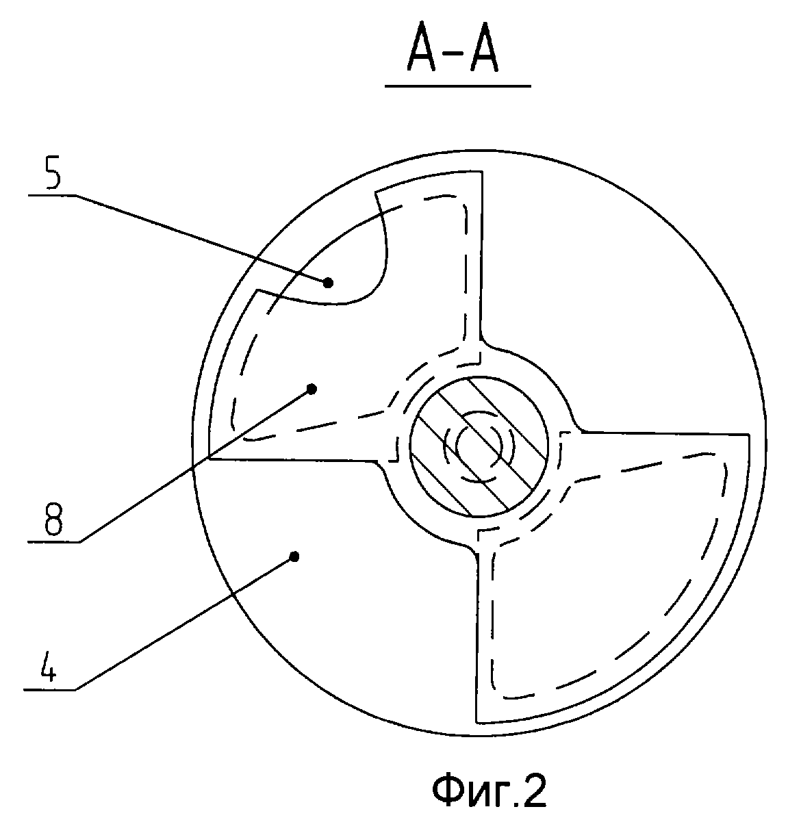
На чертежах представлено: на фиг. 1 изображен разгруженный дисковый клапан (общий вид), на фиг.2 - разрез А-А, на фиг.3 - выносной элемент Б.

[22]

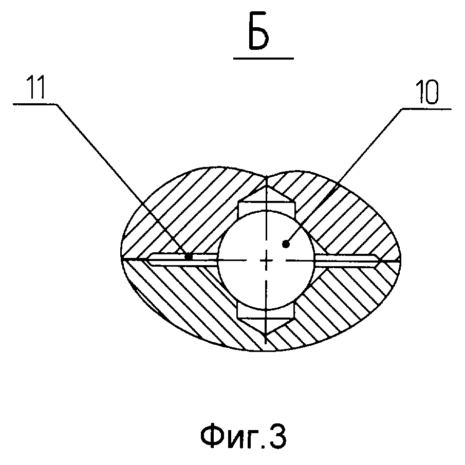
Сведения, подтверждающие возможность осуществления изобретения с получением вышеуказанного результата, заключаются в следующем: разгруженный дисковый клапан состоит из литого корпуса 1 (см. фиг.1), имеющего два горизонтальных соосных отверстия для пропуска рабочей среды и одно вертикальное отверстие, в котором установлен стакан 2 с зафиксированным на нем при помощи кольца 3 седлом клапана 4, имеющим два профилированных отверстия 5 (см. фиг. 2), через которые рабочая среда проходит из напорной полости 6 (см. фиг.1) клапана в сливную полость 7. В соосные отверстия седла клапана 4 и регулирующего элемента 8, имеющего конфигурацию в виде бабочки и выполненного заодно со шпинделем 9, вставлен ограничитель 10 (см. фиг.3), являющийся шариком, посредством которого регулирующий элемент 8 (см. фиг.1) поджимается к седлу клапана 4, обеспечивая при этом минимальный зазор и образуя соответствующими проточками в седле клапана 4 и регулирующем элементе 8 камеру 11 (см. фиг.3). Также в корпусе 1 (см. фиг.1) установлена крышка 12, надеваемая на ранее вмонтированный шпиндель 9, а между ними (крышкой 12 и шпинделем 9) расположена сальниковая камера 13, представляющая собой уплотнительную набивку, которая поджимается грундбуксой 14, нажимной планкой 15 и затягивается, при этом сама крышка 12 фиксируется в корпусе 1 замком 16. На корпусе 1 сверху установлен бугель 17, имеющий опорный узел 18, в отверстие которого введен конец шпинделя 9, а сверху ввернут винт 19, регулирующий минимальный зазор.

[23]

Сборка и подготовка клапана к работе производится в следующей последовательности.

[24]

В корпус 1 клапана монтируется стакан 2, на котором, при помощи кольца 3, устанавливается седло клапана 4. В отверстие седла помещается ограничитель 10, а сверху на него, соосным отверстием, устанавливается регулирующий элемент 8, соединенный со шпинделем 9. На шпиндель 9 надевается крышка 12, вводится в корпус 1 и фиксируется замком 16 в проточке корпуса 1. Между шпинделем 9 и крышкой 12 образуется сальниковая камера 13, которая заполняется уплотнительной набивкой поджимающейся грундбуксой 14 и нажимной планкой 15, при этом нажимная планка затягивается крепежом. На корпус 1 сверху устанавливается бугель 17, путем введения верхнего конца шпинделя в отверстие опорного узла 18, и крепится, а в сам опорный узел ввинчивается винт 19, регулирующий зазор между рабочими поверхностями регулирующего элемента 8 и седла клапана 4. Производится затяжка всех крепежных элементов. После закрепления разгруженного дискового клапана в трубопроводе производится установка минимального гарантированного зазора при рабочем давлении и полностью закрытом проходном сечении методом определения "нерегулируемого расхода", задаваемого техническими характеристиками системы.

[25]

Разгруженный дисковый клапан работает следующим образом.

[26]

Регулируемая рабочая среда под давлением Р1 поступает в напорную полость 6 корпуса 1, которая при полном закрытии клапана сообщается с камерой 11. Далее, в момент открывания клапана путем поворота регулирующего элемента 8 рабочая среда поступает через профилированные отверстия 5 седла клапана 4 в сливную полость 7. Поворотом регулирующего элемента 8, соединенного со шпинделем 9, за счет приложения усилия F2 к элементам управления изменяют площадь сечения профилированных отверстий 5 седла клапана 4, тем самым осуществляют регулирование расхода рабочей среды.

[27]

Таким образом, вышеизложенные сведения свидетельствуют о выполнении при использовании заявленного разгруженного дискового клапана следующей совокупности условий:
- разгруженный дисковый клапан, воплощающий заявленное изобретение при его осуществлении, предназначен для использования в энергетической, химической и нефтегазовой промышленности как трубопроводная арматура для управления технологическими процессами;
- для заявленного разгруженного дискового клапана в том виде, как он охарактеризован в независимом пункте изложенной формулы изобретения, подтверждена возможность изготовления и применения с помощью известных до даты подачи заявки средств и методов;
- разгруженный дисковый клапан, воплощающий заявленное изобретение при его применении, способен обеспечить достижение усматриваемого заявителем технического результата, что подтверждено испытаниями опытного образца, которые показали, что заявляемый разгруженный дисковый клапан возможно использовать при всех режимах (в качестве всережимного) с уменьшением усилия, прилагаемого к элементам управления и сокращением сроков пусконаладочных и ремонтных работ, что, соответственно, вызывает экономический эффект от его применения при эксплуатации.

[28]

Следовательно, заявленное изобретение соответствует условию "промышленная применимость".

Как компенсировать расходы
на инновационную разработку
Похожие патенты