Полезная модель относится к медицинской технике, в частности, к конструкции шины для оказания первой помощи путем фиксации поврежденного участка при переломе голени нижней конечности человека, может быть использована в медицинской и текстильной промышленности. Технический результат: уменьшение интервала времени от момента получения травмы до момента наложения шины на поврежденный участок. Шина содержит узел фиксации, металлическую полосу, к поверхностям которой закреплены полимерные полосы. Новым является то, что шина дополнительно снабжена первым гибким амортизирующим пористым листом, вторым гибким амортизирующим пористым листом, второй металлической полосой, третьей полимерной полосой и четвертой полимерной полосой, которые закреплены ко второй металлической полосе. Узел фиксации образован внешним гибким тканым элементом с первой закладной полостью с единым входом-выходом, второй закладной полостью с единым входом-выходом, третьей закладной полостью с единым входом-выходом, четвертой закладной полостью с единым входом-выходом, верхней полостью с единым входом-выходом, застежкой-молния, застежками Велкро, первым трубчатым элементом с первой трубчатой полостью, вторым трубчатым элементом со второй трубчатой полостью. Верхняя полость выполнена с возможностью размещения в ней нижней части туловища человека и сопряжения внешнего гибкого тканого элемента с талией человека. Первая трубчатая полость выполнена с возможностью размещения в ней одной ноги человека, а вторая трубчатая полость выполнена с возможностью размещения в ней второй ноги человека. Первая закладная полость размещена во второй закладной полости. Третья закладная полость размещена в четвертой закладной полости. 3 ил.
1. Шина для транспортной иммобилизации при переломе голени нижней конечности человека, содержащая узел фиксации, металлическую полосу с первой поверхностью и второй поверхностью, первую полимерную полосу, вторую полимерную полосу, первая полимерная полоса закреплена к первой поверхности, а вторая - ко второй поверхности, отличающаяся тем, что она дополнительно снабжена первым гибким амортизирующим пористым листом, вторым гибким амортизирующим пористым листом, второй металлической полосой с третьей поверхностью и четвертой поверхностью, третьей полимерной полосой и четвертой полимерной полосой, при этом к третьей поверхности закреплена третья полимерная полоса, а к четвертой - четвертая полимерная полоса, при этом узел фиксации образован внешним гибким тканым элементом с первой закладной полостью с единым входом-выходом, второй закладной полостью с единым входом-выходом, третьей закладной полостью с единым входом-выходом, четвертой закладной полостью с единым входом-выходом, верхней полостью с единым входом-выходом, застежкой-молния, застежками Велкро, первым трубчатым элементом с первой трубчатой полостью, вторым трубчатым элементом со второй трубчатой полостью, причем верхняя полость сообщена с первой трубчатой полостью с образованием первой сквозной полости, а также сообщена со второй трубчатой полостью с образованием второй сквозной полости, при этом верхняя полость выполнена с возможностью размещения в ней нижней части туловища человека и сопряжения внешнего гибкого тканого элемента с талией человека, первая трубчатая полость выполнена с возможностью размещения в ней одной ноги человека, а вторая трубчатая полость выполнена с возможностью размещения в ней второй ноги человека, при этом металлическая полоса с первой полимерной полосой и второй полимерной полосой ориентирована вертикально и размещена в первой закладной полости, а вторая металлическая полоса с третьей полимерной полосой и четвертой полимерной полосой ориентирована вертикально и размещена в третьей закладной полости, первый гибкий амортизирующий пористый лист размещен во второй закладной полости, а второй гибкий амортизирующий пористый лист размещен в четвертой закладной полости, при этом первая закладная полость размещена во второй закладной полости, а третья закладная полость размещена в четвертой закладной полости, причем металлическая полоса с первой полимерной полосой и второй полимерной полосой ориентирована вертикально и размещена в первой закладной полости таким образом, что при размещении ноги человека в первой трубчатой полости она расположена напротив голени нижней конечности человека, а вторая металлическая полоса с третьей полимерной полосой и четвертой полимерной полосой ориентирована вертикально и размещена в третьей закладной полости таким образом, что при размещении ноги человека во второй трубчатой полости она расположена напротив голени нижней конечности человека, при этом металлическая полоса и вторая металлическая полоса выполнены с возможностью остаточной пластической деформации с образованием желоба, а застежки Велкро закреплены к участкам внешнего гибкого тканого элемента, где размещены металлическая полоса с первой полимерной полосой и второй полимерной полосой, вторая металлическая полоса с третьей полимерной полосой и четвертой полимерной полосой, а также застежки Велкро размещены перед единым входом-выходом первой закладной полости, перед единым входом-выходом второй закладной полости, перед единым входом-выходом третьей закладной полости, перед единым входом-выходом четвертой закладной полости. 2. Шина для транспортной иммобилизации при переломе голени нижней конечности человека по п. 1, отличающаяся тем, что металлическая полоса и вторая металлическая полоса образованы из сплава алюминия. 3. Шина для транспортной иммобилизации при переломе голени нижней конечности человека по п. 1, отличающаяся тем, что первая полимерная полоса, вторая полимерная полоса, третья полимерная полоса и четвертая полимерная полоса образованы из химически сшитого пенополиэтилена с закрытоячеистой структурой. 4. Шина для транспортной иммобилизации при переломе голени нижней конечности человека по п. 1, отличающаяся тем, что первый гибкий амортизирующий пористый лист, второй гибкий амортизирующий пористый лист образованы из химически сшитого пенополиэтилена с закрытоячеистой структурой. 5. Шина для транспортной иммобилизации при переломе голени нижней конечности человека по п. 1, отличающаяся тем, что граница первой закладной полости и граница третьей закладной полости образованы из полиамидной ткани. 6. Шина для транспортной иммобилизации при переломе голени нижней конечности человека по п. 1, отличающаяся тем, что внешний гибкий тканый элемент образован из смешанной ткани, содержащей 50% хлопковых нитей и 50% полиэфирных нитей.
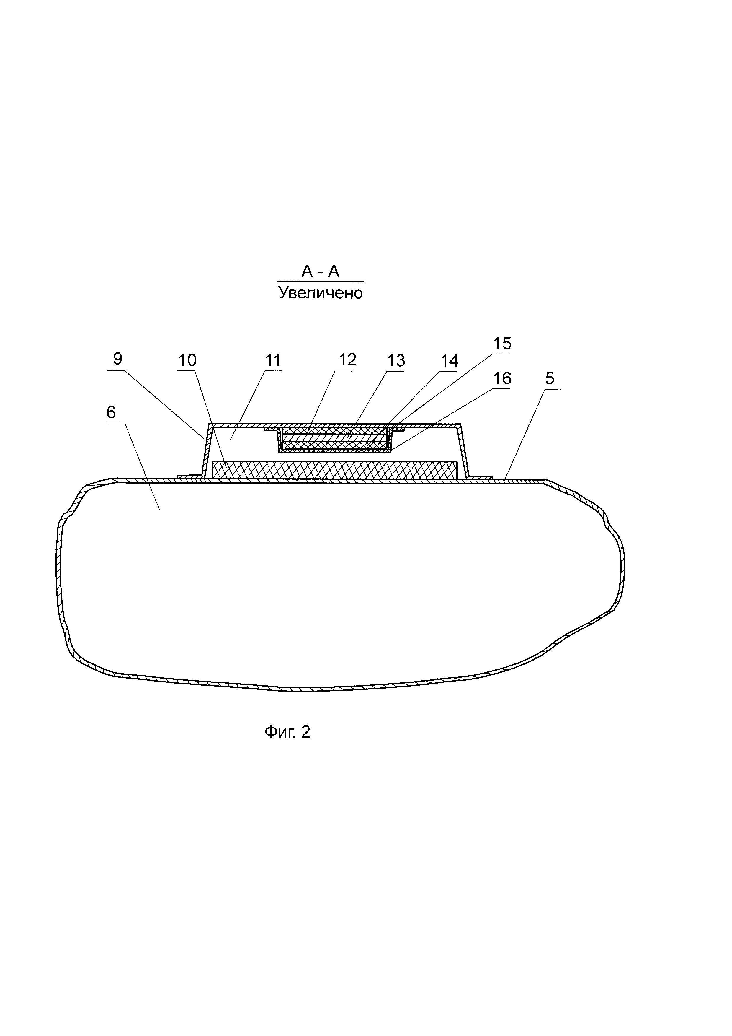
Полезная модель относится к медицинской технике, в частности, к конструкции шины для оказания первой помощи путем фиксации поврежденного участка при переломе голени нижней конечности человека (далее также шина), может быть использована в медицинской и текстильной промышленности. Иммобилизация как неотъемлемая часть оказания первой помощи, применяется в первые часы и минуты после ранения. Оперативность проведения иммобилизации играет решающую роль не только в профилактике осложнений, но и в сохранении жизни пострадавшего. С помощью иммобилизации обеспечивается покой, предупреждаются интерпозиция сосудов, нервов, мягких тканей, распространение раневой инфекции и вторичные кровотечения. Транспортная иммобилизация (иммобилизация на время доставки больного в стационар) является неотъемлемой частью мероприятий по профилактике развития травматического шока у пострадавшего. Оперативно и правильно выполненная транспортная иммобилизация является важнейшим мероприятием первой помощи при осколочных и огнестрельных ранениях, открытых и закрытых переломах костей, обширных повреждениях мягких тканей, повреждениях суставов, сосудов и нервных стволов. Отсутствие иммобилизации во время транспортировки может привести к развитию тяжелых осложнений (травматический шок, кровотечение и др.), а в некоторых случаях и к гибели пострадавшего. Доминирующая часть времени при иммобилизации затрачивается на действия, которые предшествуют наложению шины на поврежденный участок, в частности, на поиск шины, выемку шины из упаковки, перемещение шины к пострадавшему, причем затраты времени, на выполнение указанных действий, существенного превышают время, необходимое на наложение шины на поврежденный участок. Таким образом, актуальной является проблема существенного снижения количества времени, затрачиваемого от события получения травмы до события наложения шины на поврежденный участок. Известна шина транспортная (далее также шина), выполненная в виде полимерной пластины, армированной металлическим элементом по форме листа (RU 12961 U1, опубликована 20.03.2000, Бюл. №8). Недостаток известной шины заключается в том, что она не содержит узел фиксации, обеспечивающий ее закрепление к поврежденному участку. Известна также шина транспортная, содержащая узел фиксации, металлическую полосу с первой поверхностью и второй поверхностью, первую полимерную полосу, вторую полимерную полосу, первая полимерная полоса закреплена к первой поверхности, а вторая - ко второй поверхности (RU 125064 U1, опубликована 27.02.2013, Бюл. №6). Недостаток известной шины заключается в том, что, перед наложением шины на поврежденный участок, затрачивается значительное время на поиск шины, выемку шины из упаковки, перемещение шины к пострадавшему, что приводит к увеличению интервала времени от события травмирования до события наложения шины на поврежденный участок. Наличие указанного недостатка объясняется конструктивными особенностями известной шины, которая не содержит элементов, обеспечивающих оперативное закрепление шины к поврежденному участку. Данное техническое решение, как наиболее близкое по совокупности существенных признаков включая назначение, выбирается в качестве наиболее близкого аналога для заявляемой полезной модели. Техническая проблема: конструкция известной шины предусматривает несение бремени временных затрат, связанных с поиском шины, выемкой шины из упаковки, перемещением шины к пострадавшему, что увеличивает интервал время от момента получения травмы до момента наложения шины на поврежденный участок. Это объясняется тем, что конструктивные особенности известной шины не содержат элементов, обеспечивающих оперативное закрепление шины к поврежденному участку. Данная техническая проблема является существенной и требует своего разрешения путем создания новой конструкции шина для транспортной иммобилизации при переломе голени нижней конечности человека, которая исключает несение бремени временных затрат, связанных с поиском шины, выемкой шины из упаковки, перемещением шины к пострадавшему, что уменьшает интервал времени от момента получения травмы до момента наложения шины на поврежденный участок. Для разрешения технической проблемы надлежит внести существенные конструктивные изменения к конструкцию шины, а также снабдить ее дополнительными конструктивными элементами, найти место их размещения, сообщить их с другими конструктивными элементами шины определенным образом. Привнесенные конструктивные элементы, в конструкцию шины, а также новое их размещение относительно друг друга, должны находится в причинно-следственной связи с техническим результатом и обеспечивать его достижение. Задача, на решение которой направлена заявленная полезная модель: создание новой конструкции шины, которая лишена указанных выше недостатков, исключает несение бремени временных затрат, связанных с поиском шины, выемкой шины из упаковки, перемещением шины к пострадавшему, что уменьшает интервал времени от момента получения травмы до момента наложения шины на поврежденный участок. Технический результат: уменьшение интервала времени от момента получения травмы до момента наложения шины на поврежденный участок путем исключения временных затрат, связанных с поиском шины, выемкой шины из упаковки, перемещением шины к пострадавшему. Технический результат представлен заявителем таким образом, чтобы обеспечить возможность понимания специалистом на основании уровня техники его смыслового содержания. Заявитель раскрыл задачу, на решение которой направлена заявленная полезная модель, с указанием обеспечиваемого им технического результата. Сущность заявленной полезной модели заключается в том, что шина для транспортной иммобилизации при переломе голени нижней конечности человека, содержащая узел фиксации, металлическую полосу с первой поверхностью и второй поверхностью, первую полимерную полосу, вторую полимерную полосу, первая полимерная полоса закреплена к первой поверхности, а вторая - ко второй поверхности, согласно известной полезной модели, она дополнительно снабжена первым гибким амортизирующим пористым листом, вторым гибким амортизирующим пористым листом, второй металлической полосой с третьей поверхностью и четвертой поверхностью, третьей полимерной полосой и четвертой полимерной полосой, при этом к третьей поверхности закреплена третья полимерная полоса, а к четвертой - четвертая полимерная полоса, при этом узел фиксации образован внешним гибким тканым элементом с первой закладной полостью с единым входом-выходом, второй закладной полостью с единым входом-выходом, третьей закладной полостью с единым входом-выходом, четвертой закладной полостью с единым входом-выходом, верхним участком с верхней полостью с единым входом-выходом и застежкой-молния, нижним участком с застежками Велкро, первым элементом трубчатой формы с первой трубчатой полостью, вторым элементом трубчатой формы со второй трубчатой полостью, причем верхняя полость сообщена с первой трубчатой полостью с образованием первой сквозной полости, а также сообщена со второй трубчатой полостью с образованием второй сквозной полости, при этом верхняя полость выполнена с возможностью размещения в ней нижней части туловища человека и сопряжения внешнего гибкого тканого элемента с талией человека, первая трубчатая полость выполнена с возможностью размещения в ней одной ноги человека, а вторая трубчатая полость выполнена с возможностью размещения в ней второй ноги человека, при этом металлическая полоса с первой полимерной полосой и второй полимерной полосой ориентирована вертикально и размещена в первой закладной полости, а вторая металлическая полоса с третьей полимерной полосой и четвертой полимерной полосой ориентирована вертикально и размещена во второй закладной полости, первый гибкий амортизирующий пористый лист размещен в третьей закладной полости, а второй гибкий амортизирующий пористый лист размещен в четвертой закладной полости, при этом первая закладная полость размещена в третьей закладной полости, а вторая закладная полость размещена в четвертой закладной полости, причем металлическая полоса с первой полимерной полосой и второй полимерной полосой ориентирована вертикально и размещена в первой закладной полости таким образом, что при размещении ноги человека в первой трубчатой полости она расположена напротив голени нижней конечности человека, а вторая металлическая полоса с третьей полимерной полосой и четвертой полимерной полосой ориентирована вертикально и размещена во второй закладной полости таким образом, что при размещении ноги человека во второй трубчатой полости она расположена напротив голени нижней конечности человека, при этом металлическая полоса и вторая металлическая полоса выполнены с возможностью остаточной пластической деформации с образованием желоба, а застежки Велкро закреплены к участкам внешнего гибкого тканого элемента, где размещены металлическая полоса с первой полимерной полосой и второй полимерной полосой, вторая металлическая полоса с третьей полимерной полосой и четвертой полимерной полосой, а также застежки Велкро размещены перед единым входом-выходом первой закладной полости, перед единым входом-выходом второй закладной полости, перед единым входом-выходом третьей закладной полости, перед единым входом-выходом четвертой закладной полости. Металлическая полоса и вторая металлическая полоса образованы из сплава алюминия, способного проявить свойство остаточной пластической деформации. Первая полимерная полоса, вторая полимерная полоса, третья полимерная полоса и четвертая полимерная полоса образованы из химически сшитого пенополиэтилена с закрытоячеистой структурой. Первый гибкий амортизирующий пористый лист, второй гибкий амортизирующий пористый лист образованы из химически сшитого пенополиэтилена с закрытоячеистой структурой. Граница первой закладной полости и граница третьей закладной полости образованы из полиамидной ткани. Внешний гибкий тканый элемент образован из смешанной ткани, содержащей 50% хлопковых нитей и 50% полиэфирных нитей. Сущность полезной модели как технического решения выражена заявителем в совокупности существенных признаков, необходимой и достаточной для достижения обеспечиваемого полезной моделью технического результата. Именно заявленная совокупность признаков полезной модели является существенной, которая необходима для реализации полезной моделью назначения и получения заявленного технического результата. Сопоставительный анализ заявляемой полезной модели с наиболее близким аналогом показывает, что полезная модель имеет следующие общие признаки: - узел фиксации; - металлическая полоса с первой поверхностью и второй поверхностью; - первая полимерная полоса; - вторая полимерная полоса; - первая полимерная полоса закреплена к первой поверхности, а вторая - ко второй поверхности. Заявленная полезная модель отличается от наиболее близкого аналога новыми признаками: - дополнительно снабжена первым гибким амортизирующим пористым листом, вторым гибким амортизирующим пористым листом, второй металлической полосой с третьей поверхностью и четвертой поверхностью, третьей полимерной полосой и четвертой полимерной полосой; - к третьей поверхности закреплена третья полимерная полоса, а к четвертой - четвертая полимерная полоса; - узел фиксации образован внешним гибким тканым элементом с первой закладной полостью с единым входом-выходом, второй закладной полостью с единым входом-выходом, третьей закладной полостью с единым входом-выходом, четвертой закладной полостью с единым входом-выходом, верхней полостью с единым входом-выходом, застежкой-молния, застежками Велкро, первым трубчатым элементом с первой трубчатой полостью, вторым трубчатым элементом со второй трубчатой полостью; - верхняя полость сообщена с первой трубчатой полостью с образованием первой сквозной полости, а также сообщена со второй трубчатой полостью с образованием второй сквозной полости; - верхняя полость выполнена с возможностью размещения в ней нижней части туловища человека и сопряжения внешнего гибкого тканого элемента с талией человека; - первая трубчатая полость выполнена с возможностью размещения в ней одной ноги человека, а вторая трубчатая полость выполнена с возможностью размещения в ней второй ноги человека; - металлическая полоса с первой полимерной полосой и второй полимерной полосой ориентирована вертикально и размещена в первой закладной полости; - вторая металлическая полоса с третьей полимерной полосой и четвертой полимерной полосой ориентирована вертикально и размещена в третьей закладной полости; - первый гибкий амортизирующий пористый лист размещен во второй закладной полости; - второй гибкий амортизирующий пористый лист размещен в четвертой закладной полости; - первая закладная полость размещена во второй закладной полости; - третья закладная полость размещена в четвертой закладной полости; - металлическая полоса с первой полимерной полосой и второй полимерной полосой ориентирована вертикально и размещена в первой закладной полости таким образом, что при размещении ноги человека в первой трубчатой полости она расположена напротив голени нижней конечности человека; - вторая металлическая полоса с третьей полимерной полосой и четвертой полимерной полосой ориентирована вертикально и размещена в третьей закладной полости таким образом, что при размещении ноги человека во второй трубчатой полости она расположена напротив голени нижней конечности человека; - металлическая полоса и вторая металлическая полоса выполнены с возможностью остаточной пластической деформации с образованием желоба; - застежки Велкро закреплены к участкам внешнего гибкого тканого элемента, где размещены металлическая полоса с первой полимерной полосой и второй полимерной полосой, вторая металлическая полоса с третьей полимерной полосой и четвертой полимерной полосой, а также застежки Велкро размещены перед единым входом-выходом первой закладной полости, перед единым входом-выходом второй закладной полости, перед единым входом-выходом третьей закладной полости, перед единым входом-выходом четвертой закладной полости. Металлическая полоса и вторая металлическая полоса образованы из сплава алюминия. Первая полимерная полоса, вторая полимерная полоса, третья полимерная полоса и четвертая полимерная полоса образованы из химически сшитого пенополиэтилена с закрытоячеистой структурой. Первый гибкий амортизирующий пористый лист, второй гибкий амортизирующий пористый лист образованы из химически сшитого пенополиэтилена с закрытоячеистой структурой. Граница первой закладной полости и граница третьей закладной полости образованы из полиамидной ткани. Внешний гибкий тканый элемент образован из смешанной ткани, содержащей 50% хлопковых нитей и 50% полиэфирных нитей. На фиг. 1 - показан общий вид шины для транспортной иммобилизации при переломе голени нижней конечности человека (далее также шина); на фиг. 2 - сечение А-А фиг. 1; на фиг. 3-сечение Б-Б фиг. 1. Шина содержит следующие конструктивные элементы: внешний гибкий тканый элемент 1 (см. фиг. 1), вторая трубчатая полость 2, второй трубчатый элемент 3, застежки Велкро 4, первый трубчатый элемент 5, первая трубчатая полость 6, застежка-молния 7, верхняя полость 8, стенка второй закладной полости 9 (см. фиг. 2), первый гибкий амортизирующий пористый лист 10, вторая закладная полость 11, первая полимерная полоса 12, металлическая полоса 13, вторая полимерная полоса 14, первая закладная полость 15, стенка первой закладной полости 16, стенка четвертой закладной полости 17 (см. фиг. 3), второй гибкий амортизирующий пористый лист 18, четвертая закладная полость 19, третья полимерная полоса 20, вторая металлическая полоса 21, четвертая полимерная полоса 22, третья закладная полость 23, стенка третьей закладной полости 24. Область внешнего гибкого тканого элемента 1 с застежкой-молния 7 и верхней полостью 8 образует его верхний участок (см. фиг. 1), обеспечивающий подвижное сообщение внешнего гибкого тканого элемента 1 с талией человека. Внешний гибкий тканый элемент 1 (см. фиг. 1), вторая трубчатая полость 2, второй трубчатый элемент 3, застежки Велкро 4, первый трубчатый элемент 5, первая трубчатая полость 6, застежка-молния 7, верхняя полость 8, стенка второй закладной полости 9 (см. фиг.2), вторая закладная полость 11, первая закладная полость 15, стенка первой закладной полости 16, стенка четвертой закладной полости 17 (см. фиг. 3), четвертая закладная полость 19, третья закладная полость 23, стенка третьей закладной полости 24, образуют узел фиксации, который является внешним участком шины. В свою очередь, первый гибкий амортизирующий пористый лист 10 (см. фиг. 2), первая полимерная полоса 12, металлическая полоса 13, вторая полимерная полоса 14, второй гибкий амортизирующий пористый лист 18 (см. фиг. 3), третья полимерная полоса 20, вторая металлическая полоса 21, четвертая полимерная полоса 22, образуют внутренний участком шины. Первый гибкий амортизирующий пористый лист 10 размещен во второй закладной полости 11. Второй гибкий амортизирующий пористый лист 18 размещен в четвертой закладной полости 19. Вторая металлическая полоса 21 имеет третью поверхность и четвертую поверхность, причем к третьей поверхности закреплена третья полимерная полоса 20, а к четвертой - четвертая полимерная полоса 22. Вторая металлическая полоса 21 с третьей полимерной полосой 20 и четвертой полимерной полосой 22 ориентирована вертикально и размещена в третьей закладной полости 23. Металлическая полоса 13 имеет первую поверхность и вторую поверхность, причем первая полимерная полоса 12 закреплена к первой поверхности, а вторая полимерная полоса 14 - ко второй поверхности. Металлическая полоса 13 с первой полимерной полосой 12 и второй полимерной полосой 14 ориентирована вертикально и размещена в первой закладной полости 15. Верхняя полость 8 сообщена с первой трубчатой полостью 6 с образованием первой сквозной полости (на фиг. условно не обозначена позицией), а также сообщена со второй трубчатой полостью 2 с образованием второй сквозной полости (на фиг. условно не обозначена позицией). Верхняя полость 8 выполнена с возможностью размещения в ней нижней части туловища человека и подвижного сопряжения внешнего гибкого тканого элемента с талией человека. Первая трубчатая полость 6 выполнена с возможностью размещения в ней одной ноги человека, а вторая трубчатая полость 2 выполнена с возможностью размещения в ней второй ноги человека. Первая закладная полость 15 размещена во второй закладной полости 11. Третья закладная полость 23 размещена в четвертой закладной полости 19. Металлическая полоса 13 с первой полимерной полосой 12 и второй полимерной полосой 14 ориентирована вертикально и размещена в первой закладной полости 15 таким образом, что при размещении ноги человека в первой трубчатой полости 6 она расположена напротив голени нижней конечности человека. Вторая металлическая полоса 21 с третьей полимерной полосой 20 и четвертой полимерной полосой 22 ориентирована вертикально и размещена в третьей закладной полости 23 таким образом, что при размещении ноги человека во второй трубчатой полости 2 она расположена напротив голени нижней конечности человека. Металлическая полоса 13 и вторая металлическая полоса 21 выполнены с возможностью остаточной пластической деформации с образованием желоба. Застежки Велкро закреплены к участкам внешнего гибкого тканого элемента 1, где размещены металлическая полоса 13 с первой полимерной полосой 12 и второй полимерной полосой 14, вторая металлическая полоса 21 с третьей полимерной полосой 20 и четвертой полимерной полосой 22, а также застежки Велкро размещены перед единым входом-выходом первой закладной полости 15, перед единым входом-выходом второй закладной полости 11, перед единым входом-выходом третьей закладной полости 23, перед единым входом-выходом четвертой закладной полости 19. Застежка Велкро (VELCRO) функционирует по принципу репейника, состоит из двух лент, на одной образованы микрокрючки, а на другой - микропетли. Для образования соединении ленты предварительно размещают друг против друга, а затем вводят во взаимодействие крючки с петлями, при этом происходит сцепление крючков с петлями и образование разъемного соединения. Граница первой закладной полости 15 образована стенкой первой закладной полости 16 и участком стенки второй закладной полости 9. Стенка первой закладной полости 16 закреплена к стенке второй закладной полости 9 посредством швов, образованных методом шитья из швейных ниток. Стенка второй закладной полости 9 закреплена к первому трубному элементу 5 посредством швов, образованных методом шитья из швейных ниток Граница третьей закладной полости 23 образована стенкой третьей закладной полости 24 и участком стенки четвертой закладной полости 19. Стенка третьей закладной полости 24 закреплена к стенке четвертой закладной полости 17 посредством швов, образованных методом шитья из швейных ниток. Стенка четвертой закладной полости 17 закреплена ко второму трубному элементу 3 посредством швов, образованных методом шитья из швейных ниток. Первая полимерная полоса, вторая полимерная полоса, третья полимерная полоса и четвертая полимерная полоса образованы из химически сшитого пенополиэтилена с закрытоячеистой структурой толщиной 1-1,5 мм. Первый гибкий амортизирующий пористый лист, второй гибкий амортизирующий пористый лист образованы из химически сшитого пенополиэтилена с закрытоячеистой структурой толщиной 4-6 мм. Граница первой закладной полости и граница третьей закладной полости образованы из полиамидной ткани. Голень ноги человека состоит из двух разной величины костей, которые носят название большеберцовой и малоберцовой, а также состоит из разных групп мышц, причем при переломе происходит механическое разрушение, большей частью, обоих костей. Пример осуществления полезной модели. Изготовили следующие конструктивные элементы, которые соединили между собой, как показано на фиг.1-3 с получением шины: внешний гибкий тканый элемент 1 (см. фиг. 1), вторая трубчатая полость 2, второй трубчатый элемент 3, застежки Велкро 4, первый трубчатый элемент 5, первая трубчатая полость 6, застежка-молния 7, верхняя полость 8, стенка второй закладной полости 9 (см. фиг. 2), первый гибкий амортизирующий пористый лист 10, вторая закладная полость 11, первая полимерная полоса 12, металлическая полоса 13, вторая полимерная полоса 14, первая закладная полость 15, стенка первой закладной полости 16, стенка четвертой закладной полости 17 (см. фиг. 3), второй гибкий амортизирующий пористый лист 18, четвертая закладная полость 19, третья полимерная полоса 20, вторая металлическая полоса 21, четвертая полимерная полоса 22, третья закладная полость 23, стенка третьей закладной полости 24. При изготовлении элементов шины использовали материалы, указанные выше. Для скрепления первой полимерной полосы 12, второй полимерной полосы 14 к поверхностям металлической полосы 13 (см. фиг. 2), а также для скрепления третьей полимерной полосы 20, четвертой полимерной полосы 22 к поверхностям второй металлической полосы 21 (см. фиг. 2) использовали клеевую композицию, в частности, на основе эпоксидной смолы. Для скрепления иных элементов друг к другу использовали швы, образованные швейной машинкой из швейных ниток, что обеспечило получение шины, показанной на фиг. 1-3. Шиной пользуются следующим образом. Шину закрепляют на поясе человека, который направляется в зону повышенного риска, где ему надлежит перемещаться по пересеченной местности с большим количеством препятствий, что увеличивает вероятностью получения травмы в виде перелома голени одной ноги или двух ног. Перед сообщением шины с поясом человека раскрываю застежку-молния 7 (см. фиг. 1), затем правую ногу вводят в верхнюю полость 8, а далее в первую трубную полость 6, а левую ногу вводят в верхнюю полость 8, далее во вторую трубную полость 2, нижнюю часть туловища человека размещают в верхней полости 8, затем сообщают верхнюю часть внешнего тканого элемента 1 с талией путем закрывания застежки-молнии 7. В результате совершения указанных действий шина зафиксирована на талии человека и заняла положение, показанное на фиг.1. Допустим, что произошел несчастный случай, произошел перелом костей левой голени нижней конечности человека. Нужно срочно наложить шину на поврежденный участок, т.е. в область левой голени нижней конечности человека. Надлежит совершить следующие действия. Вывести из зацепления элементы застежки Велкро 4 (см. фиг. 1), деформировать металлическую полосу 13 с первой полимерной полосой 12 и второй полимерной полосой 14 в продольном направлении и придать металлической полосе 13 форму желоба, при этом первая полимерная полос 12 и вторая полимерная полоса 14 также приобретут форму желоба по причине их закрепления к металлической полосе 13. Материал металлической полосы 13 обладает свойством остаточной пластической деформации, что обеспечит сохранение формы желоба после снятия деформирующей нагрузки. После этого накладывают на поврежденный участок металлическую полосу 13 в форме желоба с сопрягаемыми элементами и закрепляют их на голени нижней левой конечности посредством обматывания и закрепления застежками Велкро 4. Были совершены действия по фиксации затраченного времени, которое понадобилось на непосредственное наложение шины на поврежденный участок, которое составило 23 секунды. Не понадобилось время на поиск шины, выемку шины из упаковки, перемещением шины к пострадавшему. Из указанного обстоятельства следует, что достигнут заявленный технический результат, т.е. удалось уменьшить интервал времени от момента получения травмы до момента наложения шины на поврежденный участок. Первая полимерная полоса 12 и вторая полимерная полоса 14 необходимы для исключения жесткого контакта между металлической полосой 13. Первый гибкий амортизирующий пористый лист 10 необходим для гашения колебаний, которые возникают при транспортировке пострадавшего. Аналогичные действия совершаются при наложении шины на поврежденный участок правой голени нижней конечности человека с той лишь разницей, что в описании подлежат использованию иные позиции элементов шины. Из приведенного перечня признаков заявляемой полезной модели и решения поставленной задачи наглядно видно, что решение представляет собой новую совокупность существенных признаков, как сочетание известных и новых признаков, обеспечивающих получение нового технического результата, неизвестного на дату подачи настоящей заявки. Заявляемая полезная модель обеспечивает решение поставленной задачи и получение нового технического результата, который действительно может быть получен при его использовании. Между совокупностью существенных признаков заявляемой полезной модели и достигаемым техническим результатом существует прямая причинно-следственная связь, т.к. каждый из признаков независимого пункта формулы полезной модели необходим, а вместе достаточны для обеспечения получения нового технического результата. Каждый существенный признак полезной модели, нашедший свое выражение в независимом пункте формулы полезной модели, влияет на достижение указанного выше технического результата. Каждый признак полезной модели в отдельности является существенным, а их совокупность образует совокупность существенных признаков полезной модели, оказывающих влияние на достижение технического результата. Признаки полезной модели, характеризующие взаимное размещение отдельных элементов устройства относительно друг друга, также являются существенными, т.к. оказывают свое влияние на достижение технического результата и решение поставленной задачи. Заявляемая полезная модель является промышленно применимой, т.к. может быть использована в промышленности, сельском хозяйстве, здравоохранении и других отраслях экономики или в социальной сфере, где используются шины. Заявляемая полезная модель может быть воспроизведена в том виде, как она охарактеризована в независимом пункте формулы полезной модели с использованием известных и доступных материалов, технологий, технологического оборудования и имеющихся навыков работников. В случае осуществления полезной модели действительно возможна реализация указанного выше назначения и получение заявленного технического результата. Для изготовления шины используют известные материалы, технологические процессы и оборудование. Заявляемая полезная модель является новой, т.к. она неизвестно из уровня техники. Не известна из уровня техники совокупность существенных признаков заявляемой полезной модели и их влияние на получение заявляемого технического результата. Существенные признаки полезной модели носят технический характер, идентифицируемы и охарактеризованы в терминах, которые известны в технике. Совокупность существенных признаков заявляемой полезной модели, необходима и достаточна для получения заявляемого технического результата. Заявляемая совокупность признаков полезной модели обеспечивает получение неожиданного, необычного сверхсуммарного технического результата, который превосходит технический результат, получаемый от каждого существенного признака в отдельности, применительно к объектам указанного назначения. Заявленная полезная модель соответствует условиях патентоспособности: является техническим решением, относящимся к устройству, достигается указанный технический результат, существует причинно-следственная связь между признаками заявленной полезной модели и указанным техническим результатом, описание полезной модели содержит обоснование достижения технического результата, обеспечиваемого полезной моделью, полезная модель не противоречит известным законам природы и знаниям современной науки о них. Описание полезной модели раскрывает ее с полнотой, достаточной для осуществления полезной модели специалистом в данной области техники. Содержатся в документах заявки сведения о назначении полезной модели, о техническом результате, обеспечиваемом полезной моделью, раскрыта совокупность существенных признаков, необходимых для достижения указанного заявителем технического результата. Заявителем соблюдены установленные требования к документам заявки, применяемые при раскрытии сущности полезной модели и раскрытии сведений о возможности осуществления полезной модели. Таким образом, заявленная полезная модель является устройством, соответствует требуемым условиям патентоспособности полезной модели (новизна, промышленная применимость), описание полезной модели раскрывает ее сущность с полнотой, достаточной для осуществления полезной модели специалистом в данной области техники, полезная модель обеспечивает получение заявленного технического результата, решение поставленной задачи.