патент
№ RU 2205973
МПК F02K9/52

СМЕСИТЕЛЬНАЯ ГОЛОВКА КАМЕРЫ ЖИДКОСТНОГО РАКЕТНОГО ДВИГАТЕЛЯ (ЖРД) И КАМЕРА ЖРД С ЭТОЙ ГОЛОВКОЙ

Авторы:
Чванов В.К. Каторгин Б.И. Шмырев Ю.С.
Все (12)
Номер заявки
2000116923/06
Дата подачи заявки
30.06.2000
Опубликовано
10.06.2003
Страна
RU
Как управлять
интеллектуальной собственностью
Чертежи 
6
Реферат

[64]

Камера жидкостного ракетного двигателя содержит корпус, включающий тракт охлаждения, и смесительную головку, имеющие антипульсационные перегородки, выполненные из выступающих в огневую полость камеры форсунок. Образующие антипульсационые перегородки форсунки расположены на сторонах квадрата в центральной части смесительной головки форсунки, а также на двух лучах, протяженных от стороны квадрата к периферии. Периферийные форсунки антипульсационных перегородок являются форсунками горючего. Выступающая в огневую полость часть каждой периферийной форсунки снабжена односторонним поперечным выступом, направленным в сторону огневой стенки камеры и образующим с этой стенкой радиальный зазор. Изобретение позволяет создать надежную и устойчиво работающую камеру жидкостного ракетного двигателя, обеспечивающую высокое качество смесеобразования в смесительной головке камеры, которое бы обеспечивало высокий удельный импульс ракетного двигателя. 2 с. и 10 з.п. ф-лы, 7 ил.

Формула изобретения

1. Смесительная головка камеры ЖРД, содержащая наружное, среднее и огневое днища, скрепленные между собой форсунками, штифтами, пайкой и сваркой, при этом форсунки горючего и окислителя выполнены однокомпонентными и расположены в шахматном порядке в огневом днище с переходом в периферийной зоне головки к расположению по окружностям, а штифты расположены на окружности в периферийной зоне смесительной головки, отличающаяся тем, что расположенные на сторонах квадрата в центральной части смесительной головки форсунки, а также форсунки, находящиеся для каждой из сторон квадрата на двух лучах, протяженных от стороны квадрата к периферии, выполнены выступающими в огневую полость камеры за огневое днище, образуя антипульсационные перегородки, при этом каждая периферийная выступающая относительно огневого днища форсунка является форсункой горючего и расположена в местах пересечения окружности штифтов с указанными лучами расположения выступающих форсунок.

2. Смесительна головка по п.1, отличающаяся тем, что наружные поверхности концов форсунок, выступающих за огневое днище камеры, выполнены хромированными с толщиной хромового покрытия от 10 до 80 мкм.

3. Смесительная головка по пп.1 и 2, отличающаяся тем, что выступающие за огневое днище форсунки на выходном в огневую полость конце выполнены с наружными фасками длиной вдоль оси форсунки 1,5 мм под углом 30o к оси форсунки.

4. Смесительная головка по пп.1-3, отличающаяся тем, что выступающие в огневую полость концы форсунок соединены между собой припоем.

5. Смесительная головка по пп.1-3, отличающаяся тем, что выступающие в огневую полость концы форсунок соединены между собой сварными швами.

6. Смесительная головка по пп.1 и 2, отличающаяся тем, что форсунки антипульсационных перегородок выполнены выступающими своими концами в огневую полость камеры на величину 2 - 5 шагов между форсунками.

7. Смесительная головка по п.1, отличающаяся тем, что штифты установлены равномерно-прерывисто по окружности на равномерно-прерывистых ее дугах.

8. Камера ЖРД, содержащая корпус, включающий цилиндрическую часть и сопло, имеющие наружную оболочку, огневую стенку и тракт охлаждения в виде каналов между ними, а также содержащая смесительную головку, имеющую антипульсационные перегородки, выполненные из выступающих в огневую полость камеры форсунок, отличающаяся тем, что периферийные форсунки антипульсационных перегородок являются форсунками горючего, а выступающая в огневую полость камеры часть каждой такой форсунки снабжена односторонним поперечным выступом, направленным в сторону огневой стенки камеры и образующим с этой стенкой радиальный зазор величиной от 0 до 0,5 мм.

9. Камера по п. 8, отличающаяся тем, что тракт охлаждения выполнен из индивидуальных кольцевых участков, последовательно протяженных вдоль камеры, с коллектором между ними.

10. Камера по пп.8 и 9, отличающаяся тем, что индивидуальный кольцевой участок тракта охлаждения в цилиндрической части камеры выполнен в виде гофрированной проставки, гофры которой направлены спирально под углом 12...18o к оси камеры, а проставка скреплена с наружной оболочкой и огневой стенкой, например, пайкой.

11. Камера по пп. 8 и 9, отличающаяся тем, что индивидуальный кольцевой участок тракта охлаждения во входной части сопла (камеры), включая область его критического сечения, выполнен в виде спирального оребрения на огневой стенке (например, путем фрезеровки) под углом 12...18o к оси камеры.

12. Камера по пп.8 и 9, отличающаяся тем, что индивидуальные кольцевые участки тракта охлаждения части сопла после критического сечения выполнены в виде каналов вдоль отрезков, образующих сопла и состоящих на участке ближе к критическому сечению из оребрений на огневой стенке сопла (выполненных, например, фрезеровкой), а на последующих в сторону выхода из сопла участках вплоть до области среза сопла индивидуальные кольцевые участки выполнены в виде гофрированных проставок, скрепленных с огневой стенкой и наружной оболочкой, например, пайкой.

Описание

[1]

Изобретение относится к области ракетной техники, а более конкретно к камерам жидкостных ракетных двигателей и входящим в них устройствам и деталям.

[2]

В технике известна форсуночная головка камеры ЖРД SSME (см. энциклопедию "Космонавтика", гл. ред. В.П. Глушко, М., 1985, стр. 382). Эта головка содержит 600 форсунок, расположенных 13 концентрическими рядами. Форсунки выполнены в виде двойных (коаксиальных) трубок и являются двухкомпонентными форсунками. Форсуночная головка содержит форсунки, которые выступают из огневого днища, образуя антипульсационные перегородки (кольцо с 5 расходящимися лучами).

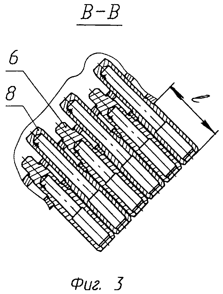
[3]

Эту головку ракетного двигателя выбираем за аналог предлагаемого изобретения. Недостаток аналога в том, что он предназначен для смесительных головок с расположением форсунок по концентрическим окружностям. Аналог неприемлем для шахматного расположения форсунок, которое имеет место в ряде современных ЖРД (см. , например, "Конструирование и проектирование жидкостных ракетных двигателей" под общей редакцией Г.Г. Гахуна, М., Машиностроение, 1989 г., стр.130, рис. 7,5).

[4]

Известна камера ЖРД РД-107, работающая на жидком кислороде и керосине. В смесительной (старое название - форсуночная) головке камеры ЖРД РД-107 по концентрическим окружностям установлены двухкомпонентные форсунки. На периферии смесительной головка установлены штифты равномерно по двум концентрическим окружностям (см. Альбом конструкций ЖРД, часть 3, составленный под руководством В. П. Глушко, Военное издательство Минобороны СССР, М., 1969, стр. 36, фиг.52). Смесительная головка имеет внутреннее (огневое), среднее и наружное днища. Эту смесительную головку выбираем также в качестве аналога изобретения. Недостаток этой головки в том, что в камерах с такой смесительной головкой возможна высокочастотная неустойчивость рабочего процесса.

[5]

Известна смесительная головка камеры ЖРД РД-111 (см. вышеуказанный Альбом конструкций ЖРД, стр.155, фиг.379). Эту смесительную головку выбираем в качестве прототипа изобретения "Смесительная головка камеры ЖРД". Прототип содержит наружное, среднее и огневое днища. Днища скреплены между собой форсунками, штифтами, пайкой и сваркой. Форсунки горючего и окислителя выполнены однокомпонентными и расположены в шахматном порядке в огневом днище с переходом в периферийной зоне головки к расположению по окружностям. На периферии смесительной головки расположены равномерно по окружностям штифты.

[6]

Недостаток прототипа в том, что в нем возможна в отдельных экземплярах камер высокочастотная неустойчивость рабочего процесса, особенно в условиях форсированных режимов.

[7]

В технике известны различные камеры ЖРД.

[8]

Известна камера отечественного ракетного двигателя РД-114 (см. Альбом конструкций ЖРД, часть 3, составленный под руководством В.П. Глушко, Военное издательство Минобороны СССР, М., 1969, стр. 194, 195). В этой камере имеются корпус и смесительная головка. Корпус содержит наружную оболочку и огневую стенку, между которыми расположен тракт охлаждения. С внешней стороны на огневой стенке сопла во входной части сопла и в районе его критического сечения вплоть до выходной части сопла выполнено оребрение путем фрезеровки каналов. А тракт охлаждения выходной части сопла выполнен в виде гофрированной проставки между силовой оболочкой и огневой стенкой с расположением каналов вдоль камеры.

[9]

Это техническое решение принимаем в качестве аналога изoбpeтeния "Камера ЖРД". Недостаток этого аналога в значительной вероятности высокочастотной неустойчивости процесса горения в камере.

[10]

Известна камера американского ЖРД SSME (см. Г.Г. Гахун, В.И. Баулин, В. А. Володин и др. "Конструирование и проектирование жидкостных ракетных двигателей", М., Машиностроение, 1989 г., стр. 124, 135). Камера содержит корпус и смесительную головку. Корпус включает цилиндрическую часть и сопло, имеющие наружную оболочку, огневую стенку и тракт охлаждения между ними. Смесительная головка имеет антипульсационные перегородки, которые выполнены из выступающих в огневую полость камеры форсунок. Эти форсунки включают ряды форсунок, направленные к огневой стенке камеры.

[11]

Это техническое решение принимаем за прототип настоящего изобретения "Камера ЖРД".

[12]

Недостаток прототипа в том, что в нем имеется резерв повышения устойчивости работы камеры при одновременной простоте конструкции за счет введения перегородки между огневой стенкой и периферийной форсункой каждого ряда выступающих форсунок антипульсационных перегородок.

[13]

Кроме того, имеется резерв повышения эффективности охлаждения такой камеры за счет выполнения тракта охлаждения в цилиндрической части камеры в виде гофрированной проставки, гофры которой направлены спирально под углом 12...18o к оси камеры и размещены между наружной оболочкой и огневой стенкой камеры. Тракт охлаждения во входной части сопла и в районе его критического сечения выполнен в виде оребрения, спирально расположенного на огневой стенке и состоящего из направленных под yглом 15o к оси камеры каналов, выполненных, например, фрезеровкой.

[14]

В основу настоящего изобретения смесительной головки камеры ЖРД положена задача создания надежной и устойчиво работающей камеры ЖРД при высоком качестве смесеобразования в головке, которое бы обеспечивало высокий удельный импульс ЖРД.

[15]

Необходимость создания такой смесительной головки продиктована общим направлением современного ракетного двигателестроения на совершенствование как ЖРД в целом, так и его отдельных элементов с целью увеличения полезной массы и снижения стоимости ее выведения на орбиту.

[16]

В предлагаемом изобретении имеется ряд новых и существенных признаков. Сущность изобретения заключается в том, что известная смесительная головка камеры ЖРД содержит наружное, среднее и огневое днища, скрепленные между собой форсунками, штифтами, пайкой и сваркой, при этом форсунки горючего и окислителя выполнены однокомпонентными и расположены в шахматном порядке в огневом днище с переходом в периферийной зоне головки к расположению по окружностям, а штифты расположены по окружности в периферийной зоне смесительной головки. В предложенной смесительной головке расположенные на сторонах квадрата в центральной части смесительной головки форсунки, а также форсунки, находящиеся для каждой из сторон квадрата на двух прямолинейных или ломаных лучах, протяженных от сторон квадрата к периферии, выполнены выступающими в огневую полость камеры за огневое днище, образуя антипульсационные перегородки, при этом каждая периферийная выступающая относительно огневого днища форсунка является форсункой горючего и расположена в местах пересечения окружности расположения штифтов с указанными лучами расположения выступающих форсунок.

[17]

В частном случае в смесительной головке наружные поверхности концов форсунок, выступающие за огневое днище в огневую полость камеры, выполнены хромированными с толщиной хромового покрытия от 10 до 80 мкм.

[18]

В частном случае в смесительной головке выступающие за огневое днища форсунки на выходном в огневую полость конце выполнены с наружными фасками длиной вдоль оси форсунки 1,5 мм под углом 30o к оси форсунки.

[19]

В частном случае в смесительной головке в местах выступания форсунок в огневую полость камеры форсунки соединены между собой припоем.

[20]

В частном случае в смесительной головке в местах выступания форсунок в огневую полость камеры форсунки соединены между собой сварным швом.

[21]

В частном случае в смесительной головке форсунки антипульсационных перегородок выполнены выступающими концами в огневую полость камеры на величину от двух до пяти шагов между форсунками.

[22]

В частном случае в смесительной головке штифты установлены равномерно-прерывисто по окружности на равномерно-прирывистых ее дугах.

[23]

Технический результат изобретения "Смесительная головка камеры ЖРД" заключается в том, что создана смесительная головка, обеспечивающая высокую надежность ее работы и высокую устойчивость рабочего процесса в камере при обеспечении высокого качества смесеобразования и, как следствие, высокий удельный импульс ЖРД.

[24]

Задача, которая стояла в предлагаемом изобретении "Камера ЖРД", состояла в увеличении устойчивости ее работы и повышении ее надежности при обеспечении высокой технологичности и простоты конструкции предлагаемого устройства.

[25]

Сущность изобретения "Камера ЖРД" заключается в том, что камера содержит корпус, включающий цилиндрическую часть и сопло, имеющие наружную оболочку, огневую стенку и тракт охлаждения в виде каналов между ними, а также содержит смесительную головку, имеющую антипульсационные перегородки, выполненные из выступающих в огневую полость камеры форсунок, включая форсунки, расположенные на направленных к огневой стенке камеры лучах. При этом камера имеет ряд отличительных особенностей. Периферийные форсунки антипульсационных перегородок являются и служат форсунками горючего, а выступающая в огневую полость камеры часть каждой такой форсунки снабжена односторонним поперечным выступом, направленным в сторону огневой стенки камеры и образующим с этой стенкой радиальный зазор величиной от 0 до 0,5 мм.

[26]

В случае выполнения на смесительной головке цилиндрического участка огневой стенки камеры указанный зазор от 0 до 0,5 мм может быть выполнен между указанным поперечным выступом форсунки и этим цилиндрическим участком смесительной головки.

[27]

Кроме того, в частном случае камера может иметь тракт охлаждения, выполненный из индивидуальных кольцевых участков, последовательно протяженных вдоль камеры, с коллекторами между ними.

[28]

В частном случае индивидуальный кольцевой участок тракта охлаждения в цилиндрической части камеры выполнен в виде гофрированной проставки, гофры которой направлены спирально под углом 12...18o к оси камеры, а проставка скреплена с наружной оболочкой и огневой стенкой, например, пайкой. Это улучшает теплообмен между огневой стенкой и продуктами сгорания в камере по сравнению с направлением каналов вдоль образующих камеры.

[29]

В частном случае индивидуальный кольцевой участок тракта охлаждения во входной части сопла камеры, включая область его критического сечения, выполнен в виде спирального оребрения на огневой стенке снаружи (например, путем фрезеровки) под углом 12...18o к оси камеры. Это улучшает теплообмен между огневой стенкой и продуктами сгорания в камере по сравнению с направлением каналов вдоль образующих сопла.

[30]

Иногда целесообразно из технологических соображений выполнять гофры и оребрение с направлением каналов вдоль образующих сопла. Правда, это несколько ухудшает теплообмен.

[31]

В частном случае индивидуальные кольцевые участки тракта охлаждения в выходной части сопла после критического сечения выполнены в виде каналов вдоль отрезков образующих сопла и состоящих из оребрений на огневой стенке сопла (выполненных, например, фрезеровкой), а на последующих в сторону выхода из сопла участках вплоть до области среза сопла индивидуальные кольцевые участки выполнены в виде гофрированных проставок, скрепленных с огневой стенкой и наружной оболочкой, например, пайкой. Такое конструктивное исполнение этой части камеры выбрано из условия повышения ее технологичности и обеспечения пониженной ее стоимости.

[32]

Технический результат изобретения "Камера ЖРД" заключается в том, что создана камера с повышенной устойчивостью рабочего процесса в ней и повышенной надежностью ее работы при оптимальных затратах на ее изготовление.

[33]

На фиг.1 - сечение смесительной головки камеры ЖРД по оси.

[34]

На фиг.2 - вид А (см. фиг.1) на смесительную головку.

[35]

На фиг. 3 - сечение В-В (см. фиг.2) по форсункам вдоль лучей от сторон квадрата к периферии смесительной головки.

[36]

На фиг.4 - камера ЖРД.

[37]

На фиг.5 - принципиальное конструктивное исполнение станки корпуса камеры в сечениях Р-Р, S-S (повернуто) и Т-Т (повернуто).

[38]

На фиг. 6 - принципиальное конструктивное исполнение стенки камеры в сечениях U-U (повернуто) и Z-Z (повернуто).

[39]

На фиг.7 представлен разрез Y-Y.

[40]

Предложенная смесительная головка представлена на фиг.1-3, где 1 - наружное днище, 2 - среднее днище, 3 - огневое днище.

[41]

Наружное днище 1 и среднее днище 2 герметично скреплены с силовым кольцом сварными швами. Конструкция смесительной головки содержит форсунки горючего 5 и удлиненные форсунки горючего 6, форсунки окислителя 7 и удлиненные форсунки окислителя 8, а также штифты 9. Форсунки горючего 5 и 6 по наружным поверхностям 10 по периметру припаяны к огневому днищу 3 и среднему днищу 2. Форсунки окислителя 7 и 8 по наружным поверхностям 11 по периметру припаяны к огневому днищу 3 и среднему днищу 2. Форсунки обеспечивают определенную величину расстояния между днищами 2 и 3.

[42]

Форсунки 5, 6, 7 и 8 выполнены центробежными.

[43]

Входные отверстия этих форсунок выполнены тангенциальными. Черна них внутренние полости форсунок горючего 5 и 6 сообщаются с полостью горючего 12 смесительной головки, а внутренние полости форсунок окислителя 7 и 8 - с полостью окислителя 13 смесительной головки.

[44]

Наружные поверхности концов удлиненных форсунок 6 и 8, выступающие за огневое днище в огневую полость камеры, выполнены хромированными с толщиной хромового покрытия 70...80 мкм.

[45]

Условные обозначения форсунок и штифтов для фиг.2 представлены в таблице на этой фигуре. Как видно из фиг.3, удлиненные форсунки горючего 6 и удлиненные форсунки окислителя 8 выступают в огневую полость камеры за огневое днище 3 на величину l1, равную 3,5 шага t между шахматно расположенными форсунками. Выступание форсунок на величину, меньшую 2-х шагов t, неэффективно с точки зрения предотвращения неустойчивости рабочего процесса в камере, а выступание форсунок на большую величину чем 5 шагов t нецелесообразно также из-за отсутствия эффекта такого увеличения и привело бы к возрастанию габаритов как смесительной головки, так и камеры.

[46]

Как видно из фиг.2, удлиненные форсунки горючего 6 и удлиненные форсунки окислителя 8 (т.е. выступающие в огневую полость камеры за огневое днище 3) образуют антипульсационные перегородки и расположены по периметру квадрата EFGH и по ломаным лучам (возможно и по прямолинейным лучам, если таковое обеспечивается смесительной головкой) KL и MN, протяженным от стороны EF квадрата EFGH к периферии смесительной головки, а также другим 6 аналогичным лучам, протяженным от сторон FG, GH, НЕ этого квадрата.

[47]

Из фиг. 2 видно также, что форсунки горючего и окислителя расположены в шахматном порядке в огневом днище с переходом в периферийной зоне смесительной головки к равномерному расположению по окружности 14. Штифты 9 расположены по окружности 15 равномерно, причем в местах пересечения окружности 15 с лучами KL, MN и аналогичными лучами от сторон FG, GH, НЕ квадрата EFGH вместо штифтов 9 установлены удлиненные форсунки горючего 6. На форсунках 6 и 8, на их выступающих за огневое днище 3 концах, выполнены наружные фаски длиной вдоль оси 1,5 мм под углом 30o к оси форсунки (см. также фиг.3).

[48]

Выступающие форсунки 6 и 8 в местах выступания форсунок в огневую полость камеры соединены между собой припоем, образуя сплошные перегородки. Эти форсунки могут быть в этих местах соединены между собой вместо пайки сварными швами.

[49]

Предлагаемая камера ЖРД представлена на фиг.4, где 16 - смесительная головка камеры, 17 - антипульсационные перегородки, 18 - корпус камеры.

[50]

Как видно также из фиг.5 и 6, корпус камеры ЖРД 18 имеет наружную оболочку 19 и внутреннюю огневую стенку 20 (21), между которыми выполнен тракт охлаждения 22 (23). Тракт охлаждения 22 (23) камеры может быть выполнен в виде гофрированной проставки 24 или в виде оребрения 25 непосредственно на огневой стенке 21.

[51]

Как видно из фиг.4, корпус 18 содержит 5 участков, отличающихся конструктивными особенностями трактов охлаждения.

[52]

Между этими участками выполнены коллекторы 26, 27, 28, 29. Первый кольцевой участок расположен между смесительной головкой 16 и коллектором 26 (т. е. представляет собой цилиндрическую часть камеры). В нем между наружной оболочкой 19 и огневой стенкой 20 установлена кольцевая гофрированная проставка 24 (см. фиг.5). Как видно из фиг.4, гофры этой проставки наклонены к оси камеры под углом β, равным 15o.

[53]

Второй кольцевой участок расположен между коллекторами 26 и 27, т.е. представляет собой тракт охлаждения во входной части сопла камеры, включая область его критического сечения 31.

[54]

Принципиальное конструктивное исполнение стенки камеры в сечении U-U (см. фиг. 4) представлено на фиг.6. Это конструктивное исполнение характеризуется тем, что в нем на огневой стенке 21 выполнены фрезеровкой ребра 25 оребрения. Эти ребра наклонены под углом γ к образующим камеры. Угол γ равен 15o.

[55]

По существу углы β и γ могут быть выполнены равными 0o, но это ухудшит охлаждение соответствующих теплонапряженных участков камеры, зато обеспечит более высокую технологичность конструкции.

[56]

Третий кольцевой участок (в выходной части сопла после критического сечения 31) расположен между коллекторами 27 и 28. Принципиальное конструктивное исполнение стенки камеры на этом участке представлено в сечении Z-Z (см. фиг.4), а также на фиг.6. На этом участке ребра 25 оребрения направлены вдоль образующих этого участка.

[57]

Четвертый кольцевой участок в выходной части сопла расположен между коллекторами 28 и 29, а пятый кольцевой участок расположен за коллектором 29 вплоть до коллектора 30 у среза сопла. Принципиальное конструктивное исполнение стенки камеры на этих участках представлено в сечениях S-S и Т-Т (см. фиг. 4), которые изображены на фиг.6. На этих участках между наружной оболочкой 19 и огневой стенкой 20 установлена кольцевая гофрированная проставка 24, гофры которой направлены вдоль образующих этих участков.

[58]

Важной особенностью рассматриваемой камеры является то, что в ней антипульсационные перегородки 17 (см. фиг.7) выполнены из форсунок, выступающих в огневую полость 32 камеры. Форсунки 33 горючего каждой антипульсационной перегородки 17, расположенные около огневой стенки 20 (21) камеры, снабжены односторонним поперечным выступом 34, образующим достаточно малый зазор δ между огневой стенкой 20 (21) и односторонним поперечным выступом 34 форсунки 33 горючего. Величина этого зазора равна от 0 до 0,2 мм. Зазор может быть и большим. Выполнять этот зазор более 0,5 мм для реальных камер больших тяг нецелесообразно, т.к. это ухудшит антипульсационные свойства камеры.

[59]

Работа патентуемой смесительной головки и камеры ЖРД с этой головкой осуществляется следующим образом. Горючее через форсунки 5 и 6 (33) и окислитель через форсунки 7 и 8 поступают в огневую полость 32 камеры, где обеспечивается процесс смесеобразования и горения. В состав перечисленных форсунок входят также форсунки антипульсационных перегородок 17. На работающей камере в тракте охлаждения 22, 23 протекает охлаждающая среда, преимущественно горючее, на охлаждение которым ориентирована настоящая камера. Это обеспечивает охлаждение огневой стенки 20, 21 камеры.

[60]

Наличие антипульсационных перегородок в виде квадрата EFGН и ломаных лучей KL, MN, исходящих от стороны квадрата EF, так же как и аналогичных лучей от сторон FG, GH, HE этого квадрата, обеспечивают повышение высокочастотной устойчивости рабочего процесса в камере при расположении форсунок в шахматном порядке.

[61]

Выполнение периферийных форсунок горючего 33 антипульсационных перегородок снабженными односторонними поперечными выступами 34 на выступающей в огневую полость камеры части препятствует появлению тангенциальной формы пульсаций давления в объеме камеры.

[62]

Закручивание потока в тракте охлаждения 22, 23 со стороны смесительной головки 16 до коллектора 27 обеспечивает повышенную надежность камеры, что особенно важно при работе на форсированных режимах.

[63]

Патентуемая смесительная головка камеры ЖРД и камера ЖРД предназначены для использования в ракетной технике в ЖРД больших тяг.

Как компенсировать расходы
на инновационную разработку
Похожие патенты