патент
№ RU 2204501
МПК B63B39/06

УСТРОЙСТВО ДЛЯ УМЕНЬШЕНИЯ КАЧКИ СУДНА НА ВОЛНЕНИИ

Авторы:
Масютин А.Г.
Номер заявки
2001130383/28
Дата подачи заявки
09.11.2001
Опубликовано
20.05.2003
Страна
RU
Как управлять
интеллектуальной собственностью
Чертежи 
2
Реферат

[27]

Изобретение относится к области судостроения, в частности к конструкции устройства для уменьшения качки судна на волнении. Устройство содержит бортовые управляемые рули, размещенные на обоих бортах судна в районе мидель-шпангоута с возможностью задвижки в корпус судна. Параллельно лопасти руля установлена по меньшей мере одна дополнительная лопасть, связанная с ней посредством параллельных стоек, концы которых шарнирно связаны с каждой из лопастей. Концы стоек, связанные с одной из лопастей, снабжены механизмом поворота на угол до 90o. Верхние лопасти закреплены на концах раздвижных силовых цилиндров с возможностью возвратно-поступательного движения вдоль их продольных осей, которые проходят через ниши, выполненные на бортах корабля в районе его скулы. Длина параллельных стоек между осями шарниров равна удвоенной длине хорды верхней лопасти. Площадь лопасти принимают из выражения S=(0,03-0,035)V2/3, где V - водоизмещение корабля. Размеры ниши обеспечивают возможность размещения в ней обеих лопастей. Ее длина не превышает суммарной длины лопастей, а ширина - их суммарной толщины. Достигается эффективность работы устройства на скоростях движения судна 12-14 узлов при сравнительно небольшом "вылете" рулей за борт судна. 3 ил.

Формула изобретения

Устройство для уменьшения качки судна на волнении, включающее бортовые управляемые рули, размещенные на обоих бортах судна в районе мидель-шпангоута с возможностью выдвижения из корпуса судна, отличающееся тем, что параллельно лопасти руля установлена дополнительная лопасть, связанная с ней посредством параллельных стоек, концы которых шарнирно связаны с каждой из лопастей, при этом концы стоек, связанные с одной из лопастей, снабжены механизмом поворота на угол до 90 градусов, кроме того, верхние лопасти закреплены на концах раздвижных силовых цилиндров с возможностью возвратно-поступательного движения вдоль их продольных осей, которые проходят через ниши, выполненные на бортах судна в районе его скулы, причем длина параллельных стоек равна удвоенной длине хорды верхней лопасти, кроме того, площадь лопасти принимают из выражения S= (0,03-0,035)V2/3, где V - водоизмещение корабля, причем размеры ниши обеспечивают возможность размещения в ней обеих лопастей, при этом ее длина не превышает удвоенной длины лопастей, а ширина - удвоенной толщины лопастей.

Описание

[1]

Изобретение относится к области судостроения и может быть использовано в конструкциях морских судов для умерения поперечной качки корабля.

[2]

Известно устройство для уменьшения качки судна на волнении, выполненное в виде цистерн, располагаемых внутри судна у его бортов и связанных друг с другом водопроточными и воздушными каналами и механизмами перекачки воды из одной цистерны в другую (см. Морской словарь. М.: Транспорт, 1965, 114 с.).

[3]

Недостаток этого решения - их функционирование обеспечивается постоянной работой специальных механизмов и контрольно-измерительных устройств, что снижает их надежность, кроме того, они громоздки и занимают часть внутреннего пространства корпуса судна.

[4]

Известно также устройство для уменьшения качки судна на волнении, включающее бортовые управляемые рули, размещенные на обоих бортах судна в районе мидель-шпангоута, с возможностью задвижки в корпус судна (см. Морской словарь. М.: Транспорт, 1965, 114 с.)
Недостаток этого решения - недостаточная эффективность работы на малых (ниже 18 узлов) скоростях движения судна.

[5]

Задача, на решение которой направлено заявленное решение, выражается в обеспечении эффективной работы устройства на малых (ниже 18 узлов) скоростях движения судна.

[6]

Технический результат, получаемый при решении функциональной задачи, может быть определен как обеспечение эффективной работы устройства на скоростях движения судна 12-14 узлов, при сравнительно небольшом "вылете" рулей за борт судна.

[7]

Поставленная задача решается тем, что устройство для уменьшения качки судна на волнении, включающее бортовые управляемые рули, размещенные на обоих бортах судна в районе мидель-шпангоута, с возможностью задвижки в корпус судна, отличается тем, что параллельно лопасти руля установлена по меньшей мере одна дополнительная лопасть, связанная с ней посредством параллельных стоек, концы которых шарнирно связаны с каждой из лопастей, при этом концы стоек, связанные с одной из лопастей, снабжены механизмом поворота на угол до 90o, кроме того, верхние лопасти закреплены на концах раздвижных силовых цилиндров с возможностью возвратно-поступательного движения вдоль их продольных осей, которые проходят через ниши, выполненные на бортах корабля в районе его скулы, причем длина параллельных стоек между осями шарниров равна удвоенной длине хорды верхней лопасти, кроме того, площадь лопасти принимают из выражения
S=(0,03-0, 035)V2/3,
где V - водоизмещение корабля. Кроме того, размеры ниши обеспечивают возможность размещения в ней обеих лопастей, при этом ее длина не превышает суммарной длины лопастей, а ширина - их суммарной толщины.

[8]

Сопоставительный анализ признаков заявленного решения с признаками прототипа и аналогов свидетельствует о соответствии заявленного решения критерию "новизна".

[9]

Признаки отличительной части формулы изобретения решают следующие функциональные задачи.

[10]

Признаки ". ..параллельно лопасти руля установлена по меньшей мере одна дополнительная лопасть. . ." обеспечивают возможность при прочих равных условиях иметь большую величину гидродинамической силы, препятствующей качке.

[11]

Признаки ". . .лопасть, связанная с ней посредством параллельных стоек, концы которых шарнирно связаны с каждой из лопастей, при этом концы стоек, связанные с одной из лопастей, снабжены механизмом поворота на угол до 90o.. . " обеспечивают возможность "складывания" устройства в компактный "пакет", что обеспечивает возможность минимизации размеров ниши, предназначенной для размещения лопастей.

[12]

Признаки "...кроме того, верхние лопасти закреплены на концах раздвижных силовых цилиндров, с возможностью возвратно-поступательного движения вдоль их продольных осей, которые проходят через ниши, выполненные на бортах корабля..." обеспечивают уборку лопастей в нишу и выдвижение их оттуда.

[13]

Признак "...в районе его скулы...", обеспечивает привязку местоположения ниши к зоне, максимально удаленной от поверхности воды.

[14]

Признаки "...причем длина параллельных стоек между осями шарниров равна удвоенной длине хорды верхней лопасти..." обеспечивают наибольшую эффективность работы лопастей за счет взаимовлияния (при которой величина гидродинамической подъемной силы, возникающей на лопасти, превышает эту характеристику, проявляющейся при работе достаточно удаленных друг от друга лопастей). Этот параметр получен экспериментальным путем с учетом анализа гидродинамических сил, имеющих место при работе устройства.

[15]

Признаки "...кроме того, площадь лопасти принимают из выражения
S=(0,03-0,035)V2/3,
где V - водоизмещение корабля..." обеспечивают "привязку" размеров лопасти к размерам судна. Этот параметр получен расчетно-экспериментальным путем с учетом анализа существующих методов расчета гидродинамических сил, имеющих место при работе устройства.

[16]

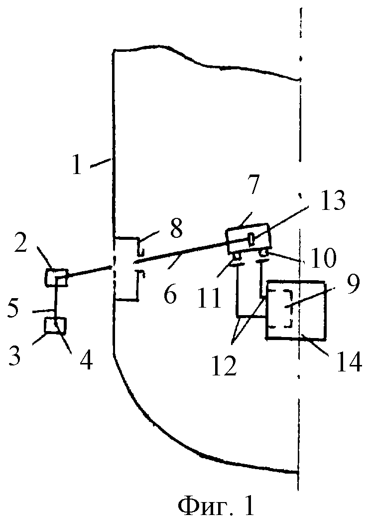
На фиг.1 схематически показан поперечный разрез судна; на фиг.2 показано устройство в работе; на фиг.3 показано устройство в "сложенном" виде.

[17]

На чертежах показаны борт 1 судна, верхняя лопасть 2, нижняя лопасть 3, шарниры 4, связывающие параллельные стойки 5 с названными лопастями, шток 6 силового цилиндра 7, стенки ниши 8, гидрораспределительный узел 9, патрубки 10 и 11, трубопроводы 12, поршень 13, гидроаккумулятор 14.

[18]

Устройства располагают на обоих бортах 1 судна, симметрично относительно его продольной оси, предпочтительно в районе мидель-шпангоута чуть выше скулы (участка корпуса на переходе борта в днище).

[19]

Верхняя лопасть 2 жестко связана со штоком 6 силового цилиндра 7. Шток 6 и цилиндр 7 образуют гидроцилиндр двустороннего действия, полости которого, расположенные по обе стороны поршня 13, через патрубки 10 и 11 и трубопроводы 12 связаны с гидрораспределительным узлом 9.

[20]

В качестве гидрораспределительного узла 9 может быть использовано любое устройство аналогичного назначения, удовлетворяющее по своим характеристикам условиям работы и имеющее дистанционное, предпочтительно автоматизированное, управление переключением каналов. В качестве трубопроводов 12 использованы шланги высокого давления.

[21]

Длина параллельных стоек 5 между осями шарниров 4 равна удвоенной длине хорды верхней лопасти 2, площадь лопасти принимают из выражения S=(0,03-0,035)V2/3, где V - водоизмещение корабля.

[22]

Противоположные концы параллельных стоек 5 связаны с каждой из лопастей 2 и 3 посредством шарниров. Конструкция механизма поворота параллельных стоек (на чертежах не показан) может быть любой известной конструкции, например в виде механического редуктора, обеспечивающего поворот вала, установленного с возможностью реверсивного вращения на угол до 90o в отверстиях, выполненных в боковых стенках пустотелой верхней лопасти, и жестко связанного с одной из параллельных стоек 5. Однако в реальности конструктивное выполнение этого механизма будет определяться размерами судна и, соответственно, нагрузками на элементы механизма и всего устройства. Целесообразно лопасть, снабжаемую механизмом поворота, выполнять пустотелой, для обеспечения размещения деталей механизма поворота при сохранении "гладкости" рабочих поверхностей лопасти 2.

[23]

Число лопастей может быть 2 и больше, но на чертежах показан вариант с двумя лопастями.

[24]

Заявленное устройство работает следующим образом.

[25]

При необходимости ввода устройства в работу осуществляют соответствующее переключение гидрораспределительного узла 9, и рабочая жидкость из полости гидроаккумулятора 14 поступает через соответствующий трубопровод 12 и патрубок 10 в полость силового цилиндра 7, под поршень 13, что приводит к выдвижению "пакета" из лопастей 2 и 3 из ниши 8. После того как лопасти полностью выйдут из ниши 8, включают механизм поворота параллельных стоек 5, смонтированный в полости верхней лопасти 2. Поскольку параллельные стойки 5 и кромки лопастей 2 и 3 образуют шарнирный параллелограмм, поворот на 90o одной стойки 5 повторяется второй стойкой 5, что приводит к раскрытию "пакета" лопастей в рабочее положение, когда лопасти располагаются одна над другой, параллельно друг другу на расстоянии, равном удвоенной длине хорды лопасти.

[26]

В процессе движения судна на лопастях 2 и 3 возникает гидродинамическая сила, стремящаяся воспрепятствовать поперечной качке корабля. При уборке устройства вышеописанные действия осуществляют в обратном порядке, т.е. посредством механизма поворота "складывают" лопасти в компактный "пакет", который втягивают в нишу 8, при этом сжатая жидкость из-под поршня 13 сбрасывается в гидроаккумулятор 14, а из последнего подается через патрубок 11 в полость силового цилиндра 7, над поршнем 13. Далее все повторяется.

Как компенсировать расходы
на инновационную разработку
Похожие патенты