Полезная модель включает корпус, в котором размещен сужающийся книзу бункер с выходным отверстием в нижней части, кормовой лоток, размещенный под выходным отверстием бункера, механизм подачи корма из бункера в кормовой лоток. Механизм подачи корма содержит дозирующий элемент, связанный с элементом управления и установленный с возможностью поворота в вертикальной плоскости, и возвратную пружину. В качестве элемента управления использован рычаг, жестко связанный с дозирующим элементом, предназначенный для нажатия передней лапой животного в направлении сверху вниз и имеющий в зоне нажатия ограниченную по объему полость, открытую со стороны нажатия. В верхней части бункера может быть выполнен присоединительный элемент для крепления дополнительной емкости для корма. Детали, соприкасающиеся с кормом, могут быть выполнены из пищевого пластика.
1. Кормушка для животного, включающая корпус, в котором размещен сужающийся книзу бункер с выходным отверстием в нижней части, кормовой лоток, размещенный под выходным отверстием бункера, механизм подачи корма из бункера в кормовой лоток, содержащий дозирующий элемент, связанный с элементом управления и установленный с возможностью поворота в вертикальной плоскости, и возвратную пружину, отличающаяся тем, что в качестве элемента управления использован рычаг, жестко связанный с дозирующим элементом, предназначенный для нажатия передней лапой животного в направлении сверху вниз и имеющий в зоне нажатия ограниченную по объему полость, открытую со стороны нажатия, в верхней части бункера выполнен присоединительный элемент для крепления дополнительной емкости с кормом. 2. Кормушка для животного по п. 1, отличающаяся тем, что детали, соприкасающиеся с кормом, выполнены из пищевого пластика.
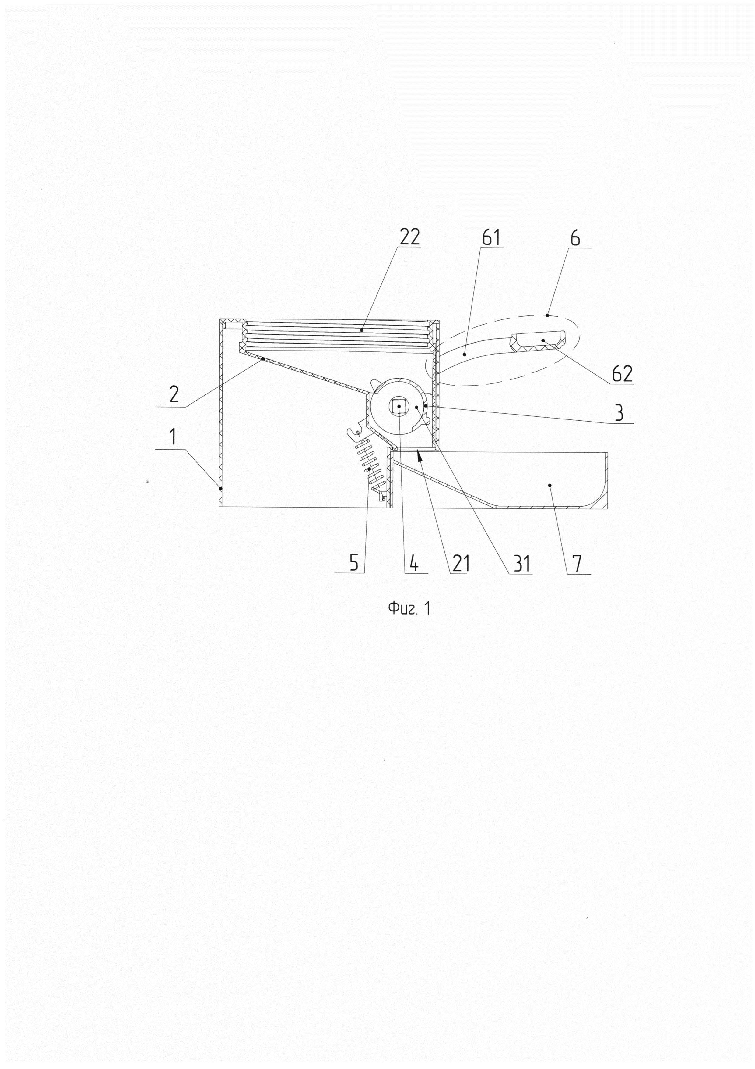
Полезная модель относится к устройствам для раздачи пищи животным и может быть использована также для дрессировки. Известна Автокормушка Moderna Smart Sipper Large, включающая емкость для корма, соединенную с кормовым лотком, откуда животное берет корм (URL:/https://www.modemaproducts.com/intemational/group/4387/srnart-sipper (дата опубл.: 20.05.2020)). По известному решению, емкость для корма имеет крышку в верхней части и окно в нижней части, через которое в кормовой лоток высыпается корм. Подача - количество высыпающегося корма - регулируется автоматически: по мере съедания животным части корма, в кормовом лотке освобождается пространство, в которое из емкости под действием перемещается количество корма, примерно равное съеденному. К недостаткам известного решения относится постоянное наличие корма в кормовом лотке. Запах корма в помещении может приводить к появлению в доме нежелательных насекомых, например, муравьев и тараканов, мышей и т.д. К недостаткам относится также пересыхание корма в кормушке и малые возможности дрессировки домашних животных: участие человека в кормлении ограничено загрузкой корма в емкость. Известна кормушка интерактивная игрушка-кормушка PetGeek, включающая корпус, часть внутреннего пространства которого используется в качестве резервуара для корма, закрываемый крышкой и соединенный в нижней части с кормовым лотком, причем резервуар для корма сообщается с лотком через нормально закрытое отверстие, открывающееся при нажатии животным на элемент управления (https://agronoma.ru/skoropuskovskiy/igrushki/interaktivnaya-igrushka-kormushka-s-knopkoy-petgeek-dlya-razvitiya-intellekta-u-sobak_894361 (дата опубл.: 03.04.2023)). По известному решению, элемент управления представляет собой электрический выключатель, выполненный в виде отдельно вынесенной кнопки. К недостаткам известного решения относятся необходимость периодического технического обслуживания - замены батареек управляющего устройства. Если замена не будет произведена вовремя, клапан, находящийся в корпусе устройства, не откроется при нажатии на кнопку, корм не попадет в кормовой лоток, животное может начать голодать и даже погибнуть. Наиболее близким по совокупности существенных признаков - прототипом заявляемой полезной модели - является самодозирующая кормушка, включающая корпус, в котором размещен сужающийся книзу бункер с выходным отверстием в нижней части, кормовой лоток, размещенный под выходным отверстием бункера, механизм подачи корма из бункера в кормовой лоток, содержащий дозирующий элемент, связанный с элементом управления и установленный с возможностью поворота в вертикальной плоскости, и возвратную пружину (пат. RU 2070386, опубл. 20.12.1996). Элемент управления представляет собой упор, на который животное нажимает своей мордой. Перед началом использования в кормовом лотке корма нет - выходное отверстие бункера перекрыто дозирующим элементом. К недостаткам известного решения относится ограниченный обучающий и развивающий эффект: для получения корма животному нужно, практически, сделать только шаг вперед, чтобы нажать мордой на упор. От животного не требуется более сложный навык, например, действие какой-либо конечностью, не связанное с перемещением всего туловища. Кроме того, если нажатие мордой может быть сравнительно приемлемо для животных с вытянутой головной частью, например, овец или свиней, то кормление таким образом котов и кошек, особенно некоторых пород, например, персидской, отличающихся малым расстоянием от кончика носа до глаз, может привести к травме животного - повреждению носа и глаз. Технической задачей настоящей полезной модели является создание конструкции, обеспечивающей быстрое приучение животного к кормушке и отсутствие рисков травматизма. Технический результат осуществления предлагаемой полезной модели заключается в осуществлении обучающего и развивающего эффекта - созданию у животного условного рефлекса, связанного с использованием кормушки и не требующего перемещения всего тела животного. Решение поставленной технической задачи достигается за счет использования в качестве элемента управления рычага, жестко связанного с дозирующим элементом, предназначенного для нажатия передней лапой животного в направлении сверху вниз и имеющего в зоне нажатия ограниченную, по объему, полость, открытую со стороны нажатия. Конструкция кормушки для животного, предлагаемая в качестве настоящей полезной модели, поясняется чертежами (фиг. 1 и фиг. 2), на которых позициями обозначено: 1 - корпус, 2 - бункер, 21 - выходное отверстие в бункере 2, 22 - присоединительный элемент в верхней части бункера 2, 3 - дозирующий элемент, 31 - полость в дозирующем элементе 3, 4 - вал, 5 - возвратная пружина, 6 - рычаг, 61 - стержень рычага 6, 62 - полость в рычаге управления 6, открытая со стороны нажатия лапой, 7 - кормовой лоток. В корпусе 1 установлен и закреплен сужающийся книзу бункер 2 с выходным отверстием 21 в нижней части и с присоединительным элементом 22 для крепления дополнительной емкости с кормом (на фиг. не показана). В качестве примера, не исключающего другие варианты выполнения устройства, на фиг. 1 показан присоединительный элемент 22 в виде резьбы. Над выходным отверстием 21 в бункере размещен полый дозирующий элемент 3, жестко связанный через вал 4 с рычагом 6. Нахождение дозирующего элемента 3 в исходном положении, когда пространство бункера 2 над дозирующим элементом 3 разобщено с выходным отверстием 21, обеспечивается возвратной пружиной 5, поворачивающей за счет своего предварительного натяжения вал 4. Рычаг 6 имеет изогнутую форму стержня 61. На конце стержня 61 выполнена полость 62, ограниченная, по объему, и открытая со стороны нажатия лапой животного. Пространственное расположение рычага 6 и полости 62 обеспечивает возможность его поворота в вертикальной плоскости при нажатии лапой животного по направлению сверху вниз. Кормовой лоток 7 может быть закреплен любым способом, известным из уровня техники и ограничивающим его перемещение по горизонтальной плоскости вбок - вправо или влево. Это сделано для того, чтобы животное не могло передвинуть кормовой лоток 7. Предпочтительным является выполнение всех деталей устройства, соприкасающихся с кормом, из легко моющихся материалов, например, пищевого пластика. Предлагаемая кормушка для животного работает следующим образом. Корм засыпают в бункер 2. Может быть использована дополнительная емкость, присоединяемая в предлагаемому устройству и не являющаяся его конструктивной частью. Использование такой емкости показано на фиг.2 в примере осуществления полезной модели. Небольшое количество корма насыпают в полость 62 в рычаге 6. Животное, например кот, подходит к кормушке, привлеченное видом и запахом корма, и начинает съедать корм из полости 62. При этом животное непроизвольно нажимает в направлении сверху вниз на рычаг 6. Рычаг 6 перемещается вниз, преодолевая усилие натяжения возвратной пружины 5 и поворачивая при этом вал 4 и жестко связанный с валом 4 дозирующий элемент 3. Порция корма из бункера 2 попадает в полость 31 дозирующего элемента 3. При отпускании рычага 6 дозирующий элемент 3 поворачивается, при этом корм из его полости 31 попадает в выходное отверстие 21. Через выходное отверстие 21 корм начинает высыпаться в кормовой лоток 7. По опыту заявителя, коты и кошки приобретают условный рефлекс, связывающий нажатие на рычаг 6 и появление корма в кормовом лотке 7, в среднем через 2-3 кормления. После этого насыпание корма в полость 62 не требуется, животное само начинает нажимать лапой на рычаг 6, поскольку, с одной стороны, существует новый условный рефлекс, а, с другой стороны, нажимать лапой удобнее, чем головой. Пример осуществления предлагаемой полезной модели. Изготовили кормушку предлагаемой конструкции. Кот (показан на фиг. 2) привык нажимать передней лапой на рычаг после двух «обучающих» кормлений с насыпанием корма в полость рычага.