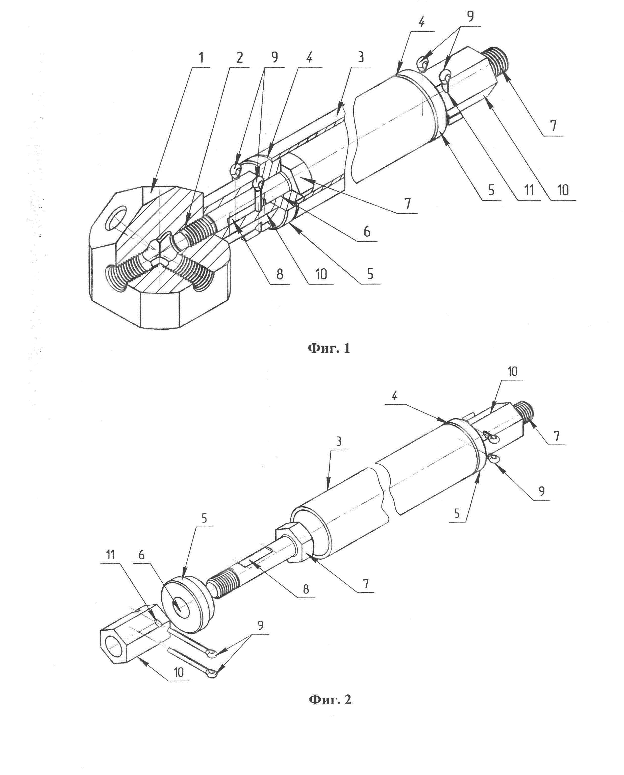
Полезная модель относится к области строительства и может быть использована в пространственных каркасах зданий и сооружений промышленного и гражданского назначения, в том числе в покрытиях в виде решетчатых плит, складок, цилиндрических сводов и оболочек, гипаров и сетчатых куполов. Полезная модель направлена на расширение арсенала средств надежного узлового соединения стержней для пространственных каркасов зданий и сооружений. Это достигается тем, что узловое соединение стержней системы МАРХИ для пространственных каркасов зданий и сооружений включает многогранный сферический узловой элемент 1 с резьбовыми отверстиями 2, к которым присоединены стержни 3 каркаса, к концу каждого стержня присоединены соединительный элемент 5 с отверстием 6, в котором установлен болт 7, и втулка 10. В предложенном решении на боковой поверхности болта 7 между его головкой и резьбой выполнена продольная лыска 8, глубиной, не превышающей высоту резьбы болта 7, ограниченная в поперечном направлении телом болта 7, образующим стенки лыски 8. Втулка 10 имеет поперечное отверстие 11, продольная ось которого параллельна горизонтальной оси поперечного сечения втулки 10 и смещена от этой оси на расстоянии, равном половине диаметра болта 7. При этом на поверхности лыски 8 и поперек ее распложен установленный в поперечном отверстии 11 втулки шплинт 9 с возможностью скольжения по поверхности лыски 8, входя в зацепление с нею.
1. Узловое соединение стержней системы МАРХИ для пространственных каркасов зданий и сооружений, включающее многогранный сферический узловой элемент с резьбовыми отверстиями, к которым присоединены стержни каркаса, к концу каждого стержня присоединены соединительный элемент с отверстием, в котором установлен болт, и втулка, отличающееся тем, что на боковой поверхности болта между его головкой и резьбой выполнена продольная лыска, глубиной, не превышающей высоту резьбы болта, ограниченная в поперечном направлении телом болта, образующим стенки лыски, а втулка имеет поперечное отверстие, продольная ось которого параллельна горизонтальной оси поперечного сечения втулки и смещена от этой оси на расстоянии, равном половине диаметра болта, при этом на поверхности лыски и поперек ее расположен установленный в поперечном отверстии втулки шплинт с возможностью скольжения по поверхности лыски, входя в зацепление с нею. 2. Узловое соединение стержней по п. 1, отличающееся тем, что лыска на боковой поверхности болта и поперечное отверстие во втулке, в которое установлен шплинт, могут быть выполнены с двух противоположных сторон болта.
Полезная модель относится к области строительства и может быть использована в пространственных каркасах зданий и сооружений промышленного и гражданского назначения, в том числе в покрытиях в виде решетчатых плит, складок, цилиндрических сводов и оболочек, гипаров и сетчатых куполов. Известен пространственных каркас здания и сооружения, включающий узловое соединение стрежней системы МАРХИ [патент RU на изобретение №2577339, МПК Е04В 1/58, опубл. 20.03.2016, бюл. №8]. Пространственный каркас включает узловое соединение стержней системы МАРХИ, осуществляемое посредством многогранного сферического или полусферического узлового элемента с резьбовыми отверстиями, к которым присоединены стержни каркаса. По концам стержней имеются наконечники, включающие соединительный элемент с отверстием, прикрепленный к торцу стержня, через которое пропущен болт, на который надета втулка. Для контакта на наружной поверхности болта имеется продольная лыска, а на внутренней поверхности втулки выступ, образованный пуклевкой. Путем вращения втулки и наличия контакта выступа с лыской создается вращательно-поступательное движение болта в сторону узлового элемента. Недостатками известного решения являются: сложность изготовления соединения и его неразборность, а также неравномерные деформации втулки и болта, вызванные пуклевкой, что в свою очередь снижает прочность и надежность соединения. Известно узловое соединение стрежней пространственного каркаса сооружений, принятое в качестве прототипа [патент RU на полезную модель №72708, МПК Е04В 1/58, опубл. 27.04.2008, бюл. №12]. Соединение включает многогранный сферический узловой элемент с резьбовыми отверстиями, к которым присоединены стержни каркаса, и втулку. К концу каждого стержня присоединен соединительный элемент с отверстием, в котором установлен болт, на боковой поверхности которого выполнен паз. Втулка имеет резьбовое отверстие, в которое установлен штифт, сопряженный с пазом болта. Втулка выполнена в виде гайки. На болт втулка надета таким образом, что отверстие на втулке совпадает с пазом на болте. В отверстие во втулке ввинчивают штифт, имеющий резьбу, который при закручивании попадает в паз на болте. Стержень тыльной стороной, где уже установлен болт, подводят к узловому элементу. Болт вкручивают в отверстие в узловом элементе с помощью гаечного ключа соответствующего размера, который крутит втулку. Втулка, упираясь в штифт, ввинчивает болт в узловой элемент, сообщая болту вращательно-поступательное движение. С существенными признаками полезной модели совпадает следующая совокупность признаков прототипа: многогранный сферический узловой элемент с резьбовыми отверстиями, к которым присоединены стержни каркаса, к концу каждого стержня присоединен соединительный элемент с отверстием, в котором установлен болт, на боковой поверхности которого выполнены лыска, а также втулка. Недостатками прототипа являются: сложность изготовления соединения, ослабление сечения болта пазом, что в свою очередь снижает прочность и надежность соединения. Полезная модель направлена на расширение арсенала средств надежного узлового соединения стержней для пространственных каркасов зданий и сооружений. Это достигается тем, что узловое соединение стержней системы МАРХИ для пространственных каркасов зданий и сооружений включает многогранный сферический узловой элемент с резьбовыми отверстиями, к которым присоединены стержни каркаса, к концу каждого стержня присоединен соединительный элемент с отверстием, в котором установлен болт, и втулка. В предложенном решении на боковой поверхности болта между его головкой и резьбой выполнена продольная лыска, глубиной, не превышающей высоту резьбы болта, ограниченная в поперечном направлении телом болта, образующим стенки лыски. Втулка имеет поперечное отверстие, продольная ось которого параллельна горизонтальной оси поперечного сечения втулки и смещена от этой оси на расстоянии, равном половине диаметра болта. При этом на поверхности лыски и поперек ее распложен установленный в поперечном отверстии втулки шплинт с возможностью скольжения по поверхности лыски, входя в зацепление с нею. В узловом соединении стержней лыска на боковой поверхности болта и поперечное отверстие во втулке, в которое установлен шплинт могут быть выполнены с двух противоположных сторон болта. Сущность полезной модели поясняется чертежами, где изображено: на фиг. 1 - общий вид узлового соединения стержней пространственного каркаса; фиг. 2 - общий вид стержня пространственного каркаса; фиг. 3 - соединительный элемент с односторонней лыской на болте, односторонним поперечным отверстием во втулке и шплинтом; фиг. 4 - поперечный разрез А-А на фиг. 3; фиг. 5 - соединительный элемент с двухсторонней лыской на болте, двухсторонним поперечным отверстием во втулке и шплинтами; фиг. 6 - поперечный разрез Б-Б на фиг. 5; фиг. 7 - общий вид узлового соединения со сферическим многогранным узловым элементом для реализации двух и более многоярусных пространственных каркасов; фиг. 8 - изометрический вид одноярусного 2-поясного пространственного каркаса. Узловое соединение стержней системы МАРХИ для пространственных каркасов зданий и сооружений включает многогранный сферический узловой элемент 1 с резьбовыми отверстиями 2, к которым присоединены трубчатые стержни 3 каркаса. К торцу каждого стержня 3 посредством сварки 4 присоединен соединительный элемент 5, имеющий отверстие 6. В отверстии 6 соединительного элемента 5 установлен болт 7. На боковой поверхности болта 7 между его головкой и резьбой выполнена продольная лыска 8 - плоский срез, глубиной, не превышающей высоту резьбы болта 7, ограниченный в поперечном направлении телом болта, образующим стенки лыски 8. На поверхности лыски 8 и поперек ее распложен шплинт 9 с возможностью скольжения по поверхности лыски. Шплинт 9 установлен во втулке 10 с помощью выполненного в ней поперечного отверстия 11. Продольная ось поперечного отверстия 11 параллельна горизонтальной оси поперечного сечения втулки и смещена от этой оси на расстоянии равном половине диаметра болта. При этом шплинт 9 сопряжен с лыской 8, входя в зацепление с нею. При необходимости (дополнительная нагрузка на узловое соединение и др.) в узловом соединении стержней лыска на боковой поверхности болта и поперечное отверстие во втулке, в которое установлен шплинт, могут быть выполнены с двух противоположных сторон болта. Многогранный сферический узловой элемент 1 располагают в узлах пространственного каркаса, в которых сходятся стержни 3, соединяющие узлы друг с другом в пространственную решетку (Фиг. 7). Многогранный сферический узловой элемент представляет собой металлическую деталь с резьбовыми отверстиями 2, оси которых совпадают с осями стержней 3 каркаса пространственной решетки. На его поверхности выполняются площадки перпендикулярные осям каркаса. Площадки должны иметь размер, превышающий размер торцевой поверхности втулки 10. Эти площадки выполняют роль опорных поверхностей, в которые упирается втулки 10 при соединении узловых элементов 1 со стержнями 3 каркаса. Стержень 3 каркаса включает соединительный элемент 5, болт 7, шплинт 9 и втулку 10. Стержни имеют длину необходимую для получения каркаса заданного размера и служат для создания пространственной структуры и передачи усилий между узловыми элементами 1. Изготовление узлового соединения осуществляют следующим образом. На боковой поверхности болта 7 выполняют продольную лыску 8, глубина которой не превышает высоту резьбы, что сохраняет равное по величине сечение болта в зоне резьбы и в зоне лыски, увеличивая несущую способность болта. К концам трубчатого стержня 3, приваривают наконечник, который собираются в следующем порядке: - в отверстие 6 соединительного элемента 5, вставляют болт 7 так, чтобы резьбовая часть болта выступала наружу. Диаметр отверстия 6 должен быть таким, чтобы болт 7 мог свободно в нем проворачиваться; - болт 7 вставляют в центральное отверстие втулки 10; - на болте 7 втулку 10 устанавливают так, чтобы продольная ось поперечного отверстия 11 располагалась параллельно стенкам лыски 8 болта 7; - в поперечное отверстие 11 втулки 10 вставляют и раскрепляют шплинт 9, который входит в соприкосновение с лыской 8, обеспечивая соединение втулки и болта. Втулка 10 необходима для вкручивания болта 7 в отверстие 2 узлового элемента и передачи сжимающего усилия между узловым элементом 1 и стержнем 3. Втулка имеет форму шестигранной призмы для возможности использования гаечного ключа для закручивания болта. Для передачи вращательного движения от втулки к болту и возможности продольного перемещения болта относительно втулки в них выполняются следующие конструктивные элементы. Во втулки 10 выполняют одно (Фиг. 2, 3) или два (Фиг. 4, 5) поперечных отверстия 11. Продольные оси этих отверстий параллельны горизонтальной оси поперечного сечения втулки и смещены от этой оси на расстоянии равном половине диаметра болта. Соединение стержня с узловым элементом 1 осуществляют завинчиванием болта 7 в резьбовое отверстие 2 узлового элемента 1, при этом втулка 10 плотно зажимается между поверхностью соединительного элемента 5 и поверхностью узлового элемента 1. Работа узлового соединения стержней каркаса системы МАРХИ. Соединение стержня 3 с узловым элементом 1 осуществляется вращением втулки 10 с поперечным отверстием 11, которая, передавая усилие через шплинт 9 в поверхность лыски 8, сообщает болту вращательно-поступательное движение, ввинчивая болт 7 в резьбовое отверстие 2 узлового элемента 1. Путем вращения втулки и наличия контакта шплинта с лыской и поперечным отверстием во втулке создается вращательно-поступательное движение болта в сторону узлового элемента. После того как втулка 10 будет плотно зажата между поверхностью соединительного элемента 5 с отверстием 6 и поверхностью узлового элемента 1, соединение получает необходимую прочность и надежность. При этом усилия, возникающие под нагрузкой, передаются между узловым элементом и стержнем каркаса: - при растяжении - через резьбовое соединение 2, тело болта 7, соединительный элемент 5, сварной шов 4 и стержень каркаса 3; - при сжатии - через опорную площадку узлового элемента 1, втулку 10, опорную площадку соединительного элемента 5, сварной шов 4 и стержень каркаса 3. Прочность соединения обеспечивается созданием предварительного напряжения болта 7, величина которого контролируется величиной крутящего момента тарировочного ключа равного 15-30 кгм, достигаемого вращением втулки 10. Технологические операции по устройству поперечного отверстия во втулке, в которой установлен шплинт, значительно снижают трудоемкость и стоимость изготовления узлового соединения, которое помимо этого является разборным и простым. При этом сохраняется надежность соединения и его прочность. Таким образом, полезная модель направлена на расширение арсенала средств надежного узлового соединения стержней для пространственных каркасов зданий и сооружений.