патент
№ RU 219049
МПК B29C65/00

Формовочный автомат для производства литейных моделей из полистирола методом вакуумной формовки

Авторы:
Куприенко Любовь Викторовна
Номер заявки
2022132383
Дата подачи заявки
09.12.2022
Опубликовано
23.06.2023
Страна
RU
Как управлять
интеллектуальной собственностью
Чертежи 
1
Реферат

[14]

Полезная модель относится к литейному производству, в частности, к оборудованию для изготовления разовых газифицируемых моделей для получения отливок из вспененного полистирола.

[15]

Формовочный аппарат для производства литейных моделей из полистирола методом вакуумной формовки, содержащий раму, систему подачи гранул вспененного пенополистирола из бункера к пресс-формам, формовочную камеру-рубашку, состоящую из жестко закрепленной к раме половины и подвижной половины, выполненной с возможностью перемещения по линейным направляющим с помощью гидроцилиндра, пресс-формы с формообразующими полостями, обе половины которой закреплены в неподвижной и подвижной камерах-рубашках, при этом аппарат выполнен с возможностью подключения к нему системы подачи пара в формовочную камеру, системы подачи воды для охлаждения и системы контроля и автоматического управления автомата, отличающийся тем, что рама, на которой закреплены все основные узлы и системы автомата, расположена вертикально, а верхняя подвижная и нижняя неподвижная камеры-рубашки смонтированы горизонтально.

[16]

Использование предлагаемой полезной модели обеспечивает уменьшение площади помещения предприятия, занимаемой под этим автоматом, высвобождение резервных площадей для обеспечения ритмичной работы предприятия и оперативного запаса сырья, полуфабрикатов, готовой продукции. 2 ил.

Формула изобретения

Формовочный автомат для производства литейных моделей из полистирола методом вакуумной формовки, содержащий раму, систему подачи гранул вспененного пенополистирола из бункера к пресс-формам, формовочную камеру-рубашку, состоящую из жестко закрепленной к раме половины и подвижной половины, выполненной с возможностью перемещения по линейным направляющим с помощью гидроцилиндра, пресс-формы с формообразующими полостями, обе половины которой закреплены в неподвижной и подвижной камерах-рубашках, при этом аппарат выполнен с возможностью подключения к нему системы подачи пара в формовочную камеру, системы подачи воды для охлаждения и системы контроля и автоматического управления автомата, отличающийся тем, что рама, на которой закреплены все основные узлы и системы автомата, расположена вертикально, а верхняя подвижная и нижняя неподвижная камеры-рубашки смонтированы горизонтально.

Описание

[1]

Полезная модель относится к литейному производству, в частности, к формовочному оборудованию для изготовления разовых моделей из вспененного полистирола.

[2]

Известно устройство для изготовления разовых моделей из вспененного полистирола, выполненное в виде автоклава, состоящего из корпуса, крышки, рельсового пути, закрепленного на корпусе нагревателя с принудительной циркуляцией газа, например, роторного привода, нагревателя, экрана с продольными и поперечными силовыми элементами, к которым снаружи прикреплен механизм передвижения с оснасткой упоров для фиксации экрана температуры (см., например, описание к патенту на изобретение RU 2022635 МПК B01J 3/00 (1990.01).

[3]

Недостатками этого устройства является сложность и громоздкость конструкции. Это объясняется тем, что в автоклаве нет рабочего места для загрузки пресс-формы полистиролом. Как правило, загрузка пресс-формы проводится на рабочем месте, расположенном на некотором расстоянии от автоклава, поэтому рабочему приходится затрачивать усилия и рабочее время для переноски пресс-формы в автоклав. Это снижает производительность устройства. Производительность еще более снижается, когда требуется загрузить в автоклав несколько пресс-форм. Поскольку в оборудовании нет ограничителей пресс-формы от остального окружающего объема помещения цеха, то заполнение пресс-формы в этом оборудовании происходит без изоляции пресс-формы от этого основного производственного помещения, то имеют место значительные потери полистирола, который раздувается по сторонам при загрузке в его пресс-формы. Кроме того, в конструкции автоклава не предусмотрено устройство для охлаждения пресс- формы после изготовления разовых газифицируемых моделей из вспененного полистирола, что требуется по технологическому процессу изготовления газифицируемых моделей. Еще одним недостатком этого устройства применительно к изготовлению моделей отливок является то, что рабочему при загрузке выгрузке пресс-формы из автоклава приходится постоянно контактировать с нагретым до высоких температур металлом, из которого изготовлены пресс-формы. Это ухудшает условия труда и может приводить к ожогам.

[4]

Ближайшим аналогом полезной модели по технической сущности и достигаемому результату является формовочный автомат завода АКС для производства литейных моделей из полистирола методом вакуумной формовки, содержащий раму, систему подачи гранул вспененного пенополистирола из бункера к пресс-формам, формовочную камеру-рубашку, состоящую жестко закрепленной к раме половины и подвижной половины, выполненной с возможностью перемещения по линейным направляющим с помощью гидроцилиндра, пресс-формы, с формообразующими полостями, обе половины которой закреплены в неподвижной и подвижной камерах-рубашках, при этом аппарат выполнен с возможностью подключения к нему системы подачи пара в формовочную камеру, системы подачи воды для ее охлаждения и системы контроля и автоматического управления автомата (см., например, сайт завода АКС, Санкт-Петербург, (https://www.aksspb.com,), каталог ЛГМ и ЛВМ оборудование модельного участка, формовочные автоматы ФА-400 - ФА 800).

[5]

Недостатком вышеупомянутого формовочного автомата является то, что рама, на которой смонтированы все его элементы и системы располагается горизонтально. В отличие от вертикального размещения рамы, это приводит к увеличению площади производственного помещения предприятия, занимаемой формовочным автоматом, сокращению площади проходов между оборудованием, отсутствию резервных площадей для обеспечения ритмичной работы предприятия при размещении оперативного запаса сырья, полуфабрикатов, готовой продукции.

[6]

Техническая проблема, решение которой обеспечивается при осуществлении данной полезной модели, является упрощение конструкции и уменьшение габаритных размеров формовочного аппарата для производства литейных моделей из полистирола методом вакуумной формовки.

[7]

Решение этой технической проблемы достигается тем, что в формовочном автомате для производства литейных моделей из полистирола методом вакуумной формовки, содержащем раму, систему подачи гранул вспененного пенополистирола из бункера к пресс-формам, формовочную в камеру-рубашку, состоящую из жестко закрепленной к раме половины и подвижной половины, которая перемещается по линейным с помощью гидроцилиндра, пресс-формы, с формообразующими полостями, обе половины которой закреплены в неподвижной и подвижной камерах-рубашках, систему подачи пара в формовочную камеру и пресс-форму, систему подачи воды для охлаждения и систему автоматического контроля и управления автоматы, рама, на которой закреплены все основные узлы и системы автомата, расположена вертикально, а верхняя подвижная и нижняя неподвижная камеры- рубашки смонтированы горизонтально.

[8]

Упрощение конструкции и уменьшение габаритных размеров в формовочном автомате для производства литейных моделей из полистирола методом вакуумной формовки установки достигается за счет того, что при расположении рамы вертикально уменьшается площадь помещения предприятия, занимаемая этим автоматом, высвобождаются резервные площади для обеспечения ритмичной работы предприятия для размещения оперативного запаса сырья, полуфабрикатов, готовой продукции.

[9]

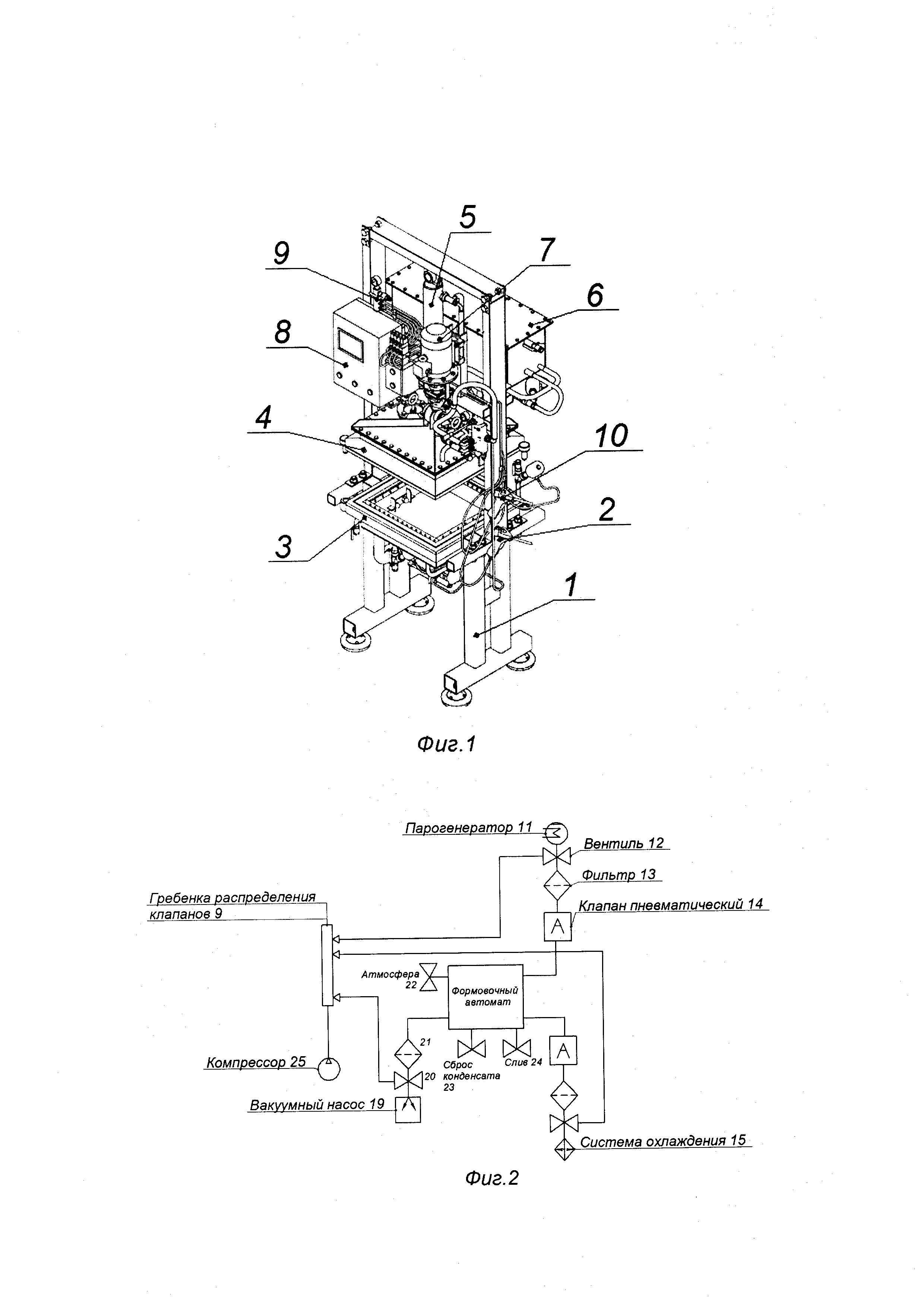
Предложенная полезная модель поясняется чертежом, где на фиг. 1 изображена 3-D модель формовочного автомата для производства литейных моделей из полистирола, на фиг. 2. то же, схема подключения.

[10]

Формовочный аппарат для производства литейных моделей из полистирола методом вакуумной формовки, содержит вертикально расположенную раму 1, с за крепленными на ней системой подачи гранул вспененного пенополистирола из бункера к пресс-формам с помощью пистолета 2, формовочную камеру-рубашку, состоящую из жестко закрепленной к раме 1 половины 3 и подвижной половины 4, выполненной с возможностью перемещения по линейным направляющим рамы 1 с помощью гидроцилиндра 5. Возможность подачи жидкости в гидроцилиндр 5 производится из прикрепленного поперек рамы 1 бака 6. Электродвигатель 7 вертикально закреплен на раме 1. Автомат содержит щиток электроуправления 8 и гребенку распределительных клапанов 9 и пневматический пистолет 10. Сменные пресс-формы закрепляются в формовочной камере-рубашке.

[11]

Система подачи пара в камеру-рубашку реализована посредством подключения к стационарной сети цеха и включает в себя парогенератор 11, вентиль 12 фильтр 13 и пневматический клапан 14. Система подачи воды для охлаждения камеры-рубашки также подключена к стационарной системе водоснабжения цеха и содержит градирню 15, вентиль 16, фильтр 17, клапан 18. Вакуумный насос 19 с помощью вентиля 20 соединен с формовочной камерой-рубашкой гребенкой распределения клапанов 9 и фильтром 21. Камера-рубашка соединена с атмосферой вентилем 22, вентилем 23 сброса конденсата и вентилем 24 слива воды. Подача воздуха осуществляется через компрессор 25. Компрессор включен постоянно, подает воздух на пневмораспределители (клапан пневматический).

[12]

Формовочный автомат для производства литейных моделей из полистирола методом вакуумной формовки работает следующим образом. Перед включением автомата сначала в камеры-рубашки 3 и 4 устанавливается пресс-форма. Затем закрывается крышку камеры-рубашки автомата и открывается вентиль подачи вакуума 20. С помощью пистолета 2 полистирол подается в камеру-рубашку. Пресс-форма очищается от остатков полистирола пневматическим пистолетом 10. После этого автоматика шкафа управления 8 закрывает вентиль 20 вакуумного насоса 19 и загрузочные сопла камеры-рубашки заглушками. Через вентиль 12, фильтр 13 и пневматический клапан 14 в камеру- рубашку подается пар, при этом автоматика шкафа управления 8 контролирует подачу пара по температуре и выдержке по времени. По завершению этого цикла, открывается клапан 23 сброса конденсата. В камере- рубашке производится сброс давления и закрывается клапан 14 и открывается атмосферный вентиль 22. В камере-рубашке выравнивается давление до атмосферного. Далее с помощью автоматики, расположенной в шкафу управления, с контролем по времени открывается клапан 18 системы подачи воды и холодная вода через фильтр 17 и кран 16 поступает в камеру-рубашку для охлаждения пресс-форм. После чего автоматикой, расположенной в шкафу управления, с контролем времени клапаном 18 перекрывается система охлаждения и открывается кран 24 слива воды и происходит сброс технической воды из камеры-рубашки. Затем перекрывается вентиль системы охлаждения 16 и закрывается вентиль 22, связывающий камеры-рубашки с атмосферой. Вручную открывается камера-рубашка и нее извлекается готовая модель.

[13]

Таким образом, предложенная полезная модель обеспечивает уменьшение площади помещения предприятия, занимаемой под этим автоматом, высвобождение резервных площадей для обеспечения ритмичной работы предприятия и оперативного запаса сырья, полуфабрикатов, готовой продукции.

Как компенсировать расходы
на инновационную разработку
Похожие патенты