патент
№ RU 2189295
МПК B23B39/02

РАСТОЧНОЙ СТАНОК

Авторы:
Артасов И.А. Ищенко В.А. Зиньковский Ю.В.
Все (7)
Номер заявки
2001113923/02
Дата подачи заявки
25.05.2001
Опубликовано
20.09.2002
Страна
RU
Как управлять
интеллектуальной собственностью
Чертежи 
2
Реферат

[20]

Изобретение относится к области машиностроения, в частности к обработке внутренней поверхности длинномерных изделий, например гидроцилиндров. Станок содержит станину, направляющие, установленные на них сани для рабочей подачи изделия, виброгаситель для направления быстросменного режущего инструмента, установленный с возможностью скольжения на направляющих, гидроцилиндр, закрепленный на шпинделе передней бабки, и стебель. Для повышения качества внутренней поверхности обрабатываемого изделия за счет обеспечения жесткости его крепления и надежного удаления отходов обработки, а также расширения технологических возможностей станок снабжен упором с гидроцилиндром, жестко связанным с виброгасителем штангами, на которых установлены предварительные опоры для изделия, заглушкой, установленной на упомянутых штангах с возможностью возвратно-поступательного движения и соединенной с гидроцилиндром упора, тягой, установленной в стебле, связанной с гидроцилиндром и предназначенной для крепления быстросменного режущего инструмента. При этом стебель закреплен на шпинделе передней бабки, виброгаситель выполнен с камерой, направляющей втулкой для размещения в ней быстросменного режущего инструмента, отверстием для подачи жидкости в зону обработки и центрирующим упором, заглушка имеет центрирующий упор и выполнена в виде камеры для размещения быстросменного режущего инструмента после выхода его из изделия с окном для сброса отходов обработки и откидной крышкой с замком. 3 ил.

Формула изобретения

Расточной станок, содержащий станину, направляющие, установленные на них сани для рабочей подачи изделия, виброгаситель для направления быстросменного режущего инструмента, установленный с возможностью скольжения на направляющих, гидроцилиндр, закрепленный на шпинделе передней бабки, и стебель, отличающийся тем, что он снабжен упором с гидроцилиндром, жестко связанным с виброгасителем штангами, на которых установлены предварительные опоры для изделия, заглушкой, установленной на упомянутых штангах с возможностью возвратно-поступательного движения и соединенной с гидроцилиндром упора, тягой, установленной в стебле, связанной с гидроцилиндром и предназначенной для крепления быстросменного режущего инструмента, при этом стебель закреплен на шпинделе передней бабки, виброгаситель выполнен с камерой, направляющей втулкой для размещения в ней быстросменного режущего инструмента, отверстием для подачи жидкости в зону обработки и центрирующим упором, заглушка имеет центрирующий упор и выполнена в виде камеры, для размещения быстросменного режущего инструмента после выхода его из изделия, с окном для сброса отходов обработки и откидной крышкой с замком.

Описание

[1]

Изобретение относится к машиностроению и может быть использовано при обработке внутренней поверхности длинномерных гидроцилиндров и других изделий.

[2]

Известен глубокорасточной станок с расположенными на станине шпиндельной бабкой, несущей планшайбу с изделием, и стеблевой бабкой, несущей борштангу с расточной головкой [1].

[3]

Известен станок для растачивания отверстий, содержащий станину, направляющие, установленные на них сани, виброгаситель для направления инструмента, гидроцилиндр, закрепленный на шпинделе передней бабки, стебель и люнет [2].

[4]

При работе известных станков не обеспечивается необходимая жесткость вращающегося цилиндра, один конец которого зажимается в патроне на шпинделе станка, а другой устанавливается в люнет, для чего необходимы обработанные поверхности, которых изделие часто не имеет. Кроме того, есть цилиндры, которые вращать невозможно из-за наличия на них выступов. Патрон и шпиндель, а также установка в люнете при вращении цилиндра имеют биение и зазоры, которые отражаются на чистоте обрабатываемой поверхности. При подаче жидкости большая часть ее уходит в сторону через открытое отверстие в цилиндре, что также снижает чистоту поверхности под раскатку отверстия. На таком станке отсутствуют условия для перестановки инструмента после каждого прохода.

[5]

Предлагаемым изобретением решается задача повышения качества внутренней поверхности обрабатываемого изделия за счет обеспечения жесткости крепления изделия и надежного удаления отходов обработки, а также расширение технологических возможностей станка.

[6]

Для достижения указанного технического результата в расточном станке, содержащем станину, направляющие, установленные на них сани для рабочей подачи изделия, виброгаситель для направления инструмента, гидроцилиндр станка, закрепленный на шпинделе передней бабки, и стебель, на сани установлен упор с гидроцилиндром, связанный жестко со скользящим по направляющим станка виброгасителем штангами, на которых установлены предварительные опоры для изделия и с возможностью возвратно-поступательного движения заглушка, соединенная с гидроцилиндром упора. Стебель снабжен с установленной внутри него и связанной с гидроцилиндром станка тягой для крепления быстросменного режущего инструмента и закреплен для его вращения на шпинделе передней бабки. Виброгаситель снабжен камерой для размещения в ней инструмента с направляющей втулкой, отверстием для подачи жидкости в зону обработки и центрирующим упором. Заглушка представляет собой камеру для размещения в ней инструмента после выхода его из изделия, выполненную с окном для сброса отходов обработки и снабженную центрирующим упором и откидной крышкой с замком.

[7]

В предлагаемом изобретении обрабатываемое изделие зацентрировано и жестко зажато между виброгасителем и заглушкой гидроцилиндром упора и подается по направляющим станины на вращающийся инструмент, закрепленный на шпинделе передней бабки станка. Резцовая часть инструмента после прохода отверстия изделия легко снимается через откидную крышку в камере заглушки, чем исключается повреждение обработанной поверхности при обратном ходе инструмента из изделия. Предложенная схема подвода и сброса жидкости обеспечивает надежное удаление отходов обработки через заглушку, что способствует повышению чистоты поверхности под раскатку.

[8]

Отличительные признаки предлагаемого изобретения обеспечивают повышение качества обрабатываемой поверхности за счет жесткости крепления изделия и надежного удаления отходов обработки. В станке предусмотрена, кроме того, возможность переналадки на изделия различной длины, что повышает его технологичность.

[9]

Предлагаемый расточной станок иллюстрируется чертежами, представленными на фиг.1-3.

[10]

На фиг.1 показан общий вид расточного станка.

[11]

На фиг.2 - продольный разрез станка (частично).

[12]

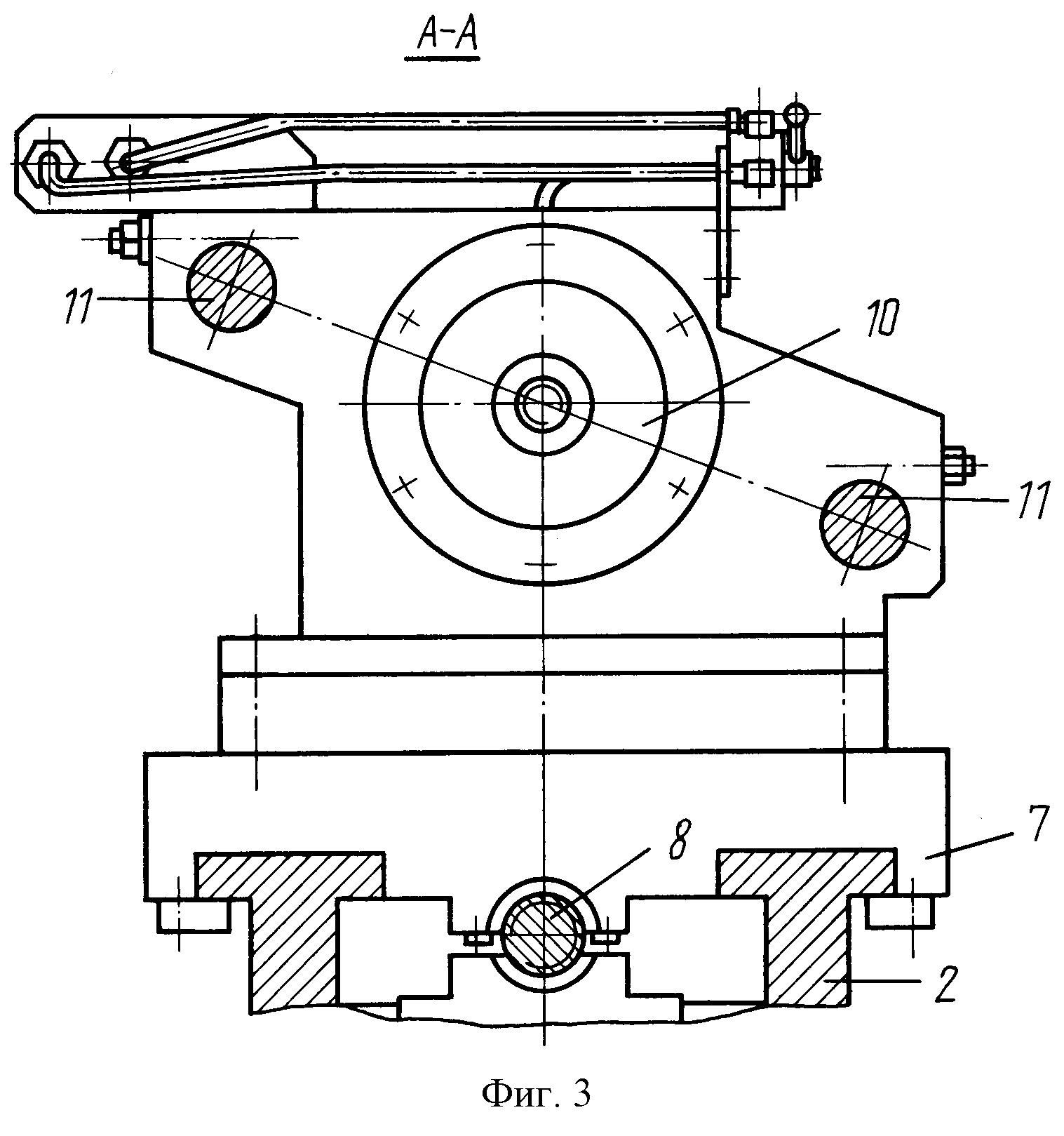
На фиг.3 - поперечный разрез А-А на фиг.2.

[13]

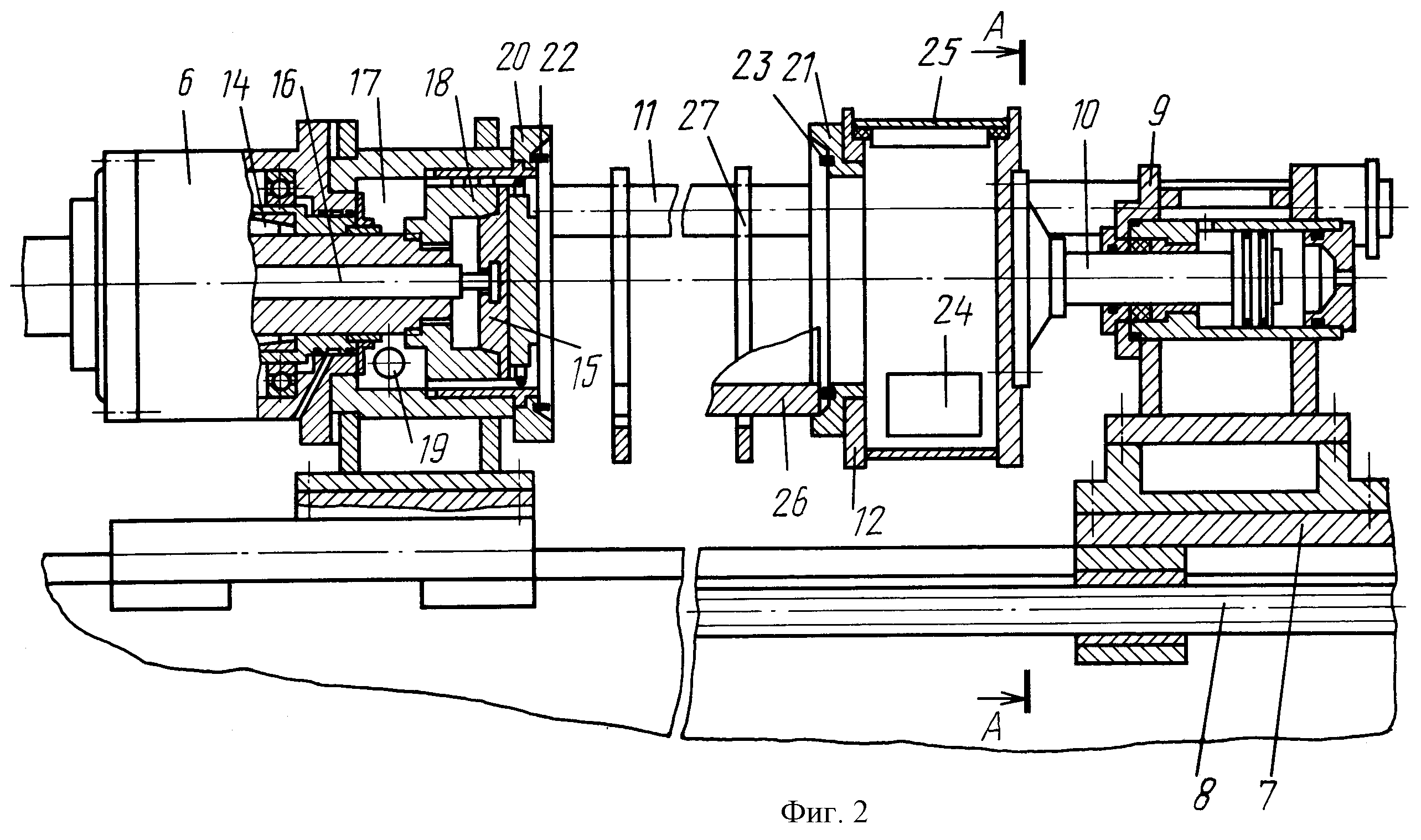
Расточной станок содержит станину 1 с направляющими 2, переднюю бабку 3 со шпинделем 4 и гидроцилиндром 5 станка. На направляющих 2 установлены с возможностью движения виброгаситель 6 и сани 7 с ходовым винтом 8. На сани 7 установлен упор 9 с гидроцилиндром 10. Виброгаситель 6 и упор 9 жестко соединены между собой двумя штангами 11. На штанги 11 с возможностью движения установлена заглушка 12, соединенная с гидроцилиндром 10 упора 9. На шпинделе 4 одним концом закреплен стебель 13, другой конец которого входит в виброгаситель 6 и центрируется с возможностью движения центрирующим механизмом 14. Инструмент 15 закреплен установленной внутри стебля 13 и соединенной с гидроцилиндром 5 тягой 16 с возможностью его перестановки после каждого рабочего хода. Для установки обрабатывающих элементов инструмента 15 в камере 17 виброгасителя 6 установлена втулка 18, а также выполнено отверстие 19 для подачи жидкости. Виброгаситель 6 и заглушка 12 снабжены центрирующими упорами 20 и 21 с уплотнениями 22 и 23 соответственно. Заглушка 12 имеет окно 24 для сброса отходов обработки с жидкостью и откидную крышку 25 для извлечения инструмента 15. Для предварительной установки изделия 26 на штангах 11 подвешены опоры 27. Штанги 11 после зажима изделия 26 обеспечивают свободное перемещение виброгасителя 6 и саней 7 по направляющим 2, а также дают возможность переналадки станка на изделия различной длины с наименьшим расположением над направляющими 2.

[14]

Работа расточного станка осуществляется следующим образом.

[15]

Обрабатываемое изделие 26 устанавливают между штангами 11 на предварительные опоры 27. Затем заглушка 12 подается гидроцилиндром 10 до упора обрабатываемого изделия 26 в центрирующий упор 20 на виброгасителе 6 и в центрирующий упор 21 на заглушке 12. В результате изделие 26 отрывается от предварительных опор 27 и оказывается зацентрированным и жестко зажатым между виброгасителем 6 и заглушкой 12.

[16]

Благодаря штангам 11 усилие зажима не влияет на положение саней 7 и виброгасителя 6.

[17]

Затем приводится во вращение шпиндель 4 с закрепленным на нем стеблем 13 с инструментом 15, подаются сани 7 с изделием 26, закрепленным между виброгасителем 6 и заглушкой 12, и подается жидкость через отверстие 19 в герметически закрытую камеру 17 виброгасителя 6, открытую в обрабатываемое изделие 26. Весь поток жидкости подается в рабочую зону обработки под давлением, обеспечивая надежное удаление отходов обработки. Отходы обработки попадают в заглушку 12 и сбрасываются с жидкостью через окно 24. Рабочая подача обрабатываемого изделия 26 заканчивается после полного выхода инструмента 15 в заглушку 12, где режущая часть инструмента 15 может быть снята. После подачи саней 7 в исходное положение обрабатываемое изделие 26 разжимается и снимается со станка, а инструмент 15 устанавливается на стебель 13 и закрепляется под действием гидроцилиндра 5 станка тягой 16, если работа производится с перестановкой инструмента. Затем цикл повторяется.

[18]

Источники информации
1. Авт. св. N 204093, МПК7: В 23 В 41/02, 1967.

[19]

2. Отраслевой каталог. "Металлорежущие станки", раздел 2 "Станки сверлильно-расточной группы", гр.08 "Станки специальные сверлильно-расточные". НИИ информации по машиностроению. - М., 1982, с.1.

Как компенсировать расходы
на инновационную разработку
Похожие патенты