патент
№ RU 2186672
МПК B24B31/02

УСТРОЙСТВО ДЛЯ ГАЛТОВКИ

Авторы:
Иванов А.Н. Табачук И.И. Серга Г.В.
Все (4)
Номер заявки
2000119665/02
Дата подачи заявки
24.07.2000
Опубликовано
10.08.2002
Страна
RU
Как управлять
интеллектуальной собственностью
Чертежи 
3
Реферат

[17]

Изобретение относится к машиностроению и может быть использовано для отделочно-зачистной обработки деталей в свободном состоянии. Устройство содержит барабан в виде винтовой многозаходной колонны из винтовых полос, средства для загрузки и выгрузки деталей и привод вращения. Полосы выполнены различной трапециевидной формы и с разными размерами по ширине с увеличением их по длине барабана в направлении от загрузки к выгрузке. Рабочая среда и детали, перемещаясь по барабану, приобретают скорость, увеличивающуюся с увеличением проходного сечения барабана, что повышает эффективность галтовки. 4 ил.

Формула изобретения

Устройство для галтовки, содержащее установленный горизонтально на станине галтовочный барабан, выполненный в виде винтовой многозаходной колонны из винтовых полос, средства для загрузки и выгрузки деталей и привод вращения, отличающееся тем, что полосы выполнены различной трапециевидной формы и с разными размерами по ширине с увеличением их по длине барабана в направлении от загрузки к выгрузке.

Описание

[1]

Изобретение относится к машиностроению и может быть использовано для отделочно-зачистной и упрочняющей обработки деталей в свободном состоянии.

[2]

Известно устройство для галтовки (а. с. 10935056, кл. В 24 В 31/02, опубл. бюл. изобр. 19, 1984 г.), содержащее установленный на станине с приводом вращения и средствами для загрузки и выгрузки галтовочный барабан, выполненный из отдельных, одинаковых по размеру и площади, равносторонних треугольников, установленных по периметру цилиндрического барабана в форме винтовой тетраэдальной колонны условно цилиндрической формы.

[3]

Недостатком известного устройства является наличие встречных потоков движения деталей, что ограничивает технологические возможности устройства при обработки деталей с малой жесткостью.

[4]

Наиболее близким к предлагаемому изобретению является устройство для галтовки (а.с. 1433774, кл. В 24 В 31/02, опубл. в Б.И. 40, 1988 г.), содержащее установленный галтовочный барабан условно цилиндрической формы, выполненный из одинаковых винтовых полос криволинейной формы различного порядка в виде винтовой многозаходной колонны со средствами для загрузки и выгрузки и приводом вращения.

[5]

Недостатком является ограниченные возможности из-за условно цилиндрической формы галтовочного барабана и необходимости создания наклона всего галтовочного барабана для увеличения скорости перемещения обрабатываемых деталей от загрузки к выгрузке.

[6]

Техническим решением является расширение технологических возможностей и повышение эффективности галтовки.

[7]

Техническое решение достигается тем, что полосы выполнены трапециевидной формы, имеют переменную ширину, разные по форме, размерам и увеличиваются от загрузки к выгрузке.

[8]

По данным патентно-технической литературы не обнаружено техническое решение, аналогичное заявляемому, что позволяет судить об изобретательском уровне предлагаемой конструкции устройства для галтовки.

[9]

Новизна предложения заключается в том, что за счет увеличения проходного сечения барабана от загрузки к выгрузке, т.е. условно конической формы галтовочного барабана нарушается стационарность движения деталей и частиц рабочих сред и повышается эффективность обработки.

[10]

Новизна усматривается также в том, что шаг винтовых линий увеличивается от загрузки к выгрузке, что не только обеспечивает повышение скорости продольного перемещения деталей, но и интенсифицирует процесс обработки, повышает эффективность обработки и расширяет технологические возможности.

[11]

Новизна обусловлена также тем, что площадь и форма поперечного сечения галтовочного барабана изменяется от загрузки к выгрузке, что расширяет технологические возможности устройства для галтовки.

[12]

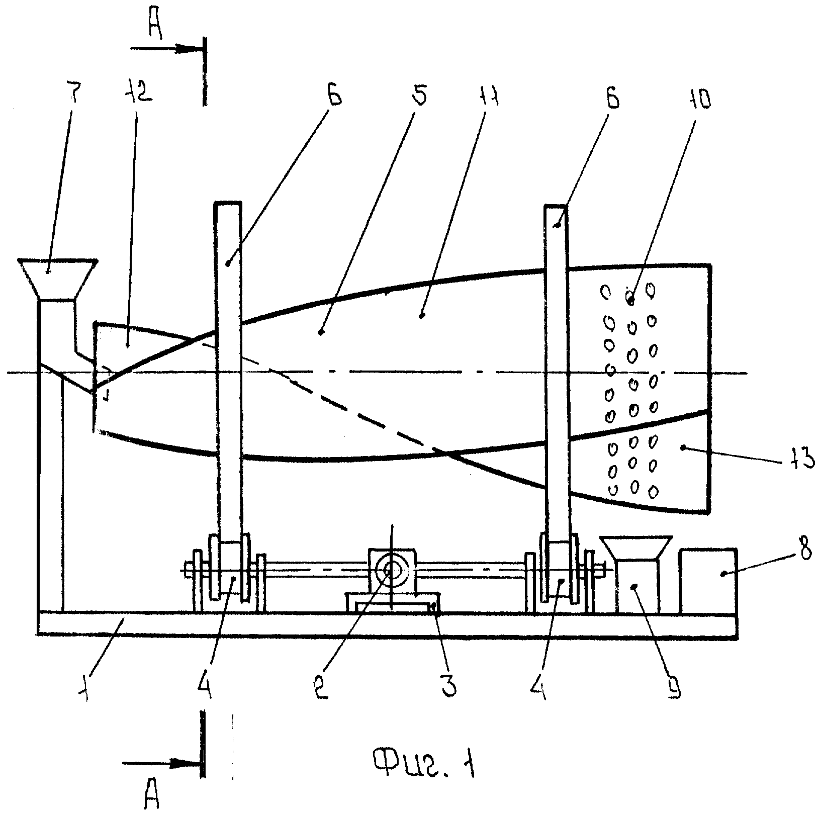
Сущность изобретения поясняется чертежом, где на фиг.1 изображен общий вид устройства для галтовки; на фиг.2 - разрез А-А на фиг.1; на фиг.3 - галтовочный барабан; на фиг.4 - вид А на фиг.3.

[13]

Предлагаемое устройство состоит из станины 1, выполненной в виде сварной рамы. На станине закреплен привод главного движения, состоящий из электродвигателя 2, редуктора 3 и четырех роликовых опор 4. Галтовочный барабан 5 снабжен двумя ободами 6, которые опираются на роликовые опоры 4. На станине 1 смонтировано средство для загрузки 7 и разгрузки 8, а также бункер 9 для отходов (облой, металл заусенцев, окалина и т.д.). Галтовочный барабан 5 изготовлен в виде однонаправленной пустотелой винтовой колонны условно конической формы, выполненной по периметру из трех свернутых в вертикальной плоскости и последовательно соединенных между собой по длине винтовой колонны винтовых полос 11, 12, 13 трапециевидной формы и с разными размерами по ширине, с увеличением их по длине барабана от загрузки к выгрузке. (фиг.3, фиг.4).

[14]

Линии соединения свернутых в винт полос трапециевидной формы образуют ясно выраженную однонаправленную трехходовую и более заходов винтовую колонну с винтовыми линиями 14-15, 16-17, 18-19 (фиг.3, фиг.4), показанными утолщенными линиями с увеличивающимся по длине барабана шагом винтовых линий.

[15]

Предлагаемое устройство работает следующим образом.

[16]

В галтовочный барабан 5 через средство 7 для загрузки беспрерывно загружается рабочая среда, и детали совершают сложное движение по винтовым линиям и выгружаются из барабана 5 в средство 8 для разгрузки. Отходы обработки (облой, металл. заусенцы, окалина и т.п.) через отверстие 10 выводятся из барабана 5 в бункер 9 для отходов. Рабочая среда и детали, перемещаясь по галтовочному барабану 5, приобретают скорость, увеличивающуюся по мере увеличения проходного сечения барабана, что повышает эффективность обработки.

Как компенсировать расходы
на инновационную разработку
Похожие патенты