патент
№ RU 2185687
МПК H01L27/02

МОЩНАЯ ГИБРИДНАЯ ИНТЕГРАЛЬНАЯ СХЕМА СВЧ ДИАПАЗОНА

Авторы:
Иовдальский В.А.
Правообладатель:
Все (2)
Номер заявки
98112771/28
Дата подачи заявки
10.10.1996
Опубликовано
20.07.2002
Страна
RU
Как управлять
интеллектуальной собственностью
Чертежи 
1
Реферат

[30]

Использование: в полупроводниковой технике. Сущность изобретения: в мощной гибридной интегральной схеме СВЧ-диапазона, в которой диэлектрическая плата выполнена из двух частей, герметично соединенных обратными сторонами, кристаллы расположены в углублениях с отверстиями в дне, заполненными электропроводящим материалом. Углубления выполнены на лицевых поверхностях обеих частей платы. Крышка герметично присоединена к лицевым поверхностям частей платы. Техническим результатом изобретения является улучшение массогабаритных характеристик, увеличение прочности и надежности, технологичность. 2 з.п.ф-лы, 2 ил.

Формула изобретения

1. Мощная гибридная интегральная схема СВЧ диапазона, содержащая диэлектрическую плату с топологическим рисунком металлизации на поверхности платы и каналами для циркуляции охлаждающей жидкости, кристаллы бескорпусных полупроводниковых приборов с контактными площадками, установленные в объеме платы так, что лицевые поверхности кристаллов расположены в одной плоскости с лицевой поверхностью платы и закреплены связующим веществом, и плоскую диэлектрическую крышку, герметично соединенную с платой, отличающаяся тем, что плата выполнена из двух частей, например, из поликора, сапфира или нитрида алюминия толщиной 0,5 мм, герметично соединенных обратными сторонами, кристаллы расположены в углублениях, выполненных в лицевой поверхности платы и имеющих в дне отверстия диаметром 0,04-0,5 мм и площадью 0,1-90% от площади дна углубления, заполненные теплопроводящим материалом, а каналы для циркуляции охлаждающей жидкости образованы выемками глубиной 0, 1 мм, выполненными на обратной стороне частей платы и совпадающими одна с другой, при этом ширина канала равна или превышает размеры кристалла, а толщина дна углубления над каналом равна 0,01-0,5 мм, причем материал и толщина h диэлектрической крышки выбраны из следующего соотношения:

где λ - длина волны, мм;
ε - диэлектрическая проницаемость материала крышки.

2. Мощная гибридная интегральная схема СВЧ диапазона по п. 1, отличающаяся тем, что каналы выполнены металлизированными с антикоррозионным покрытием, а отверстия в дне углублений заполнены электро- и теплопроводящим материалом.

3. Мощная гибридная интегральная схема СВЧ диапазона по п. 1 или 2, отличающаяся тем, что части платы дополнительно соединены зажимом.

Описание

[1]

Настоящее изобретение относится к области электронной техники, а более точно - касается мощной гибридной интегральной схемы СВЧ-диапазона, и может быть использовано в полупроводниковой технике.

[2]

Известна мощная гибридная интегральная схема, содержащая диэлектрическую плату с отверстиями и топологическим рисунком металлизации на лицевой стороне, металлический корпус, систему жидкостного охлаждения, в которой охлаждающая жидкость проходит непосредственно между платой и основанием корпуса. Система охлаждения отделена металлическими заглушками в отверстиях платы от пространства над платой. Кристаллы бескорпусных полупроводниковых приборов расположены в отверстиях платы и закреплены на металлических заглушках обратной стороной кристалла таким образом, что лицевая поверхность кристаллов с контактными площадками находится в одной плоскости с поверхностью платы. Контактные площадки кристаллов электрически соединены с топологическим рисунком металлизации (Г.В.Резников. Расчет и конструирование систем охлаждения ЭВМ. М.: Радио и связь, 1988, с.147).

[3]

Указанной гибридной интегральной схеме присущи низкие массогабаритные характеристики.

[4]

Известна гибридная интегральная схема, содержащая диэлектрическую плату с топологическим рисунком металлизации, каналами для циркуляции охлаждающей жидкости и отверстиями в каналах, кристаллы бескорпусных полупроводниковых приборов, установленные в отверстиях и герметично закрепленные на стенках в отверстиях каналов таким образом, что лицевые поверхности кристаллов с контактными площадками расположены в одной плоскости с поверхностью платы, контактные площадки кристаллов, электрически соединенные с топологическим рисунком металлизации, диэлектрическую рамку, герметично соединенную с платой, плоскую диэлектрическую крышку, герметично соединенную с рамкой, металлическую накладку, в которую вставлен край платы, герметично соединенную с ней и имеющую по меньшей мере два штуцера для подвода охлаждающей жидкости и для ее отвода и каналы для охлаждающей жидкости, соединенные с каналами платы (US, 4327399 А).

[5]

Указанной гибридной интегральной схеме присущи низкие массогабаритные характеристики, недостаточная прочность и надежность, связанные с возможностью разрушения или разгерметизации при повышении давления в системе охлаждения, и низкая технологичность, связанная с трудностью изготовления каналов в объеме платы.

[6]

В основу изобретения была положена задача создания мощной гибридной интегральной схемы СВЧ-диапазона, конструктивное выполнение которой позволило бы улучшить массогабаритные характеристики, увеличить прочность, надежность и технологичность.

[7]

Это достигается тем, что в мощной гибридной интегральной схеме СВЧ-диапазона, содержащей диэлектрическую плату с топологическим рисунком металлизации на поверхности платы и каналами для циркуляции охлаждающей жидкости, кристаллы бескорпусных полупроводниковых приборов с контактными площадками, установленные в объеме платы так, что лицевые поверхности кристаллов расположены в одной плоскости с лицевой поверхностью платы и закреплены связующим веществом, и плоскую диэлектрическую крышку, герметично соединенную с платой, согласно настоящему изобретению, плата выполнена из двух частей, герметично соединенных обратными сторонами, кристаллы расположены в углублениях, выполненных в лицевой поверхности платы и имеющих в дне отверстия диаметром 0,04-0,5 мм и площадью 0,1-90% от площади дна углубления, заполненные теплопроводящим материалом, а каналы для циркуляции охлаждающей жидкости образованы выемками, выполненными на обратной стороне частей платы и совпадающими одна с другой, при этом ширина канала равна или превышает размеры кристалла, а толщина дна углубления над каналом равна 0,01-0,5 мм, причем материал и толщина диэлектрической крышки выбраны из следующего соотношения:

где λ - длина волны (в мм);
ε - диэлектрическая проницаемость материала крышки;
h - толщина крышки (в мм).

[8]

Каналы могут быть выполнены металлизированными с антикоррозионным покрытием, а отверстия в дне углублений могут быть заполнены электро- и теплопроводящим материалом.

[9]

Части платы могут быть дополнительно соединены зажимом.

[10]

Размещение кристаллов в углублениях, имеющих в дне отверстия, заполненные теплопроводящим материалом, позволяет увеличить прочность конструкции, а значит и надежность за счет исключения возможности проникновения теплоносителя между стенками отверстия и кристаллом.

[11]

Выполнение платы из двух частей, соединенных обратными сторонами, и выполнение на обратных сторонах частей платы выемок определенного размера повышает технологичность изготовления схемы.

[12]

Использование обеих плат для размещения топологического рисунка металлизации и кристаллов увеличивает степень интеграции.

[13]

За счет определенного материала и толщины крышки, во-первых, улучшаются массогабаритные характеристики; во-вторых, улучшается теплоотвод от кристаллов в результате исключения воздушной прослойки и наложения и закрепления крышки непосредственно на плату, то есть в непосредственной близости от тепловыделяющих элементов, расположенных на поверхности кристаллов или в непосредственной близости от нее.

[14]

Ограничение толщины дна углубления в плате обусловлено его прочностью.

[15]

Выбор толщины и диэлектрической проницаемости обусловлен условиями минимальных потерь при прохождении СВЧ-сигнала.

[16]

Ограничение ширины канала снизу обусловлено условиями лучшего теплоотвода от кристаллов.

[17]

Далее изобретение поясняется описанием конкретного примера его выполнения и прилагаемыми чертежами, на которых:
фиг. 1 изображает патентуемую мощную гибридную интегральную схему СВЧ-диапазона (разрез);
фиг.2 - то же, что на фиг.1 (вид сверху).

[18]

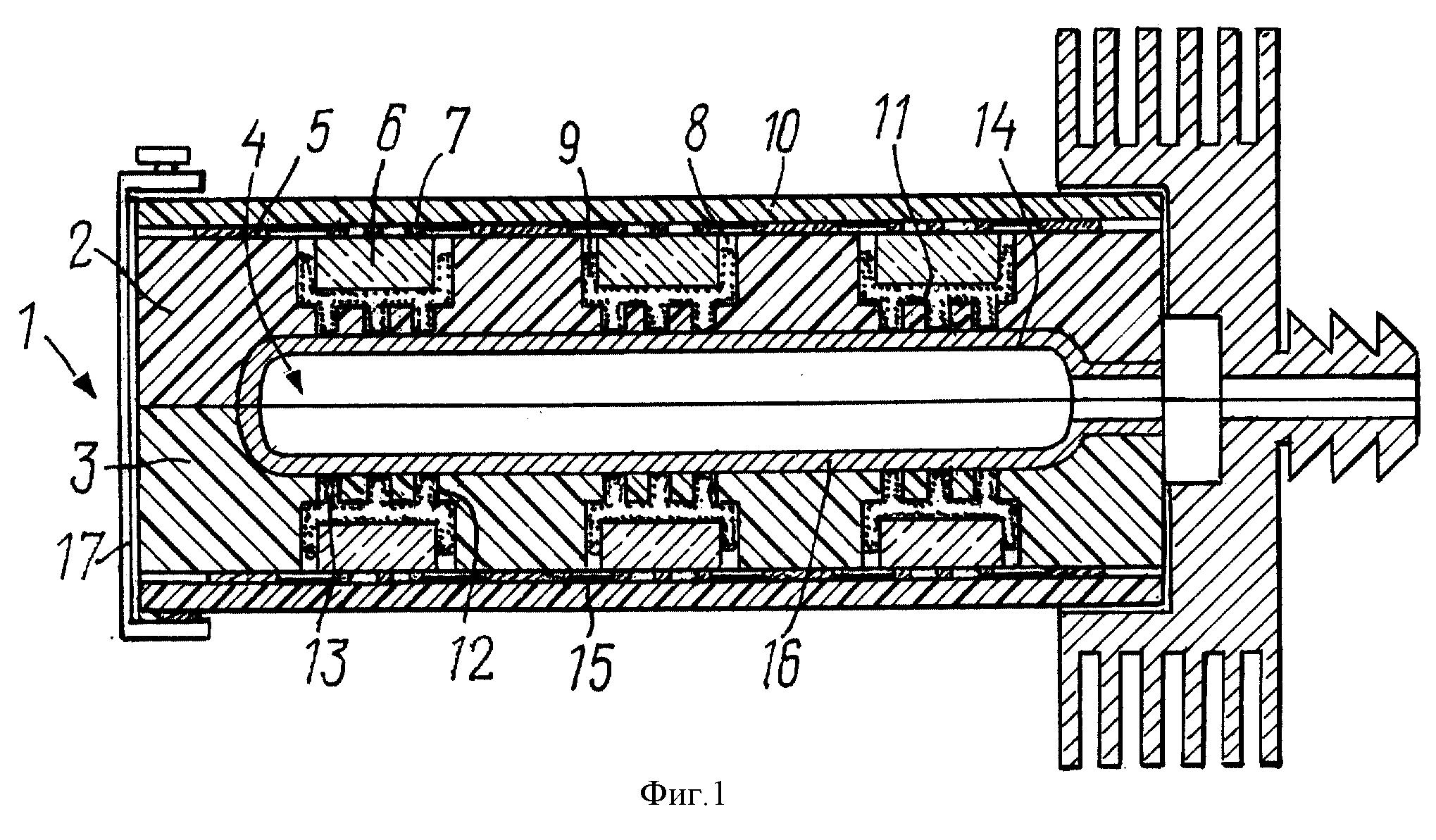
Патентуемая мощная гибридная интегральная схема СВЧ-диапазона содержит диэлектрическую плату 1 (фиг.1), состоящую из двух частей 2 и 3, например, из поликора, сапфира или нитрида алюминия толщиной 0,5 мм, герметично соединенных между собой обратными сторонами, например склеенных, спаянных, соединенных диффузионной сваркой или другим известным способом. В плате выполнены каналы 4 для циркуляции охлаждающей жидкости. На поверхности платы 1 выполнен топологический рисунок 5 металлизации, например, имеющий структуру Ti (100 Ом/мм2) - Pd (0,2 мкм) - Au (3 мкм).

[19]

Кристаллы 6 бескорпусных полупроводниковых приборов, например, транзисторов 3П603Б-5 размером 0,5х0,45х0,3 мм, установлены в объеме платы 1 так, что лицевые поверхности кристаллов 6 расположены в одной плоскости с лицевой поверхностью платы 1. Контактные площадки 7 кристаллов 6 соединены с топологическим рисунком 5 металлизации, например золотой проволокой диаметром 30 мкм. Кристаллы 6 установлены в углублениях 8 и закреплены связующим веществом 9, например клеем ЭЧЭ-С. Плоская диэлектрическая крышка 10, например, выполнена из кварца толщиной 0,2 мм, герметично соединена с платой 1, что удовлетворяет соотношению:

Размеры углублений 8 на лицевой поверхности платы 1 составляют 0,6х0,55х0,33 мм, что обеспечивает соответствующее расположение кристаллов 6.

[20]

В дне 11 углублений 8 выполнены отверстия 12, например диаметром 100 мкм, заполненные электро- и теплопроводящим материалом 13, например медью (заращены) или припоем Au-Si эвтектического состава.

[21]

Каналы 4 образованы выемками 14 глубиной 0,1 мм на обратной стороне платы 1, имеющими толщину 0,2 мм (по 0,1 мм от каждой части платы 1). Толщина дна 11 углублений 8 составляет 70 мкм.

[22]

Крышка 10 присоединена к плате 1 диэлектрическим теплопроводным веществом 15, например клеем ТК-8НБ с наполнителем из нитрида алюминия. Ширина канала 4 выбрана равной 0,8 мм. Обратная сторона платы 1 и выемки 14 в ней имеют металлизацию 16 со структурой, например, Ti (100 Ом/мм2) - Pd (0,2 мкм) - Au (3 мкм).

[23]

Части 2 и 3 платы 1 дополнительно скреплены зажимом 17 (фиг.2), выполненным, например, из титана.

[24]

Гибридная интегральная схема СВЧ-диапазона согласно изобретению работает следующим образом.

[25]

Теплота, выделяемая кристаллами 6 (фиг.1), рассеивается во все стороны: вниз через дно 11 углублений 8 с отверстиями 12, заполненными материалом 13, в стороны через связующее вещество 9 и плату 1 и вверх через выводы и крышку 10. Таким образом, создаются лучшие условия для отвода тепла от кристаллов 6.

[26]

Патентуемая мощная гибридная интегральная схема позволяет повысить прочность и надежность конструкции за счет размещения кристаллов в углублениях платы, улучшить массогабаритные характеристики за счет использования составной конструкции платы, повысить технологичность за счет облегчения изготовления каналов для циркуляции охлаждающей жидкости.

[27]

При описании рассматриваемого варианта осуществления изобретения для ясности используется конкретная узкая терминология. Однако изобретение не ограничивается принятыми терминами и необходимо иметь в виду, что каждый такой термин охватывает все эквивалентные термины, работающие аналогично и используемые для решения тех же задач.

[28]

Хотя настоящее изобретение описано в связи с предпочтительным видом реализации, понятно, что могут иметь место изменения и варианты без отклонения от идеи и объема изобретения, что компетентные в данной области лица легко поймут.

[29]

Эти изменения и варианты считаются не выходящими за рамки сущности и объема изобретения и прилагаемых пунктов формулы изобретения.

Как компенсировать расходы
на инновационную разработку
Похожие патенты