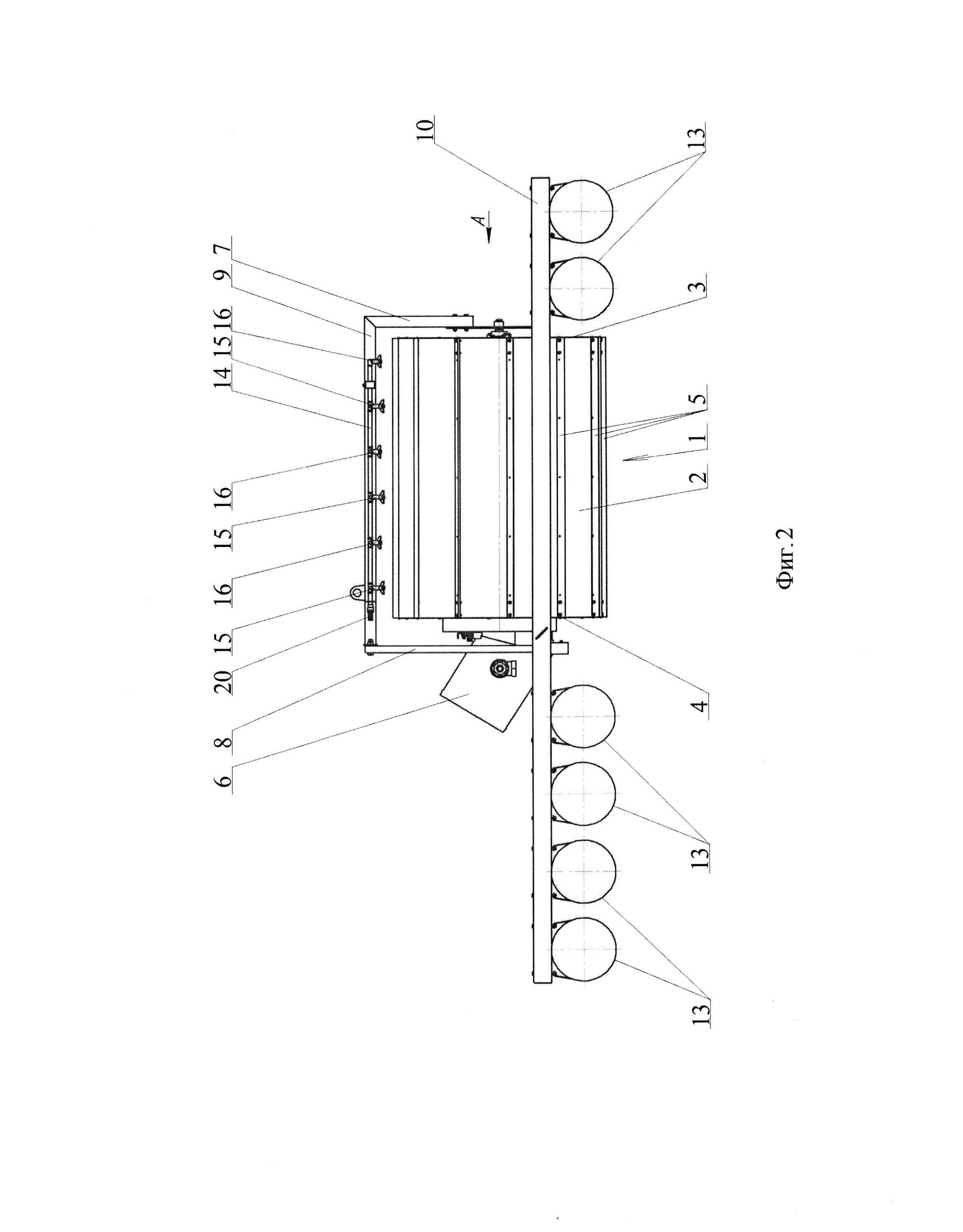
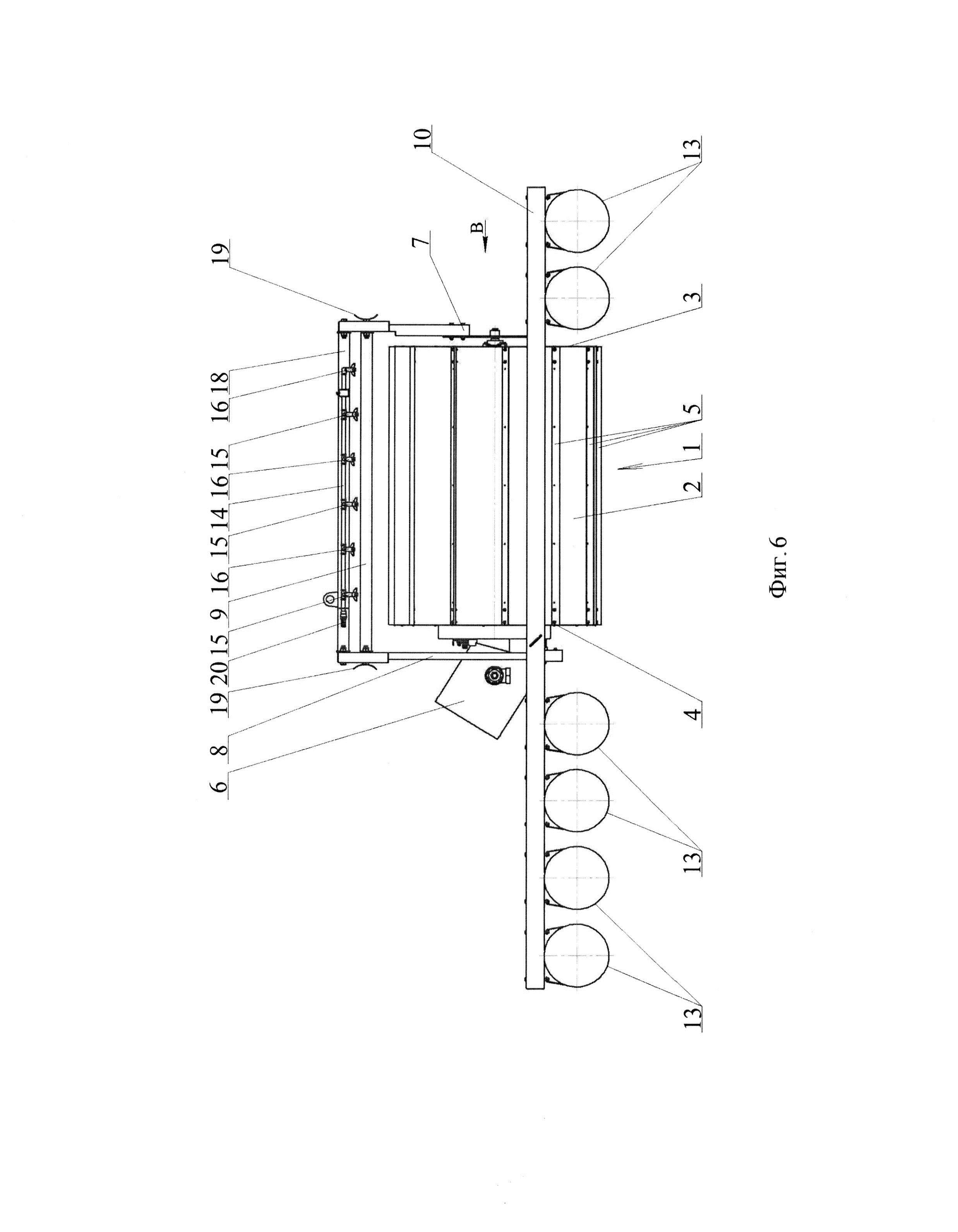
Полезная модель относится к сельскому хозяйству, а именно к искусственному орошению полей, и может использоваться в конструкции самоочищающегося фильтра, предназначенного для забора воды преимущественно из открытых источников, с целью дальнейшей подачи в трубопровод, в частности самоходной многоопорной дождевальной машины кругового или фронтального перемещения. Самоочищающийся фильтр содержит барабан 1 с боковой стенкой 2 из сетчатого материала, установленный с возможностью вращения в опорной конструкции. Барабан 1, как правило, снабжен первым торцом 3, вторым торцом 4 и множеством продольных лопастей 5, выполненных предпочтительно в виде Г-образных планок, проходящих вдоль боковой стенки 2 барабана 1 между первым и вторым торцами 3, 4. Привод самоочищающегося фильтра выполнен в виде рампы 14 с форсунками 15, 16 расположенной на опорной конструкции, при этом форсунки 15, 16 установлены с возможностью регулировки направления струи воды от каждой из них. Регулировка направления струи воды от форсунок выполнена, например, путем поворота форсунок 16 известным образом относительно рампы 14, на которой она установлена. В другом случае регулировка направления струи воды от каждой из форсунок 15, 16 может быть организована посредством шарикового жиклера 17, где регулировка направления струи осуществляется поворотом шарикового жиклера 17 в корпусе форсунки 15, 16. Рампа 14 с форсунками 15, 16 установлена с возможностью изменения своего положения относительно опорной конструкции, например, посредством дополнительного кронштейна 18, перемещающегося относительно опорной конструкции с возможностью фиксации на ее стойках 7, 8 крепежными элементами 19. 6 з.п. ф-лы, 9 ил.
1. Привод самоочищающегося фильтра для дождевальной машины, содержащего установленный с возможностью вращения в опорной конструкции барабан с боковой стенкой из сетчатого материала, на которой расположены продольные лопасти, выполненный в виде расположенной на опорной конструкции рампы с форсунками, установленными с возможностью регулировки направления струи воды от каждой из них, отличающийся тем, что рампа с форсунками установлена с возможностью изменения своего положения относительно опорной конструкции. 2. Привод самоочищающегося фильтра по п. 1, отличающийся тем, что барабан снабжен первым торцом и вторым торцом и множеством продольных лопастей, выполненных в виде Г-образных планок, проходящих вдоль боковой стенки барабана между первым и вторым торцами. 3. Привод самоочищающегося фильтра по п. 1, отличающийся тем, что барабан установлен в опорной конструкции, где первый торец барабана подвижно связан с первой вертикальной стойкой, второй торец барабана подвижно закреплен на второй стойке, выполненной в виде сходящихся снизу вверх балок, причем первая и вторая стойки соединены верхней планкой. 4. Привод самоочищающегося фильтра по п. 3, отличающийся тем, что рампа с форсунками установлена на верхней планке опорной конструкции. 5. Привод самоочищающегося фильтра по п. 1, отличающийся тем, что опорная конструкция с барабаном поддержана каркасом, содержащим первую и вторую балки, расположенные с обеих сторон барабана, и дополнительные элементы, закрепленные между балками, при этом каркас установлен на нескольких поплавках. 6. Привод самоочищающегося фильтра по п. 1, отличающийся тем, что регулировка направления струи воды от каждой из форсунок выполнена путем поворота форсунки относительно рампы, на которой она установлена. 7. Привод самоочищающегося фильтра по п. 1, отличающийся тем, что регулировка направления струи воды от каждой из форсунок организована посредством шарикового жиклера, установленного в форсунке.
Полезная модель относится к сельскому хозяйству, а именно, к искусственному орошению полей, и может использоваться в конструкции привода самоочищающегося фильтра, предназначенного для забора воды преимущественно из открытых источников, с целью дальнейшей подачи в трубопровод, в частности, самоходной многоопорной дождевальной машины кругового или фронтального перемещения. Из авторского свидетельства СССР №1787380 на изобретение (публ. 15.01.1993 г.) известно самоочищающееся водозаборное устройство для подачи воды в дождевальную машину. Водозаборное устройство включает установленный на раме дождевальной машины насос с всасывающим и напорным патрубками и фильтрующий элемент с приводом, скребками, накопителем мусора и элементами автоматического управления. Устройство снабжено блоком струйных насадок, подключенных через управляемый клапан к напорному патрубку насоса и расположенных рассредоточенно в зоне действия и в направлении от фильтрующего элемента с возможностью изменения высоты расположения и угла установки в вертикальной плоскости. Фильтрующий элемент выполнен в виде вращающегося барабана из листового коррозионностойкого материала с отверстиями соответствующего диаметра, привод которого образован отдельным двигателем. К недостаткам описанного устройства относятся сложность конструкции и низкая эффективность очистки фильтрующего элемента. Известен самоочищающийся сетчатый узел для фильтрации поливной воды, описанный в патенте США на изобретение №8652324 (публ. 18.02.2014 г.), представляющий собой самоочищающийся барабанный фильтр, имеющий средства для очистки барабана от мусора при вращении барабана во время работы насоса. Отфильтрованная вода, поступающая в барабан, вытягивается из внутренней части барабана по всасывающей трубе для подачи в систему орошения. Самоочищающийся сетчатый узел включает вращающийся барабан, имеющий боковую стенку, изготовленную из сетчатого материала для удаления мусора из воды, когда вода проходит в барабан. Барабан имеет передний торец и задний торец, а также множество планок, проходящих по длине барабана между передним и задним торцами. Сетчатая боковая стенка барабана проходит между передним и задним торцами и поддерживается планками для сохранения цилиндрической формы. Передний торец барабана поддерживается опорной конструкцией, которая позволяет барабану вращаться вокруг горизонтальной оси, а также имеет отверстие, через которое пропущена впускная труба для забора воды из внутренней части барабана. Впускная труба соединена с всасывающей трубой. Барабан вращается вокруг впускной трубы, которая остается неподвижной. Передний торец барабана имеет поверхность с выступающим наружу кольцом. Опорная конструкция для поддержки переднего торца барабана включает в себя ролики, которые поддерживают внешнюю поверхность кольца, позволяя барабану вращаться вокруг своей горизонтальной оси. Для вращения барабана во время работы сетчатого узла используется электродвигатель. Бесконечный ремень, например, клиновой ремень, проходит вокруг приводного шкива на выходном валу электродвигателя и вокруг кольца на переднем торце барабана для его вращения при работе электродвигателя. Ролики входят в зацепление и катятся по кольцу рядом с ремнем. Задний торец барабана поддерживается полым валом и подшипником или другой подходящей конструкцией, позволяющей барабану свободно вращаться вокруг горизонтальной оси во время работы. Распылительные форсунки системы очистки расположены внутри барабана на коллекторе, соединенном с полым валом заднего торца барабана, откуда под давлением поступает вода для форсунок. Распылительные форсунки направлены на распыление воды в радиальном направлении наружу изнутри барабана, так что распыляемая вода попадает на внутреннюю поверхность сетчатого материала боковой стенки. При работе самоочищающийся сетчатый узел по описанному изобретению помещается в источник воды, а впускная труба соединяется с всасывающей трубой ирригационного насоса или другой подходящей системы водопользования. Во время работы оросительная вода беспрепятственно поступает в барабан через сетчатую боковую стенку, а отфильтрованная вода всасывается через входные отверстия впускной трубы в выходной патрубок. Далее вода проходит из выходного патрубка в трубу или другую конструкцию, питающую оросительный насос или другую систему водопользования. Также во время работы барабан приводится во вращение вокруг своей горизонтальной оси электродвигателем. Особенностью данной конструкции является невозможность ее работы на малых глубинах. Кроме того, для работы самоочищающегося сетчатого узла необходимо организовать вращение барабана посредством электродвигателя, что требует организации электроснабжения. В патенте США на изобретение №4261822 (публ. 14.04.1981 г.) описано устройство фильтра для воды, относящееся к самоочищающимся самовращающимся фильтрам для дренажных насосов. Устройство содержит стойку для поддержки барабана с внешней фильтрующей сеткой (или несколькими сетками) над дном водоема. В центральной части барабана расположена проходящая через его торцевые пластины неподвижная труба с направленными вниз водозаборниками, причем стойка соединена с трубой с обеих сторон от барабана. С одной стороны к трубе с водозаборниками присоединена отводная труба, связанная с насосом и системой привода барабана. С другой стороны в трубу с водозаборниками внедрена напорная труба, связанная с коллектором, расположенным над трубой, на котором установлены распылители. Через распылители в процессе работы подается под давлением вода для очистки изнутри внешней фильтрующей сетки барабана. Параллельно отводной трубе установлена система отбора части водяного потока для привода турбины, приводящей посредством ременной передачи во вращение барабан с сеткой. В описанной конструкции фильтра сетка барабана очищается в постоянном режиме при его вращении. В то же время, система привода барабана выполнена достаточно сложной, требующей организации отвода части всасываемого водного потока на турбину с последующей передачей вращения турбины на барабан с сеткой. Наиболее близким по технической сущности является самоочищающийся фильтр, описанный в патенте США на изобретение №7670482 (публ.02.03.2010 г.), взятый за прототип. Фильтр включает в себя вращающийся барабан, имеющий боковую стенку из сетчатого материала для удаления мусора из воды, когда вода проходит внутрь барабана. Внутри барабана расположена впускная камера для сбора и подачи воды во всасывающую трубу, которая снабжает водой центробежный насос. Барабан имеет первый и второй торцы и множество лопастей, проходящих вдоль боковой стенки барабана между первым и вторым торцами. Первый торец барабана поддерживается валом и подшипником или другой подходящей конструкцией, чтобы позволить барабану свободно вращаться вокруг горизонтальной оси во время работы. Второй торец барабана также поддерживается опорной конструкцией, что позволяет барабану вращаться вокруг горизонтальной оси. Второй торец барабана снабжен отверстием, через которое вода может быть взята из внутренней части барабана. Опорная конструкция для поддержки второго торца барабана включает в себя пару опорных колес, которые входят в зацепление с кольцевым фланцем, который проходит вокруг отверстия барабана. Опорная конструкция также содержит неподвижную пластину, которая закрывает часть отверстия во втором торце барабана, оставляя участок, через который всасывающая труба введена внутрь барабана. Лопасти между первым и вторым торцами используются для вращения барабана путем приема движущей силы из воды, текущей мимо барабана (например, потока реки или канала), или путем приема движущей силы от силовой приводной системы, которая распыляет воду на лопасти барабана во время работы насоса. Как показано в интернет-ресурсе https://www.riverscreen.com/ подобные фильтры фирмы Riverscreen Inc., США, снабжены приводной системой, включающей в себя рампу с форсунками (https://www.riverscreen.com/wp-content/uploads/2013/03/POWERDRIVE_INSTALL.pdf), в которую под давлением подается вода. Струи воды, пройдя через распылительные отверстия форсунок, воздействуют последовательно на каждую из лопастей барабана, приводя его во вращение. Очистка боковой стенки барабана обеспечивается коллектором и множеством распылительных сопел, расположенных внутри барабана. Распылительные сопла направлены на распыление воды в радиально наружном направлении изнутри барабана, так что распыленная вода падает на внутреннюю поверхность сетчатого материала боковой стенки, вытесняя любой мусор, застрявший на сетчатом материале, когда барабан вращается, для обеспечения непрерывного самоочищающего воздействия на барабан. Технической проблемой описанного привода самоочищающегося фильтра является недостаточная эффективность силовой приводной системы барабана из-за однонаправленного распыления струй воды форсунками. При выходе из распылительного отверстия форсунки струя воды образует конусную струю, поэтому при близком взаимном расположении форсунок струи на некотором удалении смешиваются (как показано на фиг. 1, где номера позиций соответствуют позициям заявляемой полезной модели), взаимно погашая свой напор до подхода к очередной лопасти барабана, что, соответственно, снижает давление на эту лопасть. В случае организации однонаправленной установки форсунок, при которой струи от них не смешиваются, расстояние между форсунками увеличивается до такой степени, что количество форсунок на рампе уменьшается на несколько единиц, что также приводит к суммарному снижению давления на очередную лопасть барабана. Указанная техническая проблема в приводе самоочищающегося фильтра для дождевальной машины, содержащего установленный с возможностью вращения в опорной конструкции барабан с боковой стенкой из сетчатого материала, на которой расположены продольные лопасти, выполненном в виде расположенной на опорной конструкции рампы с форсунками, установленными с возможностью регулировки направления струи воды от каждой из них, решается тем, что рампа с форсунками установлена с возможностью изменения своего положения относительно опорной конструкции. Барабан предпочтительно снабжен первым торцом и вторым торцом и множеством продольных лопастей, выполненных в виде Г-образных планок, проходящих вдоль боковой стенки барабана между первым и вторым торцами. Барабан, как правило, установлен в опорной конструкции, где первый торец барабана подвижно связан с первой вертикальной стойкой, второй торец барабана подвижно закреплен на второй стойке, выполненной в виде сходящихся снизу вверх балок, причем первая и вторая стойки соединены верхней планкой. При этом рампа с форсунками может быть установлена на верхней планке опорной конструкции. Опорная конструкция с барабаном предпочтительно поддержана каркасом, содержащим первую и вторую балки, расположенные с обеих сторон барабана, и дополнительные элементы, закрепленные между балками, при этом каркас установлен на нескольких поплавках. Регулировка направления струи воды от каждой из форсунок может быть выполнена путем поворота форсунки относительно рампы, на которой она установлена. В другом варианте регулировка направления струи воды от каждой из форсунок может быть организована посредством шарикового жиклера, установленного в форсунке. Технический результат выражается в увеличении эффективности силовой приводной системы барабана самоочищающегося фильтра путем формирования регулируемых разнонаправленных форсунок, в которых смешение конусных струй минимизировано, воздействующих одновременно на различные лопасти. Кроме того, расширяется арсенал технических средств привода самоочищающихся фильтров барабанного типа. Приведенная совокупность признаков в сравнении с известным уровнем техники позволяет сделать вывод о соответствии заявляемого технического решения условию патентоспособности «новизна». В то же время, заявляемое техническое решение применимо в сельском хозяйстве при искусственном орошении полей, поэтому оно соответствует условию патентоспособности «промышленная применимость». Заявляемая полезная модель представлена на следующих рисунках. На фиг. 1 показан привод самоочищающегося фильтра для дождевальной машины с существующей технической проблемой смешения струй воды от форсунок, где зоны смешения затемнены. На фиг. 2 изображен самоочищающийся фильтр для дождевальной машины, вид спереди. На фиг. 3 изображен самоочищающийся фильтр для дождевальной машины, вид сверху. На фиг. 4 приведен вид А (фиг. 2) на первый торец барабана. На фиг. 5 показан вид Б (фиг. 4) на привод барабана. На фиг. 6 представлен самоочищающийся фильтр для дождевальной машины с регулировкой положения рампы с форсунками относительно опорной конструкции, вид спереди. На фиг. 7 приведен вид В (фиг. 6) на первый торец барабана. На фиг. 8 изображена схема работы привода самоочищающегося фильтра для дождевальной машины с изменением положения форсунок на рампе в «шахматном порядке». На фиг. 9 представлена схема работы привода самоочищающегося фильтра для дождевальной машины с изменением положения шарикового жиклера в форсунке. Самоочищающийся фильтр для дождевальной машины (фиг. 2, фиг. 3, фиг. 6) содержит барабан 1 с боковой стенкой 2 из сетчатого материала, например, из стальной сетки, установленный с возможностью вращения в опорной конструкции. Барабан 1, как правило, снабжен первым торцом 3, вторым торцом 4 и множеством продольных лопастей 5, выполненных предпочтительно в виде Г-образных планок, проходящих вдоль боковой стенки 2 барабана 1 между первым и вторым торцами 3, 4. Внутри барабана 1 расположена соединенная с всасывающей трубой 6 впускная камера с входными отверстиями (не показана). Барабан 1 установлен в опорной конструкции, где первый торец 3 барабана 1 подвижно связан с первой вертикальной стойкой 7 опорной конструкции, а второй торец 4 барабана 1 подвижно закреплен на второй стойке 8 опорной конструкции, выполненной, например, в виде сходящихся снизу вверх балок, причем первая и вторая стойки 7, 8 соединены верхней продольной планкой 9. Опорная конструкция с барабаном 1, как правило, поддержана каркасом, содержащим первую и вторую балки 10, 11, расположенные с обеих сторон барабана 1, и дополнительные элементы 12, закрепленные между балками 10, 11, при этом каркас установлен на нескольких поплавках 13. Привод самоочищающегося фильтра (фиг. 4, фиг. 5, фиг. 7) выполнен в виде рампы 14 с форсунками 15, 16 расположенной на опорной конструкции, при этом форсунки 15, 16 установлены с возможностью регулировки направления струи воды от каждой из них. Регулировка направления струи воды от форсунок выполнена, например, путем поворота форсунок 16 известным образом относительно рампы 14, на которой она установлена. В другом случае регулировка направления струи воды от каждой из форсунок 15, 16 может быть организована посредством шарикового жиклера 17, применение которого широко известно в стеклоомывателе автомобилей (https://stroy-technics.ru/article/dopolnitelnoe-oborudovanie-kuzova-gruzovogo-avtomobilya), где регулировка направления струи осуществляется поворотом шарикового жиклера в корпусе форсунки (https://prometey96.ru/remont/kak-prochistit-forsunki-omyvatelya-lobovogo-stekla.html). Изменением положения форсунок 16 на рампе 14 (фиг. 8) или шарикового жиклера 17 (фиг. 9) достигается минимизация перекрытия струй от соседних форсунок 15, что позволяет повысить эффективность использования энергии каждой струи для поворота барабана 1 фильтра. Наиболее результативным является чередование углового расположения форсунок 15, 16 (фиг. 8) с изменением через одну (в «шахматном порядке»), при котором струи одного углового ряда форсунок 15 направлены на одну продольную лопасть 5 барабана 1 фильтра, а струи другого углового ряда форсунок 16 направлены на другую продольную лопасть 5. Рампа 14 с форсунками 15, 16 может быть установлена на верхней планке 9 опорной конструкции и закреплена на ней жестко или с возможностью перемещения. В другом случае рампа 14 с форсунками 15, 16 установлена с возможностью изменения своего положения относительно опорной конструкции, например, посредством дополнительного кронштейна 18, перемещающегося относительно опорной конструкции с возможностью фиксации на ее стойках 7, 8 крепежными элементами 19 (фиг. 6, фиг. 7), что, в сочетании с поворотом форсунок 15, 16 или шарикового жиклера 17, позволяет выбрать оптимальное расстояние до продольных лопастей 5 барабана 1 фильтра. В исходном состоянии фильтр на поплавках 13 размещается в источнике воды (река, озеро, канал). Вода под давлением подается по подводящему шлангу (не показан), закрепленному на штуцере 20, в рампу 14 и далее на форсунки 15, 16. Струи воды из форсунок 15, 16 воздействуют на продольные лопасти 5 барабана 1 фильтра, приводя барабан 1 во вращение, при котором боковая стенка 2 барабана 1 непрерывно очищается струями воды, направленными на нее изнутри барабана 1. Следует отметить, что вышеупомянутые варианты осуществления иллюстрируют, а не ограничивают полезную модель, и что специалисты в данной области техники будут способны разработать множество альтернативных вариантов осуществления без отступления от объема приложенной формулы полезной модели. Сам по себе тот факт, что определенные критерии перечислены во взаимно различных зависимых пунктах формулы полезной модели, не указывает, что комбинация этих критериев не может быть использована для получения положительного эффекта.