патент
№ RU 2182841
МПК B01D46/02

РУКАВНЫЙ ФИЛЬТР ДЛЯ ОЧИСТКИ ГАЗОВ ОТ ПЫЛИ

Авторы:
Вальдберг А.Ю. Громов Б.С. Александров В.П.
Все (8)
Номер заявки
2001109840/12
Дата подачи заявки
13.04.2001
Опубликовано
27.05.2002
Страна
RU
Как управлять
интеллектуальной собственностью
Чертежи 
6
Реферат

[26]

Изобретение предназначено для очистки газов и может быть использовано в металлургической, химической и других отраслях промышленности для очистки газов от пыли и других включений в рукавных фильтрах. Рукавный фильтр для очистки газов от пыли содержит корпус с бункером для сбора уловленной пыли, рукавные фильтрующие элементы на каркасе, систему регенерации и патрубки ввода и вывода газов. Патрубок ввода газов установлен между стенкой корпуса и верхней частью стенки бункера. Отношение ширины патрубка ввода газов к ширине бункера составляет 0,1-0,25, а плоскость отверстия выхода газов из патрубка ввода газов находится ниже нижнего уровня рукавных фильтрующих элементов. Рукавные фильтрующие элементы выполнены из полотна, изготовленного из волокон различного происхождения и структуры, например полиэстера, полиамида или металловолокон. Рукавные фильтрующие элементы установлены на каркасе, который выполнен в виде колец, не связанных между собой, или продольных проволок, жестко соединенных кольцами или спиралью. Изобретение позволяет увеличить срок службы рукавных фильтрующих элементов, сократить выходную концентрацию пыли в газах. 2 з.п. ф-лы, 6 ил., 2 табл.

Формула изобретения

1. Рукавный фильтр для очистки газов от пыли, содержащий корпус с бункером для сбора уловленной пыли, рукавные фильтрующие элементы на каркасе, систему регенерации и патрубки ввода и вывода газов, отличающийся тем, что в нем патрубок ввода газов установлен между стенкой корпуса и верхней частью стенки бункера, при этом отношение ширины патрубка ввода газов к ширине бункера составляет 0,1-0,25, а плоскость отверстия выхода газов из патрубка ввода газов находится ниже нижнего уровня рукавных фильтрующих элементов.

2. Рукавный фильтр по п. 1, отличающийся тем, что рукавные фильтрующие элементы выполнены из полотна, изготовленного из волокон различного происхождения и структуры - полиэстера, или полиамида, или металловолокон.

3. Рукавный фильтр по п. 1, отличающийся тем, что каркас рукавных фильтрующих элементов выполнен в виде колец, не связанных между собой, или продольных проволок, жестко соединенных кольцами или спиралью.

Описание

[1]

Изобретение относится к области очистки газов и может быть использовано в металлургической, химической и других отраслях промышленности для очистки газов от пыли и других включений в рукавных фильтрах.

[2]

Известен рукавный фильтр для очистки газов от пыли, включающий цилиндрический корпус с отбойным козырьком, бункер, рукавные фильтрующие элементы, патрубки для ввода и вывода газов. Между корпусом и бункером размещается вставка Г-образной формы с образованием полости (см. авт. свид. СССР, 1680273, кл. В 01 D 46/02, БИ 36, 1991 г.).

[3]

Недостатками данного рукавного фильтра являются сложность конструкции и малая производительность из-за выполнения корпуса в виде цилиндра.

[4]

Кроме того, из-за больших скоростей газов быстро изнашивается верхняя часть бункера и Г-образная вставка, что снижает срок службы фильтра.

[5]

Наиболее близким к предлагаемому является рукавный фильтр для очистки газов от пыли, содержащий корпус с бункером для сбора уловленной пыли, рукавные фильтрующие элементы на каркасе, систему регенерации. Подача запыленного потока газов в корпус фильтра производится через патрубок ввода, соединенного с бункером перпендикулярно продольной оси фильтра. Очищенные газы удаляются через патрубок вывода газов (см. Ужов В.Н. и др. Очистка промышленных газов от пыли - М.: Химия, 1981, с. 263).

[6]

Недостаток известного рукавного фильтра состоит в том, что в бункере предварительно осаждается незначительное количество частиц пыли. Поэтому основная масса частиц пыли поступает на рукавные фильтрующие элементы, в результате необходима частая их регенерация. Это свивает эффективность очистки газов из-за проскоков пыли при регенерации и в результате увеличивается выходная запыленность газов, а также приводит к преждевременному взносу фильтровального материала. Данный рукавный фильтр работает при входной запыленности газов не более 20 г/м3.

[7]

Задача настоящего технического решения - обеспечение эффективной очистки газов в бункере рукавного фильтра, увеличение общей эффективности очистки газов.

[8]

Решение задачи достигается техническими результатами, которыми являются: увеличение срока службы рукавных фильтрующих элементов за счет уменьшения частоты их регенерации путем увеличения предварительного осаждения частиц пыли и уменьшение концентрации пыли, поступающей на рукавные фильтрующие элементы; уменьшение частоты регенерации снижает частоту проскоков пыли, сокращает выходную концентрацию пыли в газах.

[9]

Технический результат достигается с помощью предлагаемого рукавного фильтра для очистки газов от пыли, содержащего корпус с бункером для сбора уловленной пыли, рукавные фильтрующие элементы на каркасе, систему регенерации и патрубки ввода и вывода газов, отличительные особенности которого состоят в том, что в нем патрубок ввода газов установлен между стенкой корпуса и верхней частью стенки бункера, при этом отношение ширины патрубка ввода газов к ширине бункера составляет 0,1-0,25, а плоскость отверстия выхода газов из патрубка ввода газов находится ниже нижнего уровня рукавных фильтрующих элементов.

[10]

Кроме того, рукавные фильтрующие элементы выполнены из полотна, изготовленного из волокон различного происхождения и структуры - полиэстра или полиамида, или металловолокон.

[11]

Также, каркас рукавных фильтрующих элементов выполнен в виде колец не связанных между собой или продольных проволок, жестко соединенных кольцами или спиралью.

[12]

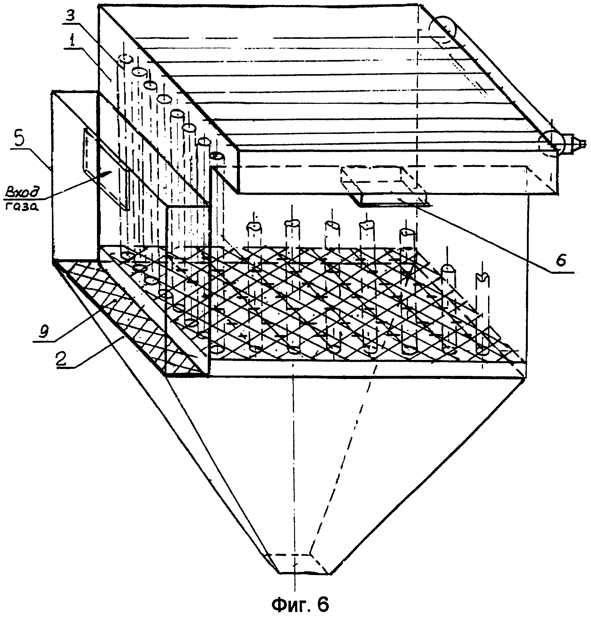
На фиг.1 изображен рукавный фильтр для очистки газов от пыли (общий вид).

[13]

На фиг.2 - вид по стрелке А на фиг.1.

[14]

На фиг.3 изображен рукавный фильтрующий элемент на каркасе в виде колец не связанных между собой.

[15]

На фиг. 4 изображен рукавный фильтрующий элемент на каркасе в виде продольных проволок, жестко соединенных кольцами.

[16]

На фиг. 5 изображен рукавный фильтрующий элемент на каркасе в виде продольных проволок, жестко соединенных спиралью.

[17]

Рукавный фильтр для очистки газов от пыли состоит из прямоугольного корпуса 1, бункера 2 для сбора уловленной пыли, рукавных фильтрующих элементов 3 на каркасе 4, патрубков ввода 5 и вывода 6 газов, системы регенерации 7 и устройства 8 для крепления фильтрующих элементов 3. Патрубок ввода 5 газов установлен между стенкой корпуса 1 и верхней частью стенки бункера 2. Отношение ширины патрубка ввода 5 газов к ширине бункера 2 составляет 0, 1-0,25. Плоскость отверстия 9 выхода газов из патрубка ввода 5 газов находится ниже нижнего уровня рукавных фильтрующих элементов 3. Рукавные фильтрующие элементы 3 могут быть выполнены на каркасе 4 в виде колец 10, не связанных между собой или в виде продольных проволок 11, жестко соединенных кольцами 12 или спиралью 13.

[18]

Рукавные фильтрующие элементы 3 могут выполняться из полотна, изготовленного из волокон различного происхождения и структуры, например полиэстра или полиамида, или металловолокон.

[19]

Рукавный фильтр для очистки газов от пыли работает следующим образом.

[20]

Запыленный поток газов подается в корпус 1 через патрубок ввода 5 газов. При этом струя газов направляется в ограниченное пространство и расширяется только в одном направлении - к стенке бункера 2, двигаясь в нижнюю часть и придавая указанное направление движения и частицам пыли. Соприкасаясь со стенкой бункера 2 поток газов при движении вниз тормозится, частицы пыли теряют скорость и оседают в нижней чести бункера 2. Не осевшие частицы пыли, следуя движению потока газов попадают на наружную поверхность рукавных фильтрующих элементов 3, где они улавливаются. Пройдя фильтрующие элементы 3 очищенные газы удаляются через патрубок вывода 6 газов из устройства. При забивке пор материала фильтрующих элементов 3 производится их регенерация под воздействием импульсов сжатого воздуха. Регенерация осуществляется без отключения подачи запыленного потока газов. После регенерации фильтрующих элементов цикл повторяется.

[21]

Были проведены лабораторные испытания на модели рукавного фильтра.

[22]

В рукавный фильтр с углом наклона стенки бункера 60o подавался газ со скоростью 15 м/с с входной запыленностью 100 г/м3. Газ содержал кварцевую пыль, дисперсный состав которой приведен в табл.1.

[23]

В табл. 2 представлены данные обоснования выбора предлагаемых отношений ширины патрубка ввода газов (Вп) к ширине бункера (Вб) в зависимости от эффективности осаждения частиц пыли (η) в бункере.

[24]

Как видно из табл.2, оптимальным отношением ширины патрубка ввода газов к ширине бункера является 0,1-0,25.

[25]

Таким образом предлагаемое конструктивное выполнение рукавного фильтра для очистки газов от пыли обеспечивает эффективность осаждения частиц пыли в бункере на 30-50% от входной концентрации. Это позволяет уменьшить концентрацию пыли в газах, поступающих на рукавные фильтрующие элементы, тем самым снизить частоту их регенерации в 2 раза, увеличить срок их службы в 1,5 раза. Остаточная запыленность газов уменьшается на 25-50%. Предлагаемый рукавный фильтр по сравнению с прототипом проще в изготовлении.

Как компенсировать расходы
на инновационную разработку
Похожие патенты