Изобретение относится к электротехнике, в частности к
конденсаторостроению. Согласно изобретению конденсатор с двойным электрическим слоем содержит
один из электродов, выполненный из пористого углеродного материала, а другой электрод выполнен из
материала, содержащего сульфат свинца. Техническим результатом изобретения является улучшение
удельных характеристик и снижение стоимости конденсатора. 4 з.п. ф-лы, 3 ил.
1. Конденсатор с двойным электрическим слоем, отличающийся тем, что он включает в себя по
меньшей мере один поляризуемый электрод, причем этот электрод выполнен из пористого
углеродного материала, неполяризуемый электрод, причем этот электрод выполнен из материала, содержащего сульфат
свинца и электролит в виде водного раствора, содержащего серную кислоту. 2. Конденсатор по п. 1, отличающийся тем, что он включает в себя токоотвод, имеющий защитный слой,
выполненный из графитовой фольги, пропитанной кислотостойким полимером. 3. Конденсатор по любому из предшествующих пунктов, отличающийся тем, что он содержит два поляризуемых
электрода, один неполяризуемый электрод и два сепаратора, расположенные в следующей
последовательности: первый поляризуемый электрод - первый сепаратор - неполяризуемый электрод - второй сепаратор
- второй поляризуемый электрод, причем оба поляризуемых электрода накоротко замкнуты
между собой. 4. Конденсатор по любому из предшествующих пунктов, отличающийся тем, что в
состав материала по меньшей мере одного электрода введен дисперсный полимерный
материал, например политетрафторэтилен или полиэтилен. 5. Конденсатор по любому из
предшествующих пунктов, отличающийся тем, что он подвергнут обжатию.
Изобретение относится к электротехнике, в частности к
конденсаторостроению, и может быть использовано для изготовления конденсаторов с высокой емкостью, использующих энергию двойного электрического слоя (ДЭС). Конденсаторы с ДЭС нашли применение в
качестве резервных источников питания в системах, требующих бесперебойного снабжения электроэнергией, таких как вычислительная техника, аппараты связи, станки с числовым программным управлением, в
производстве с непрерывным циклом; для электростартерного запуска двигателей внутреннего сгорания, для питания электродвигателей инвалидных колясок, тележек для гольфа и т.д. Известны
накопители электрической энергии в виде конденсаторов с двойным электрическим слоем (ДЭС), например, описанные в патентах США 4313084 (1982) и 4562511 (1985). Эти конденсаторы состоят из двух
пористых
поляризуемых электродов, между которыми расположен пористый сепаратор из диэлектрического материала, а также из токоотводов. Жидкий раствор электролита, в качестве которого используют
неводные, водные,
в том числе водный раствор серной кислоты, находится в порах электродов, сепаратора и в некотором свободном объеме внутри корпуса конденсатора. Электрический заряд накапливается на
межфазной
поверхности в порах между материалом электрода и электролитом. В качестве материалов для изготовления поляризуемых электродов обычно используют различные пористые углеродные материалы. Для
увеличения
емкости конденсатора с двойным электрическим слоем эти углеродные материалы подвергают предварительной активации с целью увеличения их площади удельной поверхности вплоть до 300-3000 м2
/г. Конденсаторы с ДЭС обладают намного большей емкостью по сравнению с обычными пленочными и электролитическими конденсаторами - до нескольких десятков фарад на грамм активных
электродных материалов. Однако недостатком этих конденсаторов является довольно низкая удельная энергия - не более 3 Вт•ч/л. Причем максимальные значения удельной энергии имеют место для
двойнослойных конденсаторов с неводными электролитами, для которых максимальные значения напряжения равны 3-3,5 В. Однако такие конденсаторы позволяют реализовывать очень маленькие значения
разрядного
и зарядного токов вследствие очень низких значений удельной электропроводности неводных электролитов. Для двойнослойных конденсаторов с водными электролитами, имеющими максимальные
значения напряжения
~ 0,8 В, достигаются еще меньшие значения удельной энергии - 0,5-2 Вт•ч/л. При нахождении же в заряженном состоянии таких двойнослойных конденсаторов значительное время (а
это время часто
бывает довольно большим) при величинах напряжения больших, чем 0,8 В, происходит заметное окисление положительного углеродного электрода. Наиболее близким к заявляемому
изобретению по
технической сущности и достигаемому эффекту является конденсатор с ДЭС [Заявка WO 97/07518 от 27.02.97 г. ] , имеющий поляризуемый электрод, выполненный из волокнистого углеродного
материала, и
неполяризуемый, выполненный из оксида никеля. В качестве электролита используется водный раствор карбоната или гидроксида щелочного металла. Такой конденсатор дает значительно большее по
сравнению с
двойнослойным конденсатором с двумя поляризуемыми электродами значение удельной энергии (максимально - 45 Дж/см3 или 12,5 Вт•ч/л) и максимальное напряжение 1,4 В.
Однако данный конденсатор имеет ряд недостатков, таких как недостаточно высокая удельная энергия и высокая стоимость, обусловленная использованием больших количеств оксида никеля.
Задачей изобретения является создание конденсатора с ДЭС с увеличенной удельной энергией. Другой задачей является снижение стоимости изготовления конденсатора.
Решение
этих задач достигается описываемым далее изобретением, сущность которого заключается в выполнении в конденсаторе поляризуемого электрода из пористого углеродного материала, а неполяризуемого
электрода
из материала, включающего в качестве активного компонента сульфат свинца, а также в использовании в качестве электролита водного раствора, содержащего серную кислоту.
Предпочтительно,
чтобы конденсатор включал в себя токоотвод, имеющий защитный слой, выполненный из графитовой фольги, припитанной кислотостойким полимером. Целесообразно, чтобы
конденсатор содержал два
поляризуемых электрода, один неполяризуемый электрод и два сепаратора, расположенные в следующей последовательности: первый поляризуемый электрод / первый сепаратор
/ неполяризуемый электрод / второй
сепаратор / второй поляризуемый электрод; причем оба отрицательных электрода накоротко замкнуты между собой. При таком расположении электродов и сепараторов
удельная емкость поляризуемого
(отрицательного) электрода существенно меньше, чем у неполяризуемого (положительного) электрода, поэтому суммарная толщина отрицательного электрода значительно больше,
чем у положительного электрода.
Вследствие этого предлагаемое здесь разбиение одного отрицательного электрода на два электрода половинной толщины обеспечивает практически двукратное уменьшение
омических потерь энергии при достаточно
больших плотностях тока. Целесообразно, чтобы в состав материала одного или всех электродов вводился дисперсный полимерный материал, например
политетрафторэтилен или полиэтилен. Это,
во-первых, позволяет изготавливать отрицательный электрод не только из волокнистого углеродного материала (например, углеродной ткани, как в известном
конденсаторе (заявка WO 97/07518), но и на основе
углеродных порошков с использованием полимерного связующего. Последний электрод является значительно более дешевым. Во-вторых, использование
полимерного связующего позволяет повысить прочность как
отрицательного, так и положительного (сульфатносвинцового) электродов. Целесообразно, чтобы один конденсатор или батарея
конденсаторных элементов были сжаты между силовыми крышками
корпуса. Это, во-первых, обеспечивает существенное снижение внутреннего сопротивления конденсатора, особенно при использовании
отрицательных электродов из углеродной ткани или войлока, и, во-вторых,
предотвращает осыпание активной массы положительного электрода, которое служит одной из основных причин, ограничивающих
циклируемость конденсаторов с ДЭС, выполненных согласно WO 97/07518. Благодаря
указанным техническим решениям удается существенно повысить удельную энергию и уменьшить стоимость конденсаторов.
Увеличение удельной энергии обеспечивается за счет повышения начального разрядного
напряжения до 2,0 В за счет увеличения электропроводности сернокислотного электролита по сравнению со щелочным в 1,5
раза. Стоимость конденсатора с ДЭС, выполненного в соответствии с данным
изобретением, уменьшается за счет использования электрода из сульфата свинца, который значительно дешевле оксида никеля. Применение в качестве активного материала положительного
электрода сульфата свинца обеспечивает возможность использования в качестве электролита разбавленной серной кислоты, что существенно
облегчает сборку данных конденсаторов с ДЭС. На
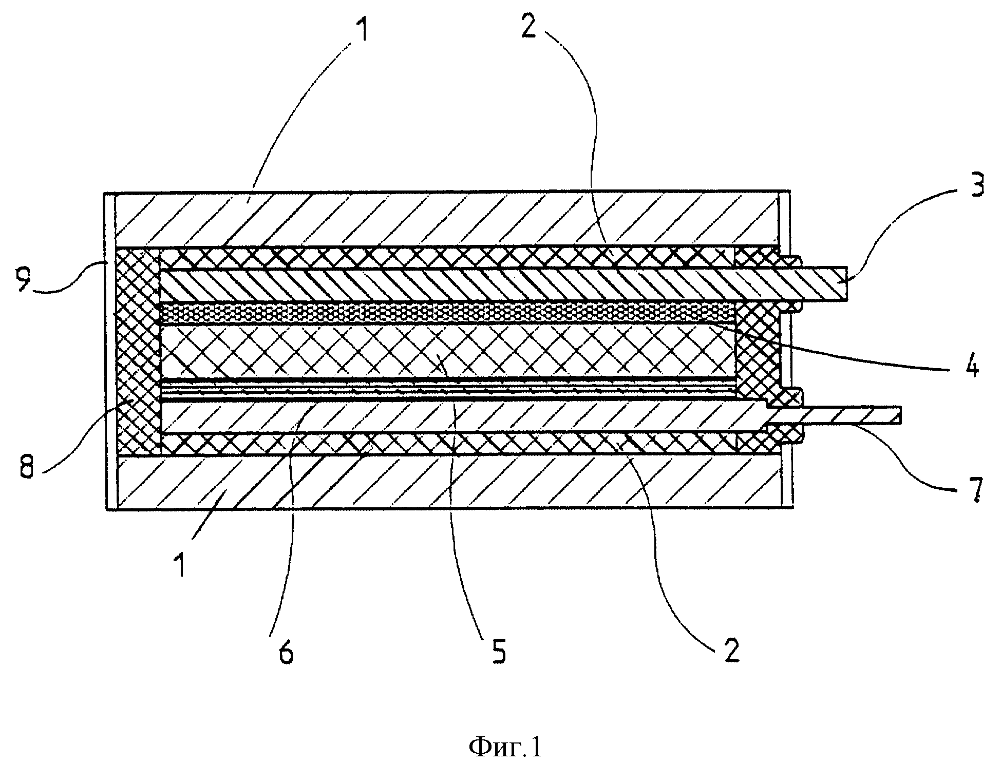
фиг. 1 изображен конденсатор, выполненный в соответствии с настоящим изобретением. На фиг.2 представлены зависимости
напряжения и потенциалов электродов от времени разряда. На фиг.3 изображена схема батареи конденсаторов, собранной из элементов, выполненных в соответствии с настоящим изобретением. Позициями на фигурах обозначены: Пример 1. Был изготовлен в соответствии с настоящим изобретением конденсатор с двойным электрическим слоем
(фиг.1), состоящий из отрицательного электрода (5) в
виде 16 слоев активированной углеродной ткани типа "Вискумак" с удельной поверхностью 1200 м2/г и толщиной каждого слоя 300 мкм;
положительного электрода толщиной 2 мм (7) с активной массой,
содержащей сульфат свинца, впрессованной в решетку из сплава, содержащего 95% свинца и 5% сурьмы; пористого сепаратора (6) марки ФПП-20СА,
изготовленного из перхлорвинила с суммарной толщиной 120 мкм;
токоотводов (3 и 4) и элементов корпуса (1, 9), изготовленных из листовой стали толщиной: крышки - 3 мм, силовые боковины - 0,3 мм;
неэлектропроводного герметика (8). Пористые
отрицательный и положительный электроды и пористый сепаратор пропитаны электролитом - водным раствором серной кислоты плотностью 1,05
г/см3. Защитный слой токоотвода (4) выполнен из
пропитанной кислотостойким полимером графитовой фольги толщиной 0,3 мм, которая приклеена в нескольких точках к металлическому электроду
токоотвода. Оба электрода выполнены в форме пластин с размерами
123•143 мм. Комплект из электродов и сепаратора был подвергнут обжатию давлением, равным 10 кг/см2.
На фиг.2 изображены зависимости напряжения (Uс) и
потенциалов положительного (Еа) и отрицательного (Ек) электродов (относительно водородного электрода в том же растворе) от времени разряда
t. Эти разрядные кривые измерены при температуре 20oС и токе 10 А. Полученные указанные зависимости позволяют сделать следующие выводы: 2) Потенциал отрицательного электрода почти по линейному закону возрастает в процессе разряда вплоть до Е ~ 1,0 В.
3) В результате разрядная кривая в интервале напряжений,
меньших 1,8 В, имеет вид, близкий к линейному, свойственный конденсаторам. 4) Максимальное значение напряжения (Umax
) приблизительно равно 2 В. Поскольку при
потенциалах, больших 1 В, углеродные электроды окисляются с заметной скоростью, то минимальное разрядное напряжение Umin
получается для условия (Е-)max= 1 В. Из фиг.2
видно, что для данного конденсатора получается Umin=0,7 В. В результате испытаний были получены
следующие характеристики: удельная энергия 53,4 Вт•ч/л, количество
полученных зарядно-разрядных циклов 6500 (после этого испытания продолжались). Пример 2. Была
изготовлена батарея конденсаторов с ДЭС, состоящая из семи соединенных
последовательно одинаковых единичных конденсаторов, выполненных согласно данному изобретению и сжатых друг с другом между
силовыми крышками корпуса и несущими боковинами. На фиг.3 изображена схема
такой батареи конденсаторов Каждый элементарный конденсатор состоит из двух одинаковых отрицательных электродов и
расположенного между ними одного положительного электрода. Положительный электрод
вложен в конверт из сепаратора. Оба отрицательных электрода электрически замкнуты между собой посредством внешней
коммутации. Внешние габариты всей сборки 130•150•64,4 мм. Отрицательный
электрод изготовлен путем прессования и спекания шихты, состоящей из 8 мас.% порошкообразного полиэтилена и 92
мас.% активированного углеродного порошка марки АГ-3 с удельной поверхностью 1100 м2/г. Толщина этого электрода 3 мм. Положительный электрод состоит из решетки, выполненной из сплава,
содержащего 95% свинца и 5% сурьмы. Внутрь ячеек решетки вмазана шихта, состоящая из 93%
сульфата свинца и 7% политетрафторэтилена. Использовался сепаратор марки ФПП-20СА толщиной 60 мкм,
изготовленный из перхлорвинила. Защитные слои токоотводов отрицательных электродов выполнены
аналогично примеру 1. В результате испытаний были получены следующие характеристики:
удельная энергия при разрядном токе 2,5 А составляла 51 Вт•ч/л, количество полученных
зарядно-разрядных циклов 6500, внутреннее сопротивление 18 мОм. Промышленная
применимость. Использование изобретения позволяет по сравнению с известными конденсаторами
с ДЭС в несколько раз увеличить удельную емкость и уменьшить стоимость. Заявляемый
конденсатор позволяет производить последовательные и параллельные соединения элементов и создавать на его базе
различные конденсаторные батареи.
1
- силовая крышка корпуса конденсатора; 2 - изолятор, препятствующий электрическому замыканию электродов конденсатора; 3 - металлический
токоотвод; 4 - защитный слой токоотвода, выполненный из
графитовой фольги; 5 - отрицательный поляризуемый углеродный пористый электрод; 6 - электрононепроводящий сепаратор; 7 - положительный электрод;
8 - кислотостойкий герметик; 9 - силовые стенки
корпуса.
1) Потенциал положительного
электрода очень мало уменьшается в процессе разряда.