патент
№ RU 2176838
МПК H01S3/095

УСТРОЙСТВО ДЛЯ ПОЛУЧЕНИЯ СИНГЛЕТНОГО КИСЛОРОДА

Авторы:
Выскубенко Б.А. Ильин С.П. Колобянин Ю.В.
Все (5)
Номер заявки
2000118478/28
Дата подачи заявки
11.07.2000
Опубликовано
10.12.2001
Страна
RU
Как управлять
интеллектуальной собственностью
Чертежи 
1
Реферат

[25]

Изобретение относится к области квантовой электроники, преимущественно к химическим лазерам, и может быть использовано в химическом кислород-йодном лазере. Устройство для получения синглетного кислорода включает корпус химического реактора, источник хлора, устройство впрыска, соединенное с источником смеси перекиси водорода с щелочью, выполненное в виде полого ротора с отверстиями в стенке, коллектор для отработанной смеси, устройство вывода синглетного кислорода. Устройство для получения синглетного кислорода снабжено средством перемещения жидкости, выполненным в виде многозаходного винта на внешней поверхности ротора. Жидкостный насос установлен в корпусе реактора на валу ротора с возможностью размещения его рабочего колеса между любым из торцов ротора и устройством для отработанной жидкости. Технический результат изобретения: повышение производительности и надежности работы устройства для получения синглетного кислорода. 2 ил.

Формула изобретения

Устройство для получения синглетного кислорода, включающее корпус химического реактора, источник газообразного хлора, устройство впрыска, соединенное с источником смеси перекиси водорода с щелочью, установленное в корпусе реактора и выполненное в виде полого ротора с отверстиями в стенке, коллектор для сбора и отвода отработанной смеси и устройство вывода синглетного кислорода, отличающееся тем, что оно снабжено средством перемещения жидкости, выполненным в виде многозаходного винта на внешней поверхности ротора, и жидкостным насосом, установленным в корпусе реактора на валу ротора с возможностью размещения его рабочего колеса между любым из торцов ротора и устройством для сбора и отвода отработанной жидкости.

Описание

[1]

Область применения
Изобретение относится к области квантовой электроники, преимущественно к химическим лазерам, и может быть использовано в химическом кислородно-йодном лазере (КИЛ).

[2]

Уровень техники
Известен компактный пленочный генератор синглетного кислорода (ГСК) с вращающимися дисками [1]. В этом генераторе множество тонких дисков скреплены вместе с промежутком 2 - 3 мм и частично погружены в щелочной раствор перекиси водорода. Диски вращаются со скоростью около 20 об/мин и смачиваются щелочным раствором перекиси водорода, в результате чего на поверхности дисков образуется пленка жидкости толщиной около 0.03 см. Газообразный хлор, проходя в промежутках между дисками, взаимодействует с пленкой щелочного раствора перекиси водорода и образует синглетный кислород со степенью возбуждения от 40% до 60% при степени утилизации хлора до 90%. Общее давление газа в генераторе составляет от 40 до 60 Торр. Для уменьшения релаксационных потерь синглетного кислорода хлор перед подачей в реакционную зону дискового генератора предварительно смешивают с гелием в молярном соотношении He:Cl2= 3-4, поэтому генератор производит синглетный кислород с парциальным давлением не более 10-15 Торр. Удельная производительность синглетного кислорода в таком реакторе не превышает 1.5 ммоль/с•см2. Главный недостаток пленочного дискового реактора обусловлен быстрой выработкой пленки рабочего раствора при увеличении давления и скорости газа. Увеличение скорости обмена раствора путем повышения частоты вращения дисков приводит к срыву пленки с торцов диска и появлению аэрозоля на выходе ГСК, что ограничивает производительность реактора, а при его использовании совместно с лазером - к увеличению уровня нерезонансных потерь в резонаторе лазера и уменьшению его КПД.

[3]

Известен струйный генератор синглетного кислорода (СГСК), в котором струи щелочного раствора перекиси водорода взаимодействуют с потоком газообразного хлора [2]. На основе этой идеи могут быть реализованы три различные схемы непрерывного СГСК, отличающиеся направлениями движения потоков щелочного раствора перекиси водорода и хлора: спутная, поперечная и встречная [3] . Наиболее эффективной к настоящему времени считается встречная схема СГСК, т. к. при таком движении реагентов более полно осуществляется сепарация мелких капель жидкости, поскольку требуется определенное время на их торможение, и они значительно в меньшей степени увлекаются встречным газовым потоком. Кроме того, струи раствора в верхней части реактора работают как эффективный теплообменник, стабилизируя температуру газа на уровне температуры жидкости (Т = -20 - -15oC), обеспечивая тем самым, малое содержание паров воды на выходе СГСК. Длина реакционной зоны выбирается такой, чтобы степень переработки хлора была выше 95%, а концентрация синглетного кислорода на выходе СГСК не ниже 60%. Обычно длина реакционной зоны составляет величину ~ 10 см. В работе [4] скорость газового потока в реакционной зоне СГСК достигала 37 м/с при суммарном давлении в реакторе ~ 100 Торр и парциальном давлении синглетного кислорода около 20 Торр при удельной производительности синглетного кислорода около 7 ммоль/с•см2. Струйный генератор синглетного кислорода высокого давления имеет ряд преимуществ по сравнению с предыдущим аналогом - дисковым пленочным ГСК: более высокие значения парциального давления и удельной производительности синглетного кислорода, отсутствие вращающихся частей. Основными недостатками струйного ГСК являются ограничение в производительности реактора и низкая надежность, особенно в области максимальных выходных параметров, связанные с невозможностью увеличения скорости газа в реакторе выше ~ 40 м/с из-за разрушения струй и резкого увеличения содержания аэрозоля на выходе реактора.

[4]

Известно устройство для получения синглетного кислорода [5], включающее корпус химического реактора, источник газообразного хлора, источник смеси перекиси водорода со щелочью, устройство для впрыска смеси, установленное в корпусе реактора, и устройство вывода синглетного кислорода из реактора. Устройство для впрыска смеси выполнено в виде полого ротора с отверстиями в его стенке, соединенного с источником смеси, корпус реактора содержит коллектор для сбора и отвода отработанной смеси, а на выходе реактора установлено устройство для трансформации вращательного движения газа в поступательное вдоль оси реактора. Получение синглетного кислорода основано на взаимодействии в химическом реакторе газообразного хлора со струями смеси перекиси водорода со щелочью с последующим отделением полученного синглетного кислорода от аэрозоля и жидкости. Отделение синглетного кислорода осуществляют одновременно со смешением взаимодействующих компонентов в поле центробежных сил, направленных перпендикулярно потоку смешиваемых компонентов. Поле центробежных сил создают в химическом реакторе путем вращательного движения смешиваемых компонентов, а отработанную смесь удаляют из пристеночного слоя реактора, причем ось вращения совпадает с осью химического реактора. Описанное устройство получило в литературе название генератора синглетного кислорода с аэрозольным закрученным потоком газа (AЗ ГСК) [6] . В настоящее время этот реактор обладает самыми высокими в мире характеристиками среди реакторов всех известных типов: уровень давлений синглетного кислорода - до 150 Торр и выше, химическая эффективность - до 75 %, степень возбуждения кислорода - до 70%, степень переработки хлора - более 95%, максимальная скорость газа в реакторе - до 85 м/с. Удельная производительность синглетного кислорода в таком реакторе достигает около 15 ммоль/с•см2. По технической сущности данное устройство наиболее близко к предлагаемому техническому решению и поэтому выбрано в качестве прототипа. Дальнейшему повышению производительности устройства препятствует недостаточная скорость удаления отработанной смеси перекиси водорода со щелочью из химического реактора, что приводит, начиная с определенного расхода жидкости, к переполнению реактора и появлению жидкости на выходе устройства. Это ограничивает производительность устройства для получения синглетного кислорода и снижает надежность его работы.

[5]

Сущность изобретения.

[6]

Техническая задача предлагаемого изобретения состоит в увеличении скорости удаления отработанной смеси перекиси водорода со щелочью из устройства для получения синглетного кислорода.

[7]

Технический результат - повышение производительности и надежности работы устройства для получения синглетного кислорода.

[8]

Это достигается тем, что в известном устройстве генератора синглетного кислорода, включающем корпус химического реактора, источник газообразного хлора, устройство впрыска, соединенное с источником смеси перекиси водорода со щелочью, установленное в корпусе реактора и выполненное в виде полого ротора с отверстиями в стенке, коллектор для сбора и отвода отработанной смеси и устройство вывода синглетного кислорода, отличительным является то, что оно снабжено средством перемещения жидкости, выполненным в виде многозаходного винта на внешней поверхности ротора, и жидкостным насосом, установленным в корпусе реактора на валу ротора с возможностью размещения его рабочего колеса между любым из торцов ротора и устройством для сбора и отвода отработанной жидкости.

[9]

Указанные отличия позволяют создать высокопроизводительное и высоконадежное устройство для получения синглетного кислорода с более высокими эксплуатационными характеристиками, чем у прототипа.

[10]

Не обнаружены устройства для получения синглетного кислорода, которые снабжены средством перемещения жидкости, в частности выполненные в виде многозаходного винта на внешней поверхности ротора. При вращении винтовые поверхности ротора перемещают жидкость в корпусе реактора к одному из торцов ротора (в зависимости от закрутки винта и направления вращения ротора), и, тем самым, эффективно удаляют отработанную жидкость из реакционной зоны, препятствуя переполнению реактора при больших расходах жидкости, чем у прототипа. Следует отметить, что выполнение ротора с профилированными вдоль потока смеси лопастями в прототипе предназначено для придания смешиваемым компонентам вращательного движения и не служит для перемещения жидкости в реакторе. В предлагаемом же техническом решении наличие средства перемещения жидкости позволяет не только увеличить скорость удаления отработанной жидкости, но и увеличить расход жидкости без переполнения реактора. Это позволяет переработать в том же химическом реакторе большее количество газообразного хлора и получить на выходе реактора большее количество синглетного кислорода, т.е. повысить производительность и надежность устройства в целом.

[11]

Не обнаружены устройства для получения синглетного кислорода, которые снабжены жидкостным насосом, установленным в корпусе реактора на валу ротора с возможностью размещения его рабочего колеса между любым из торцов ротора и устройством для сбора и отвода отработанной жидкости. Использование такого технического решения позволяет подать отработанную жидкость непосредственно с винтовых поверхностей ротора на вход рабочего колеса жидкостного насоса, а с выхода насоса - непосредственно в коллектор для сбора и отвода отработанной смеси, минимизирует протяженность тракта удаления жидкости, уменьшает гидравлические потери и, тем самым, значительно повышает скорость удаления отработанного щелочного раствора перекиси водорода из химического реактора, исключает его переполнение рабочей жидкостью. Это дает возможность увеличить по сравнению с прототипом расход рабочей жидкости через реактор, переработать в том же химическом реакторе большее количество газообразного хлора и получить на выходе реактора большее количество синглетного кислорода, т.е. повысить производительность устройства в целом. Одновременно это позволяет предотвратить переполнение химического реактора рабочей жидкостью при значительно больших расходах по сравнению с прототипом и, тем самым, повысить надежность устройства. Установка рабочего колеса жидкостного насоса непосредственно на валу ротора химического реактора позволяет использовать для привода жидкостного насоса привод реактора и, тем самым, упрощает конструкцию устройства для получения синглетного кислорода, сокращает до минимума количество подвижных частей устройства, что повышает его надежность.

[12]

Реализация предлагаемого технического решения возможна в двух различных вариантах размещения жидкостного насоса и коллектора для сбора и отвода отработанной смеси перекиси водорода со щелочью относительно устройства вывода синглетного кислорода из химического реактора. В первом варианте рабочее колесо жидкостного насоса установлено со стороны торца ротора, противоположного устройству вывода синглетного кислорода. В этом варианте направления движения потоков рабочей жидкости и газа в реакторе противоположны. Это позволяет предотвратить попадание рабочей жидкости в выходной поток синглетного кислорода вплоть до максимальных расходов жидкости и повысить надежность работы устройства, но из-за перемещения газа вращающимися винтовыми поверхностями ротора давление газа в реакторе падает вдоль ротора от входа к выходу, что приводит к некоторому повышению релаксационных потерь запасенной энергии в синглетном кислороде и, соответственно, уменьшению производительности устройства. Во втором варианте рабочее колесо жидкостного насоса установлено со стороны торца ротора, примыкающего к устройству вывода синглетного кислорода. В этом случае направления движения потоков рабочей жидкости и газа в реакторе совпадают. Давление газа вдоль ротора увеличивается от входа к выходу, что благоприятно сказывается на сохранении запасенной электронной энергии в синглетном кислороде и повышении производительности реактора. В то же время надежность этого варианта реактора может несколько снизиться по сравнению с предыдущим вариантом из-за большей вероятности попадания жидкости в выходной поток синглетного кислорода, т.к. устройство вывода синглетного кислорода и коллектор для сбора и отвода отработанной смеси расположены пространственно значительно ближе друг к другу, чем в первом варианте, а потоки жидкости и газа двигаются в одном направлении. В зависимости от назначения устройства для получения синглетного кислорода предпочтительным будет один или другой вариант устройства, но в любом из вариантов исполнения и производительность и надежность предлагаемого устройства будут заметно выше, чем у прототипа.

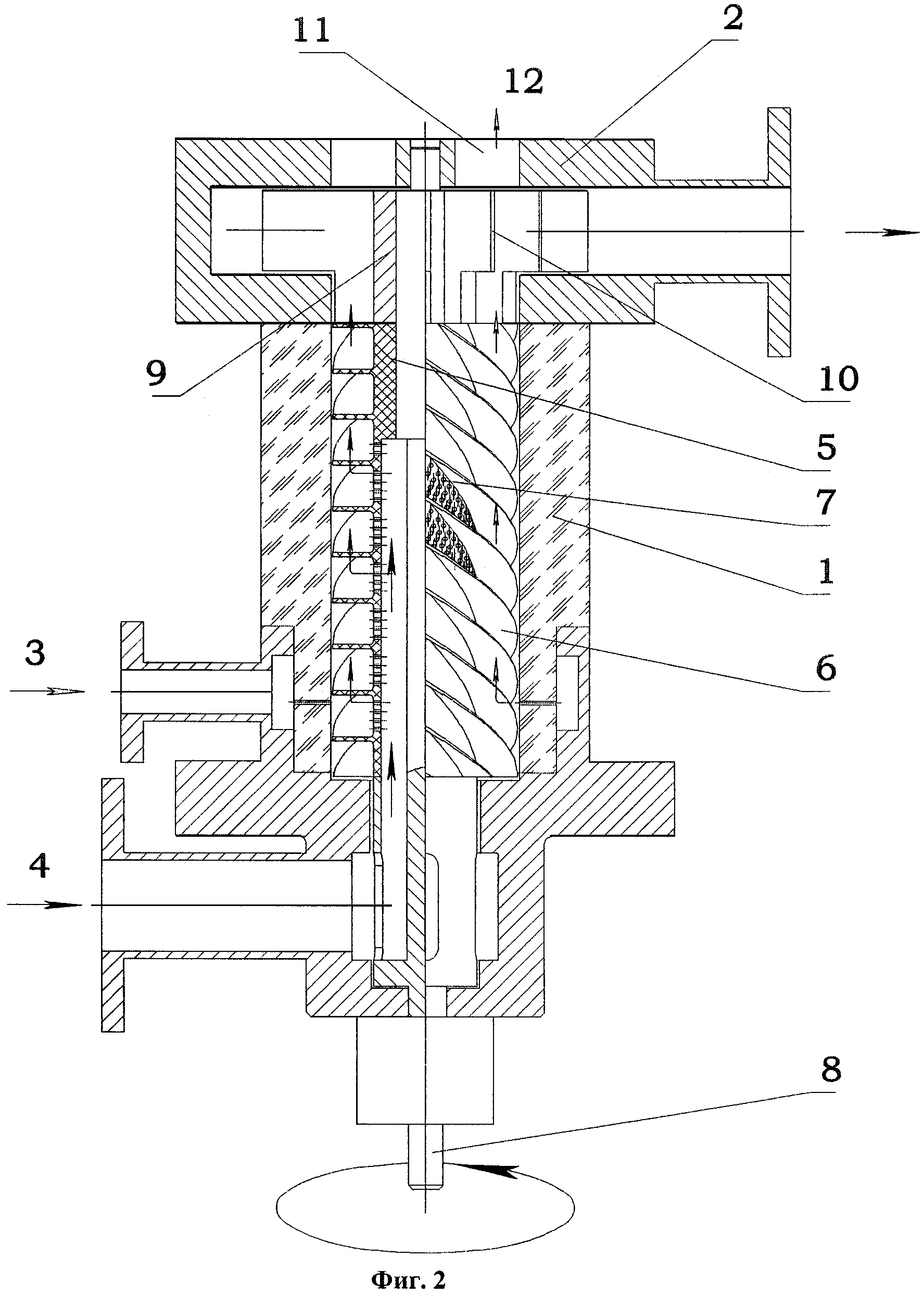
[13]

Заявляемое устройство для получения синглетного кислорода поясняется чертежами, представленными на фиг. 1 и фиг. 2, где: 1 - корпус химического реактора; 2 - коллектор для сбора и отвода отработанной смеси; 3 - источник газообразного хлора; 4 - источник смеси перекиси водорода со щелочью; 5 - многозаходный винтовой полый ротор; 6 - винтовые поверхности ротора; 7 - отверстия в стенке ротора; 8 - устройство привода ротора; 9 - жидкостный насос; 10 - рабочее колесо жидкостного насоса; 11 - устройство вывода синглетного кислорода; 12 - поток синглетного кислорода.

[14]

Устройство для получения синглетного кислорода, изображенное на фиг. 1, включает корпус химического реактора 1 с коллектором для сбора и отвода отработанной смеси перекиси водорода со щелочью 2. Химический реактор 1 соединен с источником газообразного хлора 3 и источником смеси перекиси водорода со щелочью 4. В корпусе химического реактора 1 установлено устройство для впрыска смеси перекиси водорода со щелочью, выполненное в виде многозаходного винтового полого ротора 5 с винтовыми поверхностями 6 и отверстиями в его стенке 7, соединенное с источником смеси 4 и устройством привода ротора 8. На валу ротора 5 между торцом ротора, противоположным устройству для вывода синглетного кислорода 11, и коллектором для сбора и отвода отработанной смеси 2 установлено рабочее колесо 10 жидкостного насоса 9. Во втором варианте исполнения устройства для получения синглетного кислорода, изображенном на фиг. 2, рабочее колесо 10 жидкостного насоса 9 установлено между торцом ротора 5, примыкающим к устройству для вывода синглетного кислорода 11, и коллектором для сбора и отвода отработанной смеси 2.

[15]

Устройство для получения синглетного кислорода работает следующим образом. В химическом реакторе 1 приводят во вращательное движение с частотой 40-60 Гц ротор 5 с помощью устройства привода 8, например, электродвигателя. От источника 3 в химический реактор 1 подают газообразный хлор, а от источника 4 - жидкую смесь перекиси водорода со щелочью. Смесь 4 подают под давлением во внутреннюю полость многозаходного винтового ротора 5, а затем вводят в реактор 1 в виде струй и/или аэрозоля через отверстия 7 в боковой поверхности ротора 5. В результате химической реакции между хлором 3 и смесью перекиси водорода со щелочью 4 образуется синглетный кислород 12 (кислород, возбужденный на первый электронный уровень), который выводят из химического реактора 1 через устройство вывода 11. Отработанная смесь перекиси водорода со щелочью 4 образует на стенке реактора 1 слой жидкости. Вращающийся в корпусе реактора 1 ротор 5 с винтовыми поверхностями 6 представляет собой винтовой насос, который удаляет отработанную смесь 4 с цилиндрической внутренней стенки реактора 1 на вход жидкостного насоса 9, например центробежного. С помощью вращающегося вместе с ротором 5 рабочего колеса 10 жидкостного насоса 9 отработанная смесь 4 удаляется из реактора 1 через коллектор для сбора и отвода отработанной смеси 2. Хлор 3 практически полностью (более чем на 95%) вырабатывается в реакторе 1 при взаимодействии со смесью перекиси водорода со щелочью 4, и, таким образом, на выходе устройства образуется газовый поток 12, состоящий преимущественно (на 70-75% и более) из синглетного кислорода.

[16]

В РФЯЦ - ВНИИЭФ проведена конструкторская проработка предлагаемого устройства для получения синглетного кислорода и изготовлен его действующий макет. Испытания макета устройства показали, что удельная производительность синглетного кислорода составила свыше 18 ммоль/с•см2, т. е. выросла по сравнению с прототипом более чем на 20%.

[17]

Предлагаемое устройство для получения синглетного кислорода обладает рядом дополнительных преимуществ по сравнению с существующими аналогами. Во-первых, давление отработанной жидкости на его выходе превышает атмосферное, что значительно облегчает организацию рециркуляции рабочего раствора при долговременной работе устройства и расширяет номенклатуру жидкостных насосов, пригодных для перекачки рабочей жидкости в кислородно-йодном лазере. Во-вторых, оно обладает более высокими эксплуатационными характеристиками, поскольку его работа не зависит от наличия и направления силы тяжести.

[18]

Благодаря высокой производительности и надежности, предлагаемое устройство для получения синглетного кислорода найдет широкое применение в технологических кислородно-йодных лазерах, а также в области охраны окружающей среды, например для очистки питьевой воды.

[19]

Источники информации
1. G. M. Harpole, W.D. English, J.O. Berg, and D.J. Miller, "A rotating disk oxygen generator", AIAA Paper 92-3006, presented at the 23rd Plasmadynamics and Laser Conference, 6 July 1992, Nashville, TN, USA.

[20]

2. Н.Ф. Балан, M.B. Загидуллин, А.Ю. Куров, В.Д. Николаев, М.И. Свистун, "Генератор O2(1Δ) высокого давления". Письма в ЖТФ, том 15, вып. 18, с. 64, 1989.

[21]

3. M. V. Zagidullin, A.Yu. Kurov, N.L. Kupryanov, V.D. Nikolaev, M.I. Svistun, and N.V. Erasov, "Highly efficient jet O2 (1Δ) generator", Sov. J. Quantum Electronics, vol. 21, N 7, pp. 747-753 (1991).

[22]

4. W. E. McDermott, J. C. Stephens, J. Vetrovec, and R.A. Dickerson, "Operating experience with high throughput jet generator", SPIE Proc., vol. 2987 (1997).

[23]

5. Патент РФ N 2091939 "Способ получения синглетного кислорода и устройство для его осуществления", Б.А. Выскубенко, В.Ф. Герасименко, И.М. Круковский, опубл. 27.09.97, Бюл. N 27.

[24]

6. F. Wani, M. Endo, B.A. Vyskubenko, S.P. Ilyin, I.M. Krukovsky, S. Takeda, and T. Fujioka, "Parametric Study of a Twisted Aerosol - Type Singlet Oxygen Generator", IEEE Journal of Quantum Electronics, v. 34, N 11, p. 2130 (1998).

Как компенсировать расходы
на инновационную разработку
Похожие патенты