Полезная модель относится к строительству, а в частности к опорным конструкциям инженерных сетей, связи, кабельных, технологических и сантехнических коммуникациий (трубопроводов), к эстакадам. Ростверк фундамента содержит основание со сквозными отверстиями диаметром d1 и со шпильками диаметром d2, установленными перпендикулярно основанию и жестко соединенными с ним сваркой. Размещение в основании сквозных отверстий диаметром d1 выполнено по проектной схеме размещения анкерных болтов на верхней поверхности железобетонного монолитного фундамента для двухстоечной пространственной фермы, а размещение в основании шпилек диаметром d2 выполнено в соответствии с установочной схемой присоединения одностоечной колонны и проектной схемой соответственно. Поверхность ростверка покрыта горячим цинкованием и огнезащитным покрытием. Диаметры отверстий d1 и d2 могут быть равны или различаться. Конструкция ростверка простая, легко и быстро монтируется под требуемую проектную схему за счет того, что ростверк полной заводской готовности, устанавливается без разрушения существующего фундамента с сохранением его надежности и без изменения проектной документации. 5 ил. 
1. Ростверк фундамента, содержащий основание со сквозными отверстиями диаметром d1 и со шпильками диаметром d2, установленными перпендикулярно основанию и жестко соединенными с ним сваркой, отличающийся тем, что размещение в основании сквозных отверстий диаметром d1 выполнено по проектной схеме размещения анкерных болтов на верхней поверхности железобетонного монолитного фундамента для двухстоечной пространственной фермы, а размещение в основании шпилек диаметром d2 выполнено в соответствии с установочной схемой присоединения одностоечной колонны и проектной схемой соответственно. 2. Ростверк фундамента по п. 1, отличающийся тем, что поверхность ростверка покрыта горячим цинкованием и огнезащитным покрытием. 3. Ростверк фундамента по п. 1, отличающийся тем, что диаметры сквозных отверстий d1 и диаметры шпилек равны. 4. Ростверк фундамента по п. 1, отличающийся тем, что диаметры сквозных отверстий d1 и диаметры шпилек отличны друг от друга.
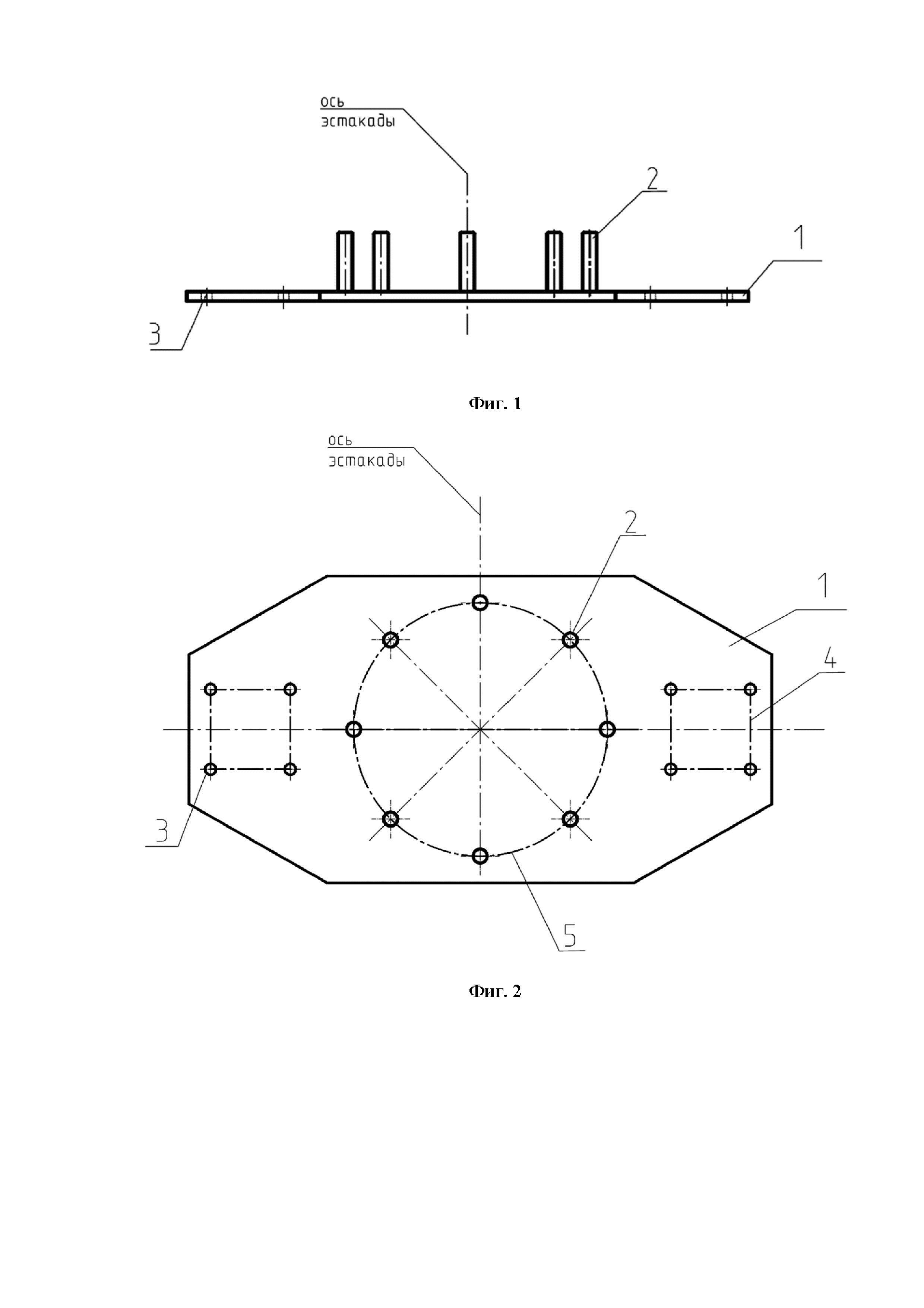
Полезная модель относится к строительству, а в частности к опорным конструкциям инженерных сетей, связи, кабельных, технологических и сантехнических коммуникаций (трубопроводов), к эстакадам. Известна конструкция насадки на сваи [SU 1384662 A1, Л. И. Гаранин], включающая трубчатый корпус, выполненный по длине составным из соединенных переходником верхней обоймы меньшего диаметра и нижней обоймы большего диаметра. Нижняя обойма выполнена разрезной по вертикали, и концы ее соединены криволинейными пластинами. Насадка снабжена замкнутым опорным кольцевым элементом, конфигурация полости которого соответствует конфигурации поперечного сечения ствола сваи, наклонными покосами, присоединенными внизу к опорному кольцевому элементу, и вертикальными, расположенными на расстоянии одна от другой по периметру корпуса связями, одни концы которых жестко прикреплены к кольцевому опорному элементу, а другие – к концам разрезной обоймы. Недостатком данной конструкции является то, что насадка устанавливается только на свайный фундамент и ее невозможно смонтировать на железобетонный монолитный фундамент с анкерными болтами без разрушения. Известно сопряжение стальной опоры с фундаментом посредством соединительных элементов, размещенных на башмаке стальной опоры, и закладных деталей фундамента, при этом с целью повышения удобства установки опоры в проектное положение соединительные элементы опорного башмака связаны с закладными деталями фундамента посредством стальных лент, расположенных, соответственно, между ними, и возможностью их независимого смещения во взаимно-перпендикулярных плоскостях [SU 468980 A1, А. П. Скворцов, В. А. Хилинский]. К недостатку известной конструкции можно отнести то, что сопряжение не универсальное, на фундамент можно установить только один тип опоры. Техническая проблема, на решение которой направлена полезная модель, заключается в сохранении надежности существующего железобетонного монолитного фундамента без его разрушения при установке на него одностоечной колонны, отличающейся от проектной схемы установочных размеров, без изменения проектной схемы размещения анкерных болтов в фундаменте ростверка, который закрепляют основанием к фундаменту анкерными болтами. При реализации полезной модели поставленная проблема решается за счет достижения технического результата, который заключается в повышении эффективности монтажа ростверка к фундаменту анкерными болтами. Указанный технический результат достигается тем, что конструкция ростверка фундамента содержит следующие элементы: основание со сквозными отверстиями диаметром d1 и со шпильками диаметром d2, шпильки установлены перпендикулярно основанию и жестко соединены сваркой. Размещение в основании сквозных отверстий с диаметром d1 выполнено по проектной схеме размещения анкерных болтов на верхней поверхности железобетонного монолитного фундамента для двухстоечной пространственной фермы, размещение в основании шпилек диаметром d2 выполнено в соответствии с установочной схемой присоединения одностоечной колонны. Поверхность ростверка покрыта горячим цинкованием и огнезащитным покрытием. Диаметры отверстий d1 и d2 могут быть равны или различаться. Заявленная конструкция ростверка фундамента позволяет быстро и легко устанавливать одностоечную колонну, у которой установочная схема отличается от проектной схемы размещения анкерных болтов, предназначенной для установки двухстоечной пространственной колонны без разрушения железобетонного монолитного фундамента и самой конструкции одностоечной колонны с сохранением их механической прочности. Ростверк – переходной узел для соединения железобетонного монолитного фундамента и металлической одностоечной колонны. Ростверк принимает и распределяет нагрузку на железобетонном монолитном фундаменте от колонны. Использование ростверка фундамента для установки строительных конструкций известно. Однако неизвестна конструкция ростверка фундамента для одностоечных колонн, включающая конфигурацию расположения сквозных отверстий диаметром d1 и конфигурацию расположения шпилек диаметром d2; конфигурация сквозных отверстий соответствует проектному положению, конфигурация расположения шпилек соответствует установочным размерам одностоечной колонны, как показано на фиг. 1-4. На фиг. 1 изображен ростверк фундамента для колонны. На фиг. 2 изображен ростверк фундамента для колонны, вид сверху. На фиг. 3 изображен ростверк фундамента для колонны, вид сбоку. На фиг. 4 изображен ростверк с установкой одностоечной колонны на существующий железобетонный монолитный фундамент, предназначенный для установки двухстоечной пространственной колонны. На фиг. 1 цифрами обозначены: 1 – основание ростверка для установки одностоечной колонны; 2 – шпилька диаметром d2; 3 – сквозное отверстие диаметром d1. На фиг. 2 цифрами обозначены: 1 – основание ростверка для установки одностоечной колонны; 2 – шпилька диаметром d2; 3 – сквозное отверстие диаметром d1; 4 – схема сквозных отверстий для проектного положения размещения анкерных болтов на верхней поверхности железобетонного монолитного фундамента для установки двухстоечной пространственной фермы; 5 – схема установочных размеров одностоечной колонны. На фиг. 3 цифрами обозначены: 1 – основание ростверка для установки одностоечной колонны; 2 – шпилька диаметром d2; 3 – сквозное отверстие диаметром d1. На фиг. 4 цифрами обозначены: 6 – болт для шпильки диаметром d2; 7 – анкерный болт в железобетонном монолитном фундаменте под отверстие диаметром d1; 8 – железобетонный монолитный фундамент; 9 – ростверк фундамента; 10 – одностоечная колонна диаметром D. На фиг. 5 цифрами обозначены: 6 – болт для шпильки диаметром d2; 7 – анкерный болт в железобетонном монолитном фундаменте под отверстие диаметром d1; 8 – железобетонный монолитный фундамент; 9 – ростверк фундамента; 10 – одностоечная колонна диаметром D. Ростверк конструктивно выполнен из одной пластины – основания 1 со сквозными отверстиями 3 и шпильками 2, шпильки 2 установлены перпендикулярно основанию 1 и жестко соединяются посредством сварного соединения. Пластина основания ростверка выполнена из листового горячекатаного проката, предпочтительно материал листа – сталь марки С335-5 или Ст309Г2С, AISI 304, AISI 316, AISI 321. Для основания толщина листа находится в диапазоне от 5 до 50 мм, предпочтительнее толщина листа 20 мм. Шпильки используются с резьбой М10, М12, М14, М16, М18, М20, М22, М24, М26, М28, М30, длиной от 30 до 200 мм. Поверхность всего ростверка покрывается горячим цинкованием методом погружения. Операции изготовления конструкции (фиг. 2) следующие. 1. Нарезают следующие элементы: одно основание 1, в виде восьмиугольника с заданными габаритными размерами, например 950×500×20 мм; восемь шпилек с резьбой, например М24, и длиной 70 мм. 2. Сверлят в основании 1 восемь сквозных отверстий, например, диаметром 20 мм. Схемы сквозных отверстий 4 на основании 1 ростверка ориентированы перпендикулярно оси эстакады. 3. К основанию 1 приваривают перпендикулярно восемь шпилек 2 (фиг. 2). 4. Поверхность ростверка покрывают горячеоцинкованным покрытием методом погружения. 5. Наносят на оцинкованный ростверк огнезащитное покрытие. Элементы, упомянутые в единственном числе, не исключают множественности элементов, если отдельно не указано иное. Несмотря на то, что конструкция осуществления была подробно описана и показана на сопроводительных чертежах, следует понимать, что такая конструкция является лишь иллюстрированной и что данная полезная модель не должна ограничиваться конкретными показателями и описанными компоновками и конструкциями, поскольку различные другие модификации могут быть очевидны специалистам в соответствующей области. Ростверк на фундамент можно устанавливать на верхнюю поверхность железобетонного монолитного фундамента основанием 1 путем нанизывания на анкерные болты железобетонного монолитного фундамента. Пример для пояснения сущности предложенного решения. 1. Существует железобетонный монолитный фундамент 8 с проектной схемой расположения анкерных болтов, например 4. 2. Необходимо установить металлическую одностоечную колонну 10, с отличающимися установочными размерами 5 от проектной схемы 4. 3. Варианты установки: срезать анкерные болты 7 на существующем железобетонном монолитном фундаменте 8, просверлить в фундаменте 8 перфоратором новые отверстия под анкерные болты согласно схеме по установочным размерам 5 сквозных отверстий металлической одностоечной колонны 10, закрепить анкерные болты в отверстиях; в процессе сверления появляется вибрация от перфоратора, которая разрушает фундамент 8, при этом образуются микротрещины, что снижает механическую прочность, а следовательно, и надежность фундамента; демонтировать старый фундамент 8 и смонтировать новый железобетонный фундамент со схемой размещения отверстий согласно установочным отверстиям металлической одностоечной колонны 5, при этом потребуется разработать новую проектную документацию, пройти государственную экспертизу и увеличить время строительно-монтажных работ, в итоге увеличится время ввода объекта в эксплуатацию; на сосуществующий железобетонный монолитный фундамент 8 устанавливается предложенный ростверк 9 путем нанизывания на отверстия в верхнем или нижнем основании ростверка на анкерные болты 7; жесткая фиксация ростверка осуществляется болтами, для исключения ослабления болтового соединения, из-за температурных расширений, используются стопорные шайбы; сверху на ростверк 9 устанавливается металлическая одностоечная колонна 10 со своей схемой установочных отверстий, при этом происходит сопряжение одностоечной колонны с фундаментом без его разрушения и снижения его надежности; в данном варианте отсутствуют временные затраты на демонтаж анкерных болтов и сверление фундамента, что сохранит механическую прочность, существующий фундамент не демонтируется, и не требуется разрабатывать новую проектную документацию, что в целом значительно сокращает время ввода объекта в эксплуатацию. Таким образом, представленная конструкция ростверка простая, легко и быстро монтируется под требуемую проектную схему за счет того, что ростверк полной заводской готовности, устанавливается без разрушения существующего фундамента с сохранением его надежности и без изменения проектной документации.