патент
№ RU 2172806
МПК E04B7/16

ВАНТОВАЯ УБИРАЮЩАЯСЯ КРЫША, УСТАНАВЛИВАЕМАЯ НАД ПОКРЫВАЕМЫМ КРЫШЕЙ УЧАСТКОМ (ВАРИАНТЫ)

Авторы:
Адам Т. ШИЛЬДЖЕ мл. (US)
Правообладатель:
Номер заявки
98109456/03
Дата подачи заявки
16.10.1996
Опубликовано
27.08.2001
Страна
RU
Дата приоритета
15.12.2025
Номер приоритета
Страна приоритета
Как управлять
интеллектуальной собственностью
Реферат

[106]

Изобретение относится к строительству, в частности к конструкции и способу монтажа каркасной крыши с большими пролетами. Технологическим результатом изобретения является создание большого прозрачного пролета над существующим или новым спортивным стадионом или ареной или другой конструкцией. Основной особенностью конструкции крыши является то, что она поддерживается вантами, присоединенными к башенным опорам с наружной стороны стадиона, без вертикальной нагрузки на существующий стадион. Конструкция представляет собой каркасную конструкцию и кровельное покрытие над ней. Покрытие изготавливается из прозрачного материала для обеспечения возможности пропускания достаточного света для игрового поля с травяным покрытием и убирается для создания открытого стадиона. 2 с. и 26 з.п.ф-лы, 26 ил.

Формула изобретения

1. Вантовая убирающаяся крыша, устанавливаемая над покрываемым крышей участком, включающая башенные опоры на противоположных сторонах покрываемого крышей участка; раму крыши, состоящую из разделенных интервалами удлиненных элементов, проходящих с башенных опор с противоположных сторон и разделенных интервалами поперечных элементов, проходящих между соседними удлиненными элементами, при этом удлиненные элементы, проходящие с противоположных сторон, выравниваются и встречаются на центральном участке крыше; ряд вант, проходящих к каждому удлиненному элементу крыши с одной или нескольких башенных опор для поддержания элемента; несущую конструкцию фиксированной крыши, установленную между удлиненными элементами крыши в боковом направлении и наружу центрального участка крыши для создания закрытых боковых участков крыши, которые закреплены, и открытого центрального участка крыши, который разделен на пролеты удлиненными элементами рамы крыши; несущую конструкцию убирающейся крыши, включающую в себя продольно движущиеся панельные конструкции крыши, расположенные над удлиненными и поперечными элементами рамы крыши и поддерживаемые удлиненными элементами при движении между положениями закрывания открытого центрального участка крыши и положениями, расположенными над боковыми участками крыши, для открывания открытого центрального участка, подвижные панельные конструкции крыши, каждая из которых охватывает пространство между соседними удлиненными элементами, посредством чего каждая такая панельная конструкция покрывает пространство между соседними удлиненными элементами, при этом панельные конструкции обеспечивают пространство между ними для вант для того, чтобы дать возможность панельным конструкциям двигаться продольно по удлиненным элементам; опоры на катках между несущей конструкцией убирающейся крыши и удлиненными элементами с целью облегчения скользящего движения несущей конструкции убирающейся крыши над открытым центральным участком.

2. Крыша по п.1, в которой средства с механическим приводом предусмотрены между несущей конструкцией убирающейся крыши и несущей конструкцией фиксированной крыши с целью перемещения несущей конструкции убирающейся крыши над открытым центральным участком.

3. Крыша по п.1, в которой стеклянное покрытие крыши сооружено над несущей конструкцией крыши.

4. Крыша по п.1, в которой пластмассовое покрытие крыши сооружено над несущей конструкцией крыши.

5. Крыша по п.1, в которой покрытие крыши сооружено над несущей конструкцией крыши.

6. Крыша по п.3 или 4, в которой застекленное покрытие является непрозрачным.

7. Крыша по п.3 или 4, в которой поляризованные панели используются в застекленном покрытии крыши и установлены под углом по отношению друг к другу для уменьшения пропускания света, когда панели расположены друг над другом.

8. Крыша по п.3 или 4, в которой электрохромные средства используются в застекленном покрытии крыши для изменения пропускания света.

9. Крыша по п.1, дополнительно включающая в себя средства для поддержания башенных опор путем уравновешивания нагрузки, создаваемой на башенные опоры крышей с опорами для заземленных анкерных устройств.

10. Крыша по п.2, в которой приводные средства включают реечную передачу, находящуюся в зацеплении между несущей конструкцией фиксированной крыши и несущей конструкцией убирающейся крыши.

11. Крыша по п.2, в которой приводные средства включают избирательно раздвижной и втяжной цилиндр, находящийся в зацеплении между несущей конструкцией фиксированной крыши и несущей конструкцией убирающейся крыши.

12. Крыша по п.2, в которой приводные средства включают приводные реверсивную цепь или трос, которые находятся в зацеплении между несущей конструкцией фиксированной крыши и несущей конструкцией убирающейся крыши.

13. Крыша по п.2, в которой приводные средства включают ведущее колесо, находящееся в зацеплении между несущей конструкцией фиксированной крыши и несущей конструкцией убирающейся крыши.

14. Крыша по п.2, в которой приводные средства включают винтовой привод, находящийся в зацеплении между несущей конструкцией фиксированной крыши и несущей конструкцией убирающейся крыши.

15. Вантовая убирающаяся крыша, устанавливаемая над покрываемым крышей участком, включающая башенные опоры на противоположных сторонах покрываемого крышей участка; раму крыши, состоящую из разделенных интервалами удлиненных элементов, проходящих с башенных опор с противоположных сторон и разделенных интервалами поперечных элементов, проходящих между соседними удлиненными элементами, при этом удлиненные элементы, проходящие с противоположных сторон, выравниваются и проходят через центральный участок крыши; несколько вант, проходящих к каждому удлиненному элементу крыши с одной или нескольких башенных опор для поддержания элемента; несущую конструкцию фиксированной крыши, установленную между элементами крыши в боковом направлении и наружу центрального участка крыши для создания закрытых боковых участков крыши, которые закреплены, и открытого центрального участка крыши, который разделен на пролеты удлиненными элементами рамы крыши; несущую конструкцию убирающейся крыши, включающую в себя продольно движущиеся панельные конструкции крыши, расположенные над удлиненными и поперечными элементами рамы крыши и поддерживаемые удлиненными элементами при движении между положениями закрывания открытого участка крыши и положениями, расположенными над боковыми участками крыши, для открывания открытого центрального участка, подвижные панельные конструкции крыши, каждая из которых охватывает пространство между соседними удлиненными элементами, посредством чего каждая такая панельная конструкция покрывает пространство между соседними удлиненными элементами, при этом панельные конструкции обеспечивают пространство между ними для вант для того, чтобы дать возможность панельным конструкциям двигаться продольно по удлиненным элементам; опоры на катках между несущей конструкцией убирающейся крыши и удлиненными элементами для облегчения скользящего движения несущей конструкции убирающейся крыши над открытым центральным участком.

16. Крыша по п.15, в которой приводные средства предусмотрены между несущей конструкцией убирающейся крыши и несущей конструкцией фиксированной крыши для перемещения несущей конструкции убирающейся крыши над открытым центральным участком.

17. Крыша по п.15, в которой застекленное покрытие крыши сооружено над несущей конструкцией крыши.

18. Крыша по п.15, в которой пластмассовое покрытие сооружено над несущей конструкцией крыши.

19. Крыша по п.15, в которой покрытие крыши сооружено над несущей конструкцией крыши.

20. Крыша по п.17 или 18, в которой застекленное покрытие является непрозрачным.

21. Крыша по п.17 или 18, в которой поляризованные панели используются в застекленном покрытии крыши и установлены под углом по отношению друг к другу для уменьшения пропускания света, когда панели расположены друг над другом.

22. Крыша по п.17 или 18, в которой электрохромные средства используются в застекленном покрытии крыши для изменения пропускания света.

23. Крыша по п.15, дополнительно включающая в себя средства для поддержания башенных опор путем уравновешивания нагрузки, создаваемой на башенные опоры крышей с опорами для заземленных анкерных устройств.

24. Крыша по п.16, в которой приводные средства включают реечную передачу, находящуюся в зацеплении между несущей конструкцией крыши и несущей конструкцией убирающейся крыши.

25. Крыша по п.16, в которой приводные средства включают избирательно раздвижной и втяжной цилиндр, находящийся в зацеплении между несущей конструкцией фиксированной крыши и несущей конструкцией убирающейся крыши.

26. Крыша по п. 16, в которой приводные средства включают реверсивную цепь или трос, находящиеся в зацеплении между несущей конструкцией фиксированной крыши и несущей конструкцией убирающейся крыши.

27. Крыша по п.16, в которой приводные средства включают ведущее колесо, находящееся в зацеплении между несущей конструкцией фиксированной крыши и несущей конструкцией убирающейся крыши.

28. Крыша по п.16, в которой приводные средства включают винтовой привод, находящийся в зацеплении между несущей конструкцией фиксированной крыши и несущей конструкцией убирающейся крыши.

Описание

[1]

Изобретение относится к конструкции и способу монтажа каркасной крыши с большими пролетами из стали или другого материала, сооружаемой над спортивным стадионом или ареной. Конструкция крыши поддерживается стальными вантами, присоединенными к башенным опорам, установленным с наружной стороны стадиона, и к заземленным анкерным устройствам. Монтаж осуществляется консольным способом. Используется вантовая технология. Изобретение, в частности, касается строительства убирающейся балочной каркасной конструкции крыши со стеклянным или пластмассовым покрытием для превращения стадиона в открытый стадион.

[2]

Данная заявка является усовершенствованием патентов США N 4802314 и N 5010695 в части, касающейся способа открывания крыши.

[3]

Монтаж сооружений с использованием вант или вантовой технологии известен в течение определенного времени. Например, во многих мостах используются ванты, натянутые между пилонами или от одного пилона для подвешивания дорожного полотна. Кроме того, многие здания спроектированы таким образом, чтобы конструкция крыши поддерживалась вантами. Основным преимуществом использования вант для поддержания крыши является то, что большие здания с покрытием могут проектироваться без внутренних опор и достаточно экономически выгодно. Примером сооружения, является ангар для самолетов, где необходимо наличие больших площадей без опор для обеспечения возможности размещения самолетов. Спортивные арены также получают выгоду от такой конструкции, т.к. она обеспечивает возможность беспрепятственного просмотра.

[4]

Примеры конструкций крыши, спроектированных заявителями с использованием вантовой технологии, могут быть описаны в следующих патентах США на промышленные образцы: D 260036, выданный 28 июля 1981 года, D 270570, выданный 13 сентября 1983 года; D 274841, выданный 24 июля 1984 года; D 274842, выданный 24 июля 1984 года; D 274843, выданный 24 июля 1984 года; D 305937, выданный 6 февраля 1990 года; и современные патенты США на изобретение 4802314, выданный 7 февраля 1989 года, и 5010695, выданный 30 апреля 1991 года.

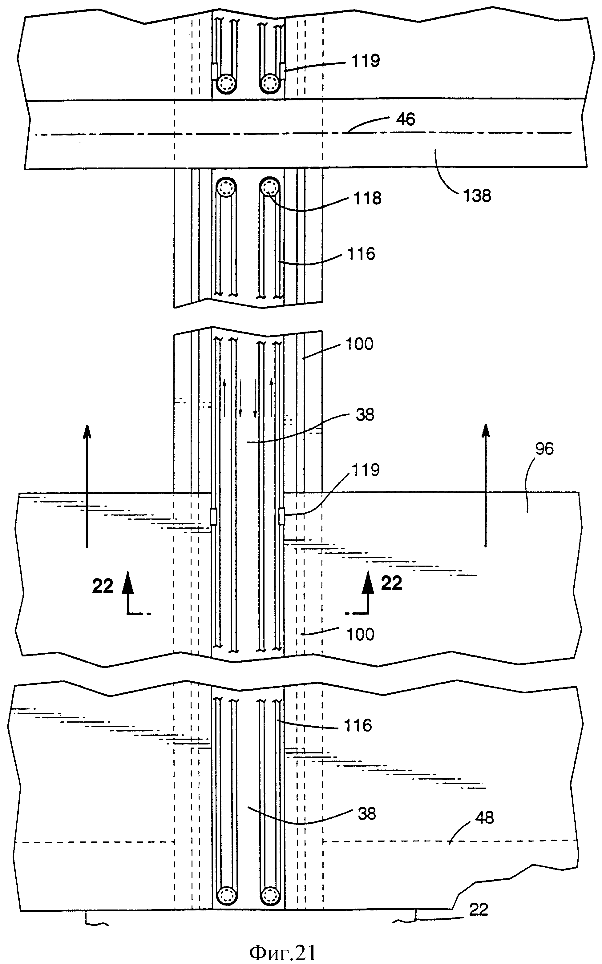
[5]

Вышеуказанные патенты на промышленные образцы относятся к декоративному внешнему виду сооружений, поддерживаемых вантами.

[6]

Вышеуказанные патенты на изобретение относятся к способу строительства вантовых крыш над существующими стадионами или аренами и их проектированию.

[7]

Изобретение данной заявки относится к строительству несущей конструкции крыши, поддерживаемой вантами со стеклянным или пластмассовым покрытием, которое может открываться для создания открытого стадиона.

[8]

В последнее время проявляется значительный интерес к покрытию существующих, а также новых спортивных стадионов на открытом воздухе. Следует отметить, что многие стадионы расположены в районах, где погодные условиях затрудняют проведение мероприятий в любое требуемое время.

[9]

Существующие стадионы на открытом воздухе, как правило, не предназначены для того, чтобы выдерживать вес дополнительной крыши. Таким образом, для того чтобы построить крышу над существующим стадионом, необходимо принять меры по усилению стен стадиона или строительству системы дополнительных опор. Последние операции, даже если таковые возможны, могут быть трудными и дорогостоящими. На новых стадионах это создает не такие большие проблемы.

[10]

Был проявлен большой интерес к тому, чтобы данные крыши были убирающимися, открывая значительную часть, как правило, не менее 50% площади стадиона.

[11]

Интерес вызвали также средства обеспечения возможности сохранения игрового поля с естественным травяным покрытием на газоне стадиона.

[12]

Задачей изобретения является создание нового и усовершенствованного способа строительства такой крыши над существующим или новым стадионом, или ареной, или другой конструкцией, которая может убираться, открывая около 50% площади крыши над стадионом, и может изготавливаться из стеклянного или пластмассового материала.

[13]

Задачей данного изобретения является также создание средств для строительства такой крыши, которая является функциональной и имеет высокий экономический показатель затрат - эффективности при строительстве.

[14]

Еще одной задачей данного изобретения является создание нового и усовершенствованного способа строительства вантовой конструкции крыши над существующим или новым стадионом или ареной с обеспечением возможности беспрепятственного просмотра в пределах стадиона.

[15]

Задачей данного изобретения является создание нового и усовершенствованного способа строительства вантовой крыши над существующим или новым стадионом, конструкция которого способна выдержать вес крыши со стеклянным или пластмассовым покрытием для того, чтобы обеспечить возможность сохранения или использования естественного травяного покрытия на игровом поле и предоставить зрителям комфортные условия просмотра на открытом воздухе при закрытом и открытом положениях крыши.

[16]

Еще одной задачей данного изобретения является создание нового и усовершенствованного способа строительства вантовой крыши со стеклянным или пластмассовым покрытием, которое может над стадионом почти полностью убираться.

[17]

Еще одной задачей данного изобретения является создание крыши, которая обеспечивает возможность естественной вентиляции путем постоянного удерживания в открытом положении, что может исключить необходимость использования дорогостоящего нагревательного и вентиляционного оборудования.

[18]

Еще одной задачей данного изобретения является создание крыши с прозрачным покрытием, которое исключает необходимость использования дорогостоящего дополнительного освещения на существующем стадионе, где имеется освещение с башенных опор, которое может проникать через крышу с покрытием. Задачей данного изобретения является также создание крыши, на которой могут располагаться ресторан и/или широкие пешеходные дорожки для создания смотровых площадок.

[19]

Задачей данного изобретения является также создание крыши, где могут располагаться частные ложи класса люкс, подвешенные на конструкции крыши.

[20]

Задачей данного изобретения является также создание крыши, которая является конструктивно прочной для того, чтобы выдержать, кроме своего собственного веса и расчетных нагрузок, большие сейсмические нагрузки и нагрузки от ветра и снега.

[21]

Задачей данного изобретения является также создание крыши, которая может быть построена с использованием технологии и опыта, имеющихся на рынке.

[22]

Задачей данного изобретения является также создание крыши, которая имеет продолжительный срок службы.

[23]

Задачей данного изобретения является также создание крыши с относительно низкими эксплуатационными расходами и издержками производства. Задачей данного изобретения является также создание крыши, которая соответствует с архитектурной точки зрения окружающей архитектуре стадиона.

[24]

В соответствии с одним аспектом изобретение представляет собой вантовую убирающуюся крышу, устанавливаемую над покрываемым крышей участком, и включающую:
башенные опоры на противоположных сторонах покрываемого крышей участка;
раму крыши, состоящую из разделенных интервалами удлиненных элементов, проходящих с башенных опор с противоположных сторон и разделенных интервалами поперечных элементов, проходящих между соседними удлиненными элементами, при этом удлиненные элементы, проходящие с противоположных сторон, выравниваются и встречаются на центральном участке крыши;
ряд вант, проходящих к каждому удлиненному элементу крыши с одной или нескольких башенных опор для поддержания элемента;
несущую конструкцию фиксированной крыши, установленную между удлиненными элементами крыши в боковом направлении и наружу центрального участка крыши для создания закрытых боковых участков крыши, которые закреплены, и открытого центрального участка крыши, который разделен на пролеты удлиненными элементами рамы крыши;
несущую конструкцию убирающейся крыши, включающую в себя продольно движущиеся панельные конструкции крыши, расположенные над удлиненными и поперечными элементами рамы крыши и поддерживаемые удлиненными элементами при движении между положениями закрывания открытого центрального участка крыши и положениями, расположенными над боковыми участками крыши, для открывания открытого центрального участка, подвижные панельные конструкции крыши, каждая из которых охватывает пространство между соседними удлиненными элементами, посредством чего каждая такая панельная конструкция покрывает пространство между соседними удлиненными элементами, при этом панельные конструкции обеспечивают пространство между ними для вант для того, чтобы дать возможность панельным конструкциям двигаться продольно по удлиненным элементам;
опоры на катках между несущей конструкцией убирающейся крыши и удлиненными элементами с целью облегчения скользящего движения несущей конструкции убирающейся крыши над открытым центральным участком.

[25]

В соответствии с другим аспектом вантовая убирающаяся крыша, устанавливаемая над покрываемым крышей участком, включает:
башенные опоры на противоположных сторонах покрываемого крышей участка;
раму крыши, состоящую из разделенных интервалами удлиненных элементов, проходящих с башенных опор с противоположных сторон и разделенных интервалами поперечных элементов, проходящих между соседними удлиненными элементами, при этом удлиненные элементы, проходящие с противоположных сторон, выравниваются и проходят через центральный участок крыши;
несколько вант, проходящих к каждому удлиненному элементу крыши с одной или нескольких башенных опор для поддержания элемента;
несущую конструкцию фиксированной крыши, установленную между элементами крыши в боковом направлении и наружу центрального участка крыши для создания закрытых боковых участков крыши, которые закреплены, и открытого центрального участка крыши, который разделен на пролеты удлиненными элементами рамы крыши;
несущую конструкцию убирающейся крыши, включающую в себя продольно движущиеся панельные конструкции крыши, расположенные над удаленными и поперечными элементами рамы крыши и поддерживаемые удлиненными элементами при движении между положениями закрывания открытого участка крыши и положениями, расположенными над боковыми участками крыши для открывания открытого центрального участка, подвижные панельные конструкции крыши, каждая из которых охватывает пространство между соседними удлиненными элементами, посредством чего каждая такая панельная конструкция покрывает пространство между соседними удлиненными элементами, при этом панельные конструкции обеспечивают пространство между ними для вант для того, чтобы дать возможность панельным конструкциям двигаться продольно по удлиненным элементам;
опоры на катках между несущей конструкцией убирающейся крыши и удлиненными элементами для облегчения скользящего движения несущей конструкции убирающейся крыши над открытым центральным участком.

[26]

В обоих вариантах выполнения крыша может содержать средства с механическим приводом, предусмотренные между несущей конструкцией убирающейся крыши и несущей конструкцией фиксированной крыши с целью перемещения несущей конструкции убирающейся крыши над открытым центральным участком.

[27]

Крыша может иметь стеклянное покрытие крыши, сооруженное над несущей конструкцией крыши, пластмассовое покрытие крыши, сооруженное над несущей конструкцией крыши. Застекленное покрытие может быть непрозрачным.

[28]

Возможны варианты, в которых поляризованные панели используются в застекленном покрытии крыши и установлены под углом по отношению друг к другу для уменьшения пропускания света, когда панели расположены друг над другом.

[29]

Целесообразно использовать электрохромные средства в застекленном покрытии крыши для изменения пропускания света.

[30]

Крыша может дополнительно включать средства для поддержания башенных опор путем уравновешивания нагрузки, создаваемой на башенные опоры крышей с опорами для заземленных анкерных устройств.

[31]

Могут применяться различные приводные средства, в частности приводные средства с реечной передачей, находящейся в зацеплении между несущей конструкцией фиксированной крыши и несущей конструкцией убирающейся крыши; приводные средства с избирательно раздвижным и втяжным цилиндром, находящимся в зацеплении между несущей конструкцией фиксированной крыши и несущей конструкцией убирающейся крыши; приводные средства с приводными реверсивной цепью или тросом, которые находятся в зацеплении между несущей конструкцией фиксированной крыши и несущей конструкцией убирающейся крыши; приводные средства с ведущим колесом, находящимся в зацеплении между несущей конструкцией фиксированной крыши и несущей конструкцией убирающейся крыши; приводные средства с винтовым приводом в зацеплении между несущей конструкцией фиксированной крыши и несущей конструкцией убирающейся крыши.

[32]

Изобретение предусматривает проектирование конструкции и создание способа строительства такой крыши над покрываемым крышей участком.

[33]

Конструкция крыши представляет собой прозрачный пролет над стадионом, поддерживаемый вантами, присоединенными к башенным опорам, установленным с наружной стороны стадиона, и к заземленным анкерным устройствам. Покрытие крыши изготовлено из пластмассы или стекла и выполнено убирающимся, благодаря скольжению центрального участка крыши (131) по постоянному участку конструкции крыши (133). Крыша, где это необходимо, оснащена постоянными вентиляционными решетками и соединена внахлестку с краем перекрываемого стадиона, с образованием между крышей и краем стадиона зазора для вентиляции, при этом соединение внахлестку выполнено таким образом, чтобы обеспечить частичную защиту вестибюля и других территорий, расположенных вокруг стадиона.

[34]

Сборка конструкции крыши начинается с сооружения двух рядов параллельных или изогнутых башенных опор на противоположных сторонах стадиона, башенные опоры расположены по касательной к стадиону с последующим натяжением вант от башенных опор к заземленным анкерным устройствам, расположенным за пределами стадиона. Ванты натягиваются с этих башенных опор по наклонной к стадиону для удерживания несущей конструкции длинных балок для секции крыши, нависающей с каждой башенной опоры и удерживаемой под воздействием сжимающих сил. Несущая конструкция для секции крыши может иметь различные формы. Например, это могут быть легкие стальные решетчатые прогоны или это может быть перекрестно-стержневая конструкция, или коробчатая стальная конструкция, или другая несущая конструкция. Консольная конструкция может быть с одной стороны стадиона, с другой стороны или с обеих сторон одновременно. Таким образом, сооружается устойчивая несущая конструкция крыши поперек стадиона с обеих сторон. Несущая конструкция крыши укомплектована секциями с консолью, которые оставляют свободными для того, чтобы оказывать давление на опорные ноги башенных опор, получающих поддержку от вант, присоединенных к башенным опорам и в свою очередь к заземленным анкерным устройствам.

[35]

На практике элементы крыши поднимают на крышу расположенным на земле грузоподъемным краном и вантами, прикрепленными к несущей конструкции длинных балок с последующим присоединением к башенным опорам другим расположенным на земле краном или краном, находящимся на верхней части башенных опор, верхним краном. Расположенные на земле краны могут работать снаружи стадиона или внутри него в зависимости от того, какой вариант более доступен. После окончательной установки несущей конструкции крыши на нее устанавливают покрытие крыши из стеклянного или пластмассового материала. Покрытие на крышу также поднимают расположенным на земле грузоподъемным краном или вертолетом.

[36]

Секции крыши сделаны убирающимися путем скольжения центрального участка крыши (131) по постоянному закрепленному участку крыши (133).

[37]

На существующем стадионе башенные опоры для освещения, если таковые имеются, остаются на месте и существующие устройства освещения по-прежнему выполняют функцию освещения стадиона путем проникновения через прозрачную застекленную крышу. Там, где необходимо, добавляется дополнительное освещение, устанавливаемое также на нижней стороне крыши.

[38]

Предусмотрено использование игрового поля с травяным покрытием.

[39]

Соединение с существующим или новым стадионом осуществляют внахлестку для обеспечения вентиляции и для частичной защиты окружающих вестибюлей.

[40]

Крыша оснащена вентиляционными решетками там, где это необходимо.

[41]

В башенных опорах предусмотрены лифты для доступа к крыше и верхним частям башенных опор.

[42]

Для технического обслуживания и осмотра достопримечательностей на балках покрытия созданы проходы с поручнями.

[43]

По желанию на крыше может быть построен ресторан. При желании возможно подвешивание к крыше частных лож.

[44]

Водоструйные устройства высокого давления установлены на крыше для ее очистки.

[45]

Для осуществления плотного прилегания крыши к стадиону между ними прикрепляется гибкая уплотняющая прокладка.

[46]

Дальнейшие задачи и преимущества изобретения становятся очевидными из нижеследующего подробного описания, приводимого совместно с чертежами, на которых:
Фиг. 1 - вид в перспективе вантовой крыши, установленной над существующим или новым стадионом или ареной.

[47]

Фиг. 2 - вид в перспективе строящихся башенных опор, устанавливаемых вдоль существующего или нового стадиона или арены.

[48]

Фиг. 3 - схематическое вертикальное сечение, показывающее башенные опоры крыши и начальную последовательность строительства крыши над стадионом консольным способом.

[49]

Фиг. 4 - схематическое вертикальное сечение, аналогичное фиг. 3, показывающее последовательность операций при использовании консольного способа.

[50]

Фиг. 5 - увеличенный вид в перспективе (с некоторыми непоказанными деталями) элемента несущей конструкции длинной балки с показом присоединения к опорной ноге башенной опоры.

[51]

Фиг. 6 - схематическое вертикальное сечение, аналогичное фиг. 3 и фиг. 4, показывающее существующий или новый стадион или арену и законченные сборные конструкции с завершенными консольными сооружениями крыши.

[52]

Фиг. 7 - схематическое вертикальное сечение (с некоторыми непоказанными деталями), показывающее окончательную крышу с завершенной несущей конструкцией с вантами.

[53]

Фиг. 8 - вид в плане первой промежуточной стадии строительства крыши, показывающий каждую построенную секцию крыши.

[54]

Фиг. 9 - вид в плане со всеми завершенными секциями, включая ресторан на крыше, ложи, водоструйные устройства для очистки, балочные пешеходные дорожки и устройство для чистки крыши.

[55]

Фиг. 10 - вертикальное сечение через центр крыши, показывающее водоструйные устройства на крыше, монтажную люльку или бадью на тросах для обеспечения возможности доступа, ресторан на крыше, гибкую уплотняющую прокладку между краем крыши и стадионом, подвешенные ложи и инфракрасные излучатели.

[56]

Фиг. 11 - вид в поперечном сечении по линии 11-11 фиг. 10, показывающий также удерживающий трос и трос бокового смещения.

[57]

Фиг. 12 - вид, аналогичный фиг. 10, но также показывающий удерживающие тросы бокового смещения на краю крыши. Показаны также поперечные тросы или поперечные связи между вантами для ограничения вибрации тросов, вызванной ветром, для снижения уровня шума при вибрации тросов и усиления жесткости крыши. Эти тросы могут не потребоваться.

[58]

Фиг. 13 - перспективный вид промежуточной несущей конструкции между элементами несущей конструкции длинной балки, поддерживающей покрытие крыши из стекла или пластмассы.

[59]

Фиг. 14 - вертикальное сечение (с некоторыми непоказанными деталями), показывающее подвижное соединение, где элементы несущей конструкции длинной балки крыши стыкуются над центральным участком крыши с обеспечением возможности перемещения элементов конструкции из-за изменений температур и других причин и с обеспечением возможности натяжения соединения гибкого троса согласно патенту США N 4802314.

[60]

Фиг. 15 - вид в перспективе, показывающий участок застекленной крыши в открытом положении с боковыми элементами связи (138) и длинными балками (38), остающимися на месте при открывании стадиона.

[61]

Фиг. 16 - вид в перспективе (с некоторыми непоказанными деталями), показывающий несущую конструкцию (136) убирающейся крыши и ее скольжение по постоянной промежуточной несущей конструкции (48), обе несущие конструкции, удерживающие застекленное покрытие (56).

[62]

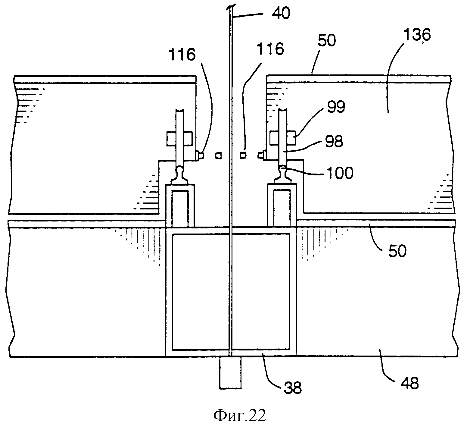
Фиг. 17 - вид в плане и фиг. 18 - сечение по плоскости 18-18 на фиг. 17, показывающее механизм зубчато-реечной передачи для открывания крыши.

[63]

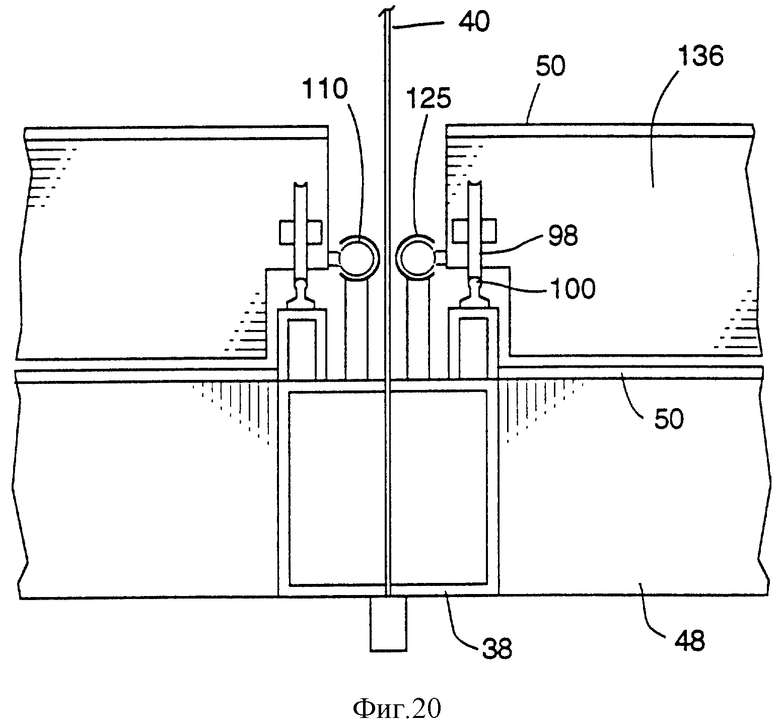
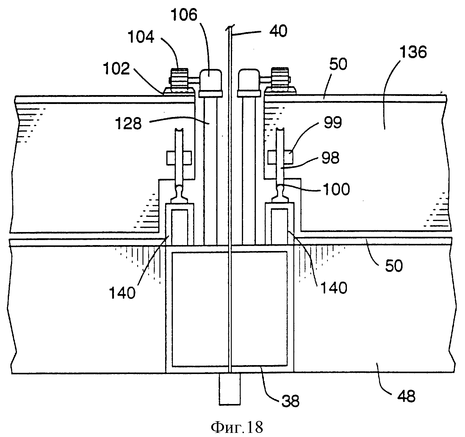
Фиг. 19 - вид в плане и фиг. 20 - сечение по плоскости 20-20 на фиг. 19, показывающее конструкцию гидравлической тяги и цилиндра для открывания и закрывания крыши.

[64]

Фиг. 21 - вид в плане и фиг. 22 - сечение по плоскости 22-22 на фиг. 21, показывающее шарнирную цепь, шкив или трос для открывания и закрывания крыши, или называемые шкивом.

[65]

Фиг. 23 - вид в плане и фиг. 24 - сечение по плоскости 24-24 на фиг. 23 - показывающее двигатель к колесному приводу для открывания и закрывания крыши или называемый способом с ведущим шкивом.

[66]

Фиг. 25 - вид в плане и фиг. 26 - сечение по плоскости 26-26 на фиг. 25, показывающее "винтовой способ", в котором тяга с шестерней со спиральными зубьями и подвижной связывающий элемент крыши используется для открывания и закрывания крыши.

[67]

Номера для ссылок:
16 - сваи,
18 - фундаменты,
20 - стадион,
22 - башенные опоры,
24 - башенные краны,
26 - арки,
28 - заземленные анкерные устройства,
29a - скользящая опалубка,
29b - скользящая опалубка,
30 - грузоподъемный кран, установленный на земле,
31 - бадья,
34 - грузоподъемный кран, установленный в верхней части,
36 - строительная площадка, где собирается несущая конструкция для подъема на крышу,
38 - несущая конструкция длинной балки крыши,
38a - начальный элемент несущей конструкции длинной балки,
40 - ванты для несущей конструкции крыши,
42 - ванты для анкерных устройств или оттяжки,
46 - точка на крыше, где противоположные длинные балки стыкуются в центральном пролете,
47 - пик,
48 - промежуточная несущая конструкция крыши,
49 - муфта,
50 - покрытие крыши,
51 - трос,
52 - точка, где несущая конструкция длинной балки крыши стыкуется с башенными опорами,
53 - стяжная муфта,
54 - поперечные тросы или поперечные связи конструкции для уменьшения вибрации троса и усиления жесткости конструкции, а также для снижения уровня шума,
56 - удерживающие тросы на краю крыши, создающие также частичную поддержку при боковом смещении,
57 - болты,
58 - подвешенные ложи для частного использования,
60 - ресторан на крыше,
62 - водоструйные устройства для очистки крыши,
72 - гибкая уплотняющая прокладка между краем стадиона и крышей,
73 - освещение на металлических стойках,
76 - монтажная люлька или корзина для доступа к тросам для технического обслуживания,
96 - скользящая несущая конструкция с покрытием на ней,
98 - колесо,
99 - ось,
100 - направляющая,
102 - зубчатая рейка,
104 - ведущая шестерня,
106 - двигатель,
108 - гидравлический цилиндр,
109 - стержневое приспособление,
110 - стержень,
112 - днище поршня,
114 - гидравлический насос,
116 - стальной трос или шарнирная цепь,
118 - привод с двигателем,
119 - цепное соединение с крышей,
120 - двигатель направляющего колеса,
122 - подвижной соединительный элемент крыши,
124 - стержень с шестерней со спиральными зубьями,
125 - опора стержня,
126 - опора для стержня с шестерней со спиральными зубьями,
128 - опора для двигателя,
131 - центральный участок конструкции, над которым перемещается убирающаяся крыша,
133 - фиксированный закрепленный участок конструкции крыши, над которым перемещается убирающаяся крыша,
136 - несущая конструкция убирающейся крыши,
138 - боковые элементы связи,
140 - приподнятый бордюр.

[68]

Подробное описание предпочтительного варианта осуществления изобретения
Со ссылкой на фиг. 1 рассмотрим вкратце основные элементы конструкции вантовой застекленной крыши, которая является предметом изобретения. Конструкция крыши предназначена для покрытия существующего или нового открытого стадиона или арены, обозначаемых цифрой 20. Конструкция вантовой крыши включает в себя два ряда башенных опор 22, установленных параллельными рядами на противоположных сторонах стадиона 20. Башенные опоры в каждом ряду соединены арками 26 и опираются на фундаменты 18 и при необходимости на сваи 16. Несущая конструкция 38 длинной балки крыши подвешена на вантах 40 от башенных опор 22 и/или их арках 26. Данная конструкция дополнительно поддерживается оттяжками 42, присоединенными к заземленным анкерным устройствам 28. Между несущей конструкцией 38 длинной балки находится промежуточная несущая конструкция 48 крыши. Над конструкцией 38 и 48 и крыши расположено кровельное покрытие или кровельный ковер (см. фиг. 13) из стеклянного или пластмассового материала 50. На центральном участке крыши сооружена несущая конструкция (136) убирающейся крыши с покрытием на ней (50), которая убирается путем скольжения по закрепленной несущей конструкции крыши, обозначенной (133).

[69]

После определения главных элементов вантовой крыши дается подробное описание предпочтительного способа сборки данной конструкции над существующим или новым стадионом или ареной.

[70]

Как показано на фиг. 2 и 3, с наружной стороны стадиона 20 сооружаются фундаменты 18 и сваи 16, если таковые необходимы. На этих фундаментах устанавливают бетонные или стальные башенные опоры 22 с использованием башенных кранов 24. В предпочтительном варианте осуществления изобретения данные башенные опоры, как показано, сооружают из бетона с использованием скользящей опалубки двумя параллельными рядами на противоположных сторонах стадиона. Они могут также сооружаться из стали. Как вариант, они могут также сооружаться в двух криволинейных плоскостях на противоположных сторонах стадиона для более точного соответствия форме стадиона или они могут устанавливаться по окружности, эллипсу или в виде другой изогнутой формы вокруг стадиона или другого сооружения. В предпочтительном варианте осуществления изобретения ряды башенных опор в одной точке расположены по касательной к стадиону, но это необязательно, возможна установка в стороне от стадиона. Затем башенные опоры 22 соединяют друг с другом арками в верхней части для прочности. Форма соединения необязательно должна иметь форму арки и может быть перемычкой, фермой, угловой связью или любой другой формой усиления; более того, такое соединение в целом может полностью отсутствовать, таким образом, остальные конструкции башенных опор имеют сходство с рядами отдельно стоящих башенных опор, которые не соединены в верхней части или стоят автономно. Башенные опоры, которые поддерживают крышу вантами, могут быть полностью автономными без оттяжек к заземленным анкерным устройствам. Кроме того, башенные опоры не должны быть обязательно вертикальными, они могут быть наклонены наружу или даже внутрь стадиона по строительным или архитектурным причинам. Скользящая опалубка, как показано на фиг. 2, обозначена цифрами 29a и 29b, наполняется бетоном из бетонораздаточных ковшей кранов 24.

[71]

После окончания строительства башенных опор 22 можно приступить к сооружению крыши. Несмотря на то что при показанном варианте осуществления изобретения строительство крыши начинается после окончания сооружения обоих рядов башенных опор, возможно начинать строительство после сооружения одного ряда башенных опор с одной стороны стадиона. Из чертежей следует, что монтаж крыши осуществляется внутрь с башенных опор консольным способом или с одной стороны, или с двух сторон одновременно. Материал для строительства крыши поднимают на крышу с газона стадиона или с наружной стороны стадиона грузоподъемными кранами 30 и затем устанавливают консольным способом, т.е. каждую секцию присоединяют соответствующим образом вантами к верхним частям башенных опор. Ванты 40 присоединяют к верхним частям либо с помощью грузоподъемного крана 34, установленного в верхней части башенных опор, или наземным грузоподъемным краном 30, достигающим верхних частей башенных опор.

[72]

Одновременно с началом строительства башенной опоры производится сооружение анкерных устройств 28, которые, как правило, изготавливают из стали, бетона и свай. После окончания строительства башенных опор или до, или одновременно с началом строительства крыши (как здесь описано) устанавливаются оттяжки 42.

[73]

После выполнения этих операций сборки операция строительства самой крыши производится следующим образом. Сборный кровельный материал, как правило, из стали, но возможно и из древесины, бетона или других строительных материалов собирается на строительных площадках 36 внутри или снаружи стадиона. Установленные на земле грузоподъемные краны 30 (фиг. 3) поднимают начальный элемент 38а несущей конструкции длинной балки в требуемое положение путем ее подъема над краем стадиона между башенными опорами и под арками до уровня размещения крыши и прикрепляют один конец элемента несущей конструкции к опорной ноге башенной опоры, где она присоединяется в позиции 52 (см. фиг. 5). В качестве альтернативного способа грузоподъемный кран, установленный на земле, может поднять элемент 38а несущей конструкции длинной балки в пределах стадиона на опорную ногу башенной опоры, где он крепится. Соединение выполняется элементом 48 промежуточной несущей конструкции крыши, прикрепленным к элементу 38а и закрепленным болтами 57 на башенной опоре 22. К другому концу элемента 38 несущей конструкции прикреплен трос 40, который затягивается на верхнюю часть башенной опоры верхним краном 34 или краном 30, установленным на земле, трос натягивается домкратами и присоединяется к башенной опоре. Трос 40 имеет заданную длину и анкерные муфты с обоих концов. Путем использования готовых тросов заданной длины последние в случае необходимости могут взаимозаменяться при повреждении или коррозии. Такие тросы могут быть полностью оцинкованного закрытого проволочного типа и могут устанавливаться с достаточным натяжением с целью создания плотной герметизации против проникновения воды, вызывающей коррозию, или они могут быть защищены покрытием от коррозии, или могут иметь другую конструкцию. Для установки и обеспечения герметичности таких тросов используется типичная конечная муфта с удлинителем, который ввинчивается к конец муфты. Трос и удлинитель могут затягиваться на место лебедкой или шкивом и верхним краном 34, или краном 30, установленным на земле, с достаточным провесом с тем, чтобы должным образом регулировать усилие при затягивании троса и удлинителя. После установки на место с удлинителем троса в гидравлическом прессе, расположенным в башенной опоре, удлинитель троса натягивается гидравлическим прессом или домкратом до весьма высокой степени натяжения при незначительном провесе окончательной формы троса, после чего муфта троса прочно закрепляется в анкерном устройстве и удлинитель троса удаляется. Затем могут быть установлены прокладки на анкерном устройстве муфты для точной регулировки, соединение муфты с конструкцией также может регулироваться болтом с резьбой, присоединенным с наружной стороны муфты, с которой сделано соединение троса с анкерным устройством. Таким образом, устанавливается первый элемент несущей конструкции длинной балки и присоединяется к башенной опоре вантами. Рассматриваемый трос может быть одним тросом или может включать в себя несколько тросов, сгруппированных вместе. Вышеописанная конструкция натяжения и анкерного устройства хорошо известна и не является уникальной в данном изобретении. Данная конструкция не показана. Элементы несущей конструкции данной балки, как часть конструкции крыши могут представлять собой балку, ферму или другие средства, или любой материал.

[74]

После этого аналогичным образом устанавливается оттяжка 42 между анкерным устройством и башенной опорой. Оттяжки также могут быть одиночными тросами и несколькими сгруппированными тросами.

[75]

Все тросы имеют заданную длину с муфтами на обоих концах. Тросы могут иметь показанный угол наклона или могут быть наклонены под более крутым углом, таким образом, чтобы анкерные устройства были ближе к стадиону. Оттяжки могут быть наклонены под более плоским углом при расположении анкерных устройств дальше от стадиона, чем показано. Тросы могут сначала крепиться к башенной опоре или анкерному устройству и затем затягиваться на место с противоположного конца вышеописанным способом. Тросы могут удерживаться временными сооружениями или строительными лесами для их монтажа, или они могут устанавливаться без принятия данных мер.

[76]

Тросы, как указано выше, могут быть одинарными или сгруппированными. Там, где группируются несколько тросов, они соединяются вместе в промежуточных точках. Монтажная люлька или корзина, подвешенные на тросах, могут использоваться для обеспечения возможности доступа для выполнения данной операции (см. 76 на фиг. 10).

[77]

Тросы после их установки покрываются окончательным слоем краски. Монтажная люлька может быть использована вновь для повторного крашения и осмотра. Могут также использоваться другие типы тросов, кроме вышеописанных, способы их установки могут изменяться при неизменной конечной конфигурации.

[78]

Например, изготавливаемые тросы должны быть непрерывными над башенными опорами, поддерживаемыми опорами седельного типа в башенных опорах с последующим присоединением с одного конца к элементу 38 несущей конструкции длинной балки и с другого конца к заземленному анкерному устройству 28 и натяжением с одного или другого конца.

[79]

Другим примером является то, что натяжение тросов может производиться подъемом домкратом опоры в верхнем направлении башенной опоры в дополнение к натяжению, производимому с концов тросов.

[80]

После установки всех тросов они могут быть соединены между собой вантами, другими поперечными тросами 54 или сжатыми элементами для уменьшения вибрации, вызываемой ветром или землетрясением (см. фиг. 12). Это также повышает общую жесткость крыши. Амортизаторы колебаний, состоящие из демпферов или резиновых колец, могут также устанавливаться в точках соединения тросов.

[81]

После установления начального элемента 38а несущей конструкции длинной балки, как было описано выше (фиг. 3), второй элемент устанавливается аналогичным образом со следующей соседней ноги башенной опоры с последующей установкой промежуточной несущей конструкции 48, как показано на фиг. 8, закрепляемой между элементами 38 несущей конструкции длинной балки. Промежуточная несущая конструкция 48 может быть различных типов. Это могут быть легкие стальные решетчатые прогоны, перекрестно-стержневая конструкция или трубчатые стальные балки, или широкополочные стальные балки, или любое другое устройство несущей конструкции. На чертеже в качестве промежуточной несущей конструкции показана трубчатая стальная конструкция. Промежуточной несущей конструкцией 48 крыши по определению является вся несущая конструкция, расположенная между элементами 38 несущей конструкции длинной балки крыши, за исключением убирающейся несущей конструкции (136) крыши.

[82]

Затем устанавливается предохранительная сетка, проходящая под всей консольной конструкцией.

[83]

После этого строительство крыши продолжается таким же образом, как при вышеописанной установке начального элемента несущей конструкции, но при этом каждый последующий элемент несущей конструкции длинной балки прикрепляется к концу последнего установленного элемента несущей конструкции длинной балки. Операция повторяется до тех пор, пока одна консольная секция не будет выступать на центральный участок крыши, где секции с противоположных сторон 46 стыкуются. Чередующиеся секции, которые могут быть 80 футов (12,1 м) ширины, укладываются первыми, таким образом построенное сооружение свешивается равномерно. Завершенная консольная секция (половина пролета стадиона) может иметь длину 425 дюймов (1066,8 см).

[84]

Как указано выше, крыша строится с двух сторон и соединяется в середине. Крыша строится или с двух сторон одновременно, или с одной стороны.

[85]

Следующей операцией является стыковка в середине длинных балок элементов (38) несущей конструкции. Это делается таким образом, чтобы обеспечить возможность смещения длинных балок из-за изменений температуры или по другим причинам. Стыковка показана на фиг. 14, иллюстрирующей подвижное соединение, создаваемое муфтой 49 между противоположными консольными длинными балками и тросом 51 натяжения, закрепленным между балками. Стяжная муфта 53 обеспечивает возможность требуемой регулировки натяжения троса 51 и регулирование усилия, передаваемого длинной балкой на опорные ноги башенной опоры у края крыши.

[86]

Удерживающие тросы и тросы 56, создающие частичную поддержку при боковом смещении, установлены, как требуется, между краем крыши, надземными конструкциями или конструкциями стадиона. Удерживающие тросы или тросы, создающие частичную поддержку при боковом смещении, могут быть устранены при опоре конструкции крыши на расположенный под ней стадион. Из фиг. 1 следует, что длинные балки 38 и получаемые секции крыши имеют наклон в верхнем направлении с башенных опор к центральной части крыши и что крыша наклонена в боковом направлении от центрального участка к краям. Наиболее удаленные балки 38, к которым присоединены тросы 58, в основном являются горизонтальными.

[87]

После установки несущей конструкции крыши монтируется убирающаяся несущая конструкция (136) крыши. Это несущая конструкция, которая, как правило, идентична промежуточной несущей конструкции (48), но установлена на колесах на длинных балках (38) с тем, чтобы скользить по ним или другим деталям конструкции (133). Между длинными балками на участке открывания крыши образованы новые боковые связи 138, поэтому, когда несущая конструкция крыши убирается, длинные балки (38) удерживают боковую опору.

[88]

Несущая конструкция (136) убирающейся крыши опирается на колеса, которые передвигаются по длинным балкам (38) для облегчения скольжения крыши. Колеса могут быть стальными, опирающимися на рельсы, установленные на длинных балках, или резиновыми, или колесами другого типа, которые перемещаются непосредственно по поверхности длинных балок (38). Скольжение может также осуществляться без колес на тефлоновых подшипниках или на роликовых подшипниках прямого действия, или других эквивалентных средствах.

[89]

Как следует из фиг. 17 и 18, перемещение несущей конструкции убирающейся крыши, которая может быть секцией крыши размером 200 футов на 80 футов (60,9 м на 24,3 м) производится двигателем с шестеренчатым приводом, установленным на длинной балке (38). Шестеренчатый привод входит в зацепление с зубчатой рейкой (102), жестко установленной сверху несущей конструкции убирающейся крыши. Двигателем (106), вращающим шестерню (104), убирающаяся крыша перемещается в боковом направлении на расстояние около 200 футов (60 м) из открытого до закрытого положения или наоборот. Секция несущей конструкции убирающейся крыши размером 200 футов на 80 футов (60,9 м на 24,3 м) с застекленным покрытием имеет вес около 200 тонн. Двигатель, приводящий в движение шестерню, имеет соответствующие размеры и может быть или электрическим, или гидравлическим. Используются механизмы управления для обеспечения возможности равномерного движения с тем, чтобы убирающаяся несущая конструкция двигалась равномерно по каждой из двух длинных балок, на которые опираются подвижные убирающиеся несущие конструкции. Вантовая конструкция крыши имеет весьма высокую жесткость, что обеспечивает возможность перемещения очень больших и тяжелых секций крыши без повреждения стекла.

[90]

Другими средствами осуществления такого перемещения убирающейся несущей конструкции могут быть (а) гидроцилиндр и стержень, фиг. 19 и 20, (b) приводной механизм с шарнирной цепью или стальным тросом, фиг. 21 и 22, (с) приводной двигатель для привода колес, фиг. 23 и 24, (d) шестерня со спиральными зубьями и электропривод с подвижным соединительным элементом крыши, фиг. 25 и 26, или другие эквивалентные средства.

[91]

Над убирающейся несущей конструкцией (136) крыши и над фиксированной (закрепленной) несущей конструкцией крыши или промежуточной несущей конструкцией (48) устанавливается стеклянное или пластмассовое покрытие (50), обычно изготавливаемое из алюминиевой рамы со стеклянными или пластмассовыми панелями.

[92]

При предпочтительном варианте осуществления изобретения используется стекло (стекло с покрытием). Стекло может включать в себя поляризующие элементы, установленные с противоположной стороны, поэтому, когда подвижное стекло перемещается над закрепленным стеклом, проникновение света прекращается. Панели могут также включать в себя электрохроматические средства для того, чтобы изменять пропускание света несмотря на то, что данная технология недостаточно разработана и является дорогостоящей.

[93]

Крыша сделана водонепроницаемой благодаря приподнятому бордюру (140), установленному на длинных балках (38), с тем, чтобы верхняя часть балок служила каналом для осушения. Убирающаяся крыша является более высокой и наклонена над участком закрепленной постоянной крыши, таким образом, естественный дренаж может осуществляться по периметру крыши.

[94]

Помехи со стороны вант (40) устранены, т. к. ванты занимают только центральный участок длинных балок (38).

[95]

Убирающаяся крыша в комбинации с вантовой крышей является усовершенствованием по сравнению с предыдущими патентами: патент США N 4802312, выданный 7 февраля 1989 года, и патент США N 5010695, выданный 30 апреля 1991 года, оба патента на вантовую застекленную крышу стадиона с механизмом открывания для вентиляции.

[96]

В предыдущих патентах показаны способы открывания отдельных проемов застекленного покрытия для вентиляции (типичный размер 7 футов 6 дюймов х 12 футов (2,25 м х 3, 6 м).

[97]

Новая убирающаяся крыша обеспечивает возможность открывания панелей, которые, как правило, имеют размер 80 футов х 200 футов (24,3 м х 60,9 м) и вес 200 тонн, даются инструкции по их открыванию до общей площади 5 акров (2 га) или 50% или более площади стадиона для создания открытого стадиона, показано как сделать это при использовании стекла.

[98]

Предыдущие патенты несмотря на то, что они касаются главным образом открывающихся проемов пластмассового шарнирного типа размером 7 футов 6 дюймов • 12 футов (2,25 м х 3,6 м), упоминают также возможность скольжения этих приспособлений при их открывании. Но это включает в себя только движение стеклянного и алюминиевого покрытия, в то время как при новом способе перемещается нижележащая несущая конструкция крыши со стеклянным и алюминиевым покрытием.

[99]

К крыше и балконам стадиона подвешены инфракрасные излучатели 81 для получения лучистой теплоты там, где это необходимо.

[100]

Построенная таким образом крыша перекрывает край стадиона таким образом, чтобы дождь не проникал на стадион, возможен лишь незначительный ветер с обеспечением вентиляции (см. фиг. 9). Крыша не соединена со стадионом для возможности перемещения конструкции. Крыша перекрывает край стадиона для создания защиты вестибюлей и других территорий вокруг стадиона.

[101]

Пространство между крышей и краем стадиона имеет достаточный размер (возможно 8 футов (2,4 м)) для обеспечения требуемой вентиляции. Однако крыша может быть присоединена непосредственно к стадиону, если это необходимо, и пространство может быть закрыто. Для закрытия может использоваться гибкая прокладка (см. 72, фиг. 10).

[102]

При сооружении крыши над существующим стадионом имеющееся ранее освещение 73 на металлических стойках (см. фиг. 1) или остается на месте, или в случае создания помехи башенным опорам 22 и 26 производится перестановка освещения на башенные опоры крыши. Такие светильники могут освещать внутреннюю часть стадиона через прозрачное застекленное покрытие.

[103]

На новых стадионах в большинстве случаев освещение устанавливается на нижнюю часть балок крыши.

[104]

Дополнительные детали конструкции включают в себя: дренаж крыши и водосточные трубы (не показаны), желобы для стока конденсаторной воды (не показаны), водоструйные устройства 62 высокого давления для очистки крыши, лифты 80, установленные в башенных опорах для доступа к верхней части башенных опор и крыше; пешеходные дорожки и поручни на верхних частях башенных опор и на балках 38 крыши для технического обслуживания и осмотра достопримечательностей; ресторан 60, построенный на крыше (см. фиг. 9 и 10); ложи 58, построенные на крыше или подвешенные на крыше.

[105]

Предмет изобретения описан со ссылкой на предпочтительный способ сборки, изменения способа могут осуществляться специалистами, сведущими в данной области техники, без изменения объема и сущности предмета изобретения, как определено в прилагаемых формулах изобретения.

Как компенсировать расходы
на инновационную разработку
Похожие патенты