патент
№ RU 217230
МПК G01B5/25

Приспособление для контроля соосности и радиального биения вкладышей моторно-осевых подшипников тяговых электродвигателей

Авторы:
Муравьев Дмитрий Валерьевич
Номер заявки
2022128142
Дата подачи заявки
28.10.2022
Опубликовано
23.03.2023
Страна
RU
Как управлять
интеллектуальной собственностью
Чертежи 
2
Реферат

[21]

Полезная модель относится к области метрологического контроля относительного расположения соосных отверстий корпусных деталей подвижного состава железнодорожного транспорта, а также радиального биения этих отверстий относительно базовой оси каждого отверстия в отдельности в условиях ремонтного производства.

[22]

Разработанное приспособление для контроля соосности и радиального биения вкладышей моторно-осевых подшипников тяговых электродвигателей состоит из корпуса, который является связующим элементом между левым и правым контролируемыми моторно-осевыми подшипниками (МОП), валов с предварительно напрессованными на их шейки шариковыми радиально-упорными подшипниками и установленными крышками, фиксируемыми винтами и прижимающими подшипники к основанию корпуса, регулируя их осевое перемещение. Предварительно на валы напрессовываются опоры приспособления в виде ступиц и опорных элементов, состоящих из двух шариков на жесткой опоре и одного шарика, поджимаемого к внутренней поверхности отверстия МОП пружиной, зафиксированной при помощи заглушки в резьбовой втулке. Далее на концы валов монтируются измерительные головки, причем на левом конце левого вала устанавливается сборная измерительная головка, предназначенная для измерения радиального биения внутренней цилиндрической посадочной поверхности МОП, которая состоит из двух струбцин, установленных на предварительно напрессованный на шейку вала подшипник и отделенный от ступени вала разделительным кольцом. При этом струбцины, установленные по наружному кольцу подшипника, стягиваются фиксаторами. При сборке струбцин в отверстие с вертикальной осью, образуемое ими, устанавливается индикатор часового типа ИРБ 0..Д8 мм ГОСТ 5584-75, а в горизонтально расположенное отверстие - палец, на котором при помощи колпачка фиксируется опорный шарик и обеспечивает точку контакта приспособления с торцевой поверхностью вкладышей МОП, предотвращая осевое смещение элементов приспособления.

[23]

Справа устанавливается измерительная головка, предназначенная для измерения отклонений от соосности внутренних цилиндрических посадочных поверхностей левого и правого МОП, которая состоит из уголка, соединенного с концом правого вала посредством подвижного соединения типа «ласточкин хвост», а также установленного на уголке индикаторе часового типа ИЧ 50-0,01 ГОСТ 577-68, затянутого при помощи фиксатора. Подвижный уголок имеет возможность перемещаться в радиальном направлении относительно правого вала и фиксироваться неподвижно фиксатором, что дает возможность настраивать приспособление на контроль вкладышей МОП, имеющих различные диаметры контролируемых посадочных поверхностей. Измерительные мостики левой и правой измерительных головок предназначены для регистрации и передачи на измерительные стержни индикаторов значений радиального биения или соосности, а возвратные пружины позволяют контролировать постоянство нажима контактного наконечника измерительного мостика на контролируемую поверхность вкладыша МОП.

[24]

Применение приспособления для контроля соосности и радиального биения вкладышей моторно-осевых подшипников тяговых электродвигателей позволит выполнять измерения отклонения от соосности и радиального биения внутренних цилиндрических посадочных поверхностей вкладышей МОП с целью оценки качества токарной обработки баббитового слоя после его заливки в корпуса вкладышей.

Формула изобретения

Приспособление для контроля соосности и радиального биения вкладышей моторно-осевых подшипников (МОП) тяговых электродвигателей, выполненное с возможностью установки в остове тягового электродвигателя и состоящее из корпуса с радиально-упорными шариковыми подшипниками, соединяющего между собой два вала, на шейках которых устанавливаются измерительные головки, снабженные индикаторами часового типа для контроля соосности и радиального биения, отличающееся тем, что приспособление снабжено двумя центрирующими опорами в виде ступиц с двумя жесткими и одним подпружиненным шариками, позволяющими одновременно базировать приспособление относительно вкладышей левого и правого МОП, расточенных под разные диаметры осей колесных пар, при этом опоры монтируются с натягом на валах, закрепленных в общем корпусе на подшипниках качения, а на свободных шейках валов устанавливаются измерительные головки с индикаторами часового типа, позволяющие измерять по отдельности отклонение от соосности и радиальное биение внутренних цилиндрических поверхностей вкладышей МОП при поворотах валов вокруг общей центральной оси корпуса приспособления, совпадающей с осью МОП.

Описание

[1]

Полезная модель, прототипом которой является прибор для контроля соосности отверстий под коренные шейки коленчатого вала [1], относится к области метрологического контроля относительного расположения соосных отверстий деталей подвижного состава железнодорожного транспорта в условиях ремонтного производства. Отличительная особенность заявленного приспособления от прототипа состоит в наличии центрирующих установочных опор в виде ступиц, монтируемых с натягом на валах, закрепленных в общем корпусе на подшипниках качения и снабженных двумя жесткими и одним подпружиненным шариками, позволяющими одновременно базировать приспособление по внутренним цилиндрическим поверхностям вкладышей моторно-осевых подшипников (МОП), расточенных под разные диаметры посадочных поверхностей осей колесных пар, и устанавливать его относительно левого и правого МОП.

[2]

Нарушения технологии ремонта вкладышей МОП или несоблюдение требований по допустимым значениям диаметров посадочных поверхностей после растачивания под ось колесной пары может приводить к перекосам букс МОП относительно колесной пары локомотива, непараллельности оси вала якоря и оси колесной пары и, соответственно, к неравномерному и интенсивному изнашиванию поверхностей трения МОП, что может существенно сказываться на относительном положении узлов и деталей, динамических характеристиках локомотива, характере и интенсивности изнашивания. В свою очередь, зазор в МОП скольжения приводит к смещению зацепления и пятна контакта в зубчатой передаче к вершине зуба, в результате чего в нем возрастают напряжения, что ведет к сокращению срока службы зубчатых колес, а также к увеличению динамических нагрузок на зубчатую передачу и моторно-якорные подшипники тягового электродвигателя. Также зазор в МОП оказывает влияние на изменение расположения и площади пятна контакта в зубчатом зацеплении при передачи крутящего момента. Площадь пятна контакта уменьшается и происходит его смещение к вершине зуба ведущей шестерни, в результате чего повышается удельное давление в пятне контакта, что, в свою очередь, ведет к увеличению интенсивности изнашивания стенок зубьев ведущей шестерни и зубчатого колеса тягового редуктора локомотива и может привести к сколам зубьев.

[3]

Таким образом, установлено, что при восстановлении моторно-осевых подшипников локомотивов в условиях депо вследствие растачивания моторно-осевых горловин за два установа, на изношенном оборудовании, возникают отклонения в диаметрах и положении осей вкладышей МОП одной колесной пары, которые могут приводить к следующим последствиям:

[4]

а) перекосу оси колесной пары относительно остова ТЭД при одинаковых радиальных зазорах в левом и правом МОП;

[5]

б) увеличенному перекосу оси колесной пары относительно остова ТЭД при разных радиальных зазорах в левом и правом МОП;

[6]

в) перекосу оси колесной пары относительно остова ТЭД при наличии отклонения от соосности левого и правого МОП.

[7]

Подводя итоги проведенной оценки, необходимо отметить, что при выполнении выходного контроля после восстановления вкладышей МОП и их установки в буксы следует, помимо контроля радиальных зазоров, ввести процедуру контроля соосности и радиального биения внутренних цилиндрических поверхностей вкладышей МОП.

[8]

Аналогом заявленного приспособления, применяемым в настоящее время для контроля отклонений соосности отверстий корпусных деталей, является прибор для контроля соосности отверстий под коренные шейки коленчатого вала [1], который в отличие от предлагаемой конструкции контрольного приспособления имеет основание, на котором крепятся детали прибора, три упорные ножки для фиксирования прибора в отверстии, контргайки для фиксации упорных ножек от прокручивания, напружиненную платформу для установки лекальной линейки. При этом в специальные пазы платформы и основания устанавливается шпилька, которая предохраняет платформу от осевых и продольных перемещений. Таким образом, применение данного прибора при реализации технологической операции контроля соосности внутренних цилиндрических поверхностей вкладышей МОП имеет следующие недостатки: сложность проведения контроля соосности, поскольку базовые отверстия для установки приспособления совпадают с контролируемыми, высокая сложность реализации и трудоемкость настройки прибора штангенциркулем при выставлении расстояния от конца выступов основания до кончика упорных ножек для обеспечения параллельности лекальной линейки и оси контролируемых отверстий, сниженная точность измерения соосности, коррелирующая с точностью измерений по шкале нониуса штангенциркуля и суммарной погрешностью при выставлении размеров У от конца выступов основания до кончика упорных ножек, отсутствие возможности контролировать радиальное биение поверхностей вкладышей.

[9]

Для исключения вышеуказанных недостатков предлагается использовать разработанное в Омском государственном университете путей сообщения на кафедре «Технологии транспортного машиностроения и ремонта подвижного состава» приспособление для контроля соосности и радиального биения вкладышей моторно-осевых подшипников тяговых электродвигателей.

[10]

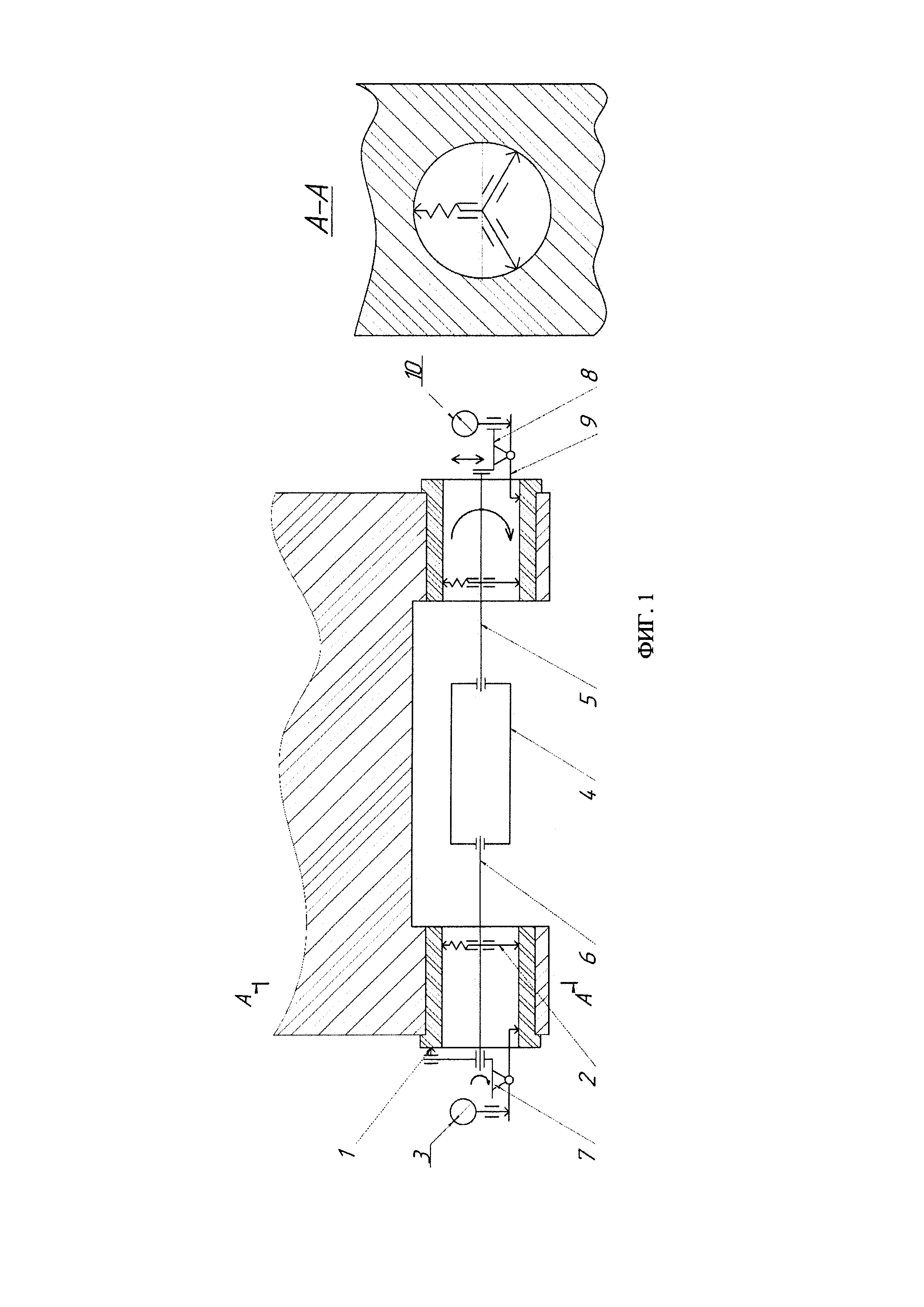
В ходе проектирования приспособления была разработана схема контроля соосности внутренних цилиндрических поверхностей вкладышей МОП (фиг. 1), демонстрирующая принцип работы приспособления при контроле отклонения от соосности двух посадочных поверхностей вкладышей МОП относительно их общей оси, который заключается в том, что в проверяемые отверстия контролируемых вкладышей корпуса МОП вставляют два ступенчатых вала 5 и 6, соединенных корпусом 4 и способные вращаться вокруг него независимо друг от друга. Оси вращения двух валов 5 и 6, на концах которых установлены измерительные наладки, включающие индикаторы часового типа 3 и 10 для контроля радиального биения и соосности, совпадают с осями опор 2, вводимых в отверстиях вкладышей МОП при базировании приспособления. Отклонение от соосности посадочных поверхностей моторно-осевых подшипников измеряют путем снятия показаний индикатора часового типа 10 при вращении вала 5 в контролируемом отверстии вкладыша МОП на 360° через определенный угловой интервал, равный 60°. При этом за результат несоосности двух поверхностей в радиальном направлении будет приниматься половина наибольшего отклонения стрелки индикатора за один полный оборот балансировочной штанги. Подвижный в радиальном направлении уголок 8, на котором закреплен индикатор часового типа 10, позволяет производить контроль различных по диаметру цилиндрических поверхностей, а также повысить чувствительность измерительного мостика 9, регулируя положение уголка 8 в радиальном направлении относительно оси вращения вала 5.

[11]

Кроме того, разработанное контрольное приспособление принципиально позволяет измерять радиальное биение посадочных поверхностей вкладышей моторно-осевых подшипников. Данные измерения проводятся при помощи индикатора часового типа 3, который установлен параллельно вилке 7, в отверстии которой установлена ось с измерительным мостиком 9, способным свободно вращаться относительно этой оси и выполняющим функцию рычага для передачи показаний с контролируемой поверхности на стержень индикатора 3. При этом на измерительную пятку мостика 9 опирается наконечник стержня индикатора 3, а другим концом мостик 9 соприкасается с контролируемой поверхностью вкладыша МОП. Шарик 1 предназначен для реализации дополнительной точки опоры измерительной наладки с торцом вкладыша МОП и обеспечения вертикального положения индикатора 3 при измерениях. Поворот вала 6 с закрепленным индикатором 3 на полный оборот вокруг своей оси позволит по максимальным отклонениям стрелки индикатора определить значения радиального биения посадочной цилиндрической поверхности вкладышей.

[12]

Конструкция приспособления для контроля соосности и радиального биения внутренних цилиндрических поверхностей вкладышей МОП выглядит следующим образом (фиг. 2). В корпус 4, который является связующим элементом между левым и правым контролируемыми моторно-осевыми подшипниками, вставляются валы 5 и 6 с предварительно напрессованными на шейках подшипниками 15 и установленными крышками 13, после чего крышки фиксируются винтами 14, прижимая тем самым подшипники к основанию корпуса и регулируя их осевое перемещение. Кроме того, предварительно на валы 5 и 6 напрессовываются опоры приспособления в виде ступиц опор 2 и опорных элементов, состоящих из двух шариков 20 на жесткой опоре и одного шарика 20, поджимаемого к внутренней поверхности МОП пружиной 11, зафиксированной в резьбовой втулке 35 заглушкой 12.

[13]

Такая конструкция опор приспособления позволяет обеспечивать базировать приспособление по двойной направляющей базе с двумя опорными точками на внутренней цилиндрической поверхности вкладыша левого и правого МОП. При этом подпружиненный шарик позволяет устанавливать опоры по внутренним поверхностям вкладышей МОП, имеющих разные диаметры и расточенные под разные оси.

[14]

Далее производится монтаж измерительных головок на концы валов 5 и 6. Слева устанавливается сборная измерительная головка, предназначенная для измерения радиального биения внутренней цилиндрической посадочной поверхности вкладышей МОП. Она состоит из двух струбцин 30 и 31, которые при монтаже устанавливаются на предварительно напрессованный на шейку вала подшипник 18, отделяемый от ступени вала 6 разделительным кольцом 34. Струбцины 30 и 31, установленные по наружному кольцу подшипника 18, стягиваются фиксаторами 28 и 29. Это позволяет стянутым струбцинам свободно вращаться относительно неподвижного вала 6. При сборке струбцин в вертикально расположенное отверстие, образуемое ими, устанавливается индикатор 3 часового типа ИРБ 0...0,8 мм ГОСТ 5584-75, а в горизонтально расположенное отверстие - палец 16, на котором при помощи колпачка 17 фиксируется опорный шарик 1. Шарик 1 обеспечивает точку контакта всего приспособления с торцевой поверхностью вкладышей МОП, и предотвращает осевое смещение элементов приспособления (фиг. 2).

[15]

С целью регистрации контролируемых параметров измерительным стержнем индикатора 3 при его наружном расположении на струбцинах 30 и 31 при помощи вилки 7 и оси 27 устанавливается измерительный мостик 9, на который с одной стороны опирается измерительный стержень индикатора, а с другой стороны мостик контактирует с контролируемой поверхностью вкладышей МОП. Посередине между вилкой 7 и измерительным стержнем индикатора 3 устанавливается стягивающая пружина 35, обеспечивающая постоянный контакт измерительного мостика 9 с поверхностью вкладышей МОП. Таким образом, при полном повороте измерительной головки вокруг оси вала 6, обеспечивается надежный контакт шарика 1 с торцом и измерительного мостика 9 с поверхностью вкладышей МОП. Максимальное отклонение стрелки индикатора за один полный оборот измерительной головки покажет радиальное биение посадочной поверхности вкладышей.

[16]

Справа устанавливается измерительная головка, предназначенная для измерения отклонений от соосности внутренних цилиндрических посадочных поверхностей вкладышей левого и правого МОП. Она состоит из уголка 8, который соединяется с концом вала 5 посредством подвижного соединения типа «ласточкин хвост», а также установленном на уголке индикаторе 10 часового типа ИЧ 50-0,01 ГОСТ 577-68, затянутым при помощи фиксатора 32. Подвижный уголок 8 может перемещаться в радиальном направлении относительно вала 5, а фиксируется неподвижно фиксатором 19, что дает возможность настраивать приспособление на контроль МОП, имеющих различные диаметры контролируемых поверхностей. Измерительный мостик 9 играет такую же роль, как и тот, что располагается слева, а возвратная пружина 25, позволяет контролировать постоянство нажима контактного наконечника мостика на контролируемую поверхность. Вилка 22, закрепленная на уголке винтами 21, имеет сквозные пазы овальной формы, в которых перемещается в вертикальном направлении серьга 26, фиксируемая в выбранном положении при помощи прижимной планки 23 и фиксатора 33, что позволяет повысить чувствительность измерения отклонений от соосности.

[17]

Измерение отклонений от соосности выполняется при полном обороте вала 5 с закрепленным уголком 8 и индикатором 10 вокруг оси неподвижного в момент измерения вала 6. Максимальная величина отклонений стрелки индикатора за один полный оборот, деленая пополам, покажет величину отклонения от соосности, приходящаяся на радиус контролируемой поверхности.

[18]

Применение приспособления для контроля соосности и радиального биения вкладышей моторно-осевых подшипников тяговых электродвигателей позволит выполнять измерения отклонения от соосности и радиального биения внутренних цилиндрических поверхностей вкладышей МОП с целью оценки качества токарной обработки вкладышей.

[19]

Список литературных источников

[20]

1. Пат. 162222 Российская федерация, МПК G01B 5/25 (2006.01) Прибор для контроля соосности отверстий под коренные шейки коленчатого вала / Ф.X. Халиуллин, А.Л. Абдуллин, Н.М. Егоров, А.Н. Сергеев; заявитель и патентообладатель Федеральное государственное бюджетное образовательное учреждение высшего профессионального образования «Казанский национальный исследовательский технический университет им. А.Н. Туполева-КАИ» (КНИТУ-КАИ). - №2015149203/28; заявл. 16.11.2015; опубл. 27.05.2016; бюл. №15.

Как компенсировать расходы
на инновационную разработку
Похожие патенты