Полезная модель относится к конструкциям маркеров для игры "пейнтбол", а именно к системам предупреждения разрушения снарядов в процессе их силовой подачи в зарядную камору маркера. Устройство блокировки затвора маркера включает рычаг блокировки, который устанавливается в вырезе корпуса вдоль линии подачи шаров непосредственно напротив места положения шара в зарядной каморе на линии досылки в канал ствола, при этом он крепится на оси рычага с возможностью вращения относительно нее, а ось рычага жестко фиксируется в корпусе маркера, на ось устанавливается пружина рычага, которая обеспечивает действие силы, удерживающей данный рычаг в нейтральном положении блокировки. Технический результат заключается в устранении ударной нагрузки на корпус снаряда во время подачи в зарядную камору и удержании снаряда от выпадения, в улучшении эксплуатационных характеристик маркера, в повышении надежности его работы, в упрощении процесса эксплуатации маркера. 1 з.п. ф-лы, 10 ил.
1. Устройство блокировки затвора маркера включает рычаг блокировки, который устанавливается в вырезе корпуса вдоль линии подачи шаров непосредственно напротив места положения шара в зарядной каморе на линии досылки в канал ствола, при этом он крепится на оси рычага с возможностью вращения относительно нее, а ось рычага жестко фиксируется в корпусе маркера, на ось устанавливается пружина рычага, которая обеспечивает действие силы, удерживающей данный рычаг в нейтральном положении блокировки. 2. Устройство блокировки затвора маркера по п. 1, отличающееся тем, что рычаг блокировки представляет собой Г-образную деталь.
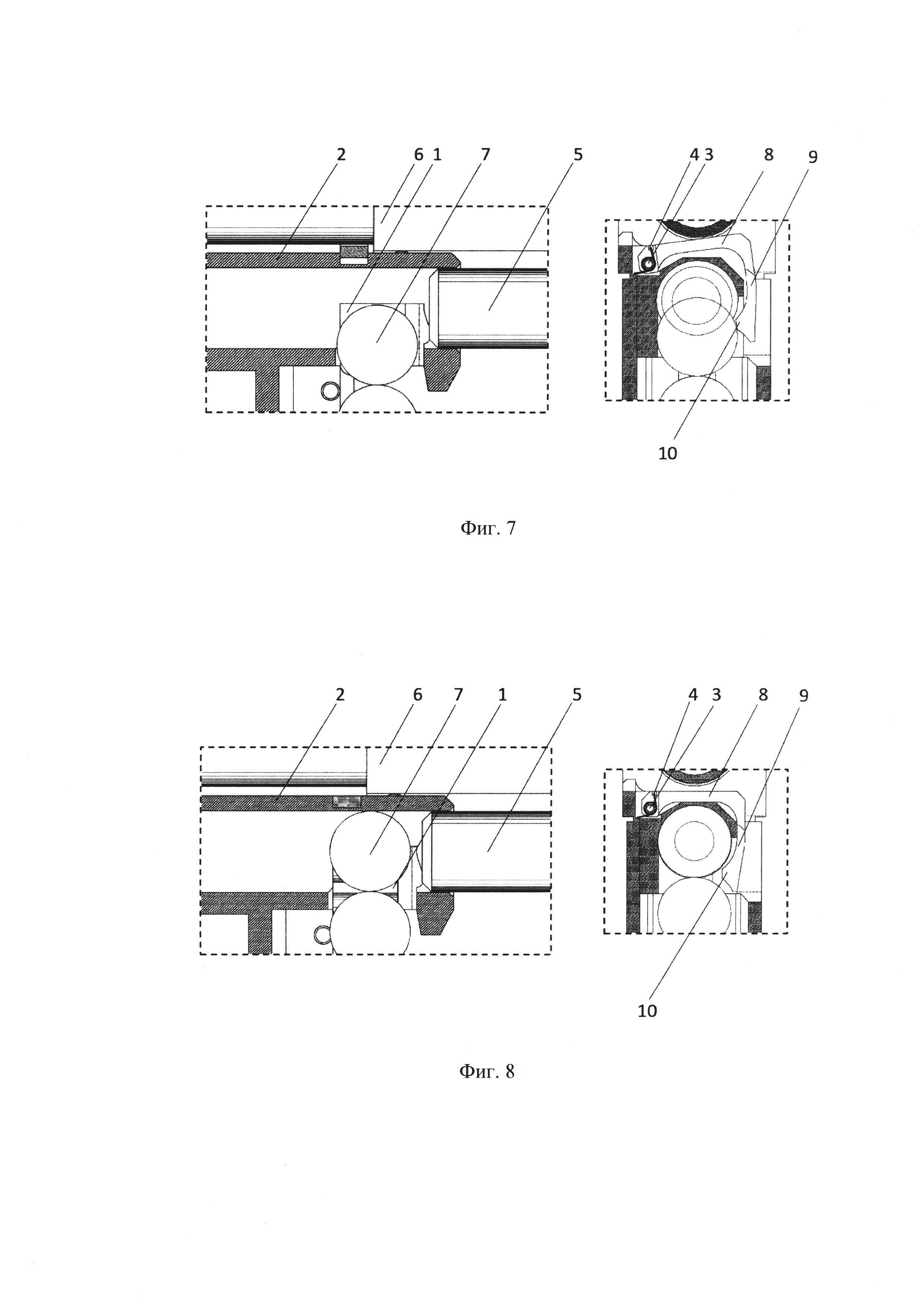
Полезная модель относится к конструкциям маркеров для игры "пейнтбол", а именно к системам предупреждения разрушения снарядов в процессе их силовой подачи в зарядную камору маркера. Система представляет собой установленный на оси в корпусе маркера блокиратор. Блокиратор представляет собой единую деталь и может быть выполнен из металла (или другого материала), обладающего низкой массой и достаточной прочностью, а также не подверженного коррозии во влажной среде. На его теле выполнены выступающие элементы, которые, взаимодействуя с корпусом маркера, затвором, подаваемым снарядом, обеспечивают решение задач по позиционированию данного снаряда в зарядной каморе на линии досылки в канал ствола и остановке затвора в случае нарушения его подачи. Кроме того, второй функцией устройства является предотвращение выпадения уже помещенного снаряда в камору маркера при отсоединении магазина или аналогичного устройства, подающего снаряды в маркер. 1. Область техники Устройство блокировки затвора маркера при нарушении силовой подачи снаряда в зарядную камору, с одновременным предотвращением выпадения снаряда из каморы (далее также: УБЗМ, устройство) применяется в маркерах (имитаторах стрелкового оружия), используемых в игре "пейнтбол". Оно предназначено для предотвращения возникновения в процессе силовой подачи снаряда в зарядную камору маркера механических нагрузок на корпус данного снаряда, способных привести к его разрушению. Применение системы обеспечивает значительное снижение задержек при стрельбе, тем самым повышается качество проведения игр или тренировок. Данное устройство также может быть реализовано и в других видах пневматического оружия или механизмах, а при определенных условиях и в огнестрельном оружии. 2. Уровень техники В настоящее время в игре пейнтбол в качестве метаемого снаряда применяются, главным образом, шары и пули с оперением ("First strike"), конструктивно выполненные по принципу "воланчика". Оба вида снарядов состоят из тонкой легко разрушаемой оболочки и наполнителя - жидкой краски либо порошка. Прочность оболочки рассчитана таким образом, чтобы выдерживать давление газа и других действующих на него сил в процессе движения по каналу ствола и разрушаться в момент удара о преграду с максимальной долей вероятности. Такое свойство оболочки снаряда предъявляет высокие требования к работе механизма маркера и, в частности к синхронизации системы подачи шаров в зарядную камору. Зарядная камора - пространство между передней торцевой частью взведенного затвора и казенной частью ствола, в котором располагается поданный на линию досылки в канал ствола снаряд. При отсутствии данной синхронизации весьма вероятна ситуация, когда движущийся вперед затвор утыкается в недоподанный в зарядную камору снаряд и разрушает его, вызывая задержку в стрельбе, устранение которой требует значительного времени. В маркерах т.н. Hi-end класса, работа которых управляется программируемой электроникой, задача синхронизации решена путем введения, как правило, оптических датчиков, которые, в случае отсутствия шара в зарядной каморе, не дают разрешающего сигнала на спуск затвора. В более простых, но, при этом, более распространенных механических маркерах данная задача практически не решается. Весь расчет строится на снижении вероятности раскола шара введением таких мер, как ограничение скорострельности, наличие только полуавтоматического режима стрельбы и использование систем подачи с силовым приводом, принудительно повышающим скорость движения шаров. В последнее время пейнтбольные маркеры находят все большее применение в качестве имитатора стрелкового оружия не только для проведения игр в стиле "милитари", но и для отработки личным составом силовых структур огневого боя на коротких дистанциях. Для этих целей применяют механические маркеры как наиболее надежные и простые в обращении. Появляются модели, по габаритам, дизайну в максимальной степени соответствующие боевому оружию. В них применяются системы подачи, имитирующие реальные магазины по размерам, способу обращения. В таких магазинах подача шаров осуществляется под действием пружины снизу вверх (нижняя подача). Силовая подача снижает вероятность раскола шара, но не исключает ее, а возникновение задержек снижает качество проведения тренировок. Отсутствие синхронизации циклов в механическом маркере можно компенсировать введением в конструкцию простого и надежного механического устройства блокировки, исключающего возможность раскола движущимся вперед затвором хрупкого снаряда в случае не полной подачи последнего в зарядную камору и не допускающей производства холостого выстрела. Такое решение позволяет резко снизить количество задержек при стрельбе, что способствует максимальной имитации при применении маркера в качестве тренажера индивидуального стрелкового оружия. В настоящий момент известно устройство механической блокировки стрельбы фирмы RAP4 - Lok-Bolt Anti Chop System (патент US 20120325192 A1). Выпускается в виде апгрейда к маркерам данной фирмы с магазинной (нижней) подачей (Фиг. 1). Представляет собой рычаг 1, расположенный вдоль линии канала ствола в корпусе 2 непосредственно над окном магазина, вращающийся на оси 3 перпендикулярной оси канала ствола и перпендикулярной линии движения подаваемых шаров 4. Под действием пружины 5 рычаг опущен вниз, при этом его торец располагается напротив переднего среза взведенного затвора 6. При отсутствии шара 4 в зарядной каморе либо его недоподаче (Фиг. 2) при нажатии на спусковой крючок затвор 6 сходит с шептала и останавливается, уперевшись в торец рычага 1. Для продолжения стрельбы необходимо взвести затвор 6 и устранить причину отсутствия шара 4. При нормально поданном шаре 4 (стоит на линии досылки) (Фиг. 3) рычаг 1 под его воздействием поднимается, сжимая свою пружину 5, и не мешает ходу затвора 6 вперед (Фиг. 4). Рассмотренная система RAP4 Lok-Bolt Anti Chop System служит прототипом заявленной полезной модели. Данное УБЗМ отличается простотой и надежностью в работе, однако ей присущи следующие недостатки. При срабатывании блокировки основное тело блокиратора испытывает ударную нагрузку со стороны ускоряющегося затвора, что для обеспечения требуемого ресурса предъявляет повышенные требования к конструктивной прочности узла и материалу самого затвора. Состоящая из элементов малых размеров (фиксатор снаряда, рычаг, его пружина, ось и т.д.) система трудна при обслуживании в полевых условиях - велик риск утерять какую-либо деталь. Процесс переборки и чистки занимает относительно много времени. Не исключена ситуация, когда игрок решает сменить пустой магазин на снаряженный, забыв, при этом предварительно взвести затвор, а например, загрязнение, препятствующее полному опусканию рычага, или износ его торцевой части и т.д. способствует тому, что данный рычаг, упирающийся в передний срез затвора, находится на грани срыва, тогда, в момент подсоединения полного магазина, под воздействием силы удара подаваемого шара он проворачивается освобождая затвор. Происходит непроизвольный выстрел. Такая ситуация весьма опасна, если произойдет вне игрового поля. В-четвертых, при срабатывании блокировки, ось рычага подвергается прямой ударной нагрузке, что повышает требования к прочностным характеристикам элементов системы. 3. Раскрытие полезной модели Устройство предотвращения разрушения снарядов в процессе их силовой подачи в зарядную камору маркера должно отвечать следующим требованиям. 1. Надежно останавливать движущийся затвор в случае отсутствия снаряда в зарядной каморе на линии досылки при любом положении маркера, в том числе и в затрудненных условиях, например при загрязнении. 2. Исключать взаимодействие рычага блокиратора с передним срезом затвора, приводящее его к выработке и износу, путем переноса ударных нагрузок на внешний корпус затворной рамы. 3. Удерживать и позиционировать уже находящийся в зарядной каморе маркера снаряд на линии досылания, в случае если отсутствует подпирающее давление пружины магазина. 4. Снизить ударную нагрузку на корпус снаряда при его подаче в зарядную камору. 5. Обладать достаточным ресурсом и износостойкостью. 6. Быть максимально простой конструктивно. 7. Быть простой в обслуживании, в т.ч. и в полевых условиях. Технической проблемой, на решение которой направлено устройство, является устранение недостатков, свойственных прототипу, при сохранении простоты конструкции, а также внесение дополнительной функции, увеличивающей эксплуатационные характеристики, было заложено в данной полезной модели. Технический результат заключается в устранении ударной нагрузки на корпус снаряда во время подачи в зарядную камору и удержании снаряда от выпадения, в улучшении эксплуатационных характеристик маркера, в повышении надежности его работы, в упрощении процесса эксплуатации маркера. Технической результат достигается тем, что рычаг данной блокировки, располагаясь напротив поданного на линию досылки снаряда и имеющий возможность вращения относительно своей оси, жестко закрепленной в корпусе маркера, в отличие от прототипа, размещен не вдоль продольной оси канала ствола, а поперек нее - вдоль линии подачи шаров. Такая позиция дает возможность рычагу взаимодействовать со снарядом уже в начальной фазе движения данного снаряда из подающего магазина, тем самым имея возможность блокировать затвор почти на всем протяжении пути снаряда в зарядную камору. Расположение рычага вдоль линии движения подаваемых снарядов, в сочетании с его формой, обеспечивает стабилизацию подаваемого снаряда при движении на линию досылки и надежно фиксирует его в зарядной каморе, не позволяя выпасть снаряду обратно в отверстие зарядной каморы, в случае, когда магазин отстегнут. Кроме того, в отличие от прототипа, перенос ударных нагрузок, при срабатывании блокировки, с переднего среза затвора, на внешний корпус затворной рамы, а также с оси рычага на корпус маркера повышает надежность системы. 4. Краткое описание чертежей Фиг. 1 - схема блокировки "RAP4 Lok-Bolt Anti Chop System". Исходное положение. Фиг. 2 - схема блокировки "RAP4 Lok-Bolt Anti Chop System". Срабатывание блокировки. Фиг. 3 - схема блокировки "RAP4 Lok-Bolt Anti Chop System". Положение рычага при поданном шаре. Фиг. 4 - схема блокировки "RAP4 Lok-Bolt Anti Chop System". Положение рычага блокировки в момент движения затвора. Фиг. 5 - схема заявленного устройства. Исходное положение. Фиг. 6 - варианты исполнения рычага заявленного устройства. Фиг. 7 - схема заявленного устройства. Положение рычага в момент движения шара в зарядную камору. Фиг. 8 - схема заявленного устройства. Положение рычага при поданном шаре. Фиг. 9 - схема заявленного устройства. Срабатывание блокировки. Перспективный вид. Фиг. 10 - схема заявленного устройства. Срабатывание блокировки при отстреле последнего шара в магазине. 5. Осуществление полезной модели Устройство блокировки затвора маркера (Фиг. 5). Рычаг 1 основной элемент блокировки представляет собой Г-образную деталь и устанавливается в вырезе корпуса 2 вдоль линии подачи шаров непосредственно напротив места положения шара в зарядной каморе на линии досылки в канал ствола. Крепится рычаг на оси 3 с возможностью вращения относительно нее. Рычаг может иметь, в зависимости от реализации, разную ширину основного плеча (Фиг. 6). Ось рычага 3 (Фиг. 5) предназначена для его крепления, обеспечивая при этом заданную подвижность. Ось рычага 3 жестко фиксируется в корпусе маркера. Пружина рычага 4 устанавливается на направляющую ось 3 и обеспечивает действие силы, удерживающей данный рычаг в нейтральном положении блокировки. Принцип действия. Исходное положение. Нейтральная позиция рычага блокировки (Фиг. 5). Основное плечо 8 рычага 1 входит в вырез в корпусе 2 и не выступает за его верхнюю границу, тем самым не препятствуя свободному ходу затворной рамы 6, с которой жестко соединен затвор 5. Одновременно, такая позиция визуально сигнализирует о положении блокировки. Параллельно с этим, вспомогательное плечо 9 входит в вырез в корпусе 2 непосредственно перед окном подачи шара в зарядную камору и частично перекрывает его нижним фигурным выступом 10. Такое положение рычага 1 обеспечивает пружина 4 расположенная в вырезе корпуса 2 на оси рычага 3. Одним концом она упирается в стенку выреза в корпусе 2, другим воздействует на основное плечо 8. Свободное сопряжение рычага 1 и направляющей оси 3, обеспечивает вращательное движение рычага 1 относительно оси 3. В свою очередь, стенки выреза в корпусе 2, в который помещен рычаг 1, имея соответствующую ширину, предотвращают его движение вдоль оси 3. В момент присоединения магазина шары под действием его пружины подаются в маркер (Фиг. 7). Первый шар 7, упираясь в нижний фигурный выступ 10 вспомогательного плеча 9 рычага блокировки 1, благодаря тому, что сила упругости пружины магазина значительно превосходит силу упругости пружины рычага блокировки 4, поворачивает его. При этом основное плечо рычага 8 частично выходит из выреза корпуса 2, а его вспомогательное плечо 9 поднимается вверх и в сторону до того момента, когда своим нижним фигурным выступом 10 перестает перекрывать линию подачи шаров. Происходит это вследствие вращательного движения рычага 1 относительно оси 3. После этого, шар 7 свободно проникает в зарядную камору и останавливается на линии досылки в ствол, одновременно с этим прекращая свое воздействие на вспомогательное плечо 9. В этот момент, рычаг блокировки 1, не испытывая больше "толкающее" воздействие шара, под действием пружины 4 возвращается в исходное положение. Вследствие чего нижний фигурный выступ 10 вспомогательного плеча 9 снова входит в вырез в корпусе 2 и частично перекрывает линию подачи шара, тем самым предотвращая его выпадение из зарядной каморы, в случае если магазин будет отстегнут и шар лишится подпирающего давления пружины магазина (Фиг. 8). Основное плечо 8 рычага 1, вернувшись вновь в вырез в корпусе 2, сигнализирует игроку о том, что цикл подачи шара произведен без нарушений и маркер готов к стрельбе. В момент выстрела затвор 5 жестко соединенный с затворной рамой 6 беспрепятственно идет вперед, досылая шар 7 в канал ствола. После выстрела затворная рама 6 и затвор 5 движется назад. Очередной подаваемый шар упирается в нижнюю поверхность затвора 5 и не препятствует его продвижению. В момент полного открытия затвором 5 окна подачи, шары под действием пружины магазина начинают движение вверх. Вышеописанный цикл повторяется и система готова к очередному выстрелу. Работа блокировки при нарушении цикла выстрела (Фиг. 9). В ситуации, когда шар 7 по тем или иным причинам не способен пройти весь цикл подачи в зарядную камору, происходит блокирование затвора 5 путем блокировки затворной рамы 6, с которой он жестко соединен. Такими причинами могут быть, техническая неисправность пружины магазина, нарушение целостности оболочки шара, загрязненность в магазине, а также в районе окна подачи шара, зарядной каморе и проч. В тот момент, когда шар 7 движется в зарядную камору, он воздействует на рычаг 1 вращая его на оси 3, одновременно приподнимая вверх основное плечо 8 над вырезом в корпусе 2 (Фиг. 7). В свою очередь, основное плечо 8 встает напротив торца затворной рамы 6 (Фиг. 9). Если в этот момент затворная рама 6 с жестко присоединенным к ней затвором 5 начнет движение вперед (начало процесса выстрела), опережая завершение цикла подачи шара 7 из магазина (неполного выхода на линию досылки), то затворная рама 6 своим передним торцом упрется в основное плечо 8 и прекратит свое движение, не позволяя затвору 5 нанести разрушительное воздействие на оболочку недоподанного шара и тем самым разрушить его. Для продолжения стрельбы игроку необходимо вручную взвести назад затворную раму 6 и устранить причину срабатывания блокировки. Работа блокировки при отстреле последнего шара в магазине (Фиг. 10). С отстрелом последнего поданного из магазина шара, затворная рама 6 с жестко закрепленным на ней затвором 5, завершая цикл, отходит назад и открывает зарядную камору. В этот момент в окно подачи шара частично входит подаватель 11 расположенный на конце пружины магазина. Также как и в выше описанном варианте с шаром 7, подаватель 11 воздействует на нижний фигурный выступ 10 вспомогательного плеча 9, тем самым поворачивая рычаг 1 на оси 3 и поднимая основное плечо 8 над вырезом в корпусе 2. В случае осуществления нового выстрела (или продолжения стрельбы в режиме «автоматический огонь»), затворная рама упрется в основное плечо 8 и прекратит свое движение, тем самым предотвращая холостую стрельбу и сигнализируя об опустошении магазина. Для продолжения стрельбы игроку необходимо сменить магазин на полный и вручную взвести затворную раму 6. Устройство блокировки затвора маркера при нарушении цикла выстрела предназначено для применения в маркерах для игры "пейнтбол" для предотвращения раскола затвором шара при его неподаче на линию досылки, а также предотвращения холостой стрельбы при опустошенном магазине, содержащее рычаг, установленный в вырезе корпуса маркера напротив места положения поданного в зарядную камору шара на оси, жестко закрепленной в корпусе маркера, с возможностью вращаться относительно нее и, под действием силы упругости воздействующей на него пружины своим плечом, входить во внутреннее пространство зарядной каморы, занимая положение, соответствующее разблокировке (возможности производства выстрела) и удерживать шар на линии досылки, а под действием пружины магазина, сила упругости которой значительно превышает силу упругости пружины, действующей на плечо рычага, через подаваемый на линию досылки в канал ствола шар выходить из внутреннего пространства зарядной каморы, занимая положение, соответствующее блокировке (не возможности производства выстрела), располагаясь напротив переднего торца затворной рамы, блокируя ее движение вперед, отличающееся тем, что данный рычаг расположен поперек продольной оси канала ствола вдоль линии подачи шаров.