Полезная модель относится к буровой установке для геологоразведки. Буровая установка для геологоразведки включает установленную на гусеничном движителе несущую раму, на которой расположены рабочие модули. Модуль для бурения расположен на несущей раме в передней части буровой установки и включает в себя мачту с узлом захвата буровой трубы, узел вращения буровой трубы с зажимным устройством, приводимый в движение вдоль оси мачты с помощью гидроцилиндра и лебедку снаряда со съемным керноприемником. Для позиционирования мачты модуля для бурения используется поворотный механизм с двумя плоскостями вращения и возможностью регулировки угла наклона между ними. Технический результат заключается в создании самоходной буровой установки колонкового бурения, обеспечивающей возможность бурения вертикальных и наклонных скважин круговым веером в широком рабочем диапазоне. 2 з.п. ф-лы, 4 ил.
1. Буровая установка для геологоразведки включает установленную на гусеничном движителе несущую раму, на которой расположены гидравлический модуль, модуль с дизельным двигателем, модуль охлаждения, модуль промывочного насоса, модуль для бурения, пульт управления и передние и задние домкраты для приведения буровой установки в рабочее горизонтальное положение, отличающаяся тем, что модуль для бурения расположен на несущей раме в передней части буровой установки и включает в себя мачту с узлом захвата буровой трубы, узел вращения буровой трубы с зажимным устройством, приводимый в движение вдоль оси мачты с помощью гидроцилиндра и лебедку снаряда со съемным керноприемником, при этом для позиционирования мачты модуля для бурения используется поворотный механизм с двумя плоскостями вращения и возможностью регулировки угла наклона между ними. 2. Буровая установка по п.1, отличающаяся тем, что модули расположены на несущей раме с возможностью отдельного снятия и установки каждого из них. 3. Буровая установка по п.1, отличающаяся тем, что пульт управления выполнен с возможностью установки его на выносную треногу, имеющую регулировку по высоте.
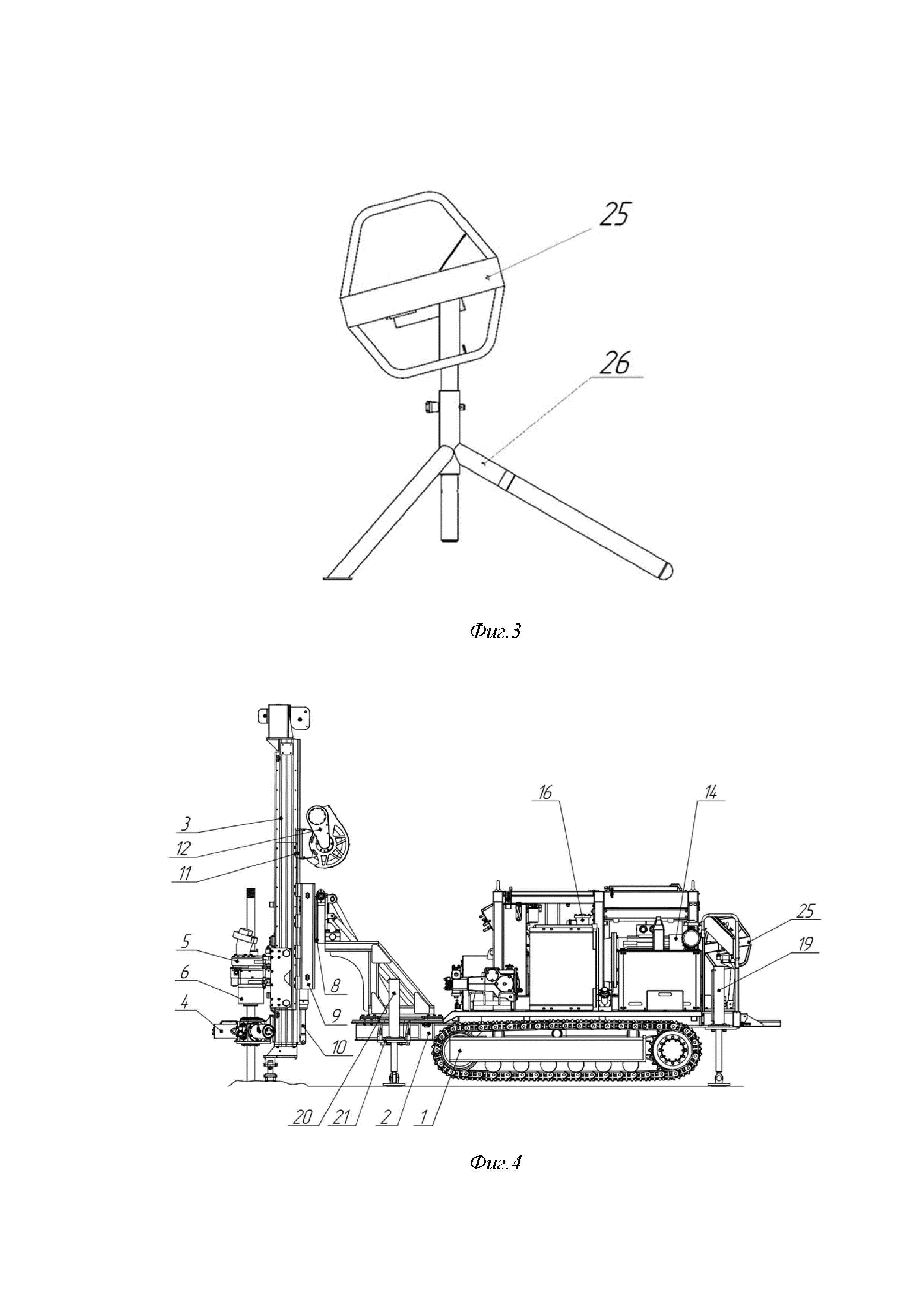
Полезная модель относится к области геологоразведки, а именно к конструкции передвижных буровых установок колонкового бурения на самоходном шасси для подземных геологоразведочных работ, и может быть использована для бурения вертикальных, горизонтальных и наклонных скважин. Колонковое бурение применяется для выполнения разведочных скважин с большой глубиной, проходки в скальных горизонтах, прокладки артезианских колодцев. Метод имеет ряд преимуществ, которые заключаются в мобильности установок, возможности отбора пробы горных пород. Извлечение на поверхность кернового материала позволяет изучить геологию участка и обосновать перспективу дальнейших исследований и разработок. Известно большое количество передвижных буровых установок. Так, например, в патенте РФ №2190076 (приор. 26.03.2001, опубл. 27.09.2002) описана мобильная буровая установка, содержащая многоосное шасси, горизонтально расположенную на раме в транспортном положении буровую вышку, устройство для подъема вышки в вертикальное рабочее положение, опорные домкраты с тарелями для горизонтирования. При этом устройство для подъема вышки снабжено консольной платформой, шарнирно закрепленной на раме. Вышка выполнена съемной и соединена с консольной платформой, как минимум, тремя взаимоответными ловителями типа крюк-петля для ориентации и фиксации вышки, саморазъемными в вертикальном положении вышки при установке ее на грунт. Причем два крюка расположены на свободном конце консольной платформы, симметрично продольной оси вышки, третий - со стороны крепления консольной платформы к раме. Основание вышки снабжено, как минимум, четырьмя опорами, закрепленными с возможностью поворота и фиксации в рабочем и транспортном положениях. Недостатками известного аналога является отсутствие возможности наклонного бурения, значительная высота мобильной буровой установки в транспортном положении, сложность конструкции и монтажа для приведения установки в рабочее состояние. Наиболее близким аналогом, выбранным в качестве прототипа, является буровая установка, описанная в патенте CN 110206528 (приор. 31.05.2019, опубл. 06.09.2019). В изобретении описана буровая установка для бурения ствола скважины для забойки комплексной горной выработки, включающая корпус буровой установки. Корпус буровой установки включает подвижно соединенные устройство подачи и узел регулировки угла. При этом узел регулировки угла состоит из поворотной платформы, первой поворотной опоры, узла стрелы, телескопической стрелы, второй поворотной опоры, поворотного гидроцилиндра, выравнивающего устройства и раздвижного устройства, которые подвижно соединены друг с другом, причем раздвижное устройство подвижно соединено с узлом подачи. Описанная в патенте буровая установка имеет большой ряд преимуществ, например, такие как малые размеры, позволяющие производить работу на ней в условиях горных выработок, корпус буровой установки включает подвижно соединенные устройство подачи и узел регулировки угла направления оси бурения. Однако, существенным недостатком является отсутствие возможности проведения работ по геологоразведке, в частности проведения колонкового бурения. Техническим результатом, который достигается в заявленной полезной модели, является создание самоходной буровой установки колонкового бурения, обеспечивающей возможность бурения вертикальных и наклонных скважин круговым веером в широком рабочем диапазоне, перекрывающим всю переднюю полусферу. Технический результат достигается тем, что буровая установка для геологоразведки включает установленную на гусеничном движителе несущую раму, на которой расположены гидравлический модуль, модуль с дизельным двигателем, модуль охлаждения, модуль промывочного насоса, модуль для бурения и пульт управления. При этом модуль для бурения расположен на несущей раме в передней части буровой установки и включает в себя мачту с узлом захвата буровой трубы, узел вращения буровой трубы с зажимным устройством, приводимый в движение вдоль оси мачты с помощью гидроцилиндра и лебедку снаряда со съемным керноприемником. Причем для позиционирования мачты модуля для бурения используется поворотный механизм с двумя плоскостями вращения и возможностью регулировки угла наклона между ними. Предпочтительно, чтобы модули были расположены на несущей раме с возможностью отдельного снятия и установки каждого из них. Также несущая рама может быть снабжена домкратами для приведения буровой установки в рабочее горизонтальное положение. В частном случае пульт управления может быть выполнен с возможностью установки его на выносную треногу, имеющую регулировку по высоте. Использование гусеничного движителя в буровой установке для ее перемещения позволяет оптимизировать процесс ее передвижения до места работы. Применение общей несущей рамы для расположения рабочих модулей позволяет создать жесткую конструкцию всей буровой установки, необходимую для буровых работ на значительные глубины. Гидравлический модуль, модуль с дизельным двигателем, модуль охлаждения, модуль промывочного насоса, модуль для бурения и пульт управления являются необходимыми рабочими модулями для работы всей буровой установки. Наличие домкратов на несущей раме позволяет приводить буровую установку в рабочее горизонтальное положение. Модуль для бурения включает в себя мачту с узлом захвата буровой трубы, узел вращения буровой трубы с зажимным устройством, приводимый в движение вдоль оси мачты с помощью гидроцилиндра и лебедку снаряда со съемным керноприемником, что позволяет производить колонковое бурение. Расположение модуля для бурения на несущей раме в передней части буровой установки и использование для позиционирования мачты модуля для бурения поворотного механизма с двумя плоскостями вращения и возможностью регулировки угла наклона между ними создает возможность бурения вертикальных и наклонных скважин круговым веером в широком рабочем диапазоне, перекрывающим всю переднюю полусферу. Таким образом, все приведенные признаки направлены на достижение технического результата, а именно создание самоходной буровой установки колонкового бурения, обеспечивающей возможность бурения вертикальных и наклонных скважин круговым веером в широком рабочем диапазоне, перекрывающим всю переднюю полусферу. Расположение модулей на несущей раме с возможностью отдельного снятия и установки каждого из них позволяет повысить ремонтопригодность буровой установки. Выполнение пульта управления с возможностью установки его на выносную треногу, имеющую регулировку по высоте, позволяет находиться оператору на расстоянии от работающей буровой установки, что повышает безопасность при проведении работ. В последующем заявляемое техническое решение поясняется подробным описанием конкретного, но не ограничивающего настоящее решение, примера его выполнения и прилагаемыми чертежами, на которых: фиг.1 - изображена буровая установка в транспортном положении вид сбоку; фиг.2 - изображена буровая установка в транспортном положении вид сверху; фиг.3 - изображено рабочее положение пульта; фиг.4 - изображена буровая установка в рабочем положении вид сбоку. Буровая установка для геологоразведки включает в себя гусеничное шасси 1, на котором смонтирована несущая рама 2, с установленными на ней рабочими модулями, с возможностью отдельного снятия и установки каждого из них. Модуль для бурения расположен в передней части установки и включает в себя мачту 3 с рабочими узлами, узлом 4 захвата и узлом 5 вращения буровой трубы с зажимным устройством 6, приводимый в движение вдоль оси мачты 3 с помощью гидроцилиндра 7. Для позиционирования мачты 3 используется поворотный механизм с двумя плоскостями вращения и возможностью регулировки угла наклона между ними. При этом в одной из плоскостей вращение обеспечивается при помощи поворотного редуктора 8, на который установлена рамная конструкция 9 с гидроцилиндром 10, обеспечивающим выдвижение мачты 3 к устью скважины. Также на нижней плоскости мачты 3 при помощи зажимного кронштейна 11 смонтирована лебедка 12 снаряда со съемным керноприемником (ССК), при этом кронштейн 11 выполнен таким образом, что при выдвижении мачты 3 лебедка 12 ССК может быть жестко сцеплена с рамой 9, что позволяет переместить ее в удобное рабочее положение при любом уровне выдвижения и угле наклона мачты 3. Питание буровой установки во время работы производится посредством гидравлического модуля 13, установленного в правой части несущей рамы 2 буровой установки. Данный гидравлический модуль 13 включает в себя электродвигатель 14 с установленными на нем гидравлическими насосами, гидравлический бак 15, гидравлические блоки пилотного управления, дополнительный водяной охладитель 16, а также электрический щит управления электродвигателем 14, позволяющий производить подключение к внешнему источнику питания с напряжением 380В, либо 660В. В задней левой части несущей рамы 2 буровой установки установлен модуль 17 с дизельным двигателем, обеспечивающим работу второго контура гидравлической системы для привода гусениц 1 и позиционирования мачты 3 в то время, когда установка не подключена к внешнему источнику питания. Прямо за ним находится пульт 18 управления ходом станка, а также рычаги управления задним домкратом 19 и передним домкратом 20, при помощи которых несущая рама 2 буровой установки отжимается от опорной поверхности и переводится в рабочее положение, выравниваясь в горизонтальной плоскости. При этом передние домкраты 20 установлены на поворотных кронштейнах 21, что позволяет обеспечить их отвод в сторону в том случае, когда при бурении вниз устье располагается в зоне предполагаемой точки опоры. Охлаждение гидравлики обоих контуров обеспечивается модулем 22 воздушного охладителя, вентилятор которого приводится в движение за счет гидромотора. Охладитель устанавливается на кронштейн 23, с возможностью опрокидывания на 90 градусов в горизонтальное положение, что позволяет обеспечить больший диапазон работы мачты 3. Модуль 24 промывочного насоса, обеспечивающий подачу бурового раствора в скважину, также расположен на несущей раме 2 в ее передней части, в описываемом варианте слева. Управление бурением производят с пульта 25, устанавливающегося на треногу 26 с возможностью регулировки высоты для удобства использования пульта 25. В транспортном положении пульт 25 управления бурением размещается в задней части несущей рамы 2, что облегчает его транспортировку на большие расстояния. Заявляемая буровая установка работает следующим образом. Буровая установка скомпонована на одном гусеничном шасси 1 и имеет возможность перемещаться как от электродвигателя 14 при подключенном кабеле питания в пределах длины кабеля, так и от модуля 17 ходового дизельного двигателя на любые расстояния. При приезде на место работы установка отжимается от опорной поверхности выставляется в устойчивое положение при помощи двух передних домкратов 20 и двух задних домкратов 19, расположенных соответственно в передней и задней части машины. Мачта 3 приводится в необходимое положение за счет поворота рамной конструкции 9, наклона и поворота поворотного редуктора 8, а также спуском мачты 3 к устью скважины. Операции по выставлению мачты 3 можно производить как от электродвигателя 14, так и при работе модуля 17 дизельного ходового двигателя. Лебедку 12 ССК закрепляют в нужном положении на мачте 3, сдвигая ее вдоль оси мачты 3 и прижимая пластинами. Выносной пульт 25 управления бурением устанавливают на регулируемой треноге 26 на безопасном для буровика расстоянии от буровой установки. На мачте 3 узел 5 вращения буровой трубы отодвигают в крайнее положение. В узел 4 захвата устанавливают первую буровую трубу и зажимают зажимным устройством 6. Вторую трубу заводят через узел 5 вращения буровой трубы и накручивают на первую. Узел 5 вращения буровой трубы зажимает верхнюю трубу и раскручивает буровую колонну до необходимых оборотов. Затем весь узел 5 вращения буровой трубы вращения подают в сторону устья скважины при помощи гидроцилиндра 10 подачи, задавливая вращающуюся буровую трубу. Таким образом происходит бурение. При достижении определенной глубины в буровую трубу спускают узел захвата керноприемника, который прикрепляют к забранному керну, и при помощи лебедки 12 ССК керн поднимают на поверхность. При необходимости изменяют положение буровой установки, положение и угол расположения мачты 3, положение лебедки 12 ССК, и производят бурение в нужном направлении. Таким образом, заявляемая буровая установка обладает высокой мобильностью за счет расположения рабочих модулей и узлов на общей раме 2 с гусеничным приводом, позволяет уменьшить время, требуемое для перевода буровой установки в рабочее положение, а также широким рабочим диапазоном выставления мачты 3, перекрывающий всю переднюю полусферу.