патент
№ RU 2166056
МПК E21B4/14

ПОГРУЖНАЯ ГИДРОУДАРНАЯ БУРОВАЯ МАШИНА

Авторы:
Липин А.А.
Номер заявки
99127655/03
Дата подачи заявки
24.12.1999
Опубликовано
27.04.2001
Страна
RU
Как управлять
интеллектуальной собственностью
Чертежи 
2
Реферат

[15]

Изобретение относится к буровой технике, а именно к погружным буровым устройствам с объемным гидроприводом для ударно-вращательного бурения скважин, и может найти применение в геологоразведке, гидрогеологии и горной промышленности. Машина включает корпус, переходник, ударник и наковальню, имеющие центральный сливной тракт, и распределительную систему с питающеразрядным клапаном и штоком с центральным разрядным каналом, согласно предложению, в верхней части корпуса, со стороны переходника, установлена гильза с подпружиненным поршнем, разделяющие внутреннюю полость корпуса на напорную и аккумуляторную камеры, последняя из которых постоянно соединена со сливным трактом через центральный разрядный канал штока. Изобретение обеспечивает повышение эксплуатационной надежности работы машины за счет устранения возможности проникновения шлама в машину при ее работе. 3 ил.

Формула изобретения

Погружная гидроударная буровая машина, включающая корпус, переходник, ударник и наковальню, имеющие центральный сливной тракт, и распределительную систему с питающе-разрядным клапаном и штоком с центральным разрядным каналом, отличающаяся тем, что в верхней части корпуса, со стороны переходника, установлена гильза с подпружиненным поршнем, разделяющие внутреннюю полость корпуса на напорную и аккумуляторную камеры, последняя из которых постоянно соединена со сливным трактом через центральный разрядный канал штока.

Описание

[1]

Предлагаемая погружная гидроударная буровая машина относится к буровой технике, а именно к погружным буровым устройствам с объемным гидроприводом для ударно-вращательного бурения скважин, и может найти применение в геологоразведке, гидрогеологии и горной промышленности.

[2]

Известен пружинный резонатор к гидроударным машинам по а.с. СССР N 295854, кл. E 21 B 5/00, E 21 B 1/06, опубл. в БИ N 8, 1971 г., выполняющий функции аккумулятора и являющийся неотъемлемой частью погружных гидроударных машин. Резонатор включает корпус и подпружиненный поршень, установленный с зазором в корпусе стакан, в котором размещен подпружиненный поршень, причем внутренняя полость стакана сообщена с затрубным пространством.

[3]

Это устройство эффективно, но ненадежно. Ввиду того, что внутренняя полость стакана резонатора постоянно и непосредственно сообщена с затрубным пространством, которое заполнено шламовым потоком, происходит попадание шлама в стакан, заклинивание подвижных частей резонатора и, как следствие этого, прекращение его работы.

[4]

Наиболее близкой по технической сущности и достигаемому эффекту к предлагаемой машине является погружная ударная машина по патенту РФ N 2109906, кл. E 21 B 4/14, E 21 C 3/24, опубл. в БИ N 12, 1998 г., которая является машиной с объемным гидроприводом и, следовательно, требующей для эффективной работы наличия в своем составе устройства, аккумулирующего энергию. Эта машина включает корпус с гильзой, муфту с наковальней, переходник со штоком, ударник, разделяющий полость корпуса на камеры прямого и обратного хода, систему распределения энергоносителя по камерам, содержащую ступенчатый питающеразрядный клапан, питающий, сливной, разрядный и командный тракты.

[5]

Недостатком этой ударной машины является низкая надежность, обусловленная попаданием шлама в машину через сливной тракт при спускоподъемных операциях, так как в машине отсутствует запорный элемент.

[6]

Технической задачей, решаемой данным предлагаемым изобретением, является повышение эксплуатационной надежности гидроударной машины за счет устранения возможности проникновения шлама в машину при работе и спускоподъемных операциях.

[7]

Поставленная задача решается следующим образом. Предлагаемая погружная гидроударная буровая машина включает корпус, переходник, ударник и наковальню, имеющие центральный сливной тракт, и распределительную систему с питающеразрядным клапаном и штоком с центральным разрядным каналом. При этом в верхней части корпуса, со стороны переходника, установлена гильза с подпружиненным поршнем, разделяющие внутреннюю полость корпуса на напорную и аккумуляторную камеры, последняя из которых постоянно соединена со сливным трактом через центральный разрядный канал штока.

[8]

Повышение надежности работы достигается тем, что аккумуляторная камера корпуса постоянно соединена со сливным трактом машины, заполненным чистым энергоносителем (рабочей жидкостью), а не напрямую с затрубным пространством, заполненным шламом и очистным агентом. При этом исключается попадание шлама в машину во время ее работы. При спускоподъемных операциях также исключается попадание шлама в машину, так как внутренние полости машины перекрыты сверху торцем подпружиненного поршня, когда давление в напорной магистрали отсутствует.

[9]

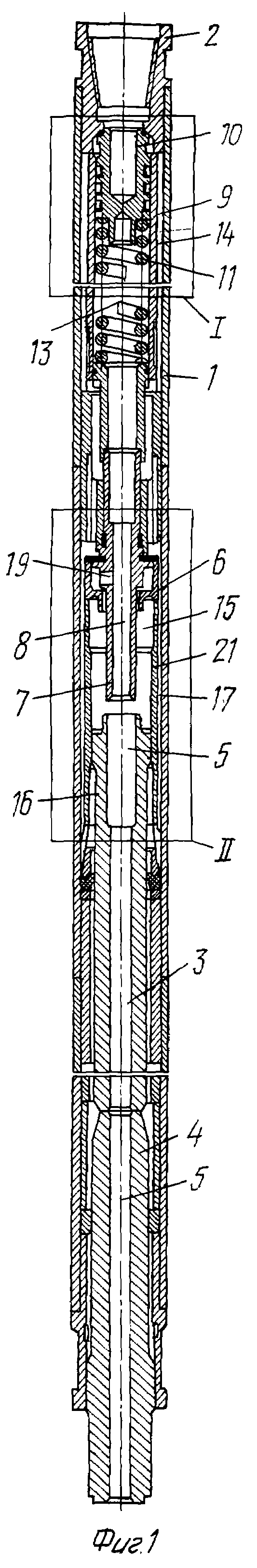
Сущность технического решения поясняется примером конкретного конструктивного исполнения и чертежами, где на фиг. 1 показан продольный разрез машины, общий вид; на фиг. 2 - размещение подпружиненного поршня в гильзе в увеличенном масштабе во время работы машины (узел I на фиг. 1); на фиг. 3 показаны в увеличенном масштабе детали распределительной системы (узел II на фиг. 1), причем левая сторона - ударник в крайнем нижнем положении (момент удара), как на фиг. 1, а правая сторона - ударник в крайнем верхнем положении, начало прямого хода.

[10]

Погружная гидроударная буровая машина (фиг. 1 - 3) состоит из корпуса 1, переходника 2, ударника 3 и наковальни 4, имеющих центральный сливной тракт 5, распределительной системы, содержащей питающеразрядный клапан 6, шток 7 с центральным разрядным каналом 8, гильзы 9, поршня 10 с пружиной 11, напорной 12 и аккумуляторной 13 камер, кольцевого зазора 14 между внутренней поверхностью корпуса 1 и наружной поверхностью гильзы 9, камеры 15 прямого и камеры 16 обратного хода, напорного канала 17, кольцевого зазора 18 между клапаном 6 и штоком 7, радиальных отверстий 19 в штоке 7, командной расточки 20 во втулке 21, торцевого зазора 22 между клапаном 6 и втулкой 21.

[11]

Машина работает следующим образом. Рабочая жидкость из напорной магистрали, подводимая к машине по ставу штанг, воздействует на поршень 10 (фиг. 1), сжимает пружину 11, перемещая поршень 10 вниз (фиг. 2), так как аккумуляторная камера 13, постоянно соединенная со сливным трактом 5 через центральный разрядный канал 8 штока 7, находится под пониженным давлением (давлением на забое скважины). Далее, по кольцевому зазору 14, напорному каналу 17 рабочая жидкость поступает в камеру 16 обратного хода. Ударник 3 начинает движение вверх, совершая обратный ход. В это время камера 15 прямого хода через центральный сливной тракт 5 соединена с затрубным пространством. По мере перемещения ударника 3 сливной канал 5 в нем перекрывается штоком 7 (правая сторона фиг. 3), но камера 15 прямого хода остается соединенной с затрубным пространством через разрядный тракт: кольцевой зазор 18 между клапаном 6 и штоком 7, радиальные отверстия 19 и центральный разрядный канал 8 штока 7, вследствие чего ударник 3 испытывает минимальное противодавление со стороны камеры 15 прямого хода. В конце обратного хода ударник 3 входит своей головкой в зону командной расточки 20 втулки 21 (фиг. 3, правая сторона). Через образовавшийся зазор между головкой ударника 3 и втулкой 21 рабочая жидкость из камеры 16 обратного хода поступает в камеру 15 прямого хода. В это же время кольцевой зазор 18 между клапаном 6 и штоком 7 перекрывается ударником 3. Давление в камере 15 прямого хода начинает резко расти, что приводит к нарастанию силы, действующей на нижнюю площадку клапана 6 и перекидке его в верхнее положение "питание". При этом образуется торцевой зазор 22 (фиг. 3, правая сторона), через который рабочая жидкость из магистрали поступает в камеру 15 прямого хода. Ударник 3 резко тормозится до полной остановки и изменяет направление движения с обратного на прямой ход. По мере перемещения ударника 3, вначале перекрывается командная расточка 20 втулки 21, но питание камеры 15 из магистрали продолжается через клапан 6. В конце прямого хода ударник 3 сойдет со штока 7 и откроется сливной тракт 5 (фиг. 1, 3). Давление в камере 15 прямого хода резко упадет, так как рабочая жидкость из нее будет сливаться на забой по центральному сливному тракту 5. При этом результирующая сила, действующая на клапан 6, сменит знак в сторону камеры 15 прямого хода и произойдет перекидка клапана 6 в нижнее положение ("разрядка"), отсечка питания камеры 15 прямого хода. Ударник 3 наносит удар по наковальне 4 и цикл повторяется.

[12]

Перекидка клапана 6 приводит к резкому перекрытию потока рабочей жидкости в напорной магистрали, вследствие чего возникает гидроудар в месте перекрытия, распространяющийся на всю напорную магистраль, в том числе на поршень 10 (фиг. 2). Совместное действие гидростатического и гидроударного давлений в камере 16 обратного хода способствуют быстрому забросу ударника 3 назад.

[13]

Во время обратного хода ударника 3, из-за пониженного расхода рабочей жидкости (меньшая рабочая площадь ударника 3 и меньшая его скорость движения по сравнению с прямым ходом), давление в напорной магистрали и в камере 16 обратного хода повышается, что синхронно приводит к дополнительному перемещению поршня 10 вперед и сжатию пружины 11. При этом накапливается потенциальная энергия сжатия пружины 11. При прямом ходе ударника 3 расход рабочей жидкости из магистрали увеличивается (большая рабочая площадь ударника 3 и большая скорость движения его по сравнению с обратным ходом) но накопленная энергия в пружине 11 переходит в напорную магистраль через поршень 10 путем вытеснения дополнительного объема рабочей жидкости. В магистрали и в камере 15 прямого хода поддерживается за счет этого высокое давление, что обеспечивает высокую энергию удара.

[14]

Несмотря на синхронное с движением ударника 3 колебательное движение поршня 10 относительно некоторого среднего положения, аккумуляторная камера 13, находясь в постоянной связи со сливным трактом 5 с пониженным давлением чистого отработанного энергоносителя (рабочей жидкости), всегда остается защищенной от попадания в нее шлама из затрубного пространства при работе машины в скважине. Такое конструктивное исполнение машины обеспечивает высокую эксплуатационную надежность ее. Во время спускоподъемных операций, когда подача рабочей жидкости в напорную магистраль прекращается и давление в ней отсутствует, клапан 10, под действием пружины 11, прижимается к опорному буртику переходника 2 и внутренние полости машины, перекрытые сверху поршнем 10, изолируются от перетекания потока из затрубного пространства в машину. В этом случае также исключается попадание шлама в машину и обеспечивается надежность ее работы при последующей эксплуатации.

Как компенсировать расходы
на инновационную разработку
Похожие патенты