патент
№ RU 2162527
МПК F02B57/02

РОТОРНО-ПОРШНЕВОЙ ДВИГАТЕЛЬ ВНУТРЕННЕГО СГОРАНИЯ

Авторы:
Харитонов Е.Л. Михайлов Д.Б. Садчиков Г.М.
Все (4)
Правообладатель:
Все (4)
Номер заявки
99119077/06
Дата подачи заявки
09.09.1999
Опубликовано
27.01.2001
Страна
RU
Как управлять
интеллектуальной собственностью
Чертежи 
5
Реферат

[25]

Изобретение относится к двигателестроению, а именно к роторно-поршневым двигателям внутреннего сгорания, и может быть использовано для транспортных средств. Двигатель содержит фундаментную раму, на которой расположен дифференциальный механизм для преобразования поступательного движения поршней во вращательное движение выходного вала, а также обратимые электрические машины, индукторы которых жестко установлены на фундаментной раме двигателя. Якоря электрических машин соединены с центральными шестернями дифференциала. На водиле дифференциального механизма диаметрально и симметрично установлены на кронштейнах блоки цилиндров, поршневая система которых кинематически связана с обоими сателлитами дифференциального механизма, кронштейны жестко установлены на водиле, а штоки каждой пары поршней через шарнирные соединения связаны с упорами, соответственно расположенными на обоих сателлитах. Основной топливный бак полым выходным валом через водило соединен с топливно-подготовительным блоком и рабочим цилиндром. Топливно-подготовительный блок осуществляет прием топлива, причем воздуха, смешивание его с топливом для подачи в рабочий цилиндр. В двигатель введен блок управления цикловых операций, связанный с топливно-подготовительными блоками. Технический результат - повышение технико-эксплуатационных характеристик двигателя. 6 ил.

Формула изобретения

Роторно-поршневой двигатель внутреннего сгорания, содержащий фундаментную раму, на которой расположен механизм для преобразования поступательного движения поршней во вращательное движение выходного вала, блоки цилиндров, расположенные на кронштейнах водила, поршневая система которых связана с сателлитами дифференциального механизма, всасывающие и выпускные клапаны, коллектор выхлопных газов, систему смазки, отличающийся тем, что на фундаментной раме расположен дифференциальный механизм, на водиле которого диаметрально и симметрично установлены блоки цилиндров, поршневая система которых кинематически связана соответственно с обоими сателлитами дифференциального механизма, при этом цилиндры попарно установлены на кронштейнах, образуя блоки цилиндров, которые жестко связаны с водилом дифференциального механизма, штоки каждой пары поршней через шарнирные соединения связаны с упорами, соответственно расположенными на обоих сателлитах, причем центральные шестерни дифференциального механизма жестко соединены с якорями обратимых электрических машин (режим электрического двигателя и генератора), индукторы которых неподвижно соединены с фундаментной рамой двигателя, а основной топливный бак полым выходным валом через водило соединен с топливно-подготовительными блоками и рабочим цилиндром, при этом в двигатель введен блок управления цикловых операций, связанный с топливно-подготовительными блоками.

Описание

[1]

Изобретение относится к двигателестроению, в частности к роторно-поршневым двигателям внутреннего сгорания (РПДВС), и может быть использовано для транспортных средств: наземных, водных, воздушных, космических; в стационарных и мобильных установках, в промышленности, энергетике и так далее.

[2]

Диапазон мощностей двигателя составляет величину от долей киловатт до десятков тысяч киловатт.

[3]

Известна конструкция роторно-поршневого двигателя внутреннего сгорания, в котором возвратно-поступательное движение поршня, характерное для поршневого двигателя, заменено вращательным движением ротора, во время которого поршни, размещенные на центральной втулке, закрепленные на валу отбора мощности, образуют между поршнями, размещенными на диске, установленном на ступице зубчатого колеса, и рабочей поверхностью корпуса рабочей камеры. Механизм преобразования вращения ротора выполнен в виде редуктора (патент RU N 2097586, кл. F 02 B 53/00, 1997).

[4]

Данное техническое решение имеет ряд недостатков:
- ненадежность клапанно-перепускной системы;
- сложность изготовления профилированной рабочей поверхности корпуса;
- двигатель имеет слабые уплотнения в области рабочих камер, что создает утечку сгораемых газов, уменьшает компрессию в камерах внутреннего сгорания.

[5]

Известен роторно-поршневой двигатель внутреннего сгорания (патент RU N 2103527, кл. F 02 B 53/00, 1998), содержащий корпус, на котором соосно установлены наружная цилиндрическая часть с перегородками и внутренняя цилиндрическая часть со смежно установленными между собой на ней шиберами, которые кинематически связаны с наружной частью и образуют с ней и внутренней частью рабочие камеры.

[6]

Недостатком такой конструкции является несовершенство рабочего цикла, который протекает не в одной рабочей камере и для перепускания смеси из одной рабочей камеры в другую имеет сложную систему каналов, клапанных отверстий и промежуточных полостей, а находящаяся в промежуточной полости сжатая смесь будет иметь больше утечки через клапанные отверстия, что снижает экономичность двигателя.

[7]

Наиболее близким аналогом к заявляемому конструкторскому решению по технической сути и достигаемому результату является поршневой двигатель внутреннего сгорания, содержащий фундаментную раму, на которой расположен блок цилиндров, механизм для преобразования поступательного движения поршней во вращательное движение выходного вала, газораспределительный механизм с распределительным валом, всасывающими и выпускными клапанами, топливный насос, коллектор выхлопных газов, систему смазки (Е.Н. Сапожников. Двигатели внутреннего сгорания. - Киев: Техника, 1965 г., с. 51).

[8]

Из основных причин, способствующих широкому распространению поршневых ДВС в различных сферах транспорта и промышленности, необходимо указать на следующие:
1) поршневой ДВС прост в конструкторском исполнении, технологичен в производстве, не требует применения дорогостоящих материалов для изготовления;
2) благодаря цикличности рабочего процесса и высоким температурам подвода теплоты (не достигаемых для других энергоустановок) обеспечивает сравнительно низкие температуры рабочих деталей, чем достигается высокая термическая эффективность цикла и надежность в эксплуатации.

[9]

Несмотря на конструктивное многообразие поршневых ДВС, все они имеют преимущество по массогабаритным и экономическим показателям перед другими первичными источниками механической энергии. Высокий КПД и высокая удельная мощность достигаются в них благодаря применению сравнительно высоких степеней предварительного сжатия - пять и более единиц.

[10]

Однако поршневые ДВС, конструктивно имеющие коленчатый вал, имеют следующие недостатки - это:
1) принципиально неполное расширение продуктов сгорания;
2) ограниченность применимых видов топлива по склонности к детонационному горению;
3) неполное сгорание топлива;
4) высокая токсичность выхлопных газов.

[11]

Следствием перечисленных выше недостатков является ограниченность в выборе работоспособных механизмов для преобразования возвратно-поступательного движения поршня в непрерывное вращательное движение выходного вала.

[12]

Задачей изобретения является создание высокоэффективного двигателя внутреннего сгорания, увеличение КПД и удельной мощности, расширение ассортимента применяемых видов топлива, повышение полноты сгорания, уменьшение его удельного расхода, уменьшение токсичности выхлопных газов.

[13]

От перечисленных выше недостатков свободно предлагаемое изобретение, это достигается тем, что роторно-поршневой двигатель внутреннего сгорания, содержащий фундаментную раму, на которой расположен дифференциальный механизм для преобразования поступательного движения поршней во вращательное движение выходного вала, блоки цилиндров, расположенные на кронштейнах водила, поршневая система которых связана с сателлитами дифференциального механизма, всасывающие и выпускные клапаны, коллектор выхлопных газов, систему смазки, отличается тем, что на фундаментной раме расположен дифференциальный механизм, на водило которого диаметрально и симметрично установлены блоки цилиндров, поршневая система которых кинематически связана соответственно с обоими сателлитами дифференциального механизма, при этом цилиндры попарно установлены на кронштейнах, образуя блоки цилиндров, которые жестко связаны с водилом дифференциального механизма, штоки каждой пары поршней через шарнирные соединения связаны с упорами, соответственно расположенными на обоих сателлитах, причем центральные шестерни дифференциального механизма жестко соединены с якорями обратимых электрических машин (режим электрического двигателя и генератора), индукторы которых неподвижио соединены с фундаментной рамой двигателя, а основной топливный бак полым выходным валом через водило соединен с топливно-подготовительными блоками и рабочим цилиндром, при этом в двигатель введен блок управления цикловых операций, связанный с топливно-подготовительными блоками.

[14]

Анализируя изобретение по основным отличительным признакам, ДВС, в котором возвратно-поступательное движение поршней, характерное для поршневых двигателей с коленчатым валом, заменено поступательным движением поршней по касательной к окружности вращения блоков цилиндров, делаем вывод, что заявленный двигатель соответствует критерию "новизна".

[15]

Сравнение заявляемого решения не только с прототипом, но и с другими техническими решениями в данной области техники не позволило выявить в них признаки, отличающие заявленное решение от прототипа, что позволяет сделать вывод о соответствии критерию "технический уровень".

[16]

Выполнение роторно-поршневого двигателя с дифференциальным механизмом, имеющего только поступательное движение поршней по касательной к окружности ротора, позволяет увеличить степень сжатия, исключить раннее и позднее воспламенение рабочей смеси в цилиндрах, что делает возможным полное сгорание топлива, увеличение КПД и удельной мощности, расширение ассортимента применяемых видов топлива, уменьшение токсичности выхлопных газов, что обуславливает соответствие критерию "промышленная применимость".

[17]

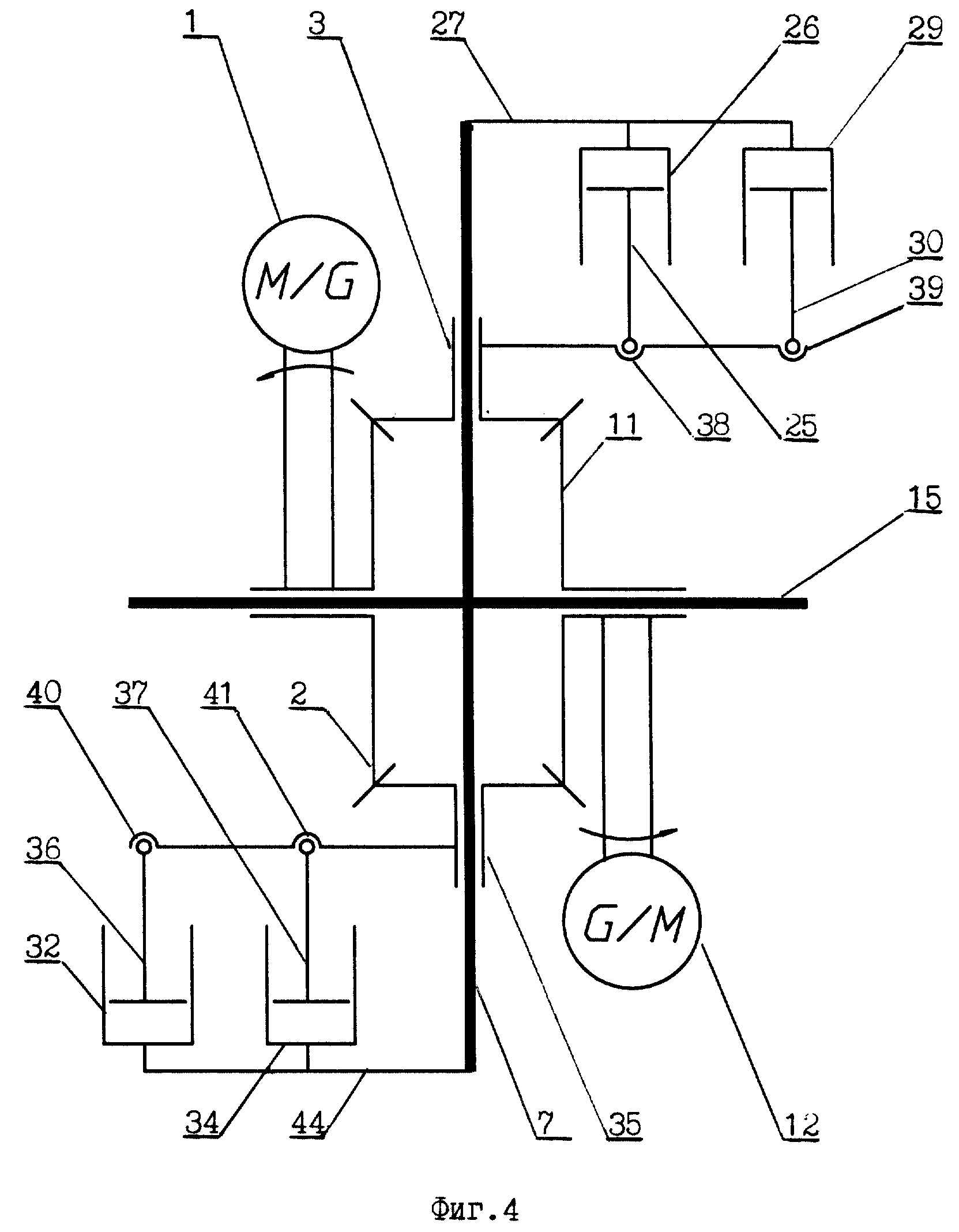
Предлагаемое устройство роторно-поршневого двигателя внутреннего сгорания показано на фиг. 1; на фиг. 2 - то же, вид сверху; на фиг. 3 - то же, вид в аксонометрии с разрезом, на фиг. 4 - кинематическая схема двигателя; на фиг. 5 - электрическая схема соединений якорей двигателя; на фиг. 6 показаны относительные скорости центральных шестерен 2 и 11 и выходного вала 15.

[18]

Предлагаемое устройство роторно-поршневого двигателя внутреннего сгорания содержит фундаментную раму 19, к которой крепится на опорах 42, 43 вся конструкция двигателя, содержащая дифференциальный механизм, центральные шестерни 2, 11 которого соединены неподвижно с якорями обратных электрических машин 1, 12. Якоря с обмотками 14 выполнены в виде полых цилиндров, внутри которых в подшипниках проходит выходной вал 15, соединенный с полезной нагрузкой. Якоря также установлены в подшипниках, расположенных в станинах электрических двигателей (для упрощения схемы подшипники не показаны). Цилиндры 26, 29 и 32, 34 попарно установлены на кронштейнах 27, 44. Кронштейны жестко связаны с водилом 7 дифференциала. Конструктивно каждая пара цилиндров 26, 29 и 32, 34 (блок цилиндров) находится над одним из сателлитов 3, 35. Штоки 25, 30 и 36, 37 каждой пары поршней через шарнирные соединения 38, 39, 40, 41 связаны с упорами 16, 17, 31, 33 сателлитов. Из топливного бака, размещенного на фундаментной раме двигателя, топливо поступает через сальниковые уплотнения в полый выходной вал 15 и по каналу через водило 7 далее через канал подачи топлива 28, 45 по трубам 6, 9, 21, 23 в топливно-подготовительные блоки 4, 10, 20, 24. Блоки управления цикловых операций 8, 22 - это условно объединенная в общий блок совокупность устройств и сервоприводов двигателя. Он может быть выполнен аналогично распределительному механизму двигателей, работающих по циклу Отто. Однако в предлагаемом двигателе работоспособны и другие, применяемые в автоматике варианты, например, электромеханический, центробежный и т. п., получающие энергию от обратимых электрических машин 1, 12 или от внешнего устройства управления двигателем. Циклограмма работы двигателя определяется содержащейся программой и представленной в том или ином физическом программоносителе, на пример, в кулачковом или в электронном и т.п. В частности, эта программа может быть сменяемой или оперативно изменяемой в соответствии с алгоритмом управления двигателем.

[19]

Обратимые электрические машины 1, 12 представляют из себя коллекторные двигатели постоянного тока с возможностью работы как в режиме электрического двигателя, так и в режиме электрического генератора. Причем якорные обмотки 14 обоих электрических машин 1, 12 соединены встречно. Обмотка 13 возбуждение индукторов питается от автономного источника постоянного тока (на схеме не показано). Индукторы электрических машин 1, 12 могут иметь вместо обмоток постоянные магниты. В данной конструкции можно применять и другие типы электрических двигателей (например, бесколлекторные эл. двигатели и т.п.).

[20]

Роторно-поршневой двигатель содержит также системы смазки и охлаждении (на схеме не показаны). Однако ввиду того, что у предлагаемого двигателя цилиндры непрерывно вращаются, охлаждаясь воздухом, и интенсивность теплоотдачи к стенкам цилиндра понижена за счет уменьшения хода поршня, то во многих случаях достаточно иметь воздушное охлаждение внешней поверхности цилиндра, имеющего оребрение.

[21]

Работает предлагаемый двигатель следующим образом. Механизмом преобразования работы ротора является дифференциал, составленный из центральных шестерен 2, 11 и сателлитов 3, 35. Все зубчатые шестерни являются коническими. Центральные шестерни 2 и 11 жестко закреплены на якорях электрических машин 1, 12.

[22]

Приводя во вращение одну из электрических машин (например, электрическую машину 1 - режим электродвигателя), его якорь заставляет вращаться центральную шестерню 2, которая вращает сателлиты 3 и 35 в разные стороны. Сателлиты 3, 35 приводят в движение штоки 25, 30, 36, 37, которые соединены с поршнями цилиндров 26, 29 и 32, 34, тем самым распределяя такты по всем четырем цилиндрам 26, 29 и 32, 34. Таким образом, реализуются такты: "выхлоп", "всасывание", "сжатие" и "рабочий ход". Синхронно с этой последовательностью, согласно временной циклограмме, поступают управляющие команды из блоков 8, 22 управления цикловых операций в топливно-подготовительные блоки 4, 10 и 20, 24, управляя работой всасывающих и выхлопных клапанов, смешивая топливо с воздухом и подавая в цилиндр в нужной пропорции. Одновременно с началом вращения электрической машины 1, через дифференциальный механизм (центральная шестерня 11), начинает вращаться электрическая машина 12. При этом происходит реакция торможения якоря электрической машины 12, замедляется вращение центральной шестерни 11 и, следовательно, повышается степень сжатия в блоках цилиндров, в результате чего происходит воспламенение рабочей смеси в одном из цилиндров (такт "рабочий ход"), газы, расширяясь, толкают поршень в направлении вращения электрической машины 1. Центральная шестерня 11 ускоряет свое вращение, обгоняя центральную шестерню 2, у которой происходит замедление скорости вращения. Таким образом, в данный отрезок времени электрическая машина 12 работает в режиме генератора, а электрическая машина 1 в режиме двигателя. Наступает процесс сжатия горючей смеси в очередном цилиндре, воспламенение, рабочий ход, и теперь уже электрическая машина 1 в режиме генератора, а следовательно, и центральная шестерня 2 обгоняет по скорости вращения центральную шестерню 11, электрическая машина 12 выполняет роль двигателя. Таким образом происходит повторение указанных выше последовательностей работы роторно-поршневого двигателя. А так как сателлиты 3 и 35 при работе поршневой системы делают колебательные движения, попеременно перемещаясь по окружности центральных шестерен 2 и 11, то водило 7, а следовательно, и выходной вал 15, подключенный к полезной нагрузке, получают постоянный вращающий момент. На фиг. 6 показаны относительные скорости центральных шестерен 2 и 11 и выходного вала 15.

[23]

Таким образом использование в изобретении дифференциального механизма в сочетании с обратимыми электрическими машинами позволяет создать высокоэффективный двигатель внутреннего сгорания, с увеличенным КПД и удельной мощности, расширенным ассортиментом применяемых видов топлива, увеличенной полноты сгорания, уменьшенным удельным расходом топлива, уменьшенной токсичностью выхлопных газов.

[24]

Сочетание таких качеств делает целесообразным применение данного двигателя в широких масштабах для транспортных средств, наземного, водного и воздушного флота, в космосе, в стационарных и мобильных установках, в народном хозяйстве.

Как компенсировать расходы
на инновационную разработку
Похожие патенты