Полезная модель относится к области химической промышленности и, в частности, к устройству для производства окислителей - ферратов (VI) щелочных металлов, предназначенных для очистки и обеззараживания сточных вод различной этиологии. Реакционная камера для производства ферратов (VI) щелочных металлов выполнена в виде электрической печи, включающей металлические кожух с крышкой, внутренняя часть которых покрыта теплоизоляционным материалом, и цилиндрический стакан для шихты. Стакан выполнен со сплошной стенкой и дном в виде конуса, обращенного вершиной вверх. На внутренней поверхности стакана закреплен винтовой лоток, верхний конец которого расположен на стенке стакана по касательной к ней и соединен с горизонтальной трубой, установленной в стенке печи с возможностью осевого перемещения, а нижний - закреплен на образующей поверхности конуса. Стакан смонтирован на вертикальной оси, пропущенной через днище печи и связанной с электромагнитом, обеспечивающим возбуждение совокупности крутильных и осевых колебаний на стакане. Устройство способствует повышению производительности реакционной камеры для получения феррата. 1 ил.
Реакционная камера для производства ферратов (VI) щелочных металлов, которая выполнена в виде электрической печи, включающей металлические кожух с крышкой, внутренняя часть которых покрыта теплоизоляционным материалом, и цилиндрический стакан для шихты, отличающаяся тем, что стакан выполнен со сплошной стенкой и дном в виде конуса, обращенного вершиной вверх, при этом на внутренней поверхности стакана закреплен винтовой лоток, верхний конец которого расположен на стенке стакана по касательной к ней и соединен с горизонтальной трубой, установленной в стенке печи с возможностью осевого перемещения, а нижний - закреплен на образующей поверхности конуса, кроме того, стакан смонтирован на вертикальной оси, пропущенной через днище печи и связанной с электромагнитом, обеспечивающим возбуждение совокупности крутильных и осевых колебаний на стакане.
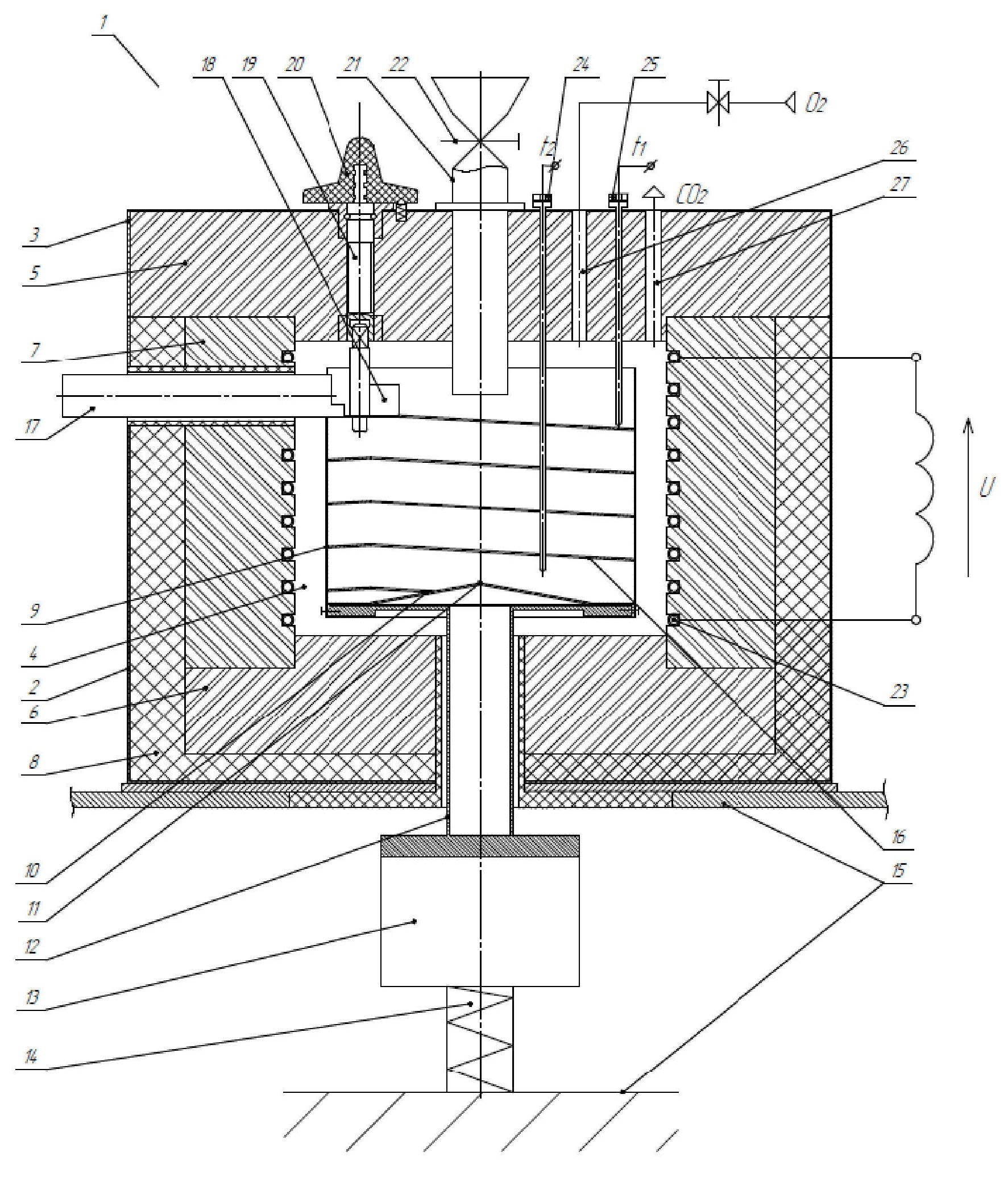
Полезная модель относится к области химической промышленности и, в частности, производству окислителей, предназначенных для очистки и обеззараживания сточных вод различного происхождения (этиологии). В настоящее время известны и промышленно используются целый ряд технологий для очистки и обеззараживания сточных вод, включающих применение различного рода реагентов и физических воздействий. В подавляющем большинстве случаев используют технологию хлорирования, обеспечивающую высокие показатели очистки, но имеющую ряд серьезных недостатков. Хлор слабо растворяется в воде и при его использовании в естественных водоемах образует различные хлорорганические соединения, которые негативно воздействуют на существование водной флоры и фауны. Хлорсодержащие реагенты проявляют слабую активность в подавлении многих вирусов и патогенных микроорганизмов. Озоновый газ является одним из сильнейших окислителей из ряда известных, но его применение ограничено из-за малого времени сохранения им окислительной способности. Кроме того, озон не может использоваться для очистки сточных вод, сбрасываемых в водоемы, так как при соединении с фенолами образует химические соединения, отличающиеся высокой степенью токсичности. В процессах очистки питьевой воды используют ультрафиолетовое излучение способное эффективно подавлять вирусы и патогенные микроорганизмы. Однако, указанное излучение не решает в необходимой степени проблему очистки сточных вод и поэтому чаще всего используется в сочетании с другими реагентами, в частности, с хлором. На сегодняшний день «чемпионом» по окислительной способности являются ферраты (V1) (далее ферраты) щелочных металлов. Окислительный потенциал ферратов в кислой среде выше, чем у озона, перманганатов, пероксида водорода, хлора и его соединений (гипохлорита, перхлората, диоксида хлора). Сфера использования ферратов (VI) весьма широка: очистка промышленных и бытовых стоков от бактерий и вирусов, тяжелых металлов, токсичных веществ, вредных примесей (NH3, H2S2, As), отравляющих веществ (VX GD GB), до малотоксичных или нетоксичных соединений, пассивация металлов, детоксикация почвенных сред и компонентов щелочных батарей, изготовление катализаторов и источников кислорода для дыхания человека и животных, а также многое другое. Производство ферратов осуществляется как в жидкой, так и твердой фазах, при этом твердые ферраты имеют, как правило, порошкообразный вид. Преимущество последних определяется их возможностью длительного хранения в соответствующей таре, а жидкие ферраты требуют их использования практически немедленно после производства. Полезная модель относится к техническим средствам, предназначенным для производства ферратов щелочных металлов в твердой фазе. Технологии (способы) производства твердых ферратов строятся на основе практически одного алгоритма и могут отличаться лишь отдельными нюансами. Примером служит промышленный способ получения окислителя и устройство для его осуществления, описанные в RU 2340560 и включающие все основные и наиболее значимые технологические операции, а также оборудование характерные для многих способов производства ферратов. Согласно способу, порошки оксида железа и пероксида натрия в определенном массовом соотношении, каждый из своей емкости, подают в смеситель, где в результате получают гомогенную смесь этих порошков. Из смесителя по сквозному конвейеру смесь поступает в технологический блок и выводится из него в виде спеченной массы, которую пропускают через измельчитель, выполненный в виде шаровой мельницы или щековой дробилки. Массу, раздробленного до фракции 0,5-3,0 мм, феррата смешивают со стабилизатором в виде порошка кальция, Далее, полученный продукт упаковывают в герметичную и влагостойкую тару, а затем отправляют для дальнейшего использования. Технологический блок, являющийся основой производства феррата, состоит из двух, последовательно связанных между собой с помощью конвейера, устройств: реакционной камеры и холодильника. Первая представляет собой электрическую печь туннельного типа, через которую на ленте конвейера перемещается слой, насыпанного на нее порошка. При этом печь снабжена внешним металлическим кожухом, футерованным изнутри керамическим жаростойким материалом, по поверхности которого смонтированы тепловыделяющие электрические элементы, создающие в пространстве печи технологически необходимую для получения ферратов температуру в диапазоне 400-550°С. Описанная реакционная камера обладает рядом существенных недостатков, главным из которых является неравномерность теплового потока, направленного на слой смеси порошков оксида железа и пероксида натрия, причиной которой является собственно лента конвейера, на которой, неподвижно относительно ее, располагается этот слой. Из-за ленты происходит искажение температурного поля печи, в конечном итоге, ведущее к неравномерности температурной проработки наружных и внутренних частей слоя, что отрицательно влияет на качестве конечного продукта, т.е. феррата. Реакционная камера, описанная в [1] и выбранная в качестве прототипа полезной модели, по своей конструкции принципиально отличается от аналога. Она представляет собой электрическую печь, содержащую корпус с рабочей цилиндрической полостью, закрываемой сверху крышкой. Полость печи полностью облицована термостойким и теплоизоляционным материалом. Система электрического нагрева реакционного пространства печи представлена металлическими шинами, связанными с источником тока и расположенными в этом пространстве. К инфраструктуре печи относятся датчики температуры, а также штуцеры трубок, которые помещены внутри камеры и предназначены для выхода реакционных газов и подачи кислорода. Процесс химического взаимодействия порошков оксида железа и пероксида натрия в условиях технологически обоснованных температур (400-550°С) осуществляется в контейнере, выполненным в виде перфорированного стакана, куда засыпается смесь указанных ингредиентов и который на время работы устанавливается в печи. Контейнер размещается в реакционной камере коаксиально с ее цилиндрической полостью. По завершении производственного процесса печь заглушается и контейнер из нее извлекают. Синтезированный феррат представляет собой спекшуюся твердую массу в форме стержня, который помещают для охлаждения в специальный холодильник, а затем подвергают дроблению до порошка необходимого фракционного состава, который затем упаковывают. Конструкция описанной выше реакционной камеры, являющейся ключевым оборудованием в процессе производства феррата, предполагает и реализацию соответствующего этой конструкции технологического процесса, который упрощенно может быть описан следующим образом: загрузка контейнера шихтой, установка контейнера в печь, процесс синтеза феррата, выем контейнера из печи, выгрузка стержня, спеченного из феррата, охлаждение стержня, дробление последнего в порошок. Другими словами, суть технологии, заложенной в конструкции реакционной камеры, заключается в том, что сначала порошкообразную шихту преобразуют в спеченный из феррата стержень, который затем снова превращают в порошок, т.е. конструкция реакционной камеры предполагает использование ингредиентов в различных агрегатных состояниях, что ведет к усложнению технологического процесса и снижению его производительности. Еще одним фактором, влияющим на производительность, является использование для получения феррата перфорированного стакана, куда, перед установкой в печь, засыпается шихта, т.е. смесь оксида железа и пероксида натрия. Прогрев шихты в стакане до технологически необходимой температуры будет идти от периферии к центру. Если учесть фракционный состав шихты, то значительное место в стакане будет занимать воздух, который является плохим проводником тепла. Последнее означает, что прогрев всей массы шихты до нормативной температуры займет значительное время. Задачей полезной модели является создание конструкции реакционной камеры, реализующей более простой и производительный технологический процесс производства феррата. Поставленная задача решается за счет того, что в реакционной камере для производства ферратов (VI) щелочных металлов, которая выполнена в виде электрической печи, включающей металлические кожух с крышкой, внутренняя полость которой покрыта теплоизоляционным материалом, и цилиндрический стакан для шихты, стакан выполнен со сплошной стенкой и дном в виде конуса, обращенного вершиной вверх, при этом на внутренней поверхности стакана закреплена винтовой лоток, верхний конец которого расположен на стенке стакана по касательной к ней и соединен с горизонтальной трубой, установленной в стенке корпуса печи, а нижний - закреплен на образующей поверхности конуса, кроме того, стакан смонтирован на вертикальной оси, пропущенной через днище корпуса, и связанной с электромагнитом, обеспечивающим возбуждение совокупности крутильных и осевых колебаний (вибраций) на стакане. Технический результат полезной модели состоит в том, что, во-первых, для загрузки в печь шихты и последующего изъятия из нее феррата не требуется остановки работы печи и разгерметизация ее путем снятия крышки, во-вторых, значительно интенсифицируется процесс химического взаимодействия оксида железа и пероксида натрия, шихта из которых при движении по винтовому лотку подвергается воздействию вибрации, создающей в массе перемещающейся шихты подобие кипения, т.е. условий оптимального температурного режима для прогрева всего слоя независимо от его толщины, в-третьих, не требуется операция дробления полученного феррата с целью превращения его в порошок. Все вышесказанное, в совокупности, способствует значительному повышению производительности реакционной камеры для получения феррата. На чертеже, прилагаемом к описанию полезной модели, дано схематическое изображение разреза реакционной камеры. Реакционная камера выполнена в виде электрической печи 1, снаружи содержащей цилиндрические кожух 2 и крышку 3, выполненные из термостойкого металла. Внутренний рабочий объем (камера) 4 печи 1, имеющий цилиндрическую форму, сформирован из керамических блоков 5, 6 и 7, первые два, из которых образуют верхнюю и нижнюю стенки камеры 4 соответственно, а блок 7 - боковую стенку. Между блоками 6 и 7 и кожухом 2 уложен дополнительный слой 8 теплоизоляции. В камере 4 размещен тонкостенный стакан 9 в виде цилиндра, выполненный из жаропрочной стали, днище 10 которого имеет форму конуса, вершина 11 которого обращена вверх. Посредством днища 10 стакан 9 опирается на соосную ему вертикальную трубу 12, которая пропущена через отверстие в днище камеры 4 и выведена наружу, где соединена с подвижной частью электромагнита 13, связанного через пружинный амортизатор 14 с одним из неподвижных элементов стола 15, на котором установлена печь 1. Электромагнит 13 имеет конструкцию, широко описанную в технической литературе, особенностью которой является возбуждение (генерирование) совокупности крутильных и осевых колебаний. Внутри стакана 9 на его внутренней поверхности закреплен винтовой лоток 16, верхний конец которого расположен на стенке стакана 9 по касательной и соединен с горизонтальной трубой 17, установленной в стенке печи 1 с возможностью осевого перемещения и установленной над загрузочным отверстием холодильника (на чертеже не показан). Нижний конец лотка 16 закреплен на образующей поверхности конуса днища 10. На стыке верхнего конца лотка 16 и трубы 17 установлена шиберная заслонка 18, связанная с поворотной осью 19, выведенной наружу и снабженной рукояткой 20. Соосно со стаканом 9 в крышке 3 установлена труба 21, снабженная заслонкой 22, по которой в стакан 9 подается шихта из дозатора (на чертеже не показан). Температура в камере 4 печи 1 обеспечивается соответствующей электрической системой, представленной на чертеже спиральной шиной 23, связанной с источником тока и размещенной на стенке блока 7 Контроль за температурным режимом в камере 4 осуществляется с помощью термопар 24 и 25. Технологически необходимая подача кислорода в камеру 4 выполняется через трубку 26, а выпуск углекислого газа - через трубку 27. В целом, работа системы управления инфраструктурными устройствами (дозатор, холодильник и т.п.) обеспечивается соответствующими блоками управления и системами регулирования параметров (например, частотный преобразователь электромагнита), которые на чертеже не показаны, как не относящиеся к конструкции, заявляемой в качестве полезной модели и не влияющие на создаваемый ею технический результат. Работает реакционная камера следующим образом. Из дозатора шихта, т.е. смесь оксида железа и пероксида натрия в определенном соотношении друг относительно друга, после открытия заслонки 22 по трубе 21 подается в стакан 9. Система нагрева печи, путем подачи электрического тока в спиральную шину 23, может быть включена заранее и температура в камере 4 установлена на уровне технологического регламента, т.е. достигать 400-550°С. В это время шиберная заслонка 18 повернута рукояткой 20 в положение, перекрывающее вход в трубу 17. Затем в работу включается электромагнит 13, создающий на стакане 9 комбинацию из осевых и крутильных колебаний. Следствием этого является движение шихты по лотку 16 снизу вверх и при встрече ее потока с заслонкой 22 происходит ссыпание на конус днища 10, по которому, в свою очередь, шихта возвращается к нижнему концу лотка 16. Такая циркуляция шихты в стакане 9 может повторяться неоднократно. При движении по винтовому лотку шихта подвергается воздействию вибрации, создающей в массе перемещающейся шихты подобие кипения, т.е. условий оптимального температурного режима для прогрева всего слоя независимо от его толщины. Подача кислорода по трубке 26 выравниванию температурного поля в камере 4 за счет конвективного теплообмена. Момент завершение процесса получения феррата определяется разными способами, в частности, это может быть время пребывания шихты в камере до достижения полного превращения шихты в феррат, что определяется опытным путем. Для извлечения полученного феррата из печи 1 шиберную заслонку 18 устанавливают вдоль лотка 16, не выключая, при этом, электромагнит 13. Так как труба 17 соединена с лотком 9, то она колеблется с той же частотой, что и лоток 16, но на ней крутильные колебания трансформируются в колебания вдоль продольной оси трубы, перемещающие порошкообразный феррат на выход, т.е. в холодильник. Значительным преимуществом полезной модели является то, что очередная порция шихты засыпается в стакан 9 уже прогретой печи, минимизируя время загрузки-разгрузки и повышая таким образом общую производительность реакционной камеры для получения феррата. Кроме того, реакционная камера предлагаемой конструкции, в отличие от прототипа, предполагает использование в течение всего производственного процесса получения феррата в одном агрегатном состоянии, т.е. в виде порошка на всех стадиях его получения, исключая операцию дробления, что также ведет к снижению временных затрат. [1] - Автореферат диссертации на соискание ученой степени кандидата технических наук Рылова Юрия Борисовича на тему «Аппаратно-технологическое оформление процесса самораспространяющегося высокотемпературного синтеза ферратов (VI) щелочных металлов регенерации воздуха». Тамбов 2012.